ICS 13. 340. 50

C 73




中华人民共和国国家标准


GB/T 20991—2007


个体防护装备鞋的测试方法

Personal protective equipment—Test methods for footwear

(ISO 20344:2004,MOD)


2007-06-26 发布


2008-02-01 实施



中华人民共和国国家质量监督检验检疫总局 中国国家标准化管理委员会


发布


GB/T 20991—2007


目 次

前言........................................................................................................................m

1 范围.................................................:........................................................  1

2规范性引用文件...........................................................................................   1

3术语和定义....................................................   1

4 取样和调节...................................................     1

5成鞋的测试方法............................................................................................ 3

5.1 特定的工效学特征 ................................ 3

5.2鞋帮/外底和鞋底中间层结合强度的测定...................................   4

5.3保护包头内部长度的测定.......................................................................................7

5.4 抗冲击性的测定 ..............    8

5.5 耐压力性的测定...................................................................................................IO

5.6耐腐蚀性的测定...................................................................................................12

5.7防漏性的测定........................................:.............................................................13

5.8防刺穿垫尺寸符合性和鞋底抗刺穿性的测定................................................   13

5.9防刺穿垫耐折性的测定..........................................................................................15

5. 10 电阻的测定 ......................................................................................................16

5.11 电绝缘性的测定................................................................................................17

5.12隔热性的测定...................................................................................................19

5.13 防寒性的测定 ...................................................................................................20

5.14鞋座区域能量吸收的测定....................................................................................21

5.15 成鞋防水性的测定 .............................................................................................22

5.16跖骨保护装置抗冲击性的测定 ..............................................................................27

5.17并入鞋帮的踝保护材料缓冲能量的测定..................................................................30

6鞋帮、衬里和鞋舌的测试方法 ....................................................................................32

6.1鞋帮厚度的测定...................................................................................................32

6.2鞋帮高度的测量...................................................................................................32

6.3鞋帮、衬里和(或)鞋舌撕裂强度的测定.....................................................................33

6.4鞋帮材料拉伸性能的测定................................................................................................. 33

6.5 .鞋帮耐折性的测定................................................................................................33

6.6水蒸气渗透性的测定.............................................................................................35

6.7水蒸气吸收性的测定.............................................................................................39

6.8水蒸气系数的测定................................................................................................40

6.9 PH值的测定 ....................................................................................................  41

6.10 鞋帮耐水解的测定 .............................................................................................41

6. 11 六价絡含量的测定 .............................................................................................41

6.12 衬里和鞋垫耐磨性的测定 ..............   44

6. 13 鞋帮透水性和吸水性的测定 .................................................................................45

6.14 鞋帮抗切割性的测定 ..........................................................................................47


I


GB/T 20991—2007


7内底和鞋垫的测试方法…..........................................................................................49

7. 1内底厚度的测定...................................................................................................49

7.2内底和鞋垫的吸水性和水解吸性的测定.....................................................................49

7.3内底耐磨性的测定................................................................................................51

8外底的测试方法..............   52

8.1外底厚度的测定...................................................................................................52

8.2外底撕裂强度的测定.............................................................................................53

8.3外底耐磨性的测定................................................................................................53

8.4外底耐折性的测定................................................................................................53

8.5 外底耐水解的测定................................................................................................56

8.6耐油性的测定......................................................................................................59

8.7耐热接触性的测定................................................................................................59

附录A(资料性附录)棉帆布的其他规范 ........................................................................62

参考文献..................................................................................................................64



GB/T 20991—2007


m1X.            •1

刖   昌


本标准修改采用ISo 20344:2004《个体防护装备 鞋的测试方法》。本标准根据ISO 203442004 重新起草。

本标准与ISO 20344:2004相比,存在如下差异:

——将国际标准的格式和表述转化为我国标准的格式和表述,根据汉语习惯进行了编辑性修改,有 些专业术语按国内专业习惯用语进行了修改;

——ISO 20344 : 2004中引用的相关国际国外标准,在本标准中尽可能转换成引用国内相关标准;

——对ISe) 20344:2004文本中的错误做了如下改正:

在图4中,尺寸30改为10

5. 9 中,将 EN 12568:1998 7.2. 2. 3 改为 7. 2. 3

在表5中,对鞋号栏进行了改正;

5. 14. 2的公式中,位移S的单位改为米(m)

5. 15. 2. 2. 2 中,将 5. 15. 2. 2. 1 改为 5. 15. 2. 2. 2. 1

在图26中,喷洒系统的喷嘴方向改为对着刷;

在图29中,尺寸分别改为80242140;

6. 11. 6. 1公式中,分子加上XK,分母的A改为Al XA2;

6. 12. 2. 3 中,将 kg∕m2 改为 kg∕m3 o

8. 7. 1. 2 中,将530500)g 改为530±50)g

..删除了 ISO前言和EN前言。

--在范围中,增加了适用范围.

——凡ISO 20344:2004文中涉及到的国外鞋号,本标准均删除或转为相应国际鞋号,简称为鞋号。

——删除了 ISO 20344:20044章中的"为了检查是否符合EN ISO 20345EN ISO 20346EN ISO 20347以及与任何特定工作相关的鞋类标准(如EN ISO 17249防链锯切割鞋)中规 定的要求”和最后两段内容。

——本标准将ISO 20344:20045.2.2中"测力范围为0600 N"改为“精度为15. 2. 4中 "几处宽度”改为"至少三处宽度”。

——将ISO 2034420045. 4. 1. 1中“顶端应与夹持装置表面在± 17'范围内平行”改为"顶端应 与夹持装置表面水平"。

——5. 11电绝缘性的测定,由EN 503211999条款6. 3翻译过来并参考国家标准GB 12011-2000中关于电绝缘性的检测方法进行了修改,以便于操作。

--5. 12.3中,删除了对时间的测试和计算,加入了温度4Z2的测量及计算,增加了“持续 30 min"测试要求。

--5. 13.3中,在“用连接温度传感器的测温装置测量内底温度”后删除了“作为时间函数,用图 解法记录温度降低”。

--表6中,"喷嘴数‘'旁增加了“对”,"刷数量”旁增加了“双”且该栏中各行内容均为Io

——本标准的5. 15. 2. 5合并了 ISO 2034420045. 15. 2. 5. 15. 15. 2. 5. 2,取消了机械方法中 的内窥镜检查,统一采用"目测检查鞋内部,或接触和(或)用吸水纸检查是否有水透入”。

--5.17. 2. 4中,将“压电石英力传感器”改为“压力传感器”。

——在6.11测试中用活性炭粉末代替SPE系统来吸附滤液中的其他干扰物质,并对6. 11. 2

ΠI


GB/T 20991—2007


6.11. 3的下一层次的内容进行了相应调整;在6.11. 3. 3中增加了精确度要求;在6.11. 4. 2中 增加了"如果pH值还达不到则应减少样品量"。删除了 6. 11. 7,将其部分内容并人 6.11.6.3 中。

——将ISO 20344:20046.12. 5. 3a)"整夜浸泡"改为"浸泡至少12 h"

——删除了 ISO 20344 = 2004 7. 3. 2. 1 的注。

—7. 3. 6评价方法中取消了与相同材料的参考块比较。

——根据本标准编制情况增加了参考文献的内容。

本标准的附录A为资料性附录。

本标准由国家安全生产监督管理总局提出。

本标准由全国个体防护装备标准化技术委员会(CSBTS/TC 112)归口。.

本标准起草单位:中钢集团武汉安全环保研究院、国家劳动保护用品质量监督检验中心(武汉)、广 州职安健安全科技有限公司、天祥(广州)技术服务有限公司、车巨威仪器股份有限公司、江苏省金湖县国 祥工贸有限公司、温州市来利斯(鞋业)安全防护用品有限公司。

本标准主要起草人:程钧、张元虎、佘启元、刘钮源、黄宁、黎钦华、林宇海、朱国侯、胡利星。


IV


GB/T 20991—2007


个体防护装备鞋的测试方法


1范围

本标准规定了个体防护装备中鞋的测试方法。

本标准适用于安全鞋、防护鞋和职业鞋,也适用于其他用于个体防护的鞋类。

2规范性引用文件


下列文件中的条款通过本标准的引用而成为本标准的条款。凡是注日期的引用文件,其随后所有 的修改单(不包括勘误的内容)或修订版均不适用于本标准,然而,鼓励根据本标准达成协议的各方研究 是否可使用这些文件的最新版本。凡是不注日期的引用文件,其最新版本适用于本标准。

GB/T 308 滚动轴承 钢球(GB/T 308—2002,neq ISO 3290J998)

GB/T 528硫化橡胶或热塑性橡胶 拉伸应力应变性能的测定(GB/T 528-1998,eqv ISO 37 1994)

GB/T 529 硫化橡胶或热塑性橡胶撕裂强度的测定(裤形、直角形和新月形试样) (eqv GB/T 529-1999,ISO 34-11994)

'GB/T 1690 硫化橡胶耐液体试验方法(GB/T 1690-1992,neq ISO 18171985)

GB/T 2411塑料邵氏硬度试验方法

GB/T 5723硫化橡胶或热塑性橡胶试验用试样和制品尺寸的测定(GB/T 5723-1993, eqv ISO 4648≈1991)

GB/T 6682 分析实验室用水规格和试验方法(GB/T 6682—1992,neq ISO 36961987)

GB/T 9867 硫化橡胶耐磨性能的测定(GB/T 9867—1988,neq ISO 4649∙1985)

GB 21146—2007 个体防护装备职业鞋(ISc) 203472004,MoD)

GB 21147—2007 个体防护装备 防护鞋(ISO 203462004,MoD)

GB 21148-2007 个体防护装备安全鞋(ISo 20345 2004,MoD)


HG/T 2581橡胶或塑料涂覆织物耐撕裂性能的测定(HG/T 2581—1994,neq ISO 4674i1977)

QB/T 2710皮革 物理和机械试验 抗张强度和伸长率的测定(QB/T 2710—2005,ISO 3376

2002, MOD)


QB/T 2711皮革 物理和机械试验 撕裂力的测定:双边撕裂(QB/T 2711—2005,ISO 3377-2

2002, MOD)


QB/T 2716 皮革 化学试验样品的准备(QB/T 2716—2005,ISO 4044:1977,MoD)

QB/T 2724 皮革 化学试验 PH 的测定(QB/T 2724—2005,ISO 40451977,MoD)


3术语和定义


GB 21146—2007GB 21147—2007GB 21148—2007确立的术语和定义适用于本标准。

4取样和调节

被测样品的最少数量以及从每个样品上取得的试样最少数量应与表1一致。

为确保基本安全要求,试样应从成鞋上取下。如果不能从鞋上获得足够大的试样,则可以用生产该 部分所用的材料样品代替,并且应在测试报告中注明。

如果样品要求三个鞋号,测试中应包括鞋的最大、最小和中间号。


1


GB/T 20991—2007


除非测试方法中另有说明,所有试样测试前应在(23±2)C和相对湿度(50 5) %的标准环境中调 节至少48 h;从停止环境调节到测试开始之间的时间间隔最长不应超过10 mino

1样品和试样的最少数量


鞋部件

测试的性能

B基本要求

A附加要求__

条款号

样品数量

从每个鞋号样品 中取得的试样数量

只在成鞋上 测试

成鞋

特定的工效学特征

B

5. 1

3个鞋号每号取3

1

鞋帮与外底和鞋底中间层结合强度

B

5.2

3个鞋号每号取1

1

保护包头内部长度

B

5.3

3个鞋号每号取1

1

抗冲击性

B

5.4

3个鞋号每号取1

1

耐压力性

B

5. 5

3个鞋号每号取1

1

金属保护包头或金属防刺穿垫耐腐

蚀性           L

B

5.6

不同鞋号2

1

I类不是

II类是

防漏性

B

5.7

不同鞋号2

1

防刺穿垫尺寸符合性和抗刺穿性

A

5.8

3个鞋号每号取1

1

防刺穿垫耐折性

A

5. 9

3个鞋号每号取1

1

不是

电阻

A

5. 10

3个鞋号每号取1

1

电绝缘性

A

5. 11

3个鞋号每号取1

1

隔热性

A

5. 12

不同鞋号2

1

防寒性

A

5. 13

不同鞋号2

1

鞋座区域能量吸收

A

5. 14

3个鞋号每号取1

1

防水性

A

5. 15

3个鞋号每号取1

1

跖骨保护装置抗冲击性

A

5. 16

3个鞋号每号取1

1

踝保护

A

5. 17

3个鞋号每号取1

1

鞋帮、 衬里 和鞋 舌

厚度_______________

B

6. 1

3个鞋号每号取1

3

鞋帮高度

B

6.2

3个鞋号每号取1

3

撕裂强度

B

6. 3

3个鞋号每号取1

3

拉伸性能

B

6.4

3个鞋号每号取1

3

耐折性

B

6.5

3个鞋号每号取1

1

水蒸气渗透性

B

6. 6

3个鞋号每号取1

1

水蒸气吸收性

rB

6.7

3个鞋号每号取1

1

水蒸气系数____________

B

6.8

3个鞋号每号取1

1

PH

B

6. 9

1

2

不是

水解

B

6. 10

3个鞋号每号取1

1

六价格含量

rB

6.11

1

2

不是

衬里耐磨性

B

6. 12

3

4

不是

透水性和吸水性

A

6. 13

3_____________

1

不是

抗切割性

A

6. 14

3

4

不是


2


1 (续)


GB/T 20991—2007


鞋部件

测试的性能    ~  ~——

B基本要求

A附加要求

条款号

样品数量

从每个鞋号样品 中取得的试样数量

只在成鞋上 测试

内底 和鞋 垫

内底厚度

B

7. 1

3a

1

不是

PH

B

6.9

1

2

不是

吸水性和水解吸性

B

7.2

3a

1

不是

内底耐磨性

B

7. 3

3a

]个

不是

六价倍含量

B

6. 11

1

2

不是

鞋垫耐磨性

B

3

4

外底

厚度

B

8. 1

3个号每号取1

1

撕裂强度

B

8.2

3个号每号取1

1

耐磨性

B

8. 3

3个号每号取1

1

耐折性

B

8.4

3个号每号取1

1

水解

B

8. 5

3个号每号取1

1

耐油性

B

8.6

3个号每号取1

1

耐热接触性

B

8.7

3个号每号取1

1

a如果样品来自鞋,用3个不同鞋号。_______________________________________


5成鞋的测试方法

5. 1特定的工效学特征

应在3个鞋号合适的穿着者脚上进行试穿,通过检查鞋来评价特定的工效学特征。

在试穿期间,穿着正确合适的鞋的穿着者将模仿通常会做的动作。

这些动作是:

.-以大约6 km/h的速度走5 min

—上和下17级楼梯1 min

--跪/蹲下,见图1



注:弯曲程度不是所有类型鞋都会达到(如有金属防刺穿垫的鞋)。

1在跪/蹲下测试中采用的姿势

完成所有动作后,每个穿着者应填写表2给出的问卷。


3


GB/T 20991—2007


2评价工效学特征的问卷


1

鞋里面是否没有使你感到疼痛序受到伤害的粗糙、锋利或硬块?   —       -

~⅛-

2

保护包头或保护包字边缘覆盖百是否没有引起挤压?                -

3

鞋是否没看你认为的在穿着时引起危险的特征?         -

4

系结物是否能适当的调整?(如果需要)         -              :

「否一

5

是否能正常地执行以下动作?

步行

爬楼梯

跪/蹲下               ‘                                      :


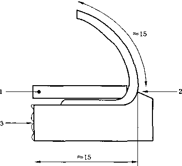
5.2鞋帮/外底和鞋底中间层结合强度的测定


5.2. 1原理

测量使鞋帮与外底分开,或使外底的各个相邻层分开,或导致鞋帮或鞋底撕裂损坏所需力。

注:任何时候都应测试距结合边缘最近处的结合强度。如果使用皮鞋配件(如用钉子或螺丝)或缝纫连接,则不需 进行此项测试。

5.2.2装置

拉力机,能持续记录作用力,具有IOo±20)mm/min的夹具分离速度,精度为1级。配有27. 5±

2. 5)mm宽的夹具(依据试样结构而定,见5. 2. 4),能牢固夹住试样。


5. 2.3试样的制备

5.2.3. 1鞋底/鞋帮结合强度a型结构(见图2) 从内部或外部结合区域切取试样。

在鞋底、内底或外底边缘的垂直方向沿Zy 鞋帮和鞋底长应约为15 mm(见图3)。除去内底

y丿切割,制成宽约25 mm的试样。自帮脚线测量




4




C型                                          d


2显示结合强度试样制备位置的结构类型


GB/T 20991—2007




e


y

f



g


a型—传统结构,有延出边缘的胶粘或模压外底;

b型—传统结构,修边整齐的外底;

C型--传统结构,直接注射、硫化外底或胶粘的碟形外底;

d型--内底与帮面为缝合结构,胶粘的碟形外底或直接注射或硫化外底;

e型—有橡胶挡板和胶粘外底的传统结构或内底与帮面为缝合结构;             ,`

f型--机器缝合或贴边使外底连接在整个底上;

g型--多层鞋底,如模压底,一个模压部件或一个构造部件。

2 (续)

单位为毫米



1—-内底(除去);

2--帮脚线;

3——外底。

‘                 图3试样的横截面

5.2.3.2 鞋底/鞋帮结合强度:bcde型结构(见图2) 从内部或外部结合区域切取试样。


5


GB/T 20991—2007


沿CNy-y方向切割鞋帮和鞋底,制成宽约IO mm、长不小于50 mm的试样。除去内底,在粘着 层插入热刀,将鞋帮从鞋底分离约10 Inm长(见图4)

注:当从AH到内底上表面的距离不少于8 mm时,可以视为Cd型结构。

5. 2. 3. 3中间层结合强度:fg型结构(见图2)

从内部或外部结合区域切取试样。

在QH方向沿帮脚线切除鞋帮,如果有内底也要除掉。在Vy方向,平行并包括鞋底边缘切下一 条,制成约15 mm宽、至少50 mm长的试样。在粘着层插入热刀,将鞋底层分离约10 mm长(见图4)5. 2.4结合强度的测定                ’

测试前,用一个已校准的钢尺测量试样至少三处宽度并计算平均值,精确到毫米,再按下述方法之 一测试至少30 mm长的结合强度。

a)鞋底/鞋帮结合强度a型结构):将试样夹入拉力机的夹具,用一个夹具夹住鞋底的短边(见图 5),并记录以IOO±20)mm/min速度分离时的力-位移曲线图(见图6)

b)鞋底/鞋帮结合强度bcde型结构)和鞋底中间层结合强度fg型结构):在夹具内夹住 试样分开的两端,并记录夹具以IOO20)mm/min速度分离时的力-位移曲线图(见图6)

单位为毫米




1--夹住鞋底边缘的夹具;

2——鞋帮;

3--鞋底。

5显示试样位置的夹具

5.2.5 计算和结果表示

从图6确定单位为牛顿的平均剥离力并除以平均宽度(按5. 2. 4计算)得到结合强度,单位为 N/mm0


6


1



GB/T 20991—2007


1—剥离力,单位为牛顿(N)

2—平均值;

3..位移。

6力-位移曲线图示例

5.3保护包头内部长度的测定

5.3. 1试样的制备

从一双未测试过的鞋内小心地取出保护包头并除去贴在上面的所有其他物质,或取一双新的相同 的保护包头。

注:试样不必预调节。

5. 3.2测试轴线的确定

将左保护包头的后边缘对准一个基准线并画出其外形轮廓,同样画出右保护包头的外形轮廓。两 包头足尖端和基准线处轮廓重叠(见图7)

标出左右保护包头轮廓线与基准线相交的4个点ABCD。从ABCD的中点画基准线的垂 线,即保护包头的测试轴线。

5. 3.3测试步骤

将保护包头开口朝下放在一平面上,在保护包头搁置面上方3 mm10 mm距离内并平行于该面, 用一合适量具沿测试轴线测量足尖到后边缘的内部长度貿见图8)"是能测量的最大长度。



1—测试轴线;

2——右保护包头:

3 左保护包头。


7测试轴线的确定


7


GB/T 20991—2007


单位为毫米



1--测试轴线,

Z—内部长度。                                              '

8保护包头内部长度的测量

5.4抗冲击性的测定

5.4. 1装置

5. 4. 1. 1冲击测试仪

带有一个质量200. 2)kg的冲击锤,适合从事先设定的高度在垂直引导下自由落下以提供冲击 能量。应有机械装置在第一次冲击后抓住冲击锤,使试样只遭受一次冲击。

冲击锤(见图9)应由长至少60 mm的楔形体组成,两楔面相交成90。士 1°,楔面相交的顶端应成半 径为30. Dmm的圆角。测试期间,顶端应与夹持装置表面水平。

仪器基座质量应至少为600 kg,并应固定一个尺寸至少400 mm×400 mmX40 mm金属块。

仪器应单独置于足够结实、足够硬的、平坦和水平的地面上。

单位为毫米



9冲击锤


GB/T 20991—2007


5.4. 1.2夹持装置

由厚度至少19 mm、面积150 mm×150 mm、硬度至少60 HRC的光滑钢板构成,钢板上带有固定 叉,测试时用于夹住鞋包头端内底/鞋垫的前部,以确保在冲击测试过程中不限制鞋头的任何横向扩展 (见图10)。固定叉应深入鞋前端,通过调节螺钉压紧在内底上,并与底板平行。夹持螺钉M8)应用 (3±1)N ∙ m的扭矩固定。


单位为毫米






1——夹持螺钉;

2..调节螺钉;

3——冲击锤;

4—-雕塑粘土圆柱体;

5 固定叉;

6---底板;


7--厚度为10


mmo


注:本图的尺寸仅作参考。较小的鞋头可以用相同比例的较小固定叉,

10鞋夹持装置的示例


5.4. 1.3圆柱体

直径252)mm的雕塑黏土,用于不大于250号鞋时,高度为202)mm;用于大于250号鞋时, 高度为252)mm。圆柱体的平端面应用铝箔覆盖,以防止粘附到试样或测试设备上。

5.4. 1.4千分表

带有半径(3.0±0.2)mm的半球形测足和半径(152)mm的半球形砧座,施力不超过250 mN


9


GB/T 20991—2007


5.4.2步骤

5.4.2. 1测试轴线的确定(见图ID

将鞋放在一水平面上并靠着一垂直面,该垂直面在内侧与鞋底边缘接触于AB两点。再设置两 个垂直面与第一个垂直面成直角,并在XY点接触鞋底,此两点分别是足尖点和后跟点。画线连接 Xy点即为鞋前部的测试轴线。



11鞋的测试轴线

5. 4. 2. 2试样的制备

在距保护包头后边缘30 mm处切下鞋头,然后与保护包头后边缘齐平除去整个鞋帮部件。不要拆 除包头区域的鞋帮和衬里。如果鞋装有一个活动鞋垫,测试时应在原位。

注:试样不包、预调节。

5. 4. 2. 3测试步骤

按照图12所示将圆柱体(5. 4.1. 3)放于试样内部末端,再将试样放在冲击测试仪(5. 4. L 1)上,使 冲击锤正好冲击它。锤应伸出到保护包头的后部和前部。调节夹持装置(5. 4. 1.2)

使冲击锤从适当高度落至测试轴线上,对安全鞋达到(200 ±4) J的冲击能量或对防护鞋达到 (IOO±2)J的冲击能量。

用千分表(5. 4. 1. 4)测量圆柱体受压后的最低高度,精确到0. 5 mm。此值即冲击后的间距。

5.5耐压力性的测定

5.5. 1装置

5.5. 1. 1 压力测试机

在以(52)mm/min速度移动的压板间能给试样施加至少20 kN的力(允许误差士 1%)。压板在 施加作用力时应保持平行且硬度至少为60 HRCo力的测量不应受到反常的施力影响。

5.5. 1.2 圆柱体

5. 4. 1. 3

5.5. 1.3 千分表

5.4. 1.4

5. 5. 1.4夹持装置

5.4. 1.2o

5.5.2步骤

5. 5. 2. 1测试轴线的确定

按照5. 4. 2. 1方法确定测试轴线。

5.5. 2.2试样的制备

按照5. 4. 2. 2方法制备试样。

注:试样不必预调节。

5. 5. 3测试步骤

按照图12所示将圆柱体(5. 5.1. 2)放于试样内部末端。试样置于夹持装置(5. 5.1. 4)上并进行调


10


GB/T 20991—2007


整,再将夹持装置和试样放在压力测试机5.5. 1.1)的压板之间,对安全鞋施加15±0. DkN的力或对 防护鞋施加10O. DkN的力(见图13)o

卸去力,取出圆柱体,用千分表(5. 5. 1.3)测量圆柱体受压后的最低高度,精确到0.5 mm。此值即 耐压力后的间距。




1——保护包头;

2--雕塑黏土圆柱体 Hy--测试轴线。


12抗冲击或耐压力测试时圆柱体的位置






1--上压板:

2-■雕塑黏土圆柱体;

3--夹持装置;

4--下压板。


13耐压力测试装置


11


GB/T 20991—2007

5.6耐腐蚀性的测定

5.6. 1 II类鞋的金属保护包头或金属防刺穿垫耐腐蚀性的测定

5.6. 1. 1试样的制备

用整只鞋作为试样。

注:试样不必预调节。

5. 6. 1.2测试溶液

用质量分数为1%的氯化钠溶液。

5. 6. 1.3 步骤

将足量的测试溶液倒入试样内直至150 mm深。为减少挥发,覆盖鞋顶部,可用聚乙烯覆盖。

放置7 d,然后倒掉测试溶液。从鞋中取出保护包头或防刺穿垫并检查任何腐蚀痕迹。如有腐蚀, 测量每个腐蚀痕迹的面积(mm2),并记录这样面积的数量。

5. 6.2 I类鞋的金属保护包头耐腐蚀性的测定

5.6.2. 1试样的制备

从鞋中取出保护包头或用一只完全相同的新包头。

注:试样不必预调节。

5. 6.2.2 测试溶液

用质量分数为1%的氯化钠溶液。

5.6.2.3 步骤

5. 6. 2. 3. 1初始检查

目测检查保护包头的内外部表面是否有腐蚀痕迹。如果发现涂层表面有异常,应清除该处涂层以 协助检查。但该包头不能再用于腐蚀测试。

测量每处腐蚀面积尺寸,记录这样面积的数量。如果刷涂层时使用了支撑夹具,检查时可以忽略夹 具接触点周围直径8 mm的圆形区域。

5. 6.2.3.2 腐蚀测试

清除保护包头表面可能存在的油脂。

在一个盘内装入约200 mL测试溶液,并用一片玻璃覆盖且留一个小口。将两张宽至少IOO mm、 长150 mm白色滤纸的一端浸入测试溶液,滤纸被溶液渗透,它们另一端放在玻璃上。

保护包头卷边朝下放在一张滤纸的未浸泡端上,让整个卷边和湿滤纸接触。另一张滤纸覆盖在保 护包头上表面,让保护包头前端和上表面尽可能大的区域与滤纸接触(见图14)。测试期间应确保滤纸 被溶液渗透。48 h后,移开滤纸,检查保护包头是否有腐蚀痕迹。测量每处腐蚀的面积mm?),记录这 样面积的数量。


1——滤纸;

2——保护包头:

3--玻璃板;

4——氯化钠溶液。



14保护包头耐腐蚀性测试装置


12


GB/T 20991—2007


5.6.3除全橡胶鞋外其他鞋的金属防刺穿垫耐腐蚀性的测定

5. 6. 3. 1试样的制备

从鞋中取出防刺穿垫或用一只完全相同的新垫。

注:试样不必预调节。

5. 6. 3. 2测试溶液

用质量分数为1%的氯化钠溶液。

5. 6. 3. 3 步骤

5.6. 3. 3. 1初始检查

目测检查防刺穿垫表面是否有腐蚀痕迹。测量每处腐蚀面积尺寸,记录这样面积的数量。

5.6.3. 3.2 腐蚀测试

按照5. 6. 2. 3. 2方法测试,但仅用一张滤纸。将滤纸一端放入测试溶液,另一端放在玻璃上,再将 防刺穿垫放在滤纸上。

5.7防漏性的测定

5.7. 1装置

由水槽和压缩空气供应装置组成。

5.7.2试样的制备

取整只鞋作为试样。

5. 7. 3步骤

(23 2)的温度下进行测试。

将试样顶部密封,如用橡胶圈,通过适当的连接可以输入压缩空气。将试样浸入水槽至边缘并施加 (10 + l)kPa的连续内部压力30 S0测试期间观察试样并确定是否有连续气泡产生,以指示空气泄漏 与否。

5.8防刺穿垫尺寸符合性和鞋底抗刺穿性的测定

5. 8. 1防刺穿垫尺寸符合性

测量鞋底内部长度L,画出图15中的阴影区域12

切开鞋,测量垫边缘和植底边缘留下的曲线之间距离XN见图15),精确到0. 5 mmo



1-—植底边缘留下的曲线;

2—可选择的防刺穿垫形状;

3--防刺穿垫;

4--后跟区域;

5--阴影区域1;

6..阴影区域2

L--鞋底内部长度。


15防刺穿垫尺寸的测定


13


GB/T 20991—2007

5.8.2鞋底抗刺穿性的测定

5. 8.2. 1 装置

5. 8.2. 1. 1测试设备

能测量压力至少2 OOO N,装有一块带测试钉5. 8. 2.L 2)的压板,及一块带有直径25 mm开口的 平行底板。开口的轴线应与测试钉重合(见图16)

5. 8.2. 1.2 测试钉

直径(4.50 0. 05)mm,有一个截平的尖端,形状和尺寸如图17所示。测试钉尖端应有至少 60 HRC的硬度。

应经常检查测试钉的形状,如果与图17尺寸有偏差,则应更换测试钉。

5. 8. 2. 2试样的制备

除去鞋帮,用鞋底部作为试样。

对于能吸水的鞋底材料(如皮革),将鞋底浸入232)去离子水中16±l)h后进行测试。

注:非吸水的试样不必预处理。

5. 8. 2. 3 测试步骤

试样置于底板上,使测试钉能穿透底部。以QO3)mm/min的速度对着鞋底施压测试钉直到尖端 完全穿透,同时测量最大力。

测试分别在鞋底4个不同点处进行(至少有一个点在后跟区域),任何两个穿透点之间至少相距 30 mm,穿透点到内底边缘的距离至少为Iomm。对于有花纹鞋底,在花纹间进行测试。四个测试点中 的两个应距植底边缘对应的曲线io mm~15 mm。记录最小值作为测试结果。

单位为毫米



14


1——压板;

2——测试钉;

3——试样的鞋底部件;

4..底板。


16抗刺穿性测试装置


GB/T 20991—2007


单位为毫米



1--截平的尖端。

17抗刺穿性测试钉

5.9防刺穿垫耐折性的测定

5.9.1耐折机

有一个通过规定距离、按照规定速度移动防刺穿垫自由端的往复导杆及由两块4 mm厚、邵尔A 硬度为75±5)的弹性内夹层和两块宽至少130 mm的金属外夹板组成的夹持装置。

在零位置,导杆从距离夹板70 Dmm处开始运动(见图18)o为适应所有尺寸的防刺穿垫,屈挠 线可以向后跟方向移动达IO mm(见图19阴影区域)。

单位为毫米




1--屈挠导杆;

2..夹板;

3--弹性夹层:

4..防刺穿垫(零位置)。


18防刺穿垫的耐折机


15


GB/T 20991—2007



1——屈挠线;

2--屈挠带;

3——切割线;

4..基线。

19防刺穿垫的屈挠线

5. 9.2屈挠线的确定

平放防刺穿垫,使其内边缘靠着一直线,此直线在脚掌及后跟区域与垫相切。在脚掌的切点上画垂 线,这条线就是垫被夹住的屈挠线(见图19)o

5.9.3试样的制备

在距屈挠线5. 9. 2)90 mm处切下防刺穿垫的后跟部分。

5. 9. 4测试步骤

按图18所示,将导杆移至距零位置垂直高度为33 mm处,以161)/s速度屈挠试样。通过导 向装置确保每次屈挠后试样返回到零位置。连续屈挠1X106次,取下试样,目测检查。

5. 10 电阻的测定

5. 10. 1原理

在干燥的环境5. 10. 3. 3a))中调节后测量导电鞋的电阻。

在干燥的环境中调节后和在潮湿的环境(5. 10. 3. 3a)b))中调节后测量防静电鞋的电阻。

5. 10.2装置

5. 10.2. 1测试仪器

当施加IOO2)V直流电压时,能测量电阻到土2. 5 %的精度。

5. 10.2.2内电极

由总质量4 kg、直径5 mm的不锈钢珠组成。钢珠应符合GB/T 308要求。应采取措施防止或除 去钢珠和铜板的氧化,因为氧化可能影响它们的导电性。

5. 10.2.3 外电极

由一块铜接触板组成,使用前用乙醇清洗。

5. 10.2.4测量导电涂层电阻的装置

由三个导电金属探针组成,探针半径为30. 2)mm,安装在一块底板上。两个探针相距 (45±2)mm并由一根金属带连接。第三个探针与另两个探针连线的中点相距1805)mm且与它们 绝缘。

5. 10.3试样调节的制备

5. 10. 3. 1 制备

如果鞋装有活动垫,测试时应保留。用乙醇清洗鞋底表面以除去所有脱模剂的痕迹,用蒸儀水冲洗


16


GB/T 20991—2007

并在(23±2)C环境中干燥。鞋底表面不应摩擦或磨损,也不应使用对鞋底有伤害或使鞋底膨胀的有机 材料清洗。

5. 10. 3.2湿调节的特殊制备

对在潮湿条件5.10. 3. 3)下调节的试样,在鞋底上涂一层面积为200 mmX 50 mm的导电涂层 (5. 10. 2. 4),涂层面包括后跟和鞋前掌。干燥后测量涂层的电阻值小于1 XI3 0

将鞋内装满干净钢珠并放在装置(5.10. 2. 4)的金属探针上,使外底前掌区域由两个相距45 mm的 探针支撑,后跟区域由第三个探针支撑,用测试仪器5. 10. 2. 1)测量前段探针和第三个探针之间的电 阻值。

5. 10. 3.3 调节

根据被测试鞋的功能,按下列条件之一对制备好的试样进行调节。

a)干燥条件,(20±2).C、相对湿度30±5)%。(放置7 d)

b)潮湿条件,(20±2)C、相对湿度85±5)%。(放置7 d)

如果测试不能在调节的环境中进行,则应在试样移出该环境后5 min内完成测试。

5. 10.4 步骤

用总质量4 kg的干净钢珠装满试样,如有必要,可用一块绝缘材料增加鞋帮高度。将装满钢珠的 样品放在铜板上,在铜板和钢珠之间施加IOO2)V直流测试电压,时间1 min并计算电阻值。

鞋底的能量消耗不应超过3 Wo如果因为考虑3 W的限制而降低电压,则应在测试报告上记录实 际电压值。

5. 11电绝缘性的测定

5. 11. 1 装置(见图20)



1..垂直间距A;

2--鞋帮的最小高度;

3..交流电源;

4--接地电极;

5---水;

6...钢珠。                                                      I

20电绝缘性测试装置

-                                                                                                17


GB/T 20991—2007

5. 11. 1. 1外电极

自.来水。

5. 11. 1.2内电极

直径(3. 5+0. 6)mm的不锈钢珠,应符合GB/T 308要求。应采取措施防止或除去钢珠的氧化,因 为氧化可能影响导电性。

5. 11. 1.3变压器

应选用大于0. 5 kV ∙ A(500 V ∙ A)的变压器。

5. 11. 1.4 电压表

准确度1.5级以内。

5. 11. 1.5 毫安表

准确度LO级以内,其使用值应为仪表量程的15 %85 %。

5. 11. 1.6 测量系统电,阻值

不超过28×104。。

5. 11.2试样的制备

取整只鞋作为试样。

5. 11.3测试步骤

测试应在15 ℃〜35 ℃、相对湿度45 %75 %的环境中进行。

在一个装有自来水的槽内进行测试。将鞋内装满钢珠,钢珠高度应与鞋外部水平面高度一致。该 高度应在表3给出的对应鞋帮最小高度的垂直间距五处(见图20)。鞋内钢珠应与输出的高压端连接, 槽内鞋外部的水应与地连接。

按鞋的级别依据表4进行泄漏电流测试和耐压测试。


3到达钢珠的间距


"级      另IJ.

间距(∕ι)∕mm

00

30

0

40

、注:间距的允许公差为土3 mm


4泄漏电流和耐压测试电压


鞋的级别

测试电压/kV

泄漏电流/mA

耐压测试 电压/kV

低帮鞋

高腰靴

半筒靴

高筒靴

00

2.5

1

1.5

2

3

5

0

5

2

2.5

4

5

10


5. 11.3. 1泄漏电流测试

在一个低值处开始施加交流电压并以约1 000 V/s的速度逐渐增加到表4规定的测试电压或失败


发生。测试时间不应少于Imin。记录泄漏电流值。

测试期间任何时候的泄漏电流不应超过表4中的相应值。

测试结束应迅速降压至零位,但不得突然切断电源。

5. 11.3.2 耐压测试

应逐渐施加交流电压到表4规定的耐压测试值然后立即降压,但不得突然切断电源。电压变化速 度应约为1 OoO V/s

如果没有击穿发生,则认为测试通过。


18


GB/T 20991—2007

5. 12隔热性的测定

5. 12. 1装置(见图21)



1--温度测量点:

2——砂浴(砂高30 mm);

3—-装满不锈钢珠的鞋;

4——加热盘。

21隔热性测试装置

5. 12. 1. 1 砂浴

盛砂的砂浴尺寸应为402)CmX(402)cm,高至少5 cm(见图21)。砂体积5 000±250)cm3, 粒径 0. 3 mm~l. 0 mm0

在鞋接触板(前掌和后跟)的地方应能测量板的温度并依据测试温度可以调节。由鞋的特性决定加 热板的温度ThP150 ℃还是250 偏差士5。加热系统的功率应至少2 500 + 250)Wo 5. 12. 1.2传热介质

由直径5 mm、总质量4 kg的不锈钢珠组成。不锈钢珠应符合GB/T 308要求。

5. 12. 1.3精度为±0.5℃的温度传感器

焊接在一个厚(20. Dmm、直径15l)mm的铜盘上。

5. 12. 1.4测温装置

带有一个温度补偿器,适合与5.12.1. 3 一起使用。

5. 12.2试样的制备

用整只鞋作为试样。将温度传感器固定在内底上。应直接在鞋底前部接触加热板的区域上方测量 鞋内温度。把钢珠放入鞋内。如果鞋内有活动鞋垫,测试时应保留。如果鞋帮高度不够装下所有钢珠, 用套圈增高鞋帮。

5. 12.3测试步骤

调节试样内底温度恒定至23 2)并在23 2)环境中进行测试。

预热砂浴至少2 h,依据鞋的特性调节加热板温度至TbP ,测试期间保持该温度。

读取试样鞋内温度为& ,精确到0. 5七 ,然后将试样放在加热板上来回移动,使之与加热盘之间得 到最好接触。

在鞋周围加入砂至合适的高度,然后确保砂表面是均匀平坦的。

用连接温度传感器的测温装置测量内底温度作为时间函数,记录温度增加。

持续30 min后读取鞋内温度为L ,精确到0. 5。检查并记录能影响鞋功能的严重损坏痕迹。


19


GB/T 20991—2007

测试结果:

* “一打。

•能严重影响鞋功能的损坏记录(如鞋帮和鞋底开始分离)。

5. 13防寒性的测定

5. 13. 1装置

5. 13. 1. 1低温箱

内部空气温度能调节到(一172)见图22)

5. 13. 1.2传热介质

5.12.1.2

5. 13. 1.3温度传感器

5. 12.1. 3

5. 13. 1.4测温装置

5.12.1.4

5. 13. 1.5 铜板

3505)mm,15O±l)mm,50.1) mm,位置如图 22 所示。

单位为毫米



1--延长孔;

2--隔热盖;

3..温度测量点;

4..~铜板:

5——测试座;

6..低温箱。

22防寒性测试装置

5. 13.2试样的制备

用整只鞋作为试样。按照5.12. 2方法制备试样。


20


GB/T 20991—2007


5. 13.3测试步骤

调节试样外底温度恒定至23 2)

届节低温箱温度为(一172)c并在测试期间保持该温度。将试样放在低温箱内的测试座上,调整 高度使鞋顶端与开口水平,用隔热盖封住。用连接温度传感器的测温装置测量内底温度。

计算试样放在低温箱内30 min后的温度降低值,精确到0.5。.

5. 14鞋座区域能量吸收的测定

5. 14. 1装置

5. 14. 1. 1 测试设备

能测量压力至6 OOON,可以记录力-位移曲线。

5.14.1.2测试压头

为聚乙烯制成的标准鞋植后部。鞋植在与底边缘垂直并和后部轴线成90°的平面上被切开(见图 23)。压头尺寸与鞋的关系见表5


5取决于鞋号的测试压头尺寸


鞋 号

尺寸/mm

L

2

'±2

W

±2

e

±1

≤225

65

32.5

52.25

2

230240

67.5

33.7

57

________ 2

245250

70.5

35

58. 75

2

255265

72.5

36.2

60. 5

3

270280

75.5

37.7

62. 25

’3

≥285

38.5

64

3


O



23能量吸收测试的测试压头


21


GB/T 20991—2007

5. 14.2步骤

将带后跟的鞋放在钢制基座上,在后跟区域中心以103) mm/min速度对着底部按压测试压头, 直至获得5 000 N的力。

绘出每次测试的压力-位移曲线并确定能量吸收值E,单位为J,精确到1 J,按式1)计算。

*                                                                5 000 N

E= ∫ FdS             ..............................( 1 )

50 N

式中:

F--施加的压力,单位为牛(N)

.S-..位移,单位为米(m)

5. 15成鞋防水性的测定

5. 15. 1水槽测试

5. 15. 1. 1 原理

穿着一双鞋以正常步速在充满水至规定深度的表面上行走,检查确定水透入的范围。

5. 15. 1.2 测试者

选择穿鞋舒适的测试者。

5. 15. 1.3 装置

一个卧式不漏水槽,并应满足下列要求(见图24)

a) 一个移动平台靠近每端,高度和面积足以使测试者走上去并在水面上方转身;

b)足够长,使测试者能在平台之间的水中走10个正常步幅;

c)宽约 0. 6 m;

d)使水能被排走的插栓。

注:可以用一个管道输送水使槽迅速被充满至合适的深度。

单位为米



1-—插栓;

2 移动平台。

24

5. 15. 1.4 步骤

槽内水排空,放置转身平台,使测试者以正常步幅从一边走到另一边得到11非(即每只脚接触槽地 面5次)。给槽注水至30±3)mm的深度。

确保鞋完全干燥。在普通袜子上穿上干燥的鞋,用绑腿或防护装置盖住顶端,然后站在一个平台


22


• GB/T 20991—2007

上。在水中行走100个槽长,转身时用平台。非常小心确保没有水溅至鞋顶端上。如有必要,为避免溅 水,以比正常慢的步速行走,但最好不要慢于每秒1步。

走完IOO个槽长后,离开槽,小心脱下鞋,目测检查内部同时触摸是否有水透入的痕迹。对每个鞋 或靴,如果有透入发生,记录透入的位置及图形的扩展(图25显示图形的合适形状)。

用另两双鞋重复此测试。




1..内底;

2--鞋帮。

.....帮与底的接缝

...透人的开始面积

---透入的扩展面积


25鞋图形的合适形状,附有记录透入的例子

5. 15.2机器测试

5. 15.2. 1 原理

在一定深度水中,成鞋经受旋转湿式刷的机械作用。检查确定水透入的范围。

5. 15. 2.2 装置

5. 15.2.2. 1 天平

精确到0.1 go

5. 15.2.2.2 防水测试仪(见图26)

有一个或多个测试位置,每个位置有5. 15. 2. 2. 2. 15. 15. 2. 2. 2. 6中描述的特征。

5. 15.2.2.2. 1 试样架

由一端装有固定卡、另一端装有滑动卡的矩形金属板构成,使固定的试样适于测试(见图27)

5. 15.2.2.2.2 两个旋转刷系统

两个刷分别位于试样两边,无论鞋号怎样,通过调整距离L(见图26)分离刷,并在超过试样全长的 范围内来回运动。L为鞋宽加上80 mm

每个刷的水平运动通过旋转运动完成,在每个水平循环结束的时候改变方向。每个刷的旋转方向


同相应的来或回运动一样,见图28


23


GB/T 20991—2007


单位为毫米


24



1..来回运动)

2--喷洒系统;

3----刷;

4--试样架;

5--水槽。

26防水测试仪



1——滑动卡;

2——固定卡。


27试样架


GB/T 20991—2007



1..固定试样架。

28刷的水平和旋转运动

5. 15.2.2.2.3 喷洒系统

每个刷有一个喷嘴相距50 mm的喷洒系统(见图26和图31)和一个测量水流的流量计,通过喷洒 系统刷被弄湿。

5. 15.2.2.2.4 刷特征

——用标准螺旋面刷。每个刷有一个直径80 mm、长140 mm的中柱和10层每层11束的刷毛,见 图 29。                                                                         、 .

—每层11束刷毛分别错开,形成螺旋构象,见图30

5. 15.2.2.2.5 刷毛特征

——材料:聚酰胺。

---直径:0. 4 mm

——长度:(81±2)mm

..中柱上的束直径:5 mm

5. 15.2.2.2.6 不漏水槽

整个装置放在不漏水槽中,槽上安装了一个恒定水位装置。

单位为毫米



2

1—-10层束,相距10 mm,从一束到另一束之间错开形成螺旋构象(见图30);

2—-中柱。


29刷不意图


25


GB/T 20991—2007


单位为毫米



注:中柱周长=80=251 mm束之间的水平距离E)251 mm∕ll = 22. 8 mmI==7 mmL=IO mm


30刷束分布



1--喷嘴;

2--试样:

3---水深;

4----1

5--试样架;

6——2。                 "

31测试仪的正面图

5.15.2.3测试参数

---刷的转速:(855)r/min

——刷的水平速度:(202)/min(一个完整地来回运动为1次)。

——水流速度:(0.50+0. l)L∕mino


26


GB/T 20991—2007


5. 15.2.4 步骤

称取试样,精确至0.1 g,记录为Mi。将试样固定在试样架上,封住鞋顶部(如用一个橡胶圈),避免 水溅入。将装有试样的试样架固定在机器内(见图31)

调整两个刷系统间的水平距离使鞋的整个帮面被刷毛接触。槽内注水至水平面在试样架上表面上 方(20±2)mm处。应调节恒定水位装置以维持这个深度。           •

按表6确定喷洒参数。依据鞋的类型打开喷嘴数,调节供水以维持恒定水位。

测试时间可定为1 min,5 min,10 min,20 min,30 min 60 mino

启动电机的水平移动。


6喷洒参数


鞋的类型

喷嘴数/对

刷数量/双

式样A低帮鞋

1

1

式样B高腰靴

1

1

式样C半筒靴

2

1

式样D高筒靴

3

1

式样E长筒靴

3

1


5. 15. 2.5 水透入的检查


在每个规定的测试时间末端,停止机器,取出带有试样的试样架。取出试样,迅速干燥试样表面。 从鞋顶部小心移走隔离物,目测检查鞋内部,或接触和(或)用吸水纸检查是否有水透入。

5. 15.2.6 水吸收

在每个规定的测试时间末端,试样干燥和水透入检查后,称重,精确到0∙ 1 g,分别记录结果为“, 皿,等等。

5. 15.2.7 结果表示

记录是否有水透入。

计算水吸收W,,单位为g

Wa=M-M1 M -Mi 等等■

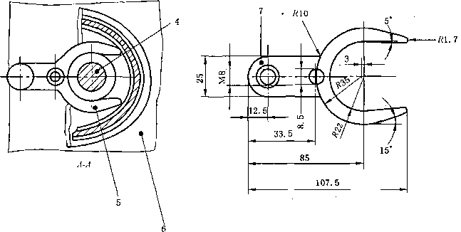
5. 16跖骨保护装置抗冲击性的测定

5. 16. 1装置

5. 16. 1. 1 冲击仪

带有一个质量(20±0. 2)kg的冲击锤,适合从事先设定的高度在垂直引导下自由落下,提供按势能 计算的规定的冲击能量。

冲击锤应由至少60 mm长,两楔面相交成90°±l。和最小硬度60 HRC的楔形体组成。楔面相交 的顶端是半径为30. Dmm的圆角。测试期间,顶端应与夹持装置表面平行(见图9)

仪器基座质量应至少为600 kg,并应安装一个尺寸至少400 mmX400 mmX40 mm金属块。

仪器应单独置于足够结实、足够硬的、平坦和水平的地面上。

5. 16. 1.2夹持装置

由最小硬度60 HRC、厚至少19 mm的光滑钢板构成,钢板上带有夹紧鞋后跟和连接区域的装置 (见图32)

5. 16. 1.3 千分表

带有半径3.O±O.2)mm的半球形测足,能施加不超过250 mN的力。


27


GB/T 20991—2007



1——基座;

2—螺钉;

3...凸台;

4..夹持板。

32夹持装置

5. 16. 1.4测试蜡模

模拟鞋内部和冲击时用于测量跖骨区域的变形。此蜡模应由5. 16. 1. 4. 15.16.1. 4. 2中描述的 其中一个方法制成。

5. 16. 1.4. 1使用鞋植制作蜡模

包括两个阶段操作,第一步是鞋植模具的形成,第二步是由该模具制成一个测试蜡模。

阶段L用一个鞋号小于试样鞋的植,填补植上所有V形切口和孔眼,然后用热塑性材料(例如, 0.4 mm厚未增塑过的PVC板)在帮表面上形成一个外壳。冷却时,在植底边缘修剪多余材料并移走。 同样地,在底表面形成一个外壳并在植底边缘上方5 mm-10 mm范围内修整形成一个边缘。利用合 适的胶带连接两外壳,使帮面壳装在底面壳形成的边缘内,用胶带粘接。切割连接壳制成前端和后跟端 模具(见图33)

阶段2将两模具立在容器内,使模具顶面水平并用砂支撑(见图34)。以5 1的质量比把固体石 蜡(熔点为50C53C)和蜂蜡混合放进合适的容器中,并放入烘箱加热到大约85o取出容器搅拌混 合物直至混合冷却到大约60C再注入两模具内。在熔化的蜡中插入一圈薄带子使其随后很容易从鞋 中取出,要确保带子未透过前端模具的外表面(见图34)。冷却后,从模具中取出蜡模。

注:小心,模具能用于制造许多蜡模。


28


GB/T 20991—2007



1--顶端外壳重叠的边缘;

2——切割。

33连接起来的壳显示分离切割



1--帮助从试样中移走的带子;

2——装满蜡的模具;

3--后跟端模具;

4--足趾端模具;

5—装砂的容器。

34用砂支撑和装满蜡的模具

5. 16. 1.4.2使用鞋制作蜡模

包括三个阶段操作,第一步是鞋内部塑模石膏铸件的制作,接着为5.16.1. 4.1中描述的模具和铸 件的制作。在塑模石膏模具制作过程中需要另一只将要破坏的鞋。

阶段1在与试样鞋同号的鞋内部涂上凡士林或防粘剂。绑好扣紧系统同时将塑模石膏和水的混 合物从开口顶端注入,放至凝固,然后用切除方法脱开鞋,再将模具放在约80的烘箱中干燥。

阶段2继续5.16.1.4.1中阶段1,用塑模石膏铸件代替鞋植。

继续5.16.1.4.1中阶段2


29


GB/T 20991—2007


5. 16.2试样的制备

用整只鞋作为试样。

5. 16. 3 步骤

在蜡模上标记5. 3. 2中定义的测试轴线,再将蜡模插入试样并束紧扣紧系统。用夹持装置 (5.16. 1. 2)将试样夹持在冲击仪5. 16. 1. 1)的底板上并位于冲击锤冲击处,冲击锤应与按照5. 4. 2. 1 方法确定的测试轴线成90°。冲击锤应按表7规定的距鞋头前端的距离冲击试样一次(见图35)o


7冲击的距离


鞋号

从鞋头前端到冲击点的距离"mm

≤225

90

230240

95

245250

100

255265

105

270280

110

≥285

115

a由鞋头前端沿测试轴线测量的距离。


在试样前部下方放一楔形体以防止冲击过程中鞋变形。

让冲击锤从适当的高度(从冲击点垂直测量)落在试样上,提供IOo±2)J的冲击能量。



1——冲击点;

2——来自表7的尺寸;

3--楔形体。

35冲击点

5. 16. 4测试结果

冲击后,小心地从鞋中取出蜡模并放在一平坦支架上,使其保持在试样内的同样水平方向。

在按照5. 4. 2.1确定的轴线上,靠近最大变形处的平面上,用千分表(5. 16. 1. 3)测量垂直高度。

5.17并入鞋帮的踝保护材料缓冲能量的测定

5. 17. 1原理

从鞋帮踝保护区域取下的试样经受一次冲击测试同时测量传递力。

5. 17.2装置

5. 17.2. 1冲击仪

装置应包括一个在垂直下落过程中冲击测试砧座的5 OOO±10)g的冲击锤。在整个操作过程中,


30


GB/T 20991—2007


下落的冲击锤的重力中心应在砧座中心的正上方。

为了保证IO J的动能,下落高度应约为O. 2 m0

5. 17.2.2冲击锤

下落的冲击锤面应用80 mmX4O mm尺寸、磨光的钢制成,所有边缘成(5± 1 )mm半径的圆弧。

5. 17.2.3 砧座

单位为毫米



1--力传感器:

2..实心基座。

36砧座和基座

由磨光的钢制成的砧座总长175±25)mm,并构成一个半径25 mm的圆柱体,其上部是一个半径 25 mm的半球形。砧座应在垂直位置并通过一个压电测压元件附在至少600 kg的实体上。元件应能 完全预压和校准(见图36)

5. 17. 2,4测力仪

安装砧座使冲击测试期间在砧座和装置的冲击基座之间的整个力通过压力传感器与它的量测轴成 一直线。力传感器应有不少于120 kN的校准范围和小于0.1 kN的较低限值。力传感器的输出应被 载荷放大器处理并用合适的仪器记录峰值力。

5. 17.2.5 样板

样板应用适合的柔软材料制备(例如:织物、羊毛、纸,等等),使用时能保持其形状和尺寸。

样板应为圆形,尺寸见表8。用适当地标记或割一个小孔指示中点。

5. 17.2.6 取样

从三双鞋(大、中和小号)的每双中取下至少二个样品(内部和外部),使之能完成至少6次冲击测 试,3个在内部的踝保护上、3个在外部的踝保护上。


GB/T 20991—2007

5. 17.3试样的制备

选取的试样鞋穿在一个尺码合适的测试者脚上。测试者自由地站在一垂直位置中,另一个测试者 在其鞋帮上标记脚踝位置,指出踝骨最显著的部分。然后一个尺寸适合(见表8)的样板放在踝保护装 置上,样板的中心与鞋帮上标记的中心相对应。

在鞋帮上的样板周围画出规定的测试区域,并通过切割它完成包含所有材料层的样品,确保标记的 样板形状周围有一个至少1. O Cm的附加边缘。

注:不强制要求附加边缘完全包围样品。如果必要,附加边缘能用来把材料层彼此连接,测试者能在冲击区域的边 缘附近操作冲击测试。

一双鞋的四个踝保护装置不必是统一形状,但至少应符合表8给出的圆形尺寸。


8踝保护装置的最小尺寸


鞋 号

最小直径/mm

≤250

≥56

255270

≥60

≥280

>64


5. 17.4 调节

测试前,样品和试样应在232)和相对湿度(50±5)%的环境中至少调节24 h


5. 17.5步骤

测试应在(23±2)C和相对湿度50 5)%的标准环境中进行。

试样外表面朝上放置在砧座上,测试区域的一部分覆盖砧座的中点。为避免影响测试结果,可以通 过覆盖一层稀薄适宜的网或带有直径20 mm~25 mm中心孔的织物,将试样固定在被选择的位置。该 辅助装置依靠5 NION的弹性带拉开,它能很容易被力测量系统本身控制。

然后释放冲击锤,记录传递力及试样的损坏或破损量。

试样在每点仅被测试一次。

5. 17.6结果表示

记录平均力和获得的最高值。内部、外部结构不同时,必须从鞋的内部和外部踝保护装置分别记 录。应记录试样的任何破损。

6鞋帮、衬里和鞋舌的测试方法

6. 1鞋帮厚度的测定

按照GB/T 5723方法测定厚度,用扁平测足直径10 mm和压力1 N的厚度计。鞋帮厚度应包括 任何有关联的织物层。        ^

6.2鞋帮高度的测量

6.2. 1试样的制备

用整只鞋作为试样。标记鞋的纵向轴线zy,见图11

注:如果其他测试必须在鞋上操作,前部可以先分开(例如,鞋头的冲击测试)。

6.2.2测量

鞋帮高度(mm)是内底/鞋垫(也就是后跟腹部Hb和后跟后部Bh之间)上最低点和帮上最高点的 垂直距离(见图37)o


32


GB/T 20991—2007



1--鞋帮;

2——内底/鞋垫;

3...外底;

4..内底的最低点;

5—-鞋帮的高度。

37鞋帮高度的测量

6.3鞋帮、衬里和(或)鞋舌撕裂强度的测定

按照下述方法之一测定撕裂强度

—-QB/T 2711适合于皮革;

--HG/T 2581单撕法适合于涂覆织物和纺织品。

对于涂覆织物和纺织品,用尽可能大的试样。宽应在25 mm~5O mm且长在50 mm~200 mm之 间,有一条长20 mm的切口位于正中处并且平行于长边使之形成一个裤型试样。以IOO mm/min的横 向恒定速度进行测试。对于针织物和无纺布,使用从鞋上获得的最大试样。

6.4鞋帮材料拉伸性能的测定

6. 4. 1剖层皮革抗张强度的测定

按照QB/T 2710方法测试,用Z = 90 mm,=25 mm的试样。

6.4.2 橡胶扯断强力的测定

6.4.2. 1拉力机

具有恒定的拉伸速度,能指示或最好能记录试样断裂时所施加的最大力,精度为1级。拉力机两夹 具的中点应处于拉力轴线上,夹口线应与拉力线垂直且夹持面在同一平面上。夹具应能夹紧试样而不 使试样打滑、不能割破或削弱试样,夹持面应比试样宽。

6.4.2.2 试样的制备

从鞋帮上裁取宽25 mm、有效长度为75 mm的试样三个。当鞋帮高度不允许试样被裁成75 mm 的有效长度时,可采用25 mm的有效长度。试样应包括任何辅助织物层。

6. 4. 2. 3测试步骤

将试样依次夹入拉力机夹具,记录夹具以QOO±10)mm/min速度分离至试样断裂时的力,即扯断强力。

6.4.2.4 结果表示

计算三个试样的算术平均值为橡胶鞋帮的扯断强力,单位为N,记录所用试样尺寸。

6.4.3聚合材料拉伸性能的测定

按照GB/T 528方法测试,采用1型哑铃状试样,测定100%定伸应力和扯断伸长率,试样方向沿鞋 帮向上,测试前除去织物层。

6.5鞋帮耐折性的测定

6. 5.1橡胶耐折性

6.5. 1. 1屈挠机

有一个可调的固定部件,固定部件上装有夹具,使试样一端保持在固定位置上,另有一个相似的移


33


GB/T 20991—2007


动部件夹紧试样的另一端。移动部件应沿两夹具间的中心线方向并在同一水平面上来回运动,其行程 可调,以使两夹具最近距离为13±l)mm,最远距离为57±l)mm

屈挠机应能提供每分钟340次至400次的屈挠。夹具应牢固地夹紧试样。

6. 5. 1.2试样的制备

按图38所示尺寸,从鞋帮最薄处裁取试样。试样应包括任何织物层。

单位为毫米

38±0. 5




9.0引 OZ

9.0 引 Zg



I                      I 38±0.5      !                      I

一                  108±0.5

一    38试样尺寸 *

6. 5. 1.3测试步骤

(23 2)环境中进行测试。

沿长轴方向对称折叠试样,使橡胶面朝外。在折叠状态将试样锥形端插入固定夹具,当两夹具分离 最远时,试样的中心线位于两夹具中间。两折叠锥形端应与各自夹具边缘排列整齐。为方便起见,可在 试样锥形端标记夹持处,使试样在夹具上正确排列,上紧夹具,将试样另一端插入移动夹具中夹紧。试 样不应受到张力。屈挠期间装置和试样的排列见图39



1—固定夹具;

2——定位销的中心(大约直径0.6 mm)

3--试样的锥形端;

4..试样的中心线;

5——移动夹具;


D--两夹具间距。


39屈挠期间装置和试样的排列


34


GB/T 20991—2007


设置所需的屈挠次数,用一个由移动夹具带动的行程计数器记录完成的屈挠次数。移动夹具完成 一次来回移动计为一次屈挠。连续屈挠125 OOO次后,取下试样,检查并记系是否有裂纹。

6. 5.2聚合材料耐折性

6. 5. 2. 1耐折装置(见图40)



1--静夹具;

2..动夹具;

3--试样。

.                      图40耐折装置

由若干对V形夹具组成,每对夹具的轴线在同一直线上。每个V形夹具的夹角为40±l)。,其顶 端是半径为(6.40.5)mm的圆弧形。每对夹具中的一个能进行往复运动,常温条件下的往复频率为 (5 + 0. 5)Hz,-5C低温时的往复频率为1. 5±0. 2)Hz0每对夹具在分开时相距28. 5 + 2. 5)mm,靠 近时相距9. 5 + 1. 0)mmo动夹具的行程为191. 5)mm0

6.5.2.2 试样的制备

从鞋帮最薄处裁取边长为64Dmm的方形试样。试样应在23±2)C环境中调节24 h。产品完 成后至少过7 d才能进行测试。

6. 5. 2. 3测试步骤

低温箱内温度调至版一52)

将试样放入低温箱并立即装入处于分开位置的一对夹具上。在每对夹具中,试样胶面朝外并处于 对称状态,试样侧边缘平行于夹具的轴线。检查每个夹具的两半部分内边缘是否成一直线。用同样方 法安装其他试样。

用手同时转动各夹具,检查每个试样是否都形成一条对称地横跨试样的、向内的皱折,该皱折被四 条向外的皱折形成的菱形所包围。必要时用手协助形成这类皱折。

装好试样10 min后即开始测试,连续屈挠150 OOO次后,取下试样,检查并记录是否有裂纹。

6.6水蒸气渗透性的测定

6.6. 1原理                                                                 、

试样固定在一个装有一定量固体干燥剂的测试瓶的开口上。在一个调节的环境中,将测试瓶放入 较强气流中。转动测试瓶,使瓶内干燥剂不断运动,从而带动瓶内的空气持续受到扰动。称量测试瓶, 测定通过试样被干燥剂吸收的水蒸气的质量。


35


GB/T 20991—2007


6.6.2装置

6. 6. 2. 1测试瓶

配有一个圆形开口的螺旋盖,开口的直径和瓶颈相同(约30 mm)(见图41)o

6.6.2.2 支架

为圆盘形式,靠电机以755)r/min转速旋转。测试瓶放在此圆盘上,瓶轴线与盘轴线平行且相 距67mm(见图42)

6. 6. 2. 3 风扇

安装在瓶口前面,由三个扁平扇叶互成120°组感。扇叶面应通过圆盘轴的延长线。扇叶尺寸约为 90 mmX 75 mm,靠近瓶口的每片扇叶90 mm长边与瓶口距离不超过15 mm(见图43) 0电机应驱动风 扇以1 400IoO)r/min转速旋转,装置应用在23±2)C、相对湿度50±5)%的调节环境中。

单位为毫米



41用于水蒸气渗透性测试的瓶


单位为毫米


36



42在水蒸气渗透性测试中用的瓶支架


GB/T 20991—2007

单位为毫米 90



43水蒸气渗透性测试装置示意图

6. 6. 2. 4硅胶干燥剂

硅胶干燥前要用2 mm目径的筛子过筛除去小颗粒和灰尘,并在125±5)C通风的烘箱内刚刚干 燥至少16 h,然后在密封容器内冷却至室温。

硅胶干燥时不能超过130C的规定温度,以免影响硅胶的吸水性。烘箱内的空气流通不一定要用 扇子,但烘箱不宜密封;宜保持烘箱内外空气能持续对流。硅胶使用时不能比试样温度高。

6.6.2.5 天平

能精确到0.001 g

6.6.2.6 秒表

记录时间。

6. 6. 2. 7 量具

能测量瓶颈的内直径,精确到0. 1 mmo

6.6.2.8预折装置

包括下列各项:

上夹具,由一对平板组成。一个平板为梯形ABCD(见图44)形状但在D点有2 mm半径的尖圆 角,有一突出边EF放置折叠试样。另一平板应为EGHCF形状。两块板应用螺钉固定在一起,如图45 所示,使得试样一端夹在两板间。固定两平板的螺钉K也作挡块用,防止试样一端插入夹具后部太远。 在平板间靠近AB边缘有一个挡块防止两平板在AB附近会合,因而确保它们在F附近紧紧夹住试样。 电机应带动上夹具围绕水平轴往复运动。

在图44所示位置EF边缘是水平的,并且末端F是最高点。夹具向下转动22.5°,(IOO5)/min速度返回。用计数器记录循环次数。

下夹具,固定并和上夹具在同一垂直面。它应由一对板组成,能用螺钉固定在一起夹住试样的另一 端。当上夹具转至EF处于水平位置时(图44),则下夹具平板上边缘应在EF边缘下方25 mm处。 6. 6. 3试样的制备

6.6.3. 1 预折

切取70 mm×45 mm尺寸的试样。

开动电机至EF边水平。试样粒面朝内对折,按图45a)所示夹入上夹具。试样一端靠着挡块,折叠 线顶住突出边缘。如图45b)所示将试样自由角向外、向下移动.使原本在夹具中朝内的面在它的下方


37


GB/T 20991—2007


朝外。将试样拉下,让未夹住的两个角合在一起;(如图45C)所示)将它们夹入下夹具,使两夹具间的对 折部分垂直,用不太大的力使试样正好拉紧。

开动机器,进行20 OOO次曲折。

关闭机器,从夹具中取出试样。

单位为毫米




a)上夹具中的试样




c)夹在上下夹具中的试样


38


1-..外面;

2-—里面:

3——上夹具(见图44)

4--下夹具。


45夹具中试样的插入


GB/T 20991—2007


6. 6.3.2切取试样


以折痕聚集处为中心,切取34 mm直径的圆形试样。

6. 6. 4测试步骤

在一个测试瓶内装入半瓶刚干燥过的冷硅胶。用螺旋盖将试样安装在瓶上,试样对着脚的一面朝 外。将测试瓶放在装置的支架上然后开动机器。

在相互垂直的两个方向测量第二个测试瓶的瓶颈内直径d(精确到O. 1 mm),计算平均直径,单位 为毫米。如果密封试样和瓶颈之间的连接处是必需的,加热第二个测试瓶,给瓶颈的扁平端表面涂一层 薄薄的蜡。

16 h~24 h后停止机器,取下第一个测试瓶。在第二个测试瓶内装入半瓶刚干燥过的的冷硅胶,立 即从第一个测试瓶上取下试样,放到第二个测试瓶上(同一面朝外)。如果瓶口涂了蜡,将瓶加温到 (5O±5)C ,再装入硅胶、安装试样。

尽快称量带有试样和硅胶的第二个测试瓶质量M一同时记下时间。将测试瓶放入装置再开动 机器。

7 h16 h后停止机器,重新称量测试瓶质量M精确到0.1 g,再次记下时间,精确到分钟。

6.6.5 计算和结果表示

按式2)计算水蒸气渗透率w3单位为mg/(cπ? ∙ h))0


式中:

M——MZ-MI,单位为毫克(mg)

M1..装有试样和硅胶的瓶的初始质量,单位为毫克(mg)?

M2--装有试样和硅胶的瓶的最终质量,单位为毫克mg)

A—π√ ,试样表面积,单位为平方厘米Cm2)

r--试样表面半径,单位为厘米Cm);

t..第一次和第二次称量之间相距的时间,单位为小时h)

6.7水蒸气吸收性的测定

6.7. 1 原理

测试期间,不透水材料和试样一起固定在金属容器的开口上,容器内装有50 mL水。通过测试前 后试样的质量变化来确定水蒸气吸收率。

6.7.2装置

6.7.2. 1容积IOOmL的圆形金属容器和一个上环

不透水材料和试样夹在上环和容器之间(见图46)。容器和环的内直径应为3. 5 cm,对应约10 cm2 的测试面积。上环应用三个带有蝶形螺母的较接螺钉或通过其它合适的方法固定在容器上。

6.7.2.2 天平

能精确到0.001 g

6.7.2.3 秒表

记录时间。

6.7.3试样的制备

切取直径4. 3 Cm的试样。

6.7. 4 测试步骤                          。

(232)和相对湿度50±5) %的调节环境中进行测试。

称量调节过的试样并记录其质量加1。在容器内装入50 mL水,将试样对着脚的一面朝下放在容 器上,、不透水垫和上环放在试样上,旋紧螺母。应确保没有水溅到试样下方。8 h后取下试样,立即称


39


GB/T 20991—2007


量,记录其质量相2

单位为毫米



1——顶部;

2..底部:

3——密封;

4-..试样。

46水蒸气吸收性的测定装置

6.7.5计算和结果表示

按式(3)计算水蒸气吸收率。

ττr 3 — Wl

式中:

Wl——水蒸气吸收率,单位为毫克每平方厘米(mg/cn?);

1..试样初始质量,单位为毫克(mg);

m2—-试样最终质量,单位为毫克(mg);

A—-测试表面积,单位为平方厘米(Cm2)

结果精确到O. 1 mg/cmQ

6.8水蒸气系数的测定

按式(4)计算水蒸气系数。


W2 = 8 h ∙W3+ W1


(4 )


40


GB/T 20991—2007


式中:

W?——水蒸气系数,单位为毫克每平方厘米mg/cmz);

W3--水蒸气渗透率(见6. 6.5),单位为毫克每平方厘米小时(11^/(d112h))

Wl——水蒸气吸收率(见6. 7. 5),单位为毫克每平方厘米(mg/cr√)

结果精确到O. 1 mg∕cm2 0

6.9 PH值的测定

按照QB/T 2724方法测定皮革(鞋帮、衬里、鞋舌、内底或鞋垫)的PH值。、

6. 10鞋帮耐水解的测定

按照6. 5. 2. 2方法在聚氨酯鞋帮上制备试样,将试样置于702)的饱和水蒸气环境中7 d,再在 (232)环境中调节24 h,然后按照6. 5.2.3方法测试,连续屈挠150 OOO次,取下试样,检查并记录 是否有裂纹。试样应包括任何辅助织物层。

6. 11六价馅含量的测定

6. 11. 1原理

本方法提供皮革中六价倍的测定。

溶解的六价倍从pH7. 58. 0的样品和影响检测的物质中滤出,如果必要,通过固相萃取法移走影 响检测的物质。溶液中的六价倍将1,5-二苯基碳酰二胱氧化为1,5-二苯卡巴踪以提供红色/紫色含倍 的合成物,能在540 nm处被光度计量化。

按照所述方法获得的结果严格取决于萃取条件。用其他萃取过程(萃取溶液、pH、萃取时间,等等) 获得的结果和本标准所述过程产生的结果是不可比的。

6.11.2化学试剂

所有使用的试剂应有至少分析级纯度。

6. 11.2. 1萃取溶液

22.8 g磷酸氢二钾K2HPO, ∙ 3HzO)溶于1 OOo mL蒸偏水中,用磷酸6. 11. 2. 3)调节PH值至

7. 98.1。用氨气或氮气除去溶液中的氧。               ^

6. 11.2.2二苯基碳酰二脱溶液

LOgl,5-二苯基碳酰二股[CO(NHNHCeHs)?]溶于100 mL丙酮中并用一滴冰醋酸使之成酸性。 溶液应保存在棕色玻璃瓶中。4时保存期为14 d

6. 11.2.3 磷酸溶液

700 mL 磷酸,<7=1. 71 g∕mL,加蒸憶水到 1 OoO mL

6. 11.2.4 六价馅贮备溶液

2.829 8重倍酸钾(%0207(6.11.2.8)溶于水并在1 OOO mL容量瓶中加蒸憶水稀释到标线。

1 mL此溶液含Img倍。

6. 11.2.5六价馅标准溶液

用移液管吸取1 mL溶液6. 11. 2. 4)1 000 mL容量瓶中并用蒸偏水稀释至标线。1 mL此溶液 含1 "g倍。

6. 11.2.6 気气或氮气

除去氧气。

6. 11.2.7蒸憎水

符合GB/T 6682要求。

6. 11.2.8 重馅酸钾(K2Cr2O7)

102 2) 干燥16±2)h

6. 11.2.9活性碳粉末

吸附滤液中的干扰物质。

41


GB/T 20991—2007


6. 11.3装置

6. 11.3. 1合适的机械振荡器

(5O~15O)r∕min<,                                                                       ■

6. 11.3.2锥形烧瓶

250 mL,带塞子。

6. 11.3.3 带玻璃电极的PH

精确到0.1PH单位。

6. 11.3.4 0.45 Jlm孔径的薄膜滤器

配有通风管和流量计,薄膜由聚四氟乙烯(PTFE)或尼龙制成。

6. 11.3.5容量瓶

容积 25 mL,IOO mL, 1 OOO mLo

6. 11.3.6 移液管

标称容积 0. 2 mL,0. 5 mL, 1. O mL, 2. O mL, 5. O mL, IO mL,20 mL 25 mLo

6. 11.3.7分光光度计或滤色光度计

包含波长540 nm

6. 11.3.8光度计的吸收池

石英,2 Cm长或任何其他合适的吸收池长度。

6. 11.4步骤

6. 11.4. 1样品的制备

按照QB/T 2716-2005方法磨碎皮革。

6. 11.4.2分析溶液的制备

称取(2O. ODg皮革,精确到0.001 g。移取IOO mL脱气溶液(6. 11.2. T)250 mL锥形烧瓶中 并加入皮革,塞住烧瓶。通过在机械振荡器中摇晃(1805)min皮革粉末被萃取。振荡装置的安装应 使皮革粉末按稳定的圆周运动搅动而没有粘附到烧瓶壁。应避免太快的运动。

萃取3 h后检查溶液PH值。溶液PH值应在7. 58. O之间。如果溶液PH值不在此范围内则应 重新取样并再次开始整个过程,如果pH值还达不到则应减少样品量。

萃取完成后立即将瓶中物通过薄膜滤器过滤。

6. 11.4.3萃取过程获得的溶液中六价辂的测定

6. 11. 4. 2获得的滤液中移取10 mL,加入不超过0. 2 g的活性碳粉末,摇晃几秒后再用薄膜滤 器过滤,滤液搜集在25 mL容量瓶中。用萃取溶液(6. 11.2. D补到容量瓶标线处。此溶液标记为5

移取IomL溶液SI25 mL容量瓶中。用萃取溶液(6. 11. 2. 1)稀释到容量瓶容积的3/4。加入 0. 5 mL二苯基碳酰二弹溶液(6.11. 2. 2)然后加入0. 5 mL磷酸(6. ∏∙. 2. 3),再用萃取溶液(6.11. 2.1) 补到容量瓶标线处并混合均匀。放置(15±5)min。在2 cm吸收池中对比空白溶液(6. 11. 4. 4)54Onm处测量溶液的吸光度。获得的记录为己。

再移取10 mL溶液Sl25 mL容量瓶中并按上述方法处理但没有加入二苯基碳酰二腓溶液 (6.11.2.2)。如前所述同样测量该溶液的吸光度并记录为及。

6. 11.4.4 空白溶液

25 mL容量瓶中装入3/4容积的萃取溶液(6. 11. 2. 1),加入0. 5 mL二苯基碳酰二脐溶液 (6. 11. 2. 2)0. 5 mL磷酸(6. 11. 2. 3),再用萃取溶液(6. 11. 2. 1)补到标线处并混合均匀。该溶液应 储存在暗处。按分析溶液的处理方法同样地处理空白溶液。.

6. 11.4.5 校准

用标准溶液(6. 11.2.5)制备校准溶液。这些溶液的倍浓度应覆盖预期的测量范围。在25 mL容 量瓶中制备校准溶液。


42


GB/T 20991—2007


用空白和六价辂标准溶液(6. 11. 2. 5)制备的至少4种浓度绘制适当的校准曲线。用移液管移取标 准溶液的指定容积⅛1 25 mL容量瓶中,每个瓶加入0. 5 mL二苯基碳酰二脱溶液(6. 11. 2. 2)0. 5 mL 磷酸(6. 11. 2. 3)。用萃取溶液(6. 11. 2. 1)补到容量瓶标线处,混合均匀并放置(15±5)min

在与样品相同的光度计吸收池中对比6.11. 4. 4获得的空白溶液于540 nm处测量溶液的吸光度。

用六价倍质量浓度3g/mL)对应测量的吸光度作图。六价馅质量浓度为了轴,吸光度为,轴。

6. 11.5回收率的测定

6. 11.5. 1基质的影响

回收率的测量对提供有关可能的基质影响的信息是重要的,这能影响结果。

6.11. 4. 2中得到的10 mL滤液与适当体积的六价馅标准溶液一起配制使萃取的六价倍的含量大 约增加一倍(士25%),配制的溶液不得超过n mLo此溶液如样品一样地处理(见6.11.4.3)

溶液的吸光度应在校准曲线的范围内,否则用较少部分重复过程。回收率应大于80 %。

6. 11.5.2活性炭的影响

与皮革六价馅含量相当的一定量溶液6. 11. 2. 5被移入100 mL容量瓶中并用萃取溶液 (6. ∏. 2.1)加到标线处。

按照皮革萃取方法同样地处理该溶液。按照皮革萃取那样确定该溶液的含量并与计算的含量比 较。如果皮革样品中无六价倍检出,溶液的质量浓度应为6 *g/100 mL。回收率应大于90%。如果向 收率等于或低于90%则活性炭材料不适合本步骤且必须被取代。

1如果额外的六价馅不能被检出,这可能表示皮革含有还原剂。在一些情形.中,如果依照6.11. 5.2回收率比 90%高,而且在深思熟虑后,这可能导致该皮革没有六价倍结论(在检出限下)。

2回收率是一个指示,指出操作过程或基质是否影响结果。通常回收率超过80%

6. 11.6计算和结果表示

6. 11.6. 1六价馅含量按式(5)计算

ττr — (El —瓦)Xvo XVl XV2 X 13                     z Γ \

=    50 X × A2 × m × F ..............................(

式中:

WcrV1——皮革中溶解的六价辂,单位为毫克每千克(mg/kg);

Ei—含有DPC样品溶液的吸光度;

E2——没有DPC样品溶液的吸光度;

F—校准曲线的斜率3/z)单位为毫升每微克(mL/kg);

A]——从皮革萃取液取走的部分,单位为毫升(mL)

m..皮革的初始质量,单位为克(g);

V0--萃取溶液容积,单位为毫升(mL)

匕-Al部分被加入的容积,单位为毫升(mL)

A2从溶液4取得的部分,单位为毫升(mL)

匕——来自Sl部分被加入的容积,单位为毫升(mL)

6. 11.6.2回收率(依据6. 11.5. 1)按式(6)计算。

RP = [(E3 - E1) X 100]∕(m2 X F) ..............................( 6 )

式中:

RP—回收率,单位为%;

m2——额外的六价馅,单位为微克每毫升(fxg/mL);

F—校准曲线的斜率,单位为毫升每微克(mL/fzg);

E3——加入六价馅后的吸光度;

El..加入六价馅前的吸光度。


43


GB/T 20991—2007

6. 11.6.3 结果表示

如果六价格的含量低于IO mg/kg,依据完成的分析,六价倍未发现。

-如果六价馅的含量等于或高于IOmg/kg,分析结果意味着提交的皮革含六价馅。然后给出六价络 含量(单位为mg/kg),精确到O. 1 mgo

记录低于80%或高于105%时的回收率,及来自过程的任何偏离的细节。

6. 12衬里和鞋垫耐磨性的测定

6. 12. 1原理

在已知压力下,圆形试样以相互垂直的两个简谐运动合成的李萨如(LiSSajoUS)图形方式在标准磨 料上进行循环平面运动。以试样在规定的循环次数内不应产生任何破洞来评估耐磨性。

6. 12.2装置

6. 12.2. 1磨擦机

符合下列要求:

...每个外轴的转速:(47. 5±5)r/min;

——外轴与内轴的传动比32 ≈ 30

---李萨如(LiSSajoUS)图形尺寸(60±l)mm

--李萨如(LiSSajOUS)图形的对称性:曲线应平行并且均匀间隔;

——试样架嵌入件的表面直径:(28.650.25)mm;

..试样架、圆轴、硅码的总质量:(795±7)g;

--板和磨擦台的平行度:±0. 05 mm

..圆周平行度:±0. 05 mm

--磨擦座的直径为:(125±5)mm

试样架和磨擦台应为平面并且整个表面都是平行的。驱动磨擦机的电机应与一个计数器及开关相 连,以显示外轴的转数并且当计数器达到预置次数后,机器应停止。

6. 12. 2. 2 标准磨料

交错精纺的平纹织物,符合表9要求。

标准磨料应装在磨擦台的毡上,毡应是单位面积质量为(750±50)g/n?、厚(3±0. 5)mm的纺织 毛毡。

注:毛毡两面都损坏、或弄脏、或已完成约IOO h测试时,需换新的。


9标准磨料


_________指 标_________

经 纱

纬 纱

纱线密度

R63 tex/2

R74 tex/2

每厘米纱数

17

12

单捻,每米转数       -

54020'Z'

50020'Z'

________双捻,每米转数________

45020'S'

35020'S'

纤维直径/*m      

27. 5 + 2.0

29.0±2.0

织物的单位面积质量,最小值/(g/m2)

195

含油量/%        -

0. 90. 2


6. 12.2.3 背垫

用于单位面积质量小于500 g∕m2的试样,由厚(3±l)mm、密度(30±l)kg/ιB3、压痕硬度(5. 8±

0. 8)kPa的海绵(POltetherUrethane foam)构成,切成与试样相同大小。每次测试时背垫都应更新。

6. 12.2.4 织物冲压机或压切机

用于制备装入支架的试样,直径38 mm


44


GB/T 20991—2007

6. 12.2.5 広码

质量(2. 5±O. 5)kg、直径(120±10)mm°

6. 12.2.6 天平

能精确称量到0.001 go

6. 12.3测试环境

测试环境应为(23±2)C(505)%的相对湿度。

6. 12.4试样和材料的制备            ^

用织物冲压机(6. 12. 2. 4)从衬里上切下四个圆形试样,两个用于干式测试、两个用于湿式测试。将 试样和材料暴露在标准测试环境中至少24 h

6. 12. 5 步骤

6. 12. 5. 1 一般要求

检查顶板和磨擦台是否平行。通过圆轴轴承插入一个千分表并用手转动传动轴来移动顶板。千分 表指针应在磨擦台的整个表面上方土0.05 mm范围内移动。如果磨擦机的试样架和磋码用圆轴连接, 对每个空试样架进行组装并将它们放在磨擦台的适当位置上然后插入圆轴。用测隙规检查试样架嵌入 件表面和磨擦台之间是否有空隙。空隙不应大于0.05 mm。左右摇晃圆轴,再用测隙规检查。为避免 损坏磨擦台和金属嵌入件,在金属嵌入件和未覆盖的磨擦台接触时,不可开动机器。

6. 12. 5.2安装试样

取下一个试样架的外环及金属嵌入件,将试样插入外环中心使被磨擦面通过环孔显现。

对于单位面积质量小于500 g/π?的试样,插入一个和试样直径相同的海绵圆片(6. 12.2.3)。每次 测试应用新背垫。小心地将金属嵌入件放入外环,使其凸起表面紧邻试样。在背垫上通过转动螺钉来 组装试样架,同时在一个坚硬的平面上紧紧按压试样表面以防起皱。检查确实没有皱纹产生,对余下试 样重复此安装过程。

6. 12. 5. 3湿式测试的磨料和衬垫的制备

按以下方法之一完全弄湿织物磨料和毛毡衬垫

a)浸泡至少12 h

b)在水中充分搅拌;

c)用高压喷水器喷湿。

排除多余水分,按6.12. 5. 4方法安装。

磨擦到6 400次时,用30 mL水泼浇磨料和毛毡同时用指尖轻轻刮擦以便再次弄湿。将破码 (6.12. 2. 5)放在织物上停留几秒钟,压出多余水分。

6. 12.5.4安装磨料

每个磨擦台上安装一块新的标准磨料(6. 12. 2. 2),磨料下面放一块相同尺寸的毛毡。在磨料表面 放上法码(6.12. 2. 5)压平标准磨料,然后放置固定框并均匀地绷紧。确信标准磨料被牢固定位,没有任 何褶皱。

6. 12.5.5 安装试样架

在磨擦机上安装试样架。每次拆下支架检查试样后,重新安装前都要再次拉紧试样架。如果测试 期间发生起球,不应中断。

6. 12.6评价方法

持续进行测试直到试样上出现破洞或者干式测试完成25 600次(湿式测试12 800次)来回磨擦。 如果织物有绒面,只需考查底层织物上的洞。用肉眼进行评价。

6. 13鞋帮透水性和吸水性的测定

6. 13. 1原理

材料被部分浸入水中并模拟穿着状态在机器上屈挠。进行以下测量:

a)测试开始60 min后,由于吸水导致试样质量增加的百分比;.


45


GB/T 20991—2007

b)测试60 min后穿过试样的水的质量。

6. 13.2装置

6. 13.2. 1测试装置组成

6. 13.2. 1. 1 .两个圆筒

直径30 mm,用不导电的刚性材料制成,安装时轴线保持水平且同轴。一个圆筒应固定,另一个可 以沿轴线方向移动。

6. 13.2. 1.2 电机

用速度为50周期/min的曲柄运动驱动活动圆筒沿轴线前后移动。当活动圆筒与固定圆筒的距离 达到最大时,两个圆筒相邻面的距离应为40 mm

6. 13.2. 1.3

装有蒸僧水,用以浸泡试样的一部分。

6. 13.2. 1.4 金属板

用弹簧支撑,停放在吸水布卷上,施加1 N2 N载荷力。

6. 13.2.2环形夹具

围绕圆筒的相邻端夹住试样的长边,使试样形成一个两端被圆筒封闭的槽。.

6. 13.2.3 吸水布

用于吸收渗透到试样内的水。当材料是新的时,吸水性不是最佳,因此第一次使用前应清洗。

注:合适的吸水布由质量密度约300 g/m/尺寸约120 mmX40 mm的矩形棉毛巾布类纺织物组成;

6. 13.2.4 天平

精确到0. OOl g

6. 13.2.5 计时器

能测量到1 mino

6. 13.3试样的制备

从鞋帮上取下75 mmX60 mm的矩形试样。在试样外表面放上180号砂纸,再在砂纸上放一个硬 板并在其上加10 N载荷,来回移动砂纸IO次,每次100 mmo

吸水布使用前按条款4的规定进行调节。

6. 13.4步骤

调节装置使试样压缩7. 5%

称取试样,精确到0. 001 g,记录质量Wi

安装试样在装置中,使试样外表面与水接触,要求如下:

使两圆筒之间距离最大,围绕圆筒相邻两端包裹试样,使之形成一个槽,由试样短边形成的槽的上 边缘是水平的且在同一平面上。为消除褶皱,在每个圆筒上用环形夹具夹住试样,使试样在圆筒间保持 微小张力,试样在每个圆筒上重叠的长度几乎相同(约10 mm)o两环形夹具的内边缘应尽可能位于圆 筒相邻端的平面上,这样槽的长度与圆筒间试样的自由长度相同。

称量吸水布(6. 13. 2. 3),记录其质量R ,将布卷成一个40 mm长的圆筒,立即放到试样槽内。将 板(6. 13. 2. 1.4)搁在布上。

增加槽内水位至圆筒顶部下方IOmm处。开动电机60 min后停止电机。拿走金属板,取出吸水 布并擦干槽内任何多余水分。重新称量布,记录质量为2

从圆筒上取下试样,吸干附着的水分并重新称量,记录质量为相2

6. 13.5计算和结果表示

6. 13.5. 1透水性

按式(7)计算透水量Wp,单位为go

Wp = P2-Pi           ..............................( 7 )

式中:

PI..吸水布初始质量,单位为克(g)

P2..吸水布最终质量,单位为克(g)


46


GB/T 20991—2007


按式(8)计算吸水率W.

Wa =丄!二亠.χ I00         ..............................( 8 )

mi

式中:

Sl..试样初始质量,单位为克(g);

m2——试样最终质量,单位为克(g)

6.14鞋帮抗切割性的测定

注:本测试不能用于由非常硬的材料如锁子甲制成的部件上。

6.14.1原理

样品被一计数旋转的圆刀片切割,刀片在规定负荷下往复运动。

6.14.2装置

装置(见图47、图48)组成:

单位为毫米



1..电机和电子检测箱;

2..轮和转动杆;

3..滑动系统;

4——杆;

5--试样装置;

6——圆刀片;

7--齿条;

8--支撑板;

9-计数器;

10..试样;

11——绝缘支架;

12--导电橡胶;

13---铝箔

14...滤纸;

15--上部;

a--刀片的往复运动。


47鞋帮抗切割性的测试装置


47


GB/T 20991—2007


a) 一个圆形旋转刀片水平往复运动的测试台。水平运动长50 mm并且刀片旋转方向与其滚动 方向完全相反。发生的刀片最大正弦切割速度为最大IOCm/s;

b)加在刀片的质量块产生(5±0.05)N的压力;

c)圆刀片直径450. 5)mm,30. 3)mm,总切割角30°35°(见图48)。刀片应为740 800)HV硬度的曾钢。

d)放置试样的导电橡胶[(80±3)IHRD]的支撑架;

e)47所示试样夹持框;

f)检测穿透时刻的自动装置系统;

g)周数计数器校准到0.1周。

单位为毫米



48圆刀片规格

6. 14.3试样的制备

取三只样品,然后从每个样品的防护区域切取两片试样。试样尺寸为100 mmX80 mm0

6. 14.4 比对试样

比对试样的尺寸与测试试样一样。比对试样为棉帆布,其要求如下:

织物经向和纬向:从开口端纤维纺成的棉纱

经纱线密度」61 tex

复纱(双股):s280 t/m

单纱(单股):z500 t/m

纬纱线密度:与经纱同

经纱18 threads/cm

纬纱11 threads/cm

经缩29%

纬缩:4%

经向拉伸强力1 400 N

纬向拉伸强力」000 N

单位面积质量:540 g∕m2

厚度厚.2 mm

对着经向斜裁比对试样。关于棉帆布的其他规范参见附录A


48


GB/T 20991—2007


6. 14.5测试步骤

在橡胶垫上放一块约0.01 mm厚的铝箔,其上覆盖一块655)g/m2且小于0. 1 mm厚的滤纸 板。该板的目的是为了在测试中固定试样并避免无法预料的穿透检测应归于某些纤维中钢纱或归于薄 针织物的缝隙。在夹持框中比对试样应不受张力放在铝箔上。

夹持框放在台子上。手臂控制刀片下降至比对样品上。

试验前如下所述检查刀片的锋利程度:在比对试样上穿透,记录周数C)。如果预期的性能级别小 于3,则周数应在14之间,如果预期的性能级别等于或大于3,则在12之间。如果周数少于1,应 通过在三层比对织物上或任何防割材料上的切割移动来减少刀片的锋利程度。

试样经受相同的测试,记录周数T)

按照下列顺序在每个试样上进行一次测试

D 在比对试样上测试,记录刀片运转周数C;

2)在试样上测试;

3)在比对试样上测试,记录刀片运转周数C2

6. 14.6测试结果的计算

按式(9)计算防割指数L

;=QφG          .............................. 9 )

结果取最低值。

7内底和鞋垫的测试方法

7. 1内底厚度的测定

在花纹区域切开鞋底,再用分度值为0. 1 mm的目镜测量内底厚度。

7.2内底和鞋垫的吸水性和水解吸性的测定

7. 2. 1原理

试样放置在一湿底板上,在给定压力下经受反复弯曲(如同步行时鞋内底的样子)。测定测试结束 时的吸水性和随后测试的水解吸性。

7.2.2装置(见图49)

7.2.2. 1黄铜滚筒(A)

直径12O + l)mm、宽5O + l)mm,放置于试样B)上。

7.2.2.2 平台(C)

有粗糙的上表面和足够的孔让表面被流经平台的水流过而保持湿润。平台的上表面C)铺一条由 单位质量为60.5±2)g/m250%棉和50%聚酰胺组成的棉纱布。

7.2.2.3 夹具(D)

在平台D)上的一个水平位置中夹住试样的一短边。

7.2.2.4 夹具(E)

将试样另一短边贴在滚筒上同时该边与滚筒轴线平行。夹具被一弱弹簧控制使试样保持在微小张 力下。

7.2.2.5供水系统

流经平台C)且能排走多余水。

7.2.2.6滚筒轴线移动方法

沿RZ轴来回运动和201)/min频率下围绕试样中点正上方的一个点的50±2)mm的振幅。 轴的运动导致滚筒沿试样来回运动,升起一端而且弯曲它使之符合滚筒的形状。

7.2.2.7挤压平台的装置


试样和滚筒一起加上805)N的力。


49


GB/T 20991—2007


7. 2. 2. 8 冲刀

切取尺寸(IIo±ll)mmX (4O±l)mm的试样。

7. 2. 2. 9 天平

精确到O. OOl g

7.2.2. 10计时器

精确到1 S

7.2. 2. 11硅脂,或合适的粘合剂



A--黄铜滚筒;

B--试样;

C——平台;

D-平台上的夹具;

E——黄铜滚筒上的夹具;

F——供水系统;

G--挤压平台的装置。

49测试装置示意图

7.2.3取样和调节

对于成鞋样品,试样宜沿纵向取自内底的前部。对于材料片,试样从两个主要方向取下,一个与另 一个成 90°。试样应为(IlOIDmmX (40l)mm

在试样的边缘涂少许硅脂或合适的粘合剂用以防止水从侧边进入。

7.2.4步骤

称量试样,精确到O. OOl g,记录为Wo

放置棉纱布在平板上(C)。将试样放在装置上,与脚接触的试样表面和覆盖棉纱布的平台接触。 把狭窄端附在平台和滚筒上,并施加(805)N的力。

打开阀让水流出同时调节平台上水流为(7. 5±2. 5)mL∕mino

开动机器,记录时间。测试进行4 h,在停止机器前Imin停止水供应。如果能证明材料被浸透则 能减少测试时间。

注:每隔15 min获得的两个测量值之差不超过20 mg时,即表明材料被浸透。

取下试样并称量,精确到O. OOl g,记录为mFo

悬挂在一个可控的环境中再调节(见第4)24 h,然后再称量试样,精确到0.001 g,记录为mRo

7. 2.5结果表示

7. 2. 5. 1吸水性

用式(IO)计算吸水性Wa,单位用毫克每平方厘米(mg/cπ√)表示。


50


GB/T 20991—2007


wʌ =叫「°         ..............................( 10 )

式中:

m0..是试样的初始质量,单位为毫克mg)

mF——试样的最终质量,单位为毫克(mg)

A——试样的面积,单位为平方厘米Cm2)

结果精确到1 mg∕cm2 o

7.2. 5.2水解吸性                                                          

用式11)计算水解吸性Wdo

Wd =二—mW χ loo        ..............................( 11 )

"Zf — Wo

式中:

m0..是试样的质量,单位为克g);

F—— 是试样的最终质量,单位为克g)

Wr..是再调节试样的质量,单位为克g)

结果精确到1 %。

7.3内底耐磨性的测定

7. 3. 1原理

在给定压力下,覆盖磨擦织物的湿的白色羊毛毡以一定数量的来回运动周期磨擦试样,测试在经过 调节的内底材料上进行,目测评估磨损情况。

7.3.2装置

7. 3. 2. 1测试设备

由下列特征组成:

a)测试架:有一个水平的、完全平坦的金属平台,一个固定试样的支架使试样80 mm暴露在外并 有使试样在磨擦方向保持轻微张力的装置;

b)抓手:质量为500 g,可以拆卸且能牢固安装,带有一个15 mm×15 mm的底座、一个将毛毡垫 (7. 3. 2. 2)附于底座的装置、一个附加的50Og重物块以及一个满负载(总质量1 kg)时引导抓 手在试样上保持平直的装置;

c)驱动测试架以35 mm的振幅和40±2)/min的频率往复运动的装置。

7. 3. 2. 2羊毛垫

15 mm×15 mm的白色羊毛毡,从一张白色纯羊毛毡上冲压而得,厚5. 5±0. 5)mm,有下述规范: a)单位面积质量1 750±100)g∕m2

b) 平均吸水1.0±0. l)mL

c)5 g研碎毛毡放入100 mL蒸得水中振荡2 h,由此制备的萃取液PH值应为5.5~7.0o

7. 3. 2. 3 磨擦织物

从表9规定的织物上切取,尺寸足以覆盖毛毡并使之加在抓手上。

7. 3.3试样的制备

切取最小尺寸120 mm× 20 mm的矩形试样。

7. 3.4磨料垫的制备

羊毛垫7. 3. 2. 2)和磨擦织物7. 3. 2. 3)23±2)C、相对湿度(505) %的环境中调节48 h,然 后称量羊毛垫。

对于每个试样,放入四块羊毛垫和四个矩形磨擦织物于蒸憎水中,加热至沸腾再小火沸腾至它们下 沉,然后倒出热水,加入冷蒸億水,直至羊毛垫和磨料织物温度降至室温。

51


GB/T 20991—2007

使用前,从水中取出每个垫和磨擦织物,沿烧杯边缘挤干或擦干,使它不再滴水。使用前,垫浸水时 间不允许超过24 h

通过称量,确定垫和磨擦织物的吸水量合起来是1. 0 + 0. DmL0

7.3.5步骤

将试样紧固在仪器上,施加轻微的张力使之平整。

在抓手上装入一块湿羊毛垫,用一个矩形湿磨擦织物覆盖并固定在抓手上,如用橡皮圈或圆环,避 免任何折痕在羊毛垫表面上的织物中。距试样边缘5 mm处安放抓手。将附加的500 g重物块安在抓 手上。

磨擦100次来回,抬起抓手,检查测试区域的磨擦损坏。用新的羊毛垫和磨擦织物替换,再磨擦 100个来回。

100次来回更换羊毛垫和磨擦织物,当试样产生中度磨擦损坏,或400次来回后,无论哪个首先 发生,则停止测试。

7. 3.6 结果表示

目测检查试样被磨擦表面,评价磨擦损坏。

8外底的测试方法

8. 1外底厚度的测定

8. 1. 1花纹区域符合性的确定

除保护包头卷边下方区域外,经由目测检查和记录,如图50所示的阴影应有向侧边开口的花纹…

8. 1.2外底厚度

在对应图50的阴影区域的踏地处切开鞋底后,用0.1 mm刻度的合适仪器测量厚度4 ,或花纹高 度小,如图51a)b),52或图53所示。如果鞋底有一个洞,测量%时应忽略。对于全橡胶和全聚 合材料鞋,进行一个附加测量厶,如图53所示。





51直接注压、硫化和胶粘的外底


52


GB/T 20991—2007



8.2外底撕裂强度的测定

按照GB/T 529方法A测定非皮革外底的撕裂强度。

如果可能,试样应在鞋腰区域对着纵向轴线横向切取。

8.3外底耐磨性的测定

按照GB/T 9867方法(在40 m磨损行程中有一个IO N的垂直作用力)测定。试样可取自鞋底的 任何地方。

8.4外底耐折性的测定

8.4. 1刚性测试

8.4. 1. 1 装置

8. 5.1

8.4. 1. 1. 1光滑的金属较接板

装在一个硬基座上。

8. 4. 1. 1.2夹持装置

对着硬基座固定被测试鞋的前部。

8.4. 1. 1.3传感器

能测量ON50 N范围内的力,误差为士 1 %,装在较接板上,距较链315 mmo

8.4. 1.2试样的制备

用整只鞋作为试样。宜选择中号范围,通常是265号。

按照5. 4. 1.2描述的方法标记鞋的纵向轴线。在Z处与鞋头距离Zy三分之一的地方通过纵向轴 线画出与纵向轴线成90°的规定的耐折线。此耐折线为AC(54)o 8.4. 1.3测试步骤

用一固体块(对应植的前部)将鞋的前部夹在硬基座上,耐折线AC与底板8. 4. 1. 1.1)的较链轴线 在一起,见图54。块的后边缘应在耐折线前10 mm处(见图55所示A-C

注:当鞋的前部被固定时后跟将可能不接触板。

在距离校链中心315 mm处对较接安装的平面施加30±0. 5)N力,测量耐折角a(见图56)0应以


53


GB/T 20991—2007


(100±10)mm∕min的速度逐渐增加力到30 No为有利于测试,可在后跟下方加润滑剂。




1—耐折线。


55测试机构上鞋的位置


单位为毫米


1--耐折角生



8.4. 1.4选择标准

在施力期间与水平方向所成的角度低于45°的鞋不进行8. 4. 2描述的耐折测试。


54


GB/T 20991—2007


8.4.2 耐折测试

8. 4.2. 1 装置

8.4.2. 1. 1测试装置

如图57所示。试样应被引导,一侧能围绕一个半径15 mm的圆轴弯折到90°

8.4.2. 1.2 割口刀

如图58所示。

8. 4.2. 1.3测量放大镜

测量精度为0. 1 mm

8.4.2.2试样的制备

取带有内底、除去鞋帮的鞋底部作为试样。按照8. 4. 1.2确定耐折线。找出线AC的中点,然后确 定尽可能接近线AC中点的两邻近花纹,在这些花纹间标记鞋底的中间点(见图59)

8.4.2.3 步骤

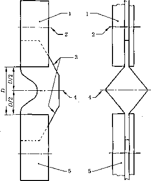
确保测试装置在中间弯折位置(见图57)再夹持试样,使耐折线AC与中轴平行同时被标记的切割 位置8. 4. 2. 2在中轴的正上方。操作机器直到试样在最大弯折、延长或伸展状态。平行于耐折线AC 用割口刀的刀刃在8.4.2.2的标记点上做一个单一割口。割口刀应穿过外底的全部厚度并进入到内底 或同等层之内。如果有几种材料构成鞋底,应做另外的割口,但是割口必须避开在鞋底边缘15 mm的 区域内。

用测量放大镜8. 4. 2.1. 3)测量试样表面割口的初始长度。

从最大弯折、延长或伸展状态开始进行30 000个周期,在135150)/min的恒定速率下试样经 受最大变形。30 OOO个周期后,用测量放大镜8. 4. 2. 1.3)测量试样表面割口的最终长度。

割口增长为最终割口长度与初始割口长度之差。

-                          单位为毫米



1——最大弯折状态的试样;

2——零弯折状态的试样;

3 固定轴承:

4 活动轴承。


57外底耐折测试装置


55


GB/T 20991—2007


单位为毫米




1--从锥形部分至顶点的刀两边的直角刃口;

2——刃口。

58割口刀



3                                           7


1——割口刀:

2--试样;.

3--测试机器的圆轴;

4--平行于最大应力线的单一割口 ;

5--最大应力(变形)AC线;

6--花纹;

7——纵向轴线g,。

59鞋底切口

8.5外底耐水解的测定

8.5.1装置

8. 5. 1. 1屈挠机

有一个屈挠机械装置如图60所示。

将试样A插入屈挠臂B的一端直至挡板,用夹具C夹紧,夹具C中试样长度JK(5O±5)mm


56


GB/T 20991—2007

屈挠时,未被夹持的试样另一端在辐轴DEF的内部、外部及中间运动。绕圆轴H的屈挠半径为 (5. O±O. 3)mmo

通过G点与圆轴相切的垂直切线与夹具C的邻边J的平面距离为11.01.5)mm。当试样处于 非屈挠状态时,割口刀在试样上预割口的位置应在圆轴H边缘的垂直正上方,即图60G点。割口与 圆轴边缘重合的公差为士0.5 mm

辐轴EF及圆轴H的顶部在同一水平面上,辐轴D在辐轴E的垂直上方。除此之外,辐轴DE F的尺寸和位置并不严格限制。根轴DE的适宜直径为25 mm,而親轴F的适宜直径为10 mm 15 mm0辑轴DE的中心与圆轴H的曲率中心之间在同一平面上的适宜距离为30 mm,*昆轴D E的中心与辐轴F的中心之间在同一平面内的适宜距离为25 mm30 mm0辐轴D的垂直位置是 可调的,使辐轴DE的间隙能容纳不同厚度的试样。一个锁定机构确保测试期间辐轴DE的间隙 不变。

親轴F有两个可调套环L,其目的是保持试样未夹持端的位置,使试样与屈挠圆轴在同一平面上成 直角,并在屈挠期间保持该位置。每个套环的内、外直径之差约10 mm

屈挠频率应为1. 0+0. DHzo

8. 5. 1.2低温箱

能将屈挠机械装置装在箱体内,并保证箱内测试温度维持在(一5 2),屈挠驱动电机应在箱 体外。

8.5. 1.3 割口刀

在试样上割出初始切口,如图59所示。割口刀刃长2 mm,但通常在材料上割口长度可能稍有差 别。将割口刀装在切割夹具上比较容易保证割口在正确的位置。

8.5.2目镜

测量割口长度,精确到0.1 mm

8. 5.3试样的制备

沿鞋底长度方向切下宽25 mm、长150 mm的试样,除去任何花纹,小心打磨试样两边使厚度减至 (5.0±0.2)mmo将试样置于温度为70±2)C的饱和水蒸气环境中7天,再在温度为232)C的环 境中调节24 h

在离试样一端约60 mm处的外表面上刺透试样,使割口长度对称地跨在试样的中心线上。割口刀 应直接穿透试样并在试样另一面伸出15 mmo割口刀柄上可安装一个可调的套环,以控制割口刀的穿 透距离。                       ^

产品完成后至少过7 d才能进行测试。

8. 5. 4测试步骤

低温箱内温度调至(一52)七。检查机器的屈挠速率,确保机器以正确的速率运转。

将试样绕直径15 mm的圆轴弯曲45°,用目镜测量并记录试样割口长度,精确到0.1 mm

用手转动屈挠机的驱动轮直至屈挠臂B呈水平。松开固定机器顶框的滚花旋钮,将辐轴D升至最 上位置。松开夹具板C,从机器的后部(设屈挠臂B位于前部)将试样外表面朝上插入,使试样在掘轴 DE间穿过,然后穿过夹具C和屈挠臂B及紧靠B的端部挡板。辐轴F和屈挠臂B均有凹槽,有助于 条状试样的定位。夹具C应夹持两个试样,紧固螺钉的两个侧面各自固定一个试样到屈挠臂B上。检 查每个试样的割口是否在圆轴G边缘的垂直上方,然后旋紧夹具C,确保C与屈挠臂的边缘平行。当 仅有一个试样装在特殊夹具里时,该夹具另一边的凹槽里应放一个同样的材料,使夹具旋紧时其表面与 屈挠表面保持平行。将辐轴D下移,使之刚好接触试样,但不压紧试样。用蝶形螺母锁住辐轴D,该螺 母在同一个螺杆上靠着机器框架。

试样装好后应立即开始屈挠测试。连续屈挠150 000次后,取出试样,将试样绕直径15 mm的圆 轴弯曲45°,用目镜测量并记录试样割口长度,精确到0.1 mm

57


GB/T 20991—2007



/



a)试样、屈挠臂及馄轴的侧面图




—ΞΞΞ≡3Ξ¾ΞΞ



1-一程轴D的调整及锁定机构(加上支承该机构的架);

2--全屈挠位置时的屈挠臂B和试样A(夹具C省略)。

A--试样;

B--屈挠臂;

C--试样夹具;

D——可调上根轴:

E--较低位置的辑轴;

F--后部粗轴:

G——切口刀插入试样处;

H--试样被弯曲的圆轴;

J--接近切口 G的夹具C与圆轴H的边缘;

K--试样末端位置;

L--親轴F上保持试样位置的套环。

60屈挠机


58


GB/T 20991—2007


8. 5. 5结果表示


以测试前后割口的增长量表示测试结果,精确到0. 1 mm

8.6耐油性的测定

8.6. 1 一般方法

8.6. 1. 1 试液

2,2,4-三甲基戊烷(异辛烷),通用试剂。

8.6. 1.2试样的制备

从外底切取直径16l)mm、厚4±0.5)mm的两个圆柱形试样,同时测试两试样。

对于多层鞋底,如果不能从紧密层取得4 mm厚的试样,可以在切下的试样中附带一部分拼展层。

8. 6. 1.3测试步骤

按照GB 1690方法检测。

(232)C的温度下,依次称量每个试样在空气和蒸憶水中的质量,记录为a"2。在蒸懦水 中称量时应注意排除试样表面上的气泡。如果试样密度低于1 g/cn?,则必须用坠子确保试样完全浸 没在水中,并单独称量坠子在蒸偏水中的质量"5。用滤纸或不掉绒的布将试样弄干。

(232)的温度下,将试样放入装有试液(8. 6. l.i)的容器中。试样应完全浸没于试液中,如果 试样密度低于试液密度,应设法使试样完全处于液面之下。容器应密封、避光。22±O.25)h后,取出 试样,擦干残留在试样上的试液,立即称量试样在空气和水中的质量,记录为利3和人。

8.6. 1.4 计算和结果表示

按式12)计算体积变化AV

V =皿一一.土人)一(如一.偿+人)XIOo % ........................ 12 )

mɪ -m2 + mɔ

式中:

^ɪ--试样在空气中的初始质量,单位为克(g);

如——试样在水中的初始质量,单位为克g);

如-浸泡后试样在空气中的质量,单位为克(g);

M--浸泡后试样在水中的质量,单位为克(g)

m5..坠子在蒸偏水中的质量,单位为克(g)

如果体积收缩超过0. 5%,或者按GB/T 2411方法测定的硬度增加超过10个邵尔A单位,则应按 8. 6. 2. 2 8. 6. 2. 3 进一步测试。

8. 6.2外底材料收缩或变硬的方法

8.6.2. 1 试液

8. 6. 1. 1

8.6.2.2 试样的制备

从鞋的外底取下名义宽度25 mm和名义长度150 mm试样一个。通过打磨或抛光使全部厚度减 到30. 2)mmo

8. 6. 2. 3测试步骤

232)的温度下,将试样浸没在试液8. 6. 1. 1)22±0. 25)h

用吸水纸除去多余试液,按照8. 5. 3方法割口,再按照8. 5. 4方法连续屈挠150 000次,测定割口 增长。

8.7耐热接触性的测定

8. 7. 1装置

装置的一般结构见图61

须注意测试过程中,某些鞋底可能释放对人体有害的烟雾,因此装置必须放置在通风良好的场所。


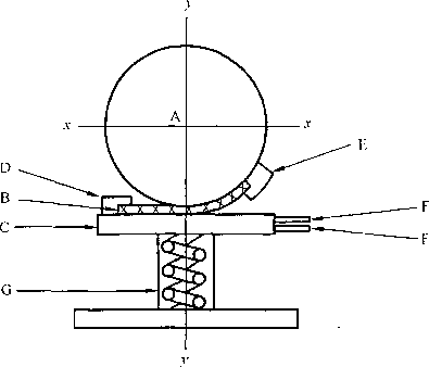
59


GB/T 20991—2007



1...磋码

2--包括测温装置的封闭加热块;

3--开/关转换;

4--铜钻锥方形底端;

5—鞋底试样;

6--自调式试样平台;

7——较接绝热支座。

61 耐热接触性装置

8.7. 1. 1 钻锥

圆柱形铜体,质量为20020)g且底端削成边长25. 5 + 0. Dmm的方形平面。应有6. 5 mm直径 的中间纵向空洞,空洞延长到距钻锥方形底端的外工作面4 mm,用于容纳温度测量装置,钻锥的其他 尺寸见图62

8. 7. 1.2金属加热块

质量53050)g,围绕钻锥的圆柱部分。加热块应包含一个电阻加热元件和一个可以控制预热钻 锥至最大400内任何要求温度的装置(一个开/关转换是足够的)。加热块尺寸如图62所示。

单位为毫米



1——金属加热块;

2--铜钻锥;

3--测温装置;

4--钻锥的方形底端。


62钻锥和加热块


60


GB/T 20991—2007

8.7. 1.3测量装置

用于测量钻锥方形底端附近的内部温度。

8. 7. 1.4抬高和降低钻锥的装置

与加热块合在一起,在水平面和20±2)kPa均匀分布的压力下使钻锥表面与试样均匀接触。

8.7. 1.5自调式平台

具有合适直径搁置试样,并使压力在试样上均匀分布。

8.7. 1.6表面绝热的较接支座

加热时钻锥表面搁在支座上,能移到旁边使钻锥放下在试样上。

8.7. 1.7 圆轴

直径10 Dmm

8.7.2试样的制备

从鞋底切下宽302)mm和长70 mm(最小)试样,必要的地方,清除花纹。

测试可以在通常没有花纹的鞋腰区域进行。然而,如果清除花纹会导致磨损层的清除,则必须从鞋 腰区域取下试样。

8. 7. 3步骤

接通搁在绝缘支座上带钻锥的加热块同时将试样磨损面朝上放在平台上。用一片铝箔覆盖试样以 防止加热钻锥的污染,每次测试用一片新铝箔。当钻锥温度刚超过300C即关闭加热块,让温度降到 (300±5)C,此时钻锥仍放在绝热支座上。然后将绝热支座移开,立即将钻锥放在试样正中间,使钻锥 边与试样边平行,不再接通加热块使之留在适当位置60±l)s,然后再放回支座上。

移走铝箔,让试样冷却至少10 min并按照8. 7. 4的描述检查加热面。

8.7.4评价方法

目测评价试样表面在围绕圆轴弯折之前后是否有损坏,如熔融、烧焦、破裂或龟裂。记录损坏类型 和范围。对于皮革鞋底,记录烧焦和开裂是否仅限于颗粒层或是否任何损坏深入到真皮。


61


GB/T 20991—2007


附录A

(资料性附录) 棉帆布的其他规范


A. 1 一般要求

A.1列出了棉帆布的其他特性和规范,此处的棉帆布测试样品与6. 14中所定义的抗切割帆布 比对试样相同。

这些数值是由KESF(川端康成Kawabata面料评价系统)的测试方法和仪器得出的。

棉纤维的聚合等级为2 000÷50o


A. 1棉织物纤维


KESF

特性值

测试要求

测试

参数

单位

经纱

纬纱.

尺寸

应力

速度

拉伸

LT

WT

RT

J/m %

0. 98~L04

15 25

49,50

0. 98~1.04

78

52 53

200 mm X 50 mm

最大张力=

9. 81 N/cm

0. 020 00 cm/s

弯曲

B

2HB

RNm mN

300350

40 50

430—530

45 55

10 mmX 50 mm

最大曲率= 士 2. 5 CmT

0. 5 CmT %

剪切

G

2HG

2HG5

N/m degree

N/m N/m

20 30

45~60

45 55

20 30

45 60

45~55

200 mm× 50 mm

拉力=9.81 N 最大角度= ±8. 0°

0. 478 degree

压缩

LC

WC

RC

J∕m2 %

0. 43~0. 49

0.21—0. 25

32 35

2 cm2

最大压力=

5. 00 kPa

0. 002 00 cm/s

表面 特性

MIU

MMD

SMD

μm

0. 200—0. 210

0. 035—0. 050

160~200

0. 200—0.210

0. 0350.050

80 IOo

5 mm× 20 mm

5 mm× 20 mm

拉力=5. 87 N P=4. 81 mN/25 mm2 P=0. 96 mN/5 mm2

1 mm/s

厚度

To

mm

1. 2L 35

2 cm2

P==O. 05 kPa

0. 002 00 cm/S

表面 质量

W

g∕m2

520540


A.2 KESF川端康成KaWabata面料评价系统


A. 2. 1拉伸

(拉伸循环,最大拉力限度为9. 8 N∕cm)

LT线性测试(测试弹性1次拉伸)

WT拉力能量,单位为J/m

RT回复,即回复能量百分比

A. 2.2弯曲度

(垂直测试样品上的交替弯曲循环)

B弯曲力

2HB1 CmT曲率的弯曲回滞。


62


GB/T 20991—2007


A. 2.3剪切


’(将矩形试样交替剪切变形为角度8。的平行四边形。)

G抗剪力

2HG2HG5O. 55度剪切变形的剪切回滞

A.2.4压缩

(厚度压缩循环,最大限度为5.0 kPao)  •

LC线性测试(测试弹性1次拉伸)

WC压缩能量,单位为J/n?

RC回复,即回复能量百分比

A. 2.5表面特性

(用传感器测试为25 mr∏2(摩擦系数)宽为5 mm(粗糙度)的样品)

MIU:摩擦系数的平均值

MMD摩擦系数的平均偏差

SMD表面粗糙度的平均值,单位为Rm


63


GB/T 20991—2007


参考文献

[1] Martindale machine J. Text . Inst. 1942 33, T151

[2] ISO 868 1985 Plastics and eboniteDetermination of indentation hardness by means of a durometer( Shore hardness)

[3] ISO 2023 19 9 4 Rubber footwear—Lined industrial vulcanized-rubber bootsSpecification

[4] ISO 3290 1998 Rolling bearings—Balls—Dimensions and tolerance

[5] ISO 4643 1992 Moulded plastics footwearIJned or unlined poly(vinyl chloride) boots for general industrial use—Specification

[6] ISO 5423 1992 Moulded plastics footwear—Lined or unlined polyurethane boots for general industrial use——Specification

[7] EN 3882003 Protective gloves against mechanical risks

[8] EN 12568 1998 Foot and leg protectors—Requirements and test methods for toecaps and metal penetration resistant inserts

[9] EN 5032112000 Electrically insulating footwear for working on low voltage installations

[10] GB 12011—2000电绝缘鞋通用技术条件


64



GB/T 20991-2007


中华人民共和国 国家标准 个体防护装备鞋的测试方法

GB/T 20991—2007

中国标准出版社出版发行

北京复兴门外三里河北街16

邮政编码:100045

网址 WWW. spc. net. cn

电话68523946 68517548 中国标准出版社秦皇岛印刷厂印刷 各地新华书店经销

*

开本880X1230 1/16 印张4. 5 字数130千字 20082月第一版20082月第一次印刷

*

书号155066 • 1-30532

如有印装差错由本社发行中心调换

版权专有侵权必究

举报电话:(010)68533533


NOoZIL66。Z Jyab