G图 中华人民共和国国家标准

GB 18173.4—2010


高分子防水材料

4部分:盾构法隧道管片用橡胶密封垫

Polymer water-proof materials—

Part 4 Rubber gasket for shield-driven tunnel


2010-08-09 发布


2011-06-01 实施


中华人民共和国国家质量监督检验检疫总局


中国国家标准化管理委员会


发布


GB 18173.4—2010


前 言


本部分的4. 14. 24. 3(除表3硬度外)、7.37.4为强制性的,其余为推荐性的。

GB 18173《高分子防水材料》分为以下四部分:

——第1部分:片材;

——第2部分:止水带;

——第3部分:遇水膨胀橡胶;

——第4部分:盾构法隧道管片用橡胶密封垫。

本部分为第4部分。

本部分附录A、附录B为资料性附录。

本部分由中国石油和化学工业协会提出。

本部分由全国橡胶与橡胶制品标准化技术委员会橡胶杂品分技术委员会(SAC/TC 35/SC7)归口。

本部分起草单位:西北橡胶塑料研究设计院、江阴海达橡塑股份有限公司、上海隧桥特种橡胶厂、 江苏省产品质量监督检验研究院、上海紫江橡胶制品有限公司、上海彭浦橡胶制品总厂、上海长宁橡胶 制品厂、衡水宝力工程橡胶有限公司、常州华安建材有限公司、衡水市橡胶总厂有限公司、衡水骏达橡塑 有限公司、浙江秦山橡胶工程股份有限公司、上海市隧道工程轨道交通设计研究院。

本部分主要起草人:杨红都、贡健、劳复兴、徐文君、姚玉堂、夏红芳、崔云、李靖、姚美华、赵东来、 张英杰、袁关生、陆明。


GB 18173∙4-2010


1范围


高分子防水材料

4部分:盾构法隧道管片用橡胶密封垫


GB 18173的本部分规定了盾构法隧道管片用橡胶密封垫(以下简称橡胶密封垫)的分类、要求、试 验方法、检验规则以及标志、包装、运输与贮存等。

本部分适用于以橡胶为主体材料,盾构法隧道拼装式管片防水用橡胶密封垫。主要用于地铁、公 路、铁路、给排水、电力工程等盾构法隧道接缝的防水。

2规范性引用文件

下列文件中的条款通过GB 18173的本部分的引用而成为本部分的条款。凡是注日期的引用文 件,其随后所有的修改单(不包括勘误的内容)或修订版均不适用于本部分,然而,鼓励根据本部分达成 协议的各方研究是否可使用这些文件的最新版本。凡是不注日期的引用文件,其最新版本适用于本 部分。

GB/T 528-1998硫化橡胶或热塑性橡胶拉伸应力应变性能的测定(eqv ISO 3711994)

GB/T 531. 1-2008硫化橡胶或热塑性橡胶 压入硬度试验方法 第1部分:邵氏硬度计法(邵 尔硬度)(1So 7619-1:2004,IDT)

GB/T 2423. 16—2008 电工电子产品环境试验 第2部分:试验方法 试验J及导则:长霉 (IEC 60068-2-10:2005 JDT)

GB/T 3512-2001硫化橡胶或热塑性橡胶 热空气加速老化和耐热试验(eqv ISO 188:1998)

GB/T 3672. 1—2002 橡胶制品的公差 第1部分:尺寸公差(idt ISO 3302-1 1996)

GB/T 7759-1996硫化橡胶、热塑性橡胶 常温、高温和低温下压缩永久变形测定(eqv ISO 815 1991)

GB/T 18173.3高分子防水材料第3部分遇水膨胀橡胶

3分类

橡胶密封垫按功能分为三类:

a)弹性橡胶密封垫[包括氯丁橡胶(CR)密封垫、三元乙丙橡胶(EPDM)密封垫1

b)遇水膨胀橡胶密封垫;

C)弹性橡胶与遇水膨胀橡胶复合密封垫。


4要求


4.1橡胶密封垫的结构型式、规格尺寸及公差应符合经规定程序批准的图样及技术文件要求。无公差 要求时,其允许偏差应符合GB/T 3672.1-2002E2级的要求。

4.2外观质量

橡胶密封垫的外观质量应符合表1的规定。


GB 18173.4—2010


1外观质■


缺陷名称

质量要求

工作面η部分

非工作面部分

气泡

直径在0. 50 mmL 00 mm的气泡,每米不允 许超过3

直径在1. 00 mm2∙ 00 mm的气泡,每米不允 许超过4

杂质

面积在2 mrη2~4 mm2的杂质,每米不允许超 过3

面积为4 mrη2~8 mm2的杂质,每米不允许超 过3

接头缺陷

不允许有裂口及"海绵"现象。高度在1. 00 mm L 50 mm的凸起每米不超过2

不允许有裂口及"海绵"现象。高度在1.00 mm

L 50 mm的凸起每米不超过4

凹痕

深度不超过0. 50 mm、面积3 mm2 ~8 mm2的 凹痕,每米不超过2

深度不超过1. 00 mm、面积5 mm2^10 mm2的 凹痕,每米不超过4

中孔偏心

中心孔周边对称部位厚度差不应超过1 mm


a工作面指管片拼装后密封垫与密封垫之间的接触面及密封垫上与密封垫沟槽的接触面。


4.3物理性能

4.3. 1弹性橡胶密封垫成品的物理性能应符合表2规定。若成品截面构造不具备切片制样的条件,用 硫化胶料标准试样测试。


2弹性橡胶密封垫成品物理性能


项    目

指   标

氯丁橡胶

三元乙丙橡胶

硬度(邵尔A)/

50 60

1型"

口型b

50 60

60 70

硬度偏差/度

5

5

5

拉伸强度/MPa                       ≥

10.5

9.5

10

拉断伸长率/%                     ≥

350

350

330

压缩永久变形/%

70 CX24/h,25%       ≤

30

25

25

23 CX72—2 h,25%       ≤

20

20

15

热空气老化

70 t X96 h

硬度变化/度        ≤

8

6

6

拉伸强度降低率/%     ≤

20

15

15

拉断伸长率降低率/%   ≤

30

30

30

防霉等级

不低于二级

不低于二级

不低于二级

a I型为无孔密封垫。 b II型为有孔密封垫。


4.3.2遇水膨胀橡胶密封垫胶料的物理性能应符合表3的规定。成品切片测试时,拉伸强度、拉断伸 长率、反复浸水试验中的拉伸强度、拉断伸长率性能指标应达到表3规定指标的80%


*3遇水膨胀橡胶密封垫胶料物理性能


技术指标

硬度(邵尔A)/

42±10

45±10

拉伸强度/MPa

3.5

3


2


GB 18173.4—2010


3 (续)


_______________项    目_______________

技术指标       -

拉断伸长率/%                    >

450

350

体积膨胀倍率/%                   》

250

400

反复浸水试验

拉伸强度/MPa        ≥

3

2

拉断伸长率/%       )

350

250

体积膨胀倍率/%     F

250

300

低温弯折(一20(X2 h)

无裂纹

无裂纹


4.3.3复合密封垫弹性橡胶物理性能指标应符合表2的规定,遇水膨胀橡胶物理性能指标应符合表3 的规定。


5试验方法

5. 1规格尺寸用游标卡尺(精度为0.02 mm)和钢卷尺(精度为1 mm)测量。

5.2外观质量检验用目测和游标卡尺(精度为0.02 mm)进行。

5.3硬度测定按GB/T 53L 1-2008的规定进行。

5.4拉伸强度、拉断伸长率测定按GB/T 528-1998的规定进行,采用II型哑铃状试样。

5. 5压缩永久变形的测定按GB/T 7759-1996的规定进行,成品测试和半成品胶料测试均采用B型 试样。

5.6 热空气老化试验按GB/T 3512-2001规定的方法进行。

5.7防霉试验按GB/T 2423.16-2008规定的方法进行。

5.8反复浸水试验按GB/T 18173. 3规定的方法进行。

5.9低温弯折试验按GB/T 18173. 3规定的方法进行。

5.10体积膨胀倍率试验按GB/T 18173. 3附录A规定的方法进行。

5.11耐水压模拟试验方法见附录A

5.12压缩应力模拟试验方法见附录B

6检验规则

6.1组批与抽样

成品性能检验以同品种、同规格的300环橡胶密封垫为一批,从每批中随机抽取3环进行规格尺 寸、外观质量的检验,从检验合格的样品中再任意抽取一框进行物理性能的检验。

半成品胶料性能检验:弹性橡胶密封垫胶料以6 000 kg为一批,遇水膨胀橡胶胶料以2 000 kg为 -批。每批抽取足够样品进行物理性能检验。

6.2检验分类

6.2. 1出厂检验

检验项目:

a)弹性橡胶密封垫:规格尺寸、外观质量、硬度、拉伸强度、拉断伸长率、压缩永久变形;

b)遇水膨胀橡胶密封垫:规格尺寸、外观质量;

C)复合密封垫弹性橡胶部分按a),遇水膨胀橡胶部分按b)

6.2.2型式检验

本部分所列全部技术要求为型式检验项目。通常在下列情况之一时应进行型式检验:

a)新产品或老产品转产生产的试制定型鉴定:


GB 18173.4—2010

b)正式生产后,如结构、材料、工艺有较大改变,可能影响产品性能时;

c)正常生产时.定期或积累一定产量后,每年进行一次检验;

d)产品停产超过6个月后,恢复生产时;

e)出厂检验结果与上次型式检验有较大差异时;

f)合同规定;

g)仲裁检验或国家质量监督机构提出进行型式检验要求时。

6.2. 3正常生产情况下,弹性橡胶密封垫成品热空气老化试验每季度检验一次,防霉等级每年检验一 次;弹性橡胶密封垫胶料的硬度、拉伸强度、拉断伸长率、压缩永久变形的性能按批检验,热空气老化每 季度检验一次;遇水膨胀橡胶密封垫胶料的硬度、拉伸强度、拉断伸长率、体积膨胀倍率按批进行检验, 反复浸水试验每季度检验一次、低温弯折试验每年检验一次。

6.3判定规则

6. 3. 1规格尺寸、外观质量应全部符合要求,如有一项不符合要求,应对未抽取产品进行100%检验。

6.3.22、表3所列各项性能应全部符合技术要求。如有不合格项,应另取双倍试样进行不合格项 目复试,复试结果仍不合格,则该批产品为不合格品或该批胶料不合格。对于非批检项目,复试结果出 现不合格时,应改为按批检验。

7标志、包装、运输与贮存

7.1在包装箱或外包装上应有下列标志:

a)产品名称:

b)制造单位及地址:

c)产品标准号;

d)产品规格、数量;

e)商标:

f)制造日期:

g)注意事项。

7.2产品盘卷捆扎,盘卷应整齐、牢固.用编织袋或纸箱包装,遇水膨胀橡胶应内衬塑料袋封口包装。 包装内附产品合格证,合格证内容包括:规格、生产日期、标准号、检验合格印章。如有特殊包装要求,由 供需双方协商确定。

7.3产品在运输过程中,应避免重物挤压和过高堆叠;避免阳光直射、雨雪浸淋;不应与有可能对产品 造成腐蚀的酸、碱、油及有机溶剂以及尖利物器接触。

7.4产品应贮存在无阳光直射,温度一15 'C+ 35 (,相对湿度不大于95%的通风良好的仓库内。 不允许堆叠过高或重压。

7.5在符合本部分7. 37.4规定的条件下,自生产之日起一年内,各项性能应符合本部分的规定。


4


GB 18173.4—2010


附录A (资料性附录) 耐水压模拟试验方法

A. 1范围

本方法适用于盾构法隧道管片防水用橡胶密封垫的耐水压性能模拟试验,仅供验证设计的产品断 面结构是否满足防水性能的要求。

本方法按盾构法隧道管片设计的沟槽尺寸制作试验模拟装置,按设计的橡胶密封垫的断面结构和 试验模拟装置尺寸制备试样,密封垫试样的性能应符合本部分要求。

A.2原理

利用模拟管片“T"形、"一”形拼装接缝的耐水压试验装置,测定密封垫在设计错位量和张开量时能 承受的水压值。

A.3试验装置

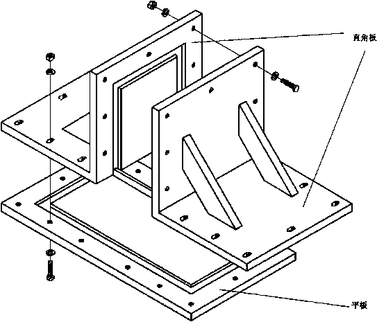
A. 3.1 "T”形模拟耐水压试验装置,由一块平板和两块直角板组成。试验模具的结构和形状如图AJ 所示("一”形模拟耐水压试验装置参考制作),应保证在最大6 MPa水压时试验装置不发生变形。



a)装配前示意图

A.1 "T"型模拟耐水压试验装置


GB 18173.4—2010



A. 1 (续)


A. 3.2试验装置的沟槽尺寸应与设计的隧道管片密封垫沟槽尺寸一致,试样的长边内框尺寸不应小 于400 mm,短边内框尺寸不应小于200 mmo

A 3. 3试验装置的模拟接缝张开量可用不同厚度的垫片调节.模拟错位量可用条形螺栓孔调节。

A. 3.4试验装置应安放稳定和方便操作。

A. 3.5试验装置应配备一台6 MPa以上的水压泵。

A. 3. 6试验装置上配备的压力测量精度不低于0.1 MPao


A.4试样制备

A.4.1试样的断面形状尺寸应与设计的断面形状尺寸一致。

A.4.2试样的框形尺寸应与试验装置匹配。

A.5试验条件

除另有规定外,试样应在(23±2)C下停放不少于16 h,最长不超过3个月,试验应在(23±2)C下 进行。


A.6试验步骤

A. 6.1清除试验装置沟槽内的水、油及其他杂物,保持干燥清洁。

A.6.2将试样按照设计要求粘贴在沟槽内,停放24 h后,先拼装两块直角板,再拼装平板。先从直角 板竖缝开始,将螺栓均匀拧紧,使“T”形缝的张开量和错位量达到设定值。

A.6.3打开排气阀门,加压至有水排出后关闭阀门。以每次SlMPa的增量从0升压至设计要求的 水压值,每次升压时,待压力稳定后保压不小于30 min.升压至设计要求的水压值后至少保持24 ho 试验过程中因为螺栓长时间处于应变状态所产生的变形及密封垫产生的变形,允许试验压力有轻微下 降。在达到设计水压值后的保压过程中,应注意压力变化,并通过适当的补压来保证压力的稳定。

A.6.4遇水膨胀橡胶的试样,在升压过程中如出现渗漏水,应停止升压,待试样膨胀至不渗漏水后继 续试验。

A. 6.5每次测试完毕后,应卸掉压力,松弛装置调换垫片或调整错位量,用同样方法进行下一组试验。

A.7试验记录

试验记录可用表格形式列出,如表A. 1


6


GB 18173.4—2010


A. 1试验记录表


实验室温度:


时间(年/月/日/时/分)

张开量/mm

错位量/mm

水压/MPa


A.8试验报告


试验报告应包括下列内容:

a)试验样品的说明;

b)试验装置沟槽的尺寸,最大张开量、最大错位量;

c)试验温度;

d)试样制备日期;

e)试验日期;

f)试验结果。


7


GB 18173.4—2010


附录B

(资料性附录) 压缩应力模拟试验方法


B. 1范围


本方法适用于盾构法隧道管片防水用橡胶密封垫压缩应力性能的模拟试验,仅供验证设计的产品 断面结构是否满足施工的要求。

本方法按盾构法隧道管片设计的沟槽尺寸制作试验模拟装置,按设计的橡胶密封垫断面结构和试 验模拟装置尺寸制备试样,密封垫试样的性能应符合本部分要求。


B.2原理


本方法是利用预先制备的带有沟槽的夹具模拟橡胶密封垫实际装配时的管片沟槽,测定管片拼装 接缝完全闭合时的压缩应力。


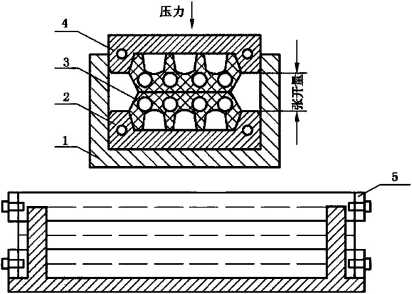
B.3装置


B. 3. 1压缩应力试验装置如图B. 1



1--导向套;

2—沟槽下模块;

3——橡胶密封垫;

4--沟槽上模块;

5-端面封板。

B. 1压缩应力模拟试疆装置示意图

B. 3.2试验装置沟槽尺寸应与管片的设计沟槽尺寸一致,沟槽长度为200 mm。导向套与沟槽上模板 的配合面应尽量光滑,试验时涂润滑剂。

B. 3.3测试压缩应力的试验机或装有应力传感器的加压装置。

B. 3. 4压缩量测量器具的精度不低于0. 02 mm,压缩应力测量器具的精度不低于0. 01 kN


B. 4试样制备


B. 4. 1试样的断面形状尺寸应与设计的断面形状尺寸一致。

B. 4.2 试样的长度为200 mm,长度公差为一1 mm0


8


GB 18173.4—2010


B.5试验条件

除另有规定外,试样应在标准温度(232)℃下停放不少于16 h,最长不超过3个月,试验应在标准 温度(23±2)(下进行。

B. 6试验步骤

B. 6. 1先把试样放在试验装置的沟槽内,上下合起来放入导向套内(如试验机平板能固定上下模板, 就不需要导向套,可直接上下对准固定后试压)。

B. 6.250 mm/min速度压缩试样,直至压缩间隙接近0 mm,再以相同速度放松试样,如此反复压 缩和放松试样重复二次。

B.6. 3第三次为正式试验,应绘出应力应变曲线,示例如图B. 2


6050



Ooo 4 3 2 (WIΦP、§




o O                 5                 10                15

压缩量/ mm


B.2应力应变曲线示例图


B.7试验报告

试验报告应有下列内容:

a)试验样品的说明;

b)试验装置的沟槽断面尺寸;

c)试验温度;

d)试样制备日期;

e)试验日期;

f)试验结果。


9



4-2010


OLoZl寸 ^s^. HO



中 华人民 共和国

国家标准

高分子防水材料

4部分:盾构法隧道管片用橡胶密封垫

GB 18173. 4—2010

*

中国标准出版社出版发行

北京复兴门外三里河北街16

邮政编码J00045

网址 WWW. spc. net. cn

电话:68523946 68517548

中国标准出版社秦皇岛印刷厂印刷

各地新华书店经销


开本880X1230 1/16 印张1 字数18千字 20109月第一版20109月第一次印刷

*

书号:155066 • 1-40269

如有印装差错由本社发行中心调换 版权专有侵权必究 举报电话:(010)68533533