犐犆犛23 .040
犑74
中华人民共和国国家标准
犌犅/犜20801 .4—2020
代替 GB/T 20801.4—2006
压力管道规范工业管道 第4部分:制作与安装
犘狉犲狊狊狌狉犲狆犻狆犻狀犵犮狅犱犲—犐狀犱狌狊狋狉犻犪犾狆犻狆犻狀犵—犘犪狉狋4:犉犪犫狉犻犮犪狋犻狅狀犪狀犱犪狊狊犲犿犫犾狔
2020-1 1-19 发布
2021-06-01 实施
国家市场监督管理总局 国家标准化管理委员会
犌犅/犜20801 .4—2020
目 次
前言........................................................................................................................W
1 范围 ………………………………………………………………………………………………………1
2 规范性引用文件 …………………………………………………………………………………………1
3 术语和定义 ………………………………………………………………………………………………1
4 一般规定 …………………………………………………………………………………………………3
5 管道元件及材料的检查与验收 …………………………………………………………………………4 6 管道制作 …………………………………………………………………………………………………5 7 焊接………………………………………………………………………………………………………10
8 预热………………………………………………………………………………………………………18 9 热处理……………………………………………………………………………………………………20 10 装配和安装 ……………………………………………………………………………………………26
11 不锈钢和有色金属管道 ………………………………………………………………………………31
12 管道清理、吹扫和清洗…………………………………………………………………………………32 附录A(资料性附录) 管道封闭口装配错口偏差评估方法……………………………………………34 附录B(资料性附录) 法兰接头螺栓拧紧方法和安装目标载荷………………………………………39
τ
犌犅/犜20801 .4—2020
前 言
GB/T20801《压力管道规范 工业管道》分为以下6个部分:
———第1部分:总则;
———第2部分:材料;
———第3部分:设计和计算;
———第4部分:制作与安装;
———第5部分:检验与试验;
———第6部分:安全防护。
本部分为GB/T20801的第4部分。
本部分按照GB/T1.1—2009给出的规则起草。
本部分代替GB/T 20801.4—2006《压力管道规范 工业管道 第4部分:制作与安装》,与
GB/T20801.4—2006相比,除编辑性修改外主要技术变化如下:
———修改了管道元件及材料的检查与验收要求(见第5章,2006年版的第5章);
———修改了板焊管的制作要求(见6.4,2006年版的6.4);
———修改了焊接工艺评定要求,补充了焊接材料的相关要求(见7.1、7.2,2006年版的7.1、7.2);
———增加了合金钢和有色金属管道焊接方法和施焊程序规定(见7.5.2);
———增加了管道单面底层焊的气体保护要求(见7.5.8);
———修改了承插焊接头的最小焊缝尺寸(见图9,2006年版的图9);
———增加了支管座与主管的焊接接头形式和要求[见图10g)、7.8.7];
———修改了材料的预热及道间温度要求(见第8章,2006年版的第8章);
———修改了焊后热处理要求(见9.3,2006年版的9.2);
———增加了管道预制(装配)相关要求(见第10章);
———增加了“管道封闭口装配错口偏差评估方法”(见附录A);
———增加了“法兰接头螺栓拧紧方法和安装目标荷载”(见附录B)。
本部分由全国锅炉压力容器标准化技术委员会(SAC/TC262)提出并归口。
本部分起草单位:中国化学工程第三建设有限公司、国家市场监督管理总局特种设备安全监察局、 全国化工设备设计技术中心站、杜拉巴尔流体装置(苏州)有限公司。
本部分主要起草人:夏节文、程国华、徐锋、黄正林、蔡暖姝、张胜清、应道宴。
本部分所代替标准的历次版本发布情况为:
———GB/T20801.4—2006。
in
1 范围
犌犅/犜20801 .4—2020
压力管道规范 工业管道 第4部分:制作与安装
GB/T20801的本部分规定了压力管道制作与安装的基本要求。这些基本要求包括制作、焊接、预 热、热处理、装配和安装以及管道清理等方面的规定。
本部分适用于GB/T20801.1范围界定的压力管道元件的制作与安装。
2 规范性引用文件
下列文件对于本文件的应用是必不可少的。凡是注日期的引用文件,仅注日期的版本适用于本文
件。凡是不注日期的引用文件,其最新版本(包括所有的修改单)适用于本文件。
GB/T985.1 气焊、焊条电弧焊、气体保护焊和高能束焊的推荐坡口
GB/T985.2
GB/T985.3
GB/T985.4
GB/T13927
埋弧焊的推荐坡口
铝及铝合金气体保护焊的推荐坡口
复合钢的推荐坡口
工业阀门 压力试验
GB/T20801.1—2020
GB/T20801.2—2020
GB/T20801.3—2020
GB/T20801.5—2020
GB/T20801.6—2020
压力管道规范 工业管道 压力管道规范 工业管道 压力管道规范 工业管道 压力管道规范 工业管道 压力管道规范 工业管道
第1部分:总则
第2部分:材料
第3部分:设计和计算 第5部分:检验与试验 第6部分:安全防护
GB50236 现场设备、工业管道焊接工程施工规范
NB/T47014 承压设备焊接工艺评定
TSGZF001 安全阀安全技术监察规程
TSGZ6002 特种设备焊接操作人员考核细则
3 术语和定义
GB/T20801.1—2020、GB/T 20801.2—2020、GB/T 20801.3—2020、GB/T 20801.5—2020和 GB/T20801.6—2020界定的以及下列术语和定义适用于本文件。
3.1
制造 犿犪狀狌犳犪犮狋狌狉犲
管子、管道组成件或管道支承件等产品的生产过程。
3.2
制作 犳犪犫狉犻犮犪狋犻狅狀
管道安装前的准备工作。
注:包括切割、加工螺纹、开坡口、成型、弯曲、焊接和将组件装配成部件,可在车间或现场进行。
1
犌犅/犜20801.4—2020
3 .3
装配 犪狊狊犲犿犫犾狔
按照设计文件的规定,用螺栓、焊接、粘结、螺纹、硬钎焊、软钎焊或使用密封元件将两个或两个以上 管道组成件连接在一起(包括管道预制)的过程。
3 .4
安装 犲狉犲犮狋犻狅狀
根据设计文件的规定,将一个管道系统完整地固定在指定位置和支架上的过程。
注:包括按规范要求对该系统所做的所有现场制作、装配、检查和试验等工作。
3 .5
轴测图 犻狊狅犿犲狋狉犻犮犱犻犪犵狉犪犿
按照轴测投影的绘制方法将每条管道画成以单线表示的管道空视图。
3 .6
热弯 犺狅狋犫犲狀犱犻狀犵
在温度高于金属临界点AC1时制作弯管的工艺。
3 .7
冷弯 犮狅犾犱犫犲狀犱犻狀犵
在温度低于金属临界点AC1时制作弯管的工艺。
3 .8
自由管段 pipe-segments to be prefabricated
在管道制作加工前,按照轴测图选择确定的、可以先行加工的管段。
3 .9
封闭管段 pipe-segments for dimension adjustment
在管道制作加工前,按照轴测图选择确定的、经实测安装尺寸后再行加工的管段。
3 .10
定位焊缝 狋犪犮犽狑犲犾犱
在完成最终焊缝以前,用以保持焊接件定位的焊缝。
3 .11
焊件 狑犲犾犱犿犲狀狋
以焊接方法将构件各部件焊接成的组件。
注:焊件包括母材和焊接接头两部分。
3 .12
焊接工艺评定 狑犲犾犱犻狀犵狆狉狅犮犲犱狌狉犲狇狌犪犾犻犳犻犮犪狋犻狅狀
为验证所拟定的焊件焊接工艺的正确性,按照预焊接工艺规程的规定,制备试件和试样,并进行试 验及结果评价的过程。
3 .13
焊接工艺评定报告 狑犲犾犱犻狀犵狆狉狅犮犲犱狌狉犲狇狌犪犾犻犳犻犮犪狋犻狅狀狉犲狆狅狉狋
记录焊接工艺评定过程中有关试验数据及结果的文件。
3 .14
焊接工艺规程 狑犲犾犱犻狀犵狆狉狅犮犲犱狌狉犲狊狆犲犮犻犳犻犮犪狋犻狅狀
根据焊接工艺评定报告,并结合实践经验而制定的直接指导焊接生产的技术细则文件。
注:包括对焊接头、母材、焊接材料、焊接位置、预热、电特性、操作技术等内容进行详细的规定,以保证焊接质量的 再现性。
2
犌犅/犜20801 .4—2020
3.15
焊接技能评定 狑犲犾犱犻狀犵狆犲狉犳狅狉犿犪狀犮犲狇狌犪犾犻犳犻犮犪狋犻狅狀
对焊接作业人员的操作技能进行评估考核的过程。
3.16
预热 狆狉犲犺犲犪狋犻狀犵
在成型、焊接或切割过程之前或之间对母材进行加热的过程。
3.17
道间温度 犻狀狋犲狉狆犪狊狊狋犲犿狆犲狉犪狋狌狉犲
多道焊缝及相邻母材在施焊下一焊道之前的瞬时温度。
3.18
焊后热处理 狆狅狊狋狑犲犾犱犺犲犪狋狋狉犲犪狋犿犲狀狋
能改变焊接接头的组织和性能或焊接残余应力的热过程。
3.19
管道元件 狆犻狆犲狑狅狉犽犮狅犿狆狅狀犲狀狋狊
连接或装配成管道系统的各种零部件的总称,包括管道组成件和管道支承件。
3.20
最终封闭口 犳犻狀犪犾犮犾狅狊狌狉犲狆狅犻狀狋
在管道系统中两个固定位置之间进行装配的最后一个连接口。
注:管道最终封闭口的连接方式可为焊接(对接接头、承插焊接头)或法兰连接。
3.21
最终封闭口错口偏差 犿犻狊犪犾犻犵狀犿犲狀狋犪狋狋犺犲犳犻狀犪犾犮犾狅狊狌狉犲狆狅犻狀狋
管道最终封闭口在不受外力状态下装配时的偏差,可分解为横向(犡、犢轴)和轴向(犣轴)三个方向 的错口偏差值。横向(犡、犢轴)偏差值表示两个被连接管段的端面中心线的偏离程度;轴向(犣轴)偏差 值表示两个被连接管段端部平行截面之间的间隙量。
3.22
装配管道长度 犾犲狀犵狋犺狅犳犪狊狊犲犿犫犾狔狆犻狆犲
某方向(犡、犢或犣轴)上的装配管段长度,即管道系统中从封闭点向两端延伸到最近的两个固定位 置之间的其他两个方向(横向或轴向)上的管段累积长度之和。
4 一般规定
4.1 管道的制造、制作和安装单位应具有符合压力管道安全监察有关法规要求的行政许可证。管道制 作和安装单位应建立相应的质量保证体系,并符合下列规定:
a) 具有健全的质量管理制度以及制作、安装工艺文件,工艺文件(如施工组织设计、施工方案等) 应经业主(或其委托方)批准后方可用于管道制作或安装工作;
b) 参加管道制作或安装的人员应具备相应的能力并履行各自的职责;
c) 使用的计量器具应检定合格并在有效期内。
4.2 管道的制作和安装应按设计文件及本部分的规定进行。当需要修改设计文件及工程材料代用时, 应经原设计单位同意,并出具书面文件。
4.3 管道的制作和安装单位宜采用管道焊接信息化管理系统,及时输入并保存管道元件、焊接、热处 理、检查与试验等相关数据。
4.4 管道的制作和安装单位应建立并妥善保存必要的施工记录及证明文件。管道安装工程竣工后,制 作和安装单位应向业主至少提交以下技术文件和资料:
3
犌犅/犜20801.4—2020
a) 管道安装竣工图(含管道轴测图、设计修改文件和材料代用单)。设计修改和材料代用等变更 内容应在竣工图上直接标注。管道轴测图应至少包括管道组成件的材质、规格和炉批号、管段 的实际尺寸、焊缝位置、焊缝编号、焊工代号、无损检测方法、局部或抽样无损检测焊缝的位置、 焊缝补焊位置、热处理焊缝位置等。
b) 管道组成件、支承件和焊接材料的产品合格证、质量证明书或复验、试验报告。
c) 管道制作、安装检查记录和检验、试验报告。管道制作、安装检查记录应包含管道焊接检查记 录、焊缝返修检查记录、管道隐蔽记录、管道热处理曲线记录及报告等内容。
d) 管道安装质量证明书。如果现场制作管道组成件或管道支承件,还应提交管道组成件和管道 支承件的质量证明书。
5 管道元件及材料的检查与验收
5 .1 材料标记和质量证明文件的验收
管道元件及材料的标记和质量证明文件除应按设计文件以及GB/T20801.2—2020中9.1和9.2 的规定进行验收外,还应满足以下要求:
a) 供货方(制造商)应按设计文件和供货合同的规定提供各项性能数据或检验结果,且应符合设 计文件和产品标准的规定;
b) 质量证明文件提供的性能数据或检验结果如不符合产品标准和设计文件的规定,或者接受方 对其性能数据或检验结果有异议时,应进行必要的验证性试验或补充试验;
c) 管道元件及材料的标记应清晰完整,并能够追溯到产品质量证明文件。
5 .2 外观检查
管道元件及材料应按设计文件和产品标准的规定核对其材质、规格、型号和数量,并逐个进行外观 质量和几何尺寸的检查验收,其结果应符合设计文件和相应产品标准的规定。
5 .3 材质检查
对于铬钼合金钢、含镍低温钢、不锈钢以及镍及镍合金、钛及钛合金材料的管道组成件,在使用前应 采用光谱分析(PMI)或其他方法对主要合金元素含量进行检查,其数量应满足以下要求:
a) 对于GC1级管道,检查数量应按每个检验批的10%且不少于1个管道组成件进行抽查;
b) 其他管道为每个检验批抽查5%,且不少于1个管道组成件。
注:每个检验批表示同炉批号、同型号规格、同时到货的一批管道元件或材料。
5 .4 阀门压力试验
5 .4 .1 阀门应进行压力试验,其数量应满足以下要求:
a) 用于GC1级管道的阀门,应逐个进行壳体压力试验和密封试验;
b) 用于GC2级管道的阀门,应按每个检验批抽查10%进行壳体压力试验和密封试验,且不得少 于1个;
c) 用于GC3级管道的阀门,应按每个检验批抽查5%进行壳体压力试验和密封试验,且不得少于 1个;
d) 经设计者或业主同意,到制造厂逐件见证压力试验并有见证试验记录的阀门,可免除压力 试验。
5 .4 .2 阀门的压力试验方法、程序与试验结果应符合设计文件和供货合同的规定。当无规定时,应符 合GB/T13927的规定。
4
犌犅/犜20801 .4—2020
5.4.3 经设计者或业主同意,对于公称压力小于或等于PN100且公称直径大于或等于DN600的闸阀, 可随管道系统进行压力试验,密封试验可采用色印方法。
5.4.4 安全阀的校验应按TSGZF001和设计文件的规定进行。
5.4.5 带夹套的阀门进行夹套压力试验时,其试验压力应为1.5倍的夹套设计压力。
5.5 其他检查
当设计文件对管道元件和材料提出其他检查与验收要求(如无损检测、硬度检查等)时,应予以满 足。检查方法、数量及检查结果应符合设计文件和相关标准的规定。
5.6 不合格品的处置
5.6.1 管道元件及材料进行抽样检查、检测或试验时,若有1件不合格,则该抽样检查、检测或试验所 代表的这一检验批应视为不合格,该批管道元件及材料不得使用,或对该批管道元件及材料逐个进行检 查、检测或试验,其中的合格者仍可使用。
5.6.2 管道元件及材料进行抽样检查、检测或试验时,应做好记录和材料识别标记,并对不合格品进行 隔离处理。
5.7 材料保管
管道元件及材料在制作、安装过程中应妥善保管,不得混淆或损坏。不锈钢和有色金属的管道元件 及材料在储存期间不得与碳钢、低合金钢接触。暂不安装的管子、阀门和管件,应封闭管口。
6 管道制作
6.1 切割与坡口加工
6.1.1 管道元件及材料的切割加工可采用冷切割或热切割方法。如采用热切割方法,切割后应采用机 械加工或打磨方法清除表面熔渣和影响管道焊接质量的表面层。
6.1.2 碳钢、碳锰钢可采用机械加工方法或火焰切割方法切割和制备坡口。低温镍钢和合金钢宜采用 机械加工方法切割和制备坡口。
6.1.3 不锈钢、有色金属应采用机械加工或等离子切割方法切割和制备坡口。不锈钢、镍及镍合金、钛 及钛合金、锆及锆合金采用砂轮切割或修磨时,应使用专用砂轮片。
6.1.4 管道元件及材料在加工制作、安装过程中应避免材料表面的机械损伤。对有严重伤痕的部位应 进行补焊或修磨,修磨处的壁厚应不小于设计壁厚。
6.2 标记移植
6.2.1 管道组成件在制作过程中,应核对并尽量保存材料的原始标记。当无法保存原始标记时,应采 用移植方法重新进行材料标识,材料标识也可采用管道组成件的工程统一编码或色标。
6.2.2 标记方法的采用应以对材料不构成损害或污染为原则,低温用钢、不锈钢及有色金属不得使用 硬印标记。当奥氏体不锈钢和有色金属材料采用色码标记时,印色不应含有对材料构成损害的物质,如
硫、铅和氯等。
6.2.3 如采用硬印或雕刻之外的其他标记方法,制作者应保证不同材料之间不会产生混淆,如采用分 别处理(时间、地点)或区分色带等方法。
6.3 弯管
6.3.1 制作弯管时,应根据管子材料性能、输送流体工况和管子弯曲半径,采用适当的弯曲工艺和
5
犌犅/犜20801 .4—2020
装备。
6 .3 .2 制作弯管可采用热弯和冷弯两种方法。
6 .3 .3 当采用焊管制作弯管时,焊缝应避开受拉(压)区。
6 .3 .4 弯管的不圆度、褶皱和减薄应满足以下要求:
a) 不圆度应满足以下要求:
1) 弯管的不圆度狌(%)应按式(1)计算:
狌
2(犇max -犇min)
犇max
+犇min
×100
(1)
6
b)
式中:
狌 ———弯管的不圆度;
犇max———同一截面的最大实测外径,单位为毫米(mm); 犇min ———同一截面的最小实测外径,单位为毫米(mm)。
2) 对于承受内压的弯管,其不圆度应不大于8%;对于承受外压的弯管,其不圆度应不大 于3%。
弯管内侧褶皱高度犺m应不大于管子外径犇1的3%,且波浪间距犪应不小于12犺m。其中,犺m
为相邻两个褶皱的平均高度,并按图1和式(2)计算:
犺
m
犇2 +犇4 2
-犇
3
(2)
式中:
犺m———褶皱高度,单位为毫米(mm);
犇2 ———褶皱凸出处外径,单位为毫米(mm);
犇3 ———褶皱凹进处外径,单位为毫米(mm);
犇4 ———相邻褶皱凸出处外径,单位为毫米(mm)。
图1 弯管的褶皱和波浪间距
c) 弯管制作前的管子壁厚宜符合表1的规定。弯管制作后的最小厚度不得小于直管的设计 厚度。
表1 弯管制作前的管子壁厚
犌犅/犜20801 .4—2020
单位为毫米
|
弯曲半径犚 |
弯管制作前壁厚 |
|
犚≥6犇 |
1 .06狋d |
|
5犇≤犚<6犇 |
1 .08狋d |
|
4犇≤犚<5犇 |
1.14狋d |
|
3犇≤犚<4犇 |
1.25狋d |
|
注:犇为管子外径,狋d为直管的设计厚度。 | |
6.3.5 GC1级管道的弯管弯制后,应逐件对弯曲部位进行磁粉检测或渗透检测,且应符合 GB/T20801.5—2020的规定。发现的线性缺陷应予以修磨,修磨后的壁厚不得小于直管的设计厚度。
6 .4 板焊管
6 .4 .1 板焊管的制作应符合设计文件和产品标准的规定。
6.4.2 制作和安装公称直径不小于400 mm的板焊管时,应符合以下规定:
a) 单个筒节的长度应不小于300mm,相邻筒节纵缝应错开100mm以上。支管外壁距焊缝不宜 小于50 mm。
b) 同一筒节上的纵向焊缝应不大于两条,纵缝间距应不小于200 mm。
c) 对于有加固环的板焊管,加固环的对接焊缝应与管子纵向焊缝错开,其间距应不小于100mm, 加固环距管子的环焊缝应不小于50mm。
d) 板焊管的周长及管端直径应符合表2的规定。
表2 板焊管的周长允差及直径允差 单位为毫米
|
公称直径 |
≤800 |
>800 ~1200 |
>1200 ~1600 |
>1600~2400 |
>2400 ~3000 |
>3000 |
|
周长允差 |
±5 |
±7 |
±9 |
±11 |
±13 |
±15 |
|
直径允差 |
4 |
4 |
6 |
8 |
9 |
10 |
注:直径允差为管端(100 mm以内)最大外径与最小外径之差。
e) 纵向焊缝处的棱角度[图2a)](用弦长等于1/6犇i且不小于300 mm的样板分别在管内壁和 外壁测量)和环向焊缝处的棱角度[图2b)](在管内壁和外壁用直尺检查),其犈值应不大于壁 厚的10%加2 mm,且不大于5 mm。
犪) 纵向焊缝 犫) 环向焊缝
图2 纵向与环向焊缝处的棱角度检查
7
犌犅/犜20801.4—2020
f) 对接焊缝的错边量应符合表3及下列规定:
1) 只能从单面焊接的纵向和环向焊缝,其内壁错边量不应大于壁厚的25%,且不应超过
2 mm;
2) 复合钢板组对时,应以复层表面为基准,错边量不应大于钢板复层厚度的50%,且不大于
1 mm。
表3 板焊管对接焊缝的错边量 单位为毫米
|
母材厚度犜 |
错边量 | |
|
纵向焊缝 |
环向焊缝 | |
|
犜≤12 |
≤犜/4 |
≤犜/4 |
|
12<犜≤20 |
≤3 |
≤犜/4 |
|
20<犜≤40 |
≤3 |
≤5 |
|
40<犜≤50 |
≤3 |
≤犜/8 |
|
犜>50 |
≤犜/16,且≤10 |
≤犜/8,且≤20 |
g) 板焊管的直度允差应不大于其单根长度的0.2%。
h) 板焊管的焊接、焊后热处理和检查、检验应符合本部分相应章条及GB/T20801.5—2020的相 关规定。
i) 板焊管应逐根进行压力试验,试验压力应符合GB/T20801.5—2020的相应规定。经业主或设 计者同意,可采用GB/T 20801.5—2020规定的用纵向焊缝、环向焊缝100%射线照相或 100%超声检测代替板焊管的压力试验的方法。
6 .5 斜接弯头
6.5.1 除设计另有规定外,斜接弯头的制作应符合6.5.2 ~6.5.4的规定。斜接弯头的焊接应符合第 7章的规定,斜接弯头的检查和检验还应符合GB/T20801.5—2020的相关规定。
6.5.2 可按图3所示的组成形式配制斜接弯头。对于公称直径大于400 mm的斜接弯头,可适当增加 中节数量,但其内侧的最小宽度应不小于50mm。
6.5.3 斜接弯头的焊接接头应采用全焊透形式。公称直径大于或等于600 mm的斜接弯头宜进行双 面焊。
6.5.4 公称直径大于1000 mm时,斜接弯头的周长允许偏差应为±6 mm;公称直径小于或等于 1000 mm时,斜接弯头的周长允许偏差应为±4 mm。
8
GB/T 20801.4—2020
c) 45。斜接弯头 d) 30。斜接弯头
图3 斜接弯头的组成形式
6 .6 翻边接头
6.6.1 翻边接头宜采用符合相关标准的管件制造产品。翻边接头的制作应符合GB/T20801.3—2020 中5.1.6和本部分6.6.2、6.6.3的规定。
6.6.2 焊制翻边接头的基本形式应符合图4的规定。焊接后应对翻边部位进行机械加工或整形。密 封面的表面粗糙度应符合法兰标准的规定。外侧焊缝应进行修磨,以不影响松套法兰内缘与翻边的装 配为原则。
6 .6 .3 扩口翻边后的外径及转角半径应能保证螺栓及法兰的装配。翻边端面与管子中心线应垂直,垂 直度允差应不大于1 mm。
—T
—-τ
图4 典型的焊制翻边接头
6 .7 夹套管
6 .7 .1 夹套管及其部件的结构形式与制作应符合设计文件和相关标准的规定。
6 .7 .2 夹套管制作过程中应确保内管的焊缝裸露可见,在内管检验合格前不得进行外管封闭焊接。
6 .7 .3 夹套弯管的外管组焊,应在内管制作完毕并经检验合格后进行。夹套弯管的外管和内管的同轴
度偏差不得大于3 mm。
9
犌犅/犜20801.4—2020
6 .7 .4 外管与内管间的间隙应均匀,并应按设计文件的规定安装定位板。定位板的安装应不妨碍夹套 内介质流动和内管与外管的胀缩,其材质应与内管相同。定位板的几何尺寸、安装位置、间距等应符合 设计文件和相关标准的规定。
6.7.5 夹套管的焊接、热处理、检查、检验与试验应符合本部分相应章条及GB/T20801.5—2020的相 关规定。
6 .8 支吊架
6 .8 .1 管道支吊架的形式、材质、加工尺寸及精度应符合设计文件、相关标准和产品技术文件的规定。
6 .8 .2 管道支吊架的组装尺寸与焊接方式应符合设计文件的规定。制作后应对焊缝进行目视检查,焊 接变形应予以矫正。所有螺纹连接均应按设计要求予以锁紧。
6.8.3 支吊架中要求全焊透的焊缝应进行射线检测或超声检测,且应符合GB/T20801.5—2020的相 关规定。检测数量不少于20%,且焊缝长度不小于200 mm。
6 .8 .4 制作合格的支吊架应进行防锈处理并应妥善分类保管。合金钢支吊架应有材质标记。
7 焊接
7 .1 焊接工艺评定和焊工技能评定
7 .1 .1 管道承压件与承压件的焊接,承压件与非承压件的焊接,均应采用经评定合格的焊接工艺,并由 合格焊工施焊。
7.1.2 焊接工艺评定应符合NB/T47014的规定。冲击试验要求应符合GB/T20801.2—2020中8.2 的规定。
7.1 .3 当焊接工艺评定要求使用的材料无法满足7.1.2的规定时,经设计者和业主同意,允许采用对预 焊接工艺规程进行技术评审的方式代替焊接工艺评定,但应同时符合下列条件:
a) 施焊单位已掌握该金属材料的特性(化学成分、力学性能和焊接性能);
b) 施焊单位能够提供同类别(同组别)其他母材的焊接工艺评定,且具有其施焊经验(业绩);
c) 施焊的焊工已取得相应的技能评定合格资格;
d) 能够提供其他单位完成的符合7.1.2要求的该材料焊接工艺评定。
7 .1 .4 管道施焊前,应根据焊接工艺评定报告(或已通过技术评审的预焊接工艺规程)编制焊接工艺规 程,用于指导焊工施焊和焊后热处理工作。焊接工艺规程应至少包括下列内容:
a) 焊接方法及操作类型(手工、自动、半自动);
b) 焊接接头的坡口形式、尺寸及加工要求;
c) 焊接接头母材的标准号、型号、规格尺寸及相关要求;
d) 焊接材料的标准号、型号、牌号、规格、烘烤要求;
e) 焊接位置及焊接方向;
f) 预热及道间温度控制要求(预热温度、道间温度范围、加热方式及范围、测量方法等),必要时的 后热要求(后热温度、时间、加热及缓冷方式等);
g) 焊后热处理要求(热处理温度、保温时间、升温速度、降温速度、加热及测量方式等);
h) 保护气体的种类(成分)、混合配比(纯度)、流量等要求;
i) 焊接电特性及焊接工艺参数;
j) 焊接操作要领与技术措施;
k) 其他相关要求。
7.1.5 焊工技能评定应符合TSGZ6002的规定。
10
犌犅/犜20801 .4—2020
7.2 焊接材料
7.2.1 焊接材料应符合设计文件和相关标准的规定,且通过焊接工艺评定验证。当设计无规定时,焊 接材料的选用应按照母材的化学成分、力学性能、焊接性能、焊前预热、焊后热处理、使用条件及现场施 工条件等因素综合确定,且符合下列规定:
a) 焊缝金属的抗拉强度应不小于母材规定抗拉强度的下限值。对于两种不同强度的母材相互焊 接,焊缝金属的抗拉强度应不低于规定抗拉强度较低母材的下限值。
b) 焊缝金属的化学成分应与母材相近。对于两种不同化学成分的母材相互焊接,除奥氏体钢与 铁素体钢相互焊接外,焊缝金属的化学成分应与其中任何一个母材一致或介于两者之间。
C)当奥氏体钢与铁素体钢相互焊接时,焊缝金属应有显著的奥氏体晶体结构,可选用25Cr-13Ni 型或含镍量更高的焊接材料。当设计温度高于425 ℃时,宜选用镍基焊接材料。
d) 焊接材料的焊接工艺性能应良好。
7.2.2 焊接材料(包括焊条、焊丝、焊剂及焊接用气体)使用前应按设计文件和相关标准的规定进行检 查和验收,且应具有质量证明文件和包装标记。
7.2.3 焊接材料(包括焊条、焊丝及焊剂)的储存应保持适宜的温度及湿度,相对湿度应不超过60%。 焊接材料库应保持干燥、清洁。
7.2.4 库存期超过规定期限的焊条、焊剂及药芯焊丝,应经复验合格后方可使用。焊接材料库存的规 定期限应在焊接材料质量证明书或说明书上注明。
7.2.5 应按焊接材料说明书的要求对焊条、焊剂和药芯焊丝进行烘干,焊丝使用前应按规定进行除油、 除锈及清洗处理。
7.2.6 使用过程中应注意保持焊接材料的识别标记,以免错用。
7.3 焊接环境
7.3.1 焊接环境温度应能保证焊件的焊接温度和焊工技能不受影响。环境温度低于0 ℃时,应符合 8.2.1的规定。
7.3.2 应采取防风措施保证焊接时的风速不大于以下规定值:
a) 对于焊条电弧焊、自保护药芯焊丝电弧焊和气焊,规定风速为8 m/s;
b) 对于钨极惰性气体保护电弧焊和熔化极气体保护焊,规定风速为2 m/s。
7.3.3 焊接电弧周围1m范围内的相对湿度应符合以下规定:
a) 铝及铝合金的焊接,相对湿度应不大于80%;
b) 其他材料的焊接,相对湿度应不大于90%。
7.3.4 在雨雪天气施焊时,应采取有效防护措施,否则禁止施焊。
7.4 焊前准备
7.4.1 坡口制备
7.4.1 .1 坡口加工应符合6.1的规定。坡口表面应光滑并呈金属光泽,热切割产生的熔渣和影响焊接 质量的表面层应清除干净。
7.4.1.2 坡口形式和尺寸应符合设计文件的规定。无规定时,可按照GB/T 985.1、GB/T 985.2、 GB/T985.3、GB/T985.4、GB50236或相关标准,并结合现场实际情况确定坡口形式和尺寸。
7.4.1 .3 当设计文件和相关标准对坡口表面提出无损检测的要求时,无损检测及缺陷处理应在施焊前 完成。
7.4.2 清理
7.4.2 .1 对于焊件坡口及内外表面,应在焊接前去除油漆、油污、锈斑、熔渣、氧化皮以及有害的其他
11
犌犅/犜20801 .4—2020
物质。
7 .4 .2 .2 焊件坡口及内外表面的清理应满足表4的要求。
表4 焊件坡口及其内外表面的清理
|
材 料 |
清理范围/ mm |
清理对象 |
清理方法 |
|
碳素钢、低温钢、合金钢、 不锈钢 |
≥20 |
油、漆、锈、毛刺等污物,裂纹, 夹层 |
手工或机械等方法 |
|
铝及铝合金、钛及钛合金、 镍及镍合金、锆及锆合金 |
≥50 |
油污、氧化膜等 |
有机溶剂除油污,化学或机械 方法除氧化膜 |
|
铜及铜合金 |
≥20 |
7 .4 .3 组对
7 .4 .3 .1 对接接头的组对应符合以下规定:
a) 对接接头的组对应内壁齐平,内壁错边量应符合设计文件和表5的规定;
表5 管道组对内壁错边量
|
材 料 |
内壁错边量 | |
|
碳素钢、低温钢、合金钢、不锈钢 |
不大于壁厚的10%,且小于或等于2 mm | |
|
铝及铝合金 |
壁厚小于或等于5 mm |
≤0.5 mm |
|
壁厚大于5 mm |
不大于壁厚的10%,且小于或等于2 mm | |
|
铜及铜合金、钛及钛合金、镍及镍合金、锆及锆合金 |
不大于壁厚的10%,且小于或等于1 mm | |
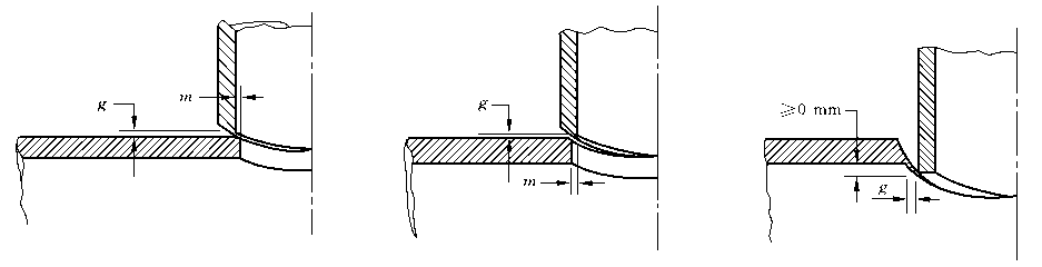
b) 不等壁厚的工件组对时,薄件端面的内侧和外侧应位于厚件端面范围之内。当内壁错边量不 符合表5的规定或外壁错边量大于3mm时,焊件端部应按图5的规定进行削薄修整。端部 削薄修整后的壁厚应不小于设计厚度狋d。
犪) 犜2-犜1 ≤10犿犿 犫) 犜2-犜1 >10犿犿 犮) 犜2-犜1 ≤5犿犿
犱) 犜2-犜1≤10犿犿 犲) 犜2-犜1>10犿犿 犳) 犜2>犜1
注1:用于管件时,如受长度限制,图5a)、图5d)、图5f)中的15°可改为30°。
注2:图5a)、图5b)和图5c)为外侧齐平,图5d)和图5e)为内侧齐平,图5f)为内外侧均不齐平。
图5 不等壁厚对接焊件的端部加工
12
犌犅/犜20801 .4—2020
7 .4 .3 .2 支管连接接头的组对应符合以下规定:
a) 安放式支管的端部制备及组对应符合图6a)、图6b)的规定;
b) 插入式支管的主管端部制备及组对应符合图6c)的规定;
c) 主管开孔与支管组对时的错边量应不大于犿值[见图6a)、图6b)],必要时可进行堆焊修正。
7 .4 .3 .3 组对间隙应控制在焊接工艺规程允许的范围内。
7 .4 .3 .4 除设计文件规定的管道预拉伸或预压缩焊口外,不得强行组对。需预拉伸或预压缩的焊接接 头,组对时所使用的工卡具应在整个焊接及热处理完毕并经检验合格后拆除。
7 .4 .3 .5 组对时应垫置牢固,并应采取措施防止在焊接和热处理过程中产生附加应力和变形。
犪) 安放式支管(支管内径 大于主管开孔直径)
注1:犵为根部间隙。
犫) 安放式支管(支管内径 小于主管开孔直径)
犮) 插入式支管
注2:犿为错边量,其值不大于3.2 mm或0.5犜b(取较小者),其中犜b为支管名义厚度。
图6 支管连接接头的组对
7 .4 .4 定位焊缝
7 .4 .4 .1 定位焊缝的焊接应采用与根部焊道相同的焊接材料和焊接工艺,并应由评定合格的焊工施焊。
7 .4 .4 .2 定位焊缝应具有足够的长度、厚度和间距,以保证该焊缝在焊接过程中不致开裂。
7 .4 .4 .3 根部焊接前,应对定位焊缝进行检查。如发现缺陷,处理后方可施焊。
7.4.4.4 焊接的工卡具材质宜与母材相同或为NB/T47014规定的同一类别号。拆除工卡具时不应损 伤母材,拆除后应确认无裂纹并将残留焊疤打磨修整至与母材表面齐平。对于下列管道,应对工卡具拆 除部位进行表面无损检测:
a) 铬钼合金钢管道;
b) 标准抗拉强度下限值大于或等于540 MPa的合金钢管道。
7 .4 .5 焊接设备
焊接设备及辅助装备等应能保证焊接工作的正常进行和安全可靠,仪表应定期校验。
7 .5 焊接的基本要求
7 .5 .1 应采用经评定合格的焊接工艺,由合格焊工按焊接工艺规程对焊缝(包括为组对而堆焊的焊缝 金属)进行焊接。
7 .5 .2 焊接时应采取合理的焊接方法和施焊顺序:
13
犌犅/犜20801.4—2020
a) 碳素钢和合金钢焊接时,可采用焊条电弧焊、钨极惰性气体保护电弧焊、熔化极气体保护电弧 焊、自保护药芯焊丝电弧焊、埋弧焊或气焊方法;
b) 铝及铝合金焊接时,可采用钨极惰性气体保护电弧焊或熔化极惰性气体保护电弧焊方法;
c) 铜及铜合金、钛及钛合金、锆及锆合金可采用钨极惰性气体保护电弧焊方法,黄铜也可采用氧 乙炔焊(气焊)方法;
d) 镍及镍合金可采用焊条电弧焊、钨极惰性气体保护电弧焊、熔化极惰性气体保护电弧焊或埋弧 焊方法。
7 .5 .3 对含铬量大于或等于3%或合金元素总含量大于5%的管道焊缝,采用钨极惰性气体保护电弧焊 或熔化极气体保护电弧焊进行根部焊道单面焊接时,焊缝背面应充氩气或其他保护气体,或应采取其他 防止背面焊缝金属被氧化的措施。
7 .5 .4 除因工艺或检验要求需要分次焊接外,每条焊缝一般应一次连续焊接完成,当因故中断焊接时, 应根据工艺要求采取保温缓冷或后热等措施以防止裂纹的产生。再次焊接前应检查焊层表面,确认无 裂纹后,按原工艺要求继续施焊。
7 .5 .5 在根部焊道和盖面焊道上不宜采用锤击消除残余应力。
7 .5 .6 对焊接连接的阀门施焊时,所采用的焊接顺序、工艺以及焊后热处理,均应保证阀座的密封性能 不受影响。
7.5.7 不得在焊件表面引弧或试验电流。对于设计温度不高于-20 ℃的管道、淬硬倾向较大的合金钢 管道、不锈钢及有色金属管道,其表面均不得有电弧擦伤等缺陷。
7 .5 .8 当有下列情况之一时,管道的单面焊焊缝根部应采用钨极惰性气体保护电弧焊或能保证根部焊 接质量的其他焊接工艺方法:
a) GC1级管道;
b) 公称直径小于500 mm,且设计温度低于-20 ℃的管道;
c) 内部清洁要求较高且焊接后不易清理的管道;
d) 机器入口管道;
e) 设计规定的其他管道。
7.5.9 公称直径大于或等于500 mm的管道,宜在内侧进行根部双面焊。
7.5.10 多道焊每道焊完后,应立即进行清理和目视检查。如发现缺陷,应消除后方可进行下一层 施焊。
7 .5 .11 规定进行层间无损检测的焊缝,无损检测应在目视检查合格后进行,表面无损检测应在射线照 相检测及超声波检测前进行,经检测的焊缝在评定合格后方可继续进行焊接。
7 .5 .12 焊接完毕后,应及时将焊缝表面的熔渣及附近的飞溅物清理干净。
7 .5 .13 每个焊工均应有指定的识别代号。除工程另有规定外,管道承压焊缝应标有焊工识别标记,标 记方法应符合6.2.2的规定。如无法直接在管道承压件上作焊工标记,则应在管道轴测图上或用简图 记录焊工识别代号,并将简图列入交工技术文件。
7 .6 焊缝设置
管道(夹套管除外)焊缝的设置应避开应力集中区,且应符合以下规定:
a) 当公称直径大于或等于150 mm时,直管段上两对接环焊缝中心面之间的距离应不小于 150mm;当公称直径小于150 mm时,该距离应不小于管子外径,且不小于50mm。
b) 管道环焊缝距离弯管(不包括弯头)起弯点的距离应不小于100 mm。
14
犌犅/犜20801 .4—2020
c) 管道环焊缝与支吊架的净距离应不小于50 mm。需要热处理的焊缝与支吊架的距离应不小 于焊缝宽度的5倍,且应不小于100 mm。
d) 不宜在焊缝及其边缘上开孔。当无法避免在焊缝上开孔或开孔补强时,应对以开孔中心为中 心、在1.5倍开孔直径或补强板直径范围内的焊缝进行无损检测,检测合格后方可进行开孔。 补强板覆盖的焊缝应磨平。管孔边缘不应存在焊接缺陷。
e) 管道环焊缝距离支管或管接头的开孔边缘应不小于50 mm,且应不小于孔径。
f) 焊接管及焊接管件组对时,应尽量避免十字焊缝。当无法避免十字焊缝或焊缝的错开距离小 于100mm时,该部位焊缝应经射线检测或超声检测合格。
7 .7 角焊缝
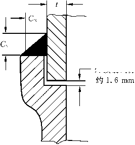
7.7.1 角焊缝(包括承插焊缝)可采用凹形和凸形,其焊缝尺寸应符合图7的规定。
7.7.2 平焊法兰或承插焊法兰的角焊缝应符合图8的规定,其他承插焊接头的最小焊缝尺寸应符合 图9的规定。
犪) 凸形等边角焊缝 犫) 凹形等边角焊缝
犮) 凸形不等边角焊缝
犱) 凹形不等边角焊缝
注1:等边角焊缝的焊脚尺寸为焊缝最大内切等腰直角三角形的股长,焊缝厚度为0.7倍焊脚尺寸。
注2:不等边角焊缝的焊脚尺寸为内切于焊缝截面的最大直角三角形的股长。
图7 角焊缝的形式和尺寸
犪) 双面角焊
犫) 法兰面角接及背面角焊
犮) 承插焊法兰
注:犡min取直管名义厚度的1.4倍或法兰颈部厚度两者中的较小者。
图8 平焊法兰和承插焊法兰的角焊缝
15
犌犅/犜20801 .4—2020
焊接前间隙
注1:狋为名义厚度。
注2:犆x取1.09狋或承插件端部厚度两者中的较小值。
图9 除法兰外的其他承插焊接头的最小焊缝尺寸
7 .8 支管的焊接连接
7.8.1 支管与主管的焊接连接应符合图10所示的支管连接焊缝形式和焊缝尺寸的规定。
16
犪) 安放式
插入式
犮) 安放式(带补强圈)
犱) 插入式( 补强圈)
犲) 鞍形补强件
犳)
对接式
图10 支管连接的焊接接头形式
说明:
犌犅/犜20801 .4—2020
犵)
弯头支管座纵断面
支管座与主管的连接
狋c ———填角焊缝有效厚度,取0.7犜b或6.4 mm中的小者;
犜b ———支管名义厚度;
犜h ———主管名义厚度;
犜r ———补强圈或鞍形补强件的名义厚度;
狋min ———犜b或犜r,取两者中的较小者;
犜m ———支管座焊缝名义厚度,当设计文件或支管连接件制造厂的说明书无要求时,其厚度按照组对后的组合焊缝 坡口的最深厚度。
支管座与主管的连接的盖面填角焊缝,在纵断面处为等边角焊缝,但在其他断面处,随着支管/主管口径比,尤其在 横断面处,可能将转变为不等边角焊缝,但应保持与坡口焊缝及主管表面的平滑过渡。
图10(续)
17
犌犅/犜20801.4—2020
7 .8 .2 安放式焊接支管或插入式焊接支管的接头,包括整体补强的支管座,应全焊透,盖面的角焊缝厚 度应不小于填角焊缝有效厚度[见图10a)和图10b)]。
7 .8 .3 补强圈或鞍形补强件的焊接应符合以下规定:
a) 补强圈与支管应全焊透,盖面的角焊缝厚度应不小于填角焊缝有效厚度[见图10c)和图 10d)]。
b) 鞍形补强件与支管连接的角焊缝厚度应不小于0.7狋min[见图10e)]。
7.8.4 补强圈或鞍形补强件外缘与主管连接的角焊缝厚度应大于或等于0.5犜r[见图10c)、图10d)和 图10e)]。
7 .8 .5 补强圈和鞍形补强件应与主管和支管贴合良好。应在补强圈或鞍形补强件的高位(不在主管轴 线处)开设一个焊缝焊接和检漏时使用的通气孔。补强圈或鞍形补强件可采用多块拼接组成,但拼接接 头应与母材等的强度相同,且每块拼板均应开设通气孔。
7 .8 .6 应在支管与主管连接焊缝的检查和修补合格后,再进行补强圈或鞍形补强件的焊接。
7.8.7 支管座与主管应全焊透,盖面的填角焊缝厚度应不小于填角焊缝有效厚度狋c[见图10g)]。盖面 的填角焊缝应平滑过渡到主管。
7 .9 附件的焊接
7 .9 .1 结构附件可采用全焊透、局部焊透和角焊缝的形式进行焊接。
7 .9 .2 对于碳钢和低合金钢材料,当进行临时附件(如热电偶)焊接时,可采用电容储能焊接方法,但应 满足以下条件:
a) 不要求进行焊接工艺评定和焊接技能评定,但应编制焊接工艺规程,焊工应有成熟的技能 经验;
b) 焊接线能量应不超过125 W· s;
c) 点焊接头可不进行预热和焊后热处理;
d) 临时附件拆除后,应检查焊点区域是否存在缺陷。必要时应进行表面无损检测。
7 .10 密封焊
密封焊缝应由评定合格的焊工施焊。密封焊缝应覆盖全部露出的螺纹。
7 .11 焊缝返修
7 .11 .1 返修前应对缺陷产生的原因进行分析,提出相应的返修措施。应将缺陷消除干净,必要时可采 用无损检测方法确认。
7 .11 .2 返修需要补焊时,应采用经评定合格的焊接工艺,并由合格的焊工施焊。补焊部位的坡口形状 和尺寸应防止产生焊接缺陷并便于焊接操作。
7 .11 .3 同一部位(指焊补的填充金属重叠的部位)的返修次数超过两次时,应重新制定返修措施,经施 焊单位技术负责人批准后方可进行返修。
7 .11 .4 返修后应按原方法重新检验,并连同返修及检验记录(明确返修次数、部位、返修后的无损检测 结果)一并记入交工技术文件。
7 .11 .5 要求进行焊后热处理的管道,如在热处理后进行焊接修补,修补后应重新进行热处理。
8 预热
8 .1 一般规定
8 .1 .1 本章规定的预热要求适用于管道所有类型的焊接,包括定位焊、补焊和螺纹接头的密封焊。
18
犌犅/犜20801 .4—2020
8.1.2 预热温度等要求应在焊接工艺规程或设计文件中规定,并经焊接工艺评定验证。
8.1.3 当用热加工法切割、开坡口、清根、开槽或施焊临时焊缝时,也应考虑预热要求。
8.2 预热温度
8.2.1 预热温度应符合设计文件的要求。当设计文件无规定时,各种材料的最低预热温度应符合表6 的规定。
表6 预热温度
|
母材类别 |
较厚件的名义壁厚/ mm |
附加限制条件 |
要求的最低预热温度/ ℃ |
|
碳钢、碳锰钢 |
≤25 |
母材最小抗拉强度≤490 MPa |
10 |
|
>25 |
母材最小抗拉强度≤490 MPa |
95 | |
|
全部 |
母材最小抗拉强度>490 MPa |
95 | |
|
合金钢 Cr≤0.5% |
≤13 |
母材最小抗拉强度≤450 MPa |
10 |
|
>13 |
母材最小抗拉强度≤450 MPa |
95 | |
|
全部 |
母材最小抗拉强度>450 MPa |
95 | |
|
合金钢 0.5%<Cr≤2% |
全部 |
无 |
120 |
|
合金钢 2.25%≤Cr≤10% |
全部 |
母材最小抗拉强度≤415 MPa |
150 |
|
全部 |
母材最小抗拉强度>415 MPa |
200 | |
|
≤13 |
Cr>6% |
200 | |
|
马氏体不锈钢 |
全部 |
无 |
200 |
|
低温镍钢(Ni≤2.5%) |
全部 |
无 |
120 |
|
3.5Ni钢 |
全部 |
无 |
150 |
|
5Ni钢 |
全部 |
无 |
10 |
|
8Ni、9Ni钢 |
全部 |
无 |
10 |
|
27Cr钢 |
全部 |
无 |
150 |
|
9Cr-lMo-V 钢 |
全部 |
无 |
200 |
|
所有其他材料 |
全部 |
无 |
10 |
8.2.2 对于预热温度要求不同的材料焊接时,应选用表6中较高的预热温度。
8.2.3 对于需要预热的多层(道)焊焊件,其道间温度应不低于预热温度,但应符合如下要求:
a) 碳钢和低合金钢的道间温度不宜高于315 ℃;
b) 奥氏体不锈钢和镍及镍合金的道间温度不宜高于150 ℃;
c) 钛及钛合金的道间温度不宜高于150 ℃;
d) 27Cr钢的道间温度应保持在150 ℃~230 ℃;
e) 马氏体不锈钢的道间温度应不高于315 ℃;
19
犌犅/犜20801.4—2020
f) 双相不锈钢的道间温度应不高于50 ℃(≤3 mm),70 ℃(≤6mm),100 ℃(≤10 mm),120 ℃ (>10 mm)。
8 .2 .4 定位焊缝的母材温度应不低于表6规定的最低预热温度,预热范围应为距离定位焊缝两端不小 于25 mm。
8 .2 .5 对于返修补焊,其预热温度应比原焊缝适当提高。
8 .3 预热温度的测量
8 .3 .1 应采用测温笔、热电偶或其他合适的方法测量预热温度并记录,以保证在焊前及焊接过程中达 到和保持焊接工艺规程中规定的温度。采用的测量仪表应经计量检定合格。热电偶焊接应符合7.9.2 的规定。
8.3.2 预热区域应以焊缝中心为基准,每侧距离应不小于焊件厚度的3倍,且不小于100 mm。
8 .4 中断焊接
8 .4 .1 焊接中断时,应控制冷却速度或采取其他措施防止其对管道产生有害影响。
8 .4 .2 恢复焊接前,应对中断焊缝进行清理、检查确认,并按焊接工艺规程的规定重新进行预热。
8.4.3铬钼合金钢、9Cr-lMo-V钢以及马氏体不锈钢施焊全过程,应始终保持焊缝区域不低于表6规 定的预热温度。焊接中断时,如不能维持预热温度,应采取下列工艺措施:
a) 焊缝已焊厚度应不小于20%或10 mm(取小者),且焊道冷却前应打磨光滑,无尖锐缺口。焊 件应良好支承,缓慢移动,防止承载、碰撞。
b) Cr≤2%铬钼合金钢,焊缝应保温缓冷。
C) 2% ≤Cr≤lO%铬钼合金钢、9Cr-lMo-V钢以及马氏体不锈钢应按9.3.Ii)的规定立即进行后 热处理并保温缓冷,否则应进行中间热处理并控制冷却速度,或采用最大扩散氢含量为 4 mL/100g的低氢焊接材料,防止氢致焊接裂纹。
d) 焊缝冷却后和恢复焊接前,应目视检查确认无焊接裂纹。
e) 恢复焊接前,应重新进行预热。
9 热处理
9 .1 一般规定
9 .1 .1 本章规定了压力管道焊接、弯曲和成型后热处理的基本要求。
9 .1 .2 本部分给出的热处理要求是基于材料本身的性能、冷热加工以及焊接性能而提出的,并未考虑 介质和工况条件的适应性。设计者可以根据具体的工况条件,如提高材料及其焊接接头的抗应力腐蚀 破裂、抗应力松弛裂纹以及抗脆断能力、抗高温氢腐蚀能力或者高温长期强度,提出更高的或附加热处 理要求。
9.1 .3 本部分并不限制采用较低的甚至免除热处理要求,但应符合9.7的要求。
9 .2 弯曲和成型后的热处理
9 .2 .1 所有厚度的铬钼合金钢、马氏体不锈钢材料在热弯和热成型后,应按表7的规定进行热处理。
9.2.2 管道制作采用冷弯和冷成型时,符合下列情况之一者应按表7的规定进行热处理:
a) 对碳钢、碳锰钢、铬钼合金钢、马氏体不锈钢材料,冷弯和冷成型后,成型应变率(在最大变形方
20
犌犅/犜20801 .4—2020
向)超过该材料标准所规定的最小延伸率的50%时,应进行热处理。但如能证明所选用的管 子和弯曲或成型的方法能保证在冷弯和冷成型后,应变最大的材料仍保持有至少为10%的延 伸率,则可不进行热处理。
b) 任何要求进行低于0 ℃低温冲击试验的材料,弯曲或成型后其成型应变率超过5%。
c) 设计文件规定时。
表7 焊后热处理和弯曲、成型后的热处理基本要求
|
母材类别 |
名义厚 度/ mm |
母材最小规定 抗拉强度/ MPa |
金属热处理 温度/ ℃ |
保温时间 |
布氏硬 度b≤ | |
|
≤50 mm |
>50 mm | |||||
|
碳钢、碳锰钢 |
≤20 |
全部 |
不要求 |
1h/25 mm, 最少60 min |
2h+(15 min/ 增加25 mm) |
200b |
|
>20 |
595~650 | |||||
|
合金钢 Cr≤0.5% |
≤20 |
≤490 |
不要求 |
225 | ||
|
>20 |
全部 |
595~650 | ||||
|
全部 |
>490 | |||||
|
合金钢 0.5%<Cr≤2% |
≤13 |
≤490 |
不要求 |
1h/25 mm, 最少2h |
225 | |
|
>13 |
全部 |
650~705 | ||||
|
全部 |
>490 | |||||
|
合金钢 2%≤Cr≤3% 和C≤0.15% |
≤13 |
全部 |
不要求 |
241 | ||
|
>13 |
全部 |
675~760 | ||||
|
合金钢 3%<Cr≤10% 或C >0.15% |
全部 |
全部 |
675~760 |
241 | ||
|
9Cr-lMo-V 钢 |
全部 |
全部 |
705 ~775d |
≤125 mm, 1h/25 mm; >125 mm, 5h+(15 min/ 增加25 mm) |
250 | |
|
马氏体不锈钢 |
全部 |
全部 |
760~800 |
2h+(15 min/ 增加25 mm) |
241 | |
|
铁素体不锈钢 |
全部 |
全部 |
不要求 |
— |
— | |
|
奥氏体不锈钢和镍基合金e |
全部 |
全部 |
不要求 |
187b | ||
|
低温镍钢(Ni≤4%)f |
≤20 |
全部 |
不要求 |
— |
— | |
|
>20 |
595 ~650 |
0.5h/25 mm, 最少60 min | ||||
|
5Ni钢c |
>51 |
全部 |
550~585 |
1h/25 mm, 最少60 min |
— | |
|
8Ni、9Ni钢c |
≤51 |
全部 |
不要求 |
— | ||
|
>51 |
550 ~585 | |||||
21
犌犅/犜20801.4—2020
表7(续)
|
母材类别 |
名义厚 度/ mm |
母材最小规定 抗拉强度/ MPa |
金属热处理 温度/ ℃ |
保温时间 |
布氏硬 度b≤ | |
|
≤50 mm |
>50 mm | |||||
|
双相不锈钢a |
全部 |
全部 |
不要求 |
0.5h/25 mm, 最少30 min |
2h+(15 min/ 每增加25 mm) |
— |
|
a 双相不锈钢是否应进行焊后热处理不做具体规定,如需热处理,应为固溶快冷。 b 硬度要求应符合9.6的规定。碳钢、碳锰钢、奥氏体不锈钢和镍基合金的硬度检查仅适用于特定工况,设计有 规定时,可按本表取值。 c 对于5Ni、8Ni、9Ni钢材料,热处理保温后应以大于170 ℃/h的冷却速度冷至300 ℃。 d 除设计有规定外,填充金属Ni+Mn应不大于1.20%,最高热处理温度应≤800 ℃。如果热处理温度高于 800 ℃,或者热处理温度虽不高于800 ℃,但高于填充金属的犃1(转变温度下限或临界温度下限),则应去除焊 缝金属及热影响区重焊及重新进行焊后热处理。壁厚≤13 mm的9(、「1m。-V钢最低热处理温度可为675 ℃。 采用Cr≤3.0%或镍基、奥氏体不锈钢焊接材料进行异种钢焊接时,最低热处理温度可为720 ℃。 e 奥氏体不锈钢和镍基合金是否应进行焊后热处理不做具体规定。为防止应力松弛裂纹,壁厚大于13 mm且使 用温度高于540 ℃的含Nb、Ti、Al奥氏体不锈钢和镍基合金,可根据具体情况,选择固溶、稳定化或不完全退 火等焊后热处理工艺。 f 按9.3.1d),焊后热处理的温度下限可不低于550 ℃。 | ||||||
9.2.3 高温及超低温使用的奥氏体不锈钢或镍基合金材料,在冷、热弯曲或成型后,应按表8的规定进 行热处理。
表8 高温及超低温使用的材料弯曲、成型后的热处理要求
|
材料类别及使用条件 |
成型应变率/%a |
热处理与否 |
|
设计温度高于540 ℃,但低于675 ℃的奥氏体不锈钢及 镍合金(600、617、800、800H、800HT) |
>15 |
固溶处理 |
|
设计温度高于或等于675 ℃的奥氏体不锈钢(H级)及 镍合金(600、617、800、800H、800HT) |
>10 |
固溶处理b |
|
设计温度低于或等于-100 ℃的奥氏体不锈钢 |
>10 |
固溶处理b |
|
a 采用管子扩口、缩口、引伸、墩粗时,成型应变率为本表规定值的一半。 b 固溶处理的保温时间为20 min/25 mm或10 min,且取其中的较大者。 | ||
9 .2 .4 成型应变率的计算应符合下列规定:
a) 管子弯曲,按式(3)、式(4)计算,取应变率(%)中的较大者:
应变率
50犇 犚
(3)
应变率=(1 2)× 100 …………………………(4)
犜1
b) 以板成型的圆筒、锥体或管子的应变率(%)按式(5)计算:
22
犌犅/犜20801 .4—2020
应变率=犜× 50 犚f
(5)
c) 以板成型的凸型封头、折边等双向变形的元件的应变率(%)按式(6)计算:
75T
应变率= 犚f
(6)
d) 管子扩口、缩口或引伸、镦粗,其应变率(%)取下列绝对值中的最大者:
1) 环向应变
应变率=( 犇 e)× 100 ……………………(7)
2) 轴向应变
应变率=(犔-犔犔e)× 100 …………………………(8)
3) 径向应变
应变率=(犜1 -犜2)× 100 …………………………(9)
犜1
式中:
犇 ———管子外径,单位为毫米(mm);
犚 ———管子中心线弯曲半径,单位为毫米(mm);
犜 ———板材名义厚度,单位为毫米(mm);
犜1 ———管子初始平均厚度,单位为毫米(mm);
犜2 ———成型后管子最小厚度,单位为毫米(mm);
犇e ———成型后圆筒或管子的外径,单位为毫米(mm);
犚f ———成型后最小曲率半径(厚度中心处),单位为毫米(mm);
犔 ———管子变形区初始长度,单位为毫米(mm);
犔e ———成型后管子变形区的长度,单位为毫米(mm)。
9.2.5 对于有应力腐蚀倾向或对消除应力有较高要求的管道,在弯曲或成型加工后,应按设计文件的 规定进行热处理。
9.3 焊后热处理
9.3.1 焊后热处理的基本要求
焊后热处理应符合下列基本要求:
a) 应按设计文件的规定进行焊后热处理,当设计文件无规定时,焊后热处理应符合表7的规定;
b) 表7所列焊后热处理的温度范围较宽,业主或设计者可根据具体工况,规定指定的焊后热处理 温度,但不能超出表7、表9及9.3.1规定的限值;
c) 除下列d)的规定外,碳钢、碳锰钢、低温镍钢(Ni≤4%)可按表9所示降低焊后热处理温度,但 应相应延长保温时间;
d) 为改善焊接接头强度和低温韧性,并经业主或设计者同意以及相应焊接工艺评定证实,最小抗 拉强度大于或等于535 MPa的碳锰钢、低温碳钢以及低温镍钢(Ni≤4%)的焊后热处理的温 度下限可不低于550 ℃,而无需延长保温时间;
e) 正火加回火或调质钢的焊后热处理温度应比材料的回火温度降低至少10 ℃;
f) 表7所列铬钼合金钢可采用比材料回火温度或表列温度更高的焊后热处理温度,但应考虑由 此而引起的高温强度下降;
g) 铁素体钢之间的异种钢焊接接头的焊后热处理,应按表7两者之中的较高热处理温度进行,但
23
犌犅/犜20801.4—2020
不应超过另一侧钢材的临界点Ac1;
h) 焊后热处理工艺应在焊接工艺规程中规定,并经焊接工艺评定验证,任何焊后热处理的温度控 制都应满足焊接工艺评定的要求;
i) 当管道焊缝焊后不立即进行热处理时,应控制焊接冷却速度,或采用其他措施防止对管道的有 害影响。对2% <Cr≤10%的铬钼合金钢、9Cr-lMo-V钢以及马氏体不锈钢管道,焊后应及时 进行热处理。当不能及时进行焊后热处理时,应在焊后立即均匀加热至200 ℃~350 ℃的后 热处理,并保温缓冷。保温时间应根据后热温度和焊缝金属的厚度确定,一般不少于30 min。 后热保温范围应与焊后热处理要求相同。
表9 碳钢、碳锰钢、低温镍钢(犖犻≤4%)焊后热处理降温延时要求
|
降低焊后热处理温度/ ℃ |
保温时间 | |
|
≤25 mm |
>25 mm | |
|
30 |
2h |
增加15 min/增加25 mm |
|
55 |
4h | |
|
注:9.3.1.d)的规定除外。 | ||
9 .3 .2 焊后热处理厚度
按表7及表9进行焊后热处理时,热处理厚度应为焊缝厚度与焊接接头处焊件厚度(当受压元件与 非受压元件焊接时则为受压元件的厚度)中的较小者。焊缝厚度应为下列厚度:
a) 坡口对接焊缝———焊缝厚度。
b) 填角焊缝———腰高(见图7)。
c) 部分焊透焊缝———焊缝坡口深度。
d) 焊补焊缝———补焊处开槽深度。
e) 支管连接时,热处理厚度应是主管或支管的焊缝厚度,而不考虑支管连接件(包括整体补强或 非整体补强件)的厚度。支管连接的焊缝厚度计算应符合表10的规定。
表10 支管连接结构的焊缝厚度
|
支管连接结构形式 |
焊缝厚度 |
|
焊接支管(安放式),见图10a) |
犜b+狋c |
|
焊接支管(插入式),见图10b) |
犜h+狋c |
|
补强圈补强的焊接支管(安放式),见图10c) |
犜b+狋c或犜r+狋c,取较大者 |
|
补强圈补强的焊接支管(插入式),见图10d) |
犜h+犜珚r+狋c |
|
鞍形补强件补强的焊接支管,见图10e) |
犜b+狋c |
|
支管座,见图10g) |
犜m +狋c |
f) 对用于平焊法兰、承插焊法兰、公称直径小于或等于50 mm的管子连接角焊缝和螺纹接头的 密封焊缝以及管道支吊架与管道的连接焊缝,下述情况可不要求焊后热处理:
1) 碳钢材料,当焊缝厚度小于或等于16mm时,任意厚度的母材都不需要进行焊后热处理;
24
犌犅/犜20801 .4—2020
2) 铬钼合金钢材料(Cr≤10%),当焊缝厚度小于或等于13mm时,如果预热温度不低于表6 的规定值,且母材规定的最小抗拉强度小于490 MPa,则任意厚度的母材都不需要进行焊 后热处理;
3) 对于铁素体钢材料,当焊缝采用奥氏体或镍基填充金属时,不需要进行焊后热处理。但应 保证操作条件(如高温下不同线膨胀系数或腐蚀等)对焊缝不产生有害影响。
9.4 加热和冷却
9.4.1 热处理时,应保证温度的均匀性和对温度的控制,可采用炉内加热、局部火焰加热、电阻或电感 应等加热方法,也可采用炉冷、空冷、局部加热、隔热或其他合适的方法来控制冷却速度。
9.4.2 除设计文件或其他标准另有规定外,热处理的加热和冷却速度应符合以下规定:
a) 当温度升至400 ℃以上时,加热速度应不大于205(25/犜)℃/h,且应不大于205 ℃/h;
b) 保温后的冷却速度应不大于260(25/犜)℃/h,且应不大于260 ℃/h,400 ℃以下可自然冷却。 注:犜为热处理部位的最大厚度。
9.5 热处理温度的测量
9.5.1 热处理温度应采用热电偶或其他合适的方法进行测量,热电偶焊接应符合7.9.2的规定。
9.5.2 宜采用自动测温记录仪在整个热处理过程中连续测量并记录热处理温度。测温记录仪在使用 前应经校验合格。
9.6 硬度检查
9.6.1 要求焊后热处理的焊接接头、弯曲和成型加工的管道元件,热处理后应测量硬度值。焊接接头 的硬度测定区域应包括焊缝和热影响区,热影响区的测定区域应紧邻熔合线。
9.6.2 炉内热处理的每一热处理炉次应至少抽查10%进行硬度值测定,局部热处理者应100%进行硬 度值测定。
9.6.3 除设计另有规定外,焊接接头以及弯曲和成型加工的管道元件在热处理后的硬度值应符合下列 规定:
a) 硬度值应符合表7的规定;
b) 表7中未注明硬度值要求的材料,焊缝和热影响区的硬度值不应大于母材硬度值的125%;
c) 异种金属材料焊接时,两侧母材和焊接接头均应符合表7规定的各自硬度值。
9.7 替代热处理
经设计者同意,正火、正火加回火或退火可代替焊接、弯曲或成型后的消除应力热处理,但焊接接头 和母材的力学性能应符合相应标准的规定。
9.8 热处理基本要求的变更
9.8.1 设计者可根据具体工况条件,变更或调整消除应力热处理的基本要求,包括规定更为严格的要 求(如对厚度较薄材料的热处理和硬度限制),也可放宽或取消热处理和硬度试验要求。但应在设计文 件中指明。
9.8.2 当放宽消除应力热处理和硬度试验要求时,应具备可供类比的成功使用经验,并考虑工作温度 及其影响、热循环频率及其强度、柔性分析的应力水平、脆性破坏及其他有关因素。此外,还应进行包括 焊接工艺评定在内的有关试验。
25
犌犅/犜20801.4—2020
9 .9 分段热处理
对于不能进行整体热处理的管道,允许分段热处理。分段处应有宽度大于或等于300 mm的搭接 带。分段热处理时,炉外的部分应适当保温,并应防止产生较大的温度梯度。
9 .10 局部热处理
9 .10 .1 局部热处理时,加热范围应包括主管或支管的整个环形带,并均应达到规定的热处理温度,管 内应隔断,防止空气流动散热。
9 .10.2 环形加热带应有足够的宽度,保证其均温带宽度(达到规定温度范围的加热带宽度)不小于3倍 的环缝焊接处的最大壁厚。对于支管或附件连接焊缝,均温带的宽度应从焊缝边缘各向外延伸不小于 2倍的主管厚度,环形加热带要完全包含主管及支管的整周。弯管局部热处理的加热范围应包括弯曲 或成型部分及其两侧至少25mm的宽度。加热带以外部分应在100 mm~150 mm的范围内保温,测 温热电偶的设置应位于均温带的边缘。
9 .10 .3 当焊缝与阀门、连接件或变径临近时,设置热电偶应特别考虑散热因素。
9.10.4 除9.7的规定外,不准许材料的任何部分承受超过下临界温度的热源。
9 .11 重新热处理
热处理后如进行焊接返修、弯曲、成型加工,或硬度检查超过规定要求的焊缝,应重新进行热处理。
10 装配和安装
10.1 一般规定
10.1.1 管道装配(包括管道预制)和安装应按管道轴测图进行,可在工厂(车间)或现场分别完成。管 道轴测图应至少包括下列内容:
a) 管道编号;
b) 管段端点坐标、标高或尺寸、接续号等表示管段整体的范围;
c) 管子、管件、法兰、阀门、特殊件等各管道组成件的名称、规格、型号、材质、端部形式、压力等级、 标准、数量;
d) 管子、管件、法兰、阀门、特殊件等各管道组成件、支吊架、支管连接以及在线仪表的位置和连接 形式;
e) 管段的操作参数、设计参数及绝热厚度;
f) 需要冷紧的冷紧口位置及冷紧值;
g) 管道等级分界点。
可用管道布置图、局部详图或立面图和管道材料等级表代替管道轴测图,但这些代替文件的内容应 包含上述内容。
10.1.2 管道制作前,应按照轴测图选择确定自由管段和封闭管段,并在管道轴测图上注明下列内容:
a) 焊缝位置、焊缝编号,并区别现场安装的固定焊缝和预制焊缝、管支架与管道直接焊接的焊缝;
b) 弯管弯曲半径;
c) 预制管段的加工长度和尺寸偏差;
d) 水平管道的坡度和坡向。
10.1.3 自由管段和封闭管段的加工制作尺寸允许偏差应符合表11的规定。
26
犌犅/犜20801 .4—2020
表11 自由管段和封闭管段的加工尺寸允许偏差 单位为毫米
|
项 目 |
允许偏差 | ||
|
自由管段 |
封闭管段 | ||
|
长度 |
±10 |
±1.5 | |
|
凸台、支管座相对于管道中心线偏差 |
±1.0 |
±1.0 | |
|
相邻支管中心距犛 |
犛≤250 |
±1.5 |
±1.5 |
|
250<犛≤500 |
±2.0 |
±2.0 | |
|
500<犛≤1000 |
±2.5 |
±2.5 | |
|
犛>1000 |
±3.0 |
±3.0 | |
|
法兰密封面与管子 中心线垂直度 |
DN<100 |
0.5 |
0.5 |
|
100≤DN≤300 |
1.0 |
1.0 | |
|
DN>300 |
2.0 |
2.0 | |
|
法兰螺栓孔对称水平度 |
±1.6 |
±1.6 | |
10.1.4 装配管段应具有足够的刚性,必要时可进行加固,以保证在存放、运输过程中不变形。装配完 毕的管段,应将内部清理干净,及时封闭管口。
10.1.5 除设计有预拉伸或预压缩的要求外,管道装配和安装时,不得强力对接、加热管子、加偏垫或加 多层垫等方法来消除接头端面间的空隙、偏斜、错口或不同心等缺陷。也禁止采用任何导致设备或管道 组成件产生有害残余应变的扭曲方法进行组对。管道封闭口装配时的错口偏差可参照附录A进行 评估。
10.1.6 管道穿越墙、道路或铁路时应设套管加以保护,套管内的管段不宜有环焊缝存在。如有环焊 缝,应进行100%无损检测。
10.1.7 管道装配和安装过程中的焊接、热处理、检验、检查和试验应符合本部分相关章条及GB/T20801.5— 2020的规定。
10.1.8 管道安装后,不得承受设计以外的附加荷载。
10.1.9 对于铬钼合金钢、含镍低温钢、不锈钢以及镍及镍合金、钛及钛合金材料的管道组成件,在安装 完毕后应检查其材质标记。当发现无标记或标记不清晰时,应采用光谱分析(PMI)或其他方法对无标 记或标记不清晰的管道、管道元件的材质进行复查。对上述材料的管道焊缝也应进行材质复查,复查数 量:每条管道(按管道编号)不应少于2道焊口。若出现1个焊口不合格,则该材质的所有焊缝均进行 复查。
10.2 法兰连接
10.2.1 法兰连接前应检查、清理法兰密封面和垫片密封面,不得有影响密封性能的划痕、斑点、裂纹、 磕伤等缺陷,否则应予修理或更换。通过焊接修补的法兰面应进行表面处理达到密封要求。垫片密封 面应检查其平整度是否符合要求。螺母和垫圈支撑面不得有涂层、毛刺。
10.2.2 法兰接头装配时,垫片的尺寸应与法兰的尺寸相一致。1对法兰密封面间只允许使用1个垫 片。垫片安装应保持与法兰同轴,防止垫片阻挡介质流道。
10.2.3 法兰接头装配应与管道同心,并应保证法兰螺栓孔跨中布置,法兰螺栓自由穿入。设计文件无 规定时,法兰接头应按下列要求对中:
27
犌犅/犜20801.4—2020
a) 在上紧螺栓前,垫片的接触面在任何直径方向测量,两个法兰的平行度(偏转)偏差应不大于 1 mm/200 mm。封闭管段或两个固定支点间法兰连接时的允许错口偏差和偏转间隙参见 表A.1~表A.3所示。表中列出的法兰密封面间的安装偏差将导致20%左右螺栓安装荷载 的损耗。
b) 不得用强紧螺栓的方法消除法兰接头的偏转。
c) 法兰接头上紧后,垫片接触表面的荷载应均匀分布。
d) 法兰螺栓孔应对准,孔与孔之间的偏移不大于3mm。
10.2.4 法兰接头装配应使用同一规格螺栓,安装方向应一致。螺栓应对称紧固。螺栓紧固后应与法 兰紧贴,不得有楔缝。需加垫圈时,每个螺栓不应超过1个。所有螺母应全部拧入螺栓。任何情况下, 螺母上未完全啮合的螺纹应不大于1个螺距。
10.2.5 除业主或设计另有规定,GC1级(毒性、易燃性)管道或设计指定要求的法兰接头,应根据设计 提出的螺栓安装载荷、紧固方法和紧固程序的要求,编制书面的安装程序文件,并经安装单位技术负责 人批准后方可进行装配操作。常用的安装程序和推荐的螺栓安装目标荷载参见附录B。
10.2.6 法兰接头装配时,如两个法兰的压力等级或力学性能有较大差别,应考虑压力等级较低或抗拉 强度较低时法兰的承受能力。宜将螺栓拧紧至预定的扭矩。
10.3 螺纹连接
10.3.1 用于螺纹的保护剂或润滑剂应适用于工况条件,并对输送的流体或管道材料均应不产生不良 影响。
10.3.2 进行密封焊的螺纹接头不得使用螺纹保护剂和密封材料。
10.3.3 采用垫片密封而非螺纹密封的直螺纹接头应符合GB/T20801.3—2020的规定。直螺纹接头 与主管焊接时,应防止密封面变形。
10.3.4 螺纹接头采用密封焊时,外露螺纹应在整个周长密封焊接,且应符合7.5的规定。
10.3.5 应采取措施防止螺纹接头因热膨胀导致的螺纹松动。
10.4 其他形式的连接
10.4.1 管接头
管接头的装配和安装应符合下列规定:
a) 管接头成套部件应为配套厂家生产,材质应与管道材质一致;
b) 管接头连接处的管道表面应无皱褶、扁平、凹陷、凸起、划痕等缺陷,端部应保证断面的水平,毛 刺应清理干净;
c) 管接头在拧紧前应与管道保证对中;
d) 扩口管接头装配前,对扩口的密封面应进行检查,有缺陷的扩口应予修理或报废;
e) 对于非扩口压合型管接头,如管接头制造厂的说明书中规定螺母拧紧圈数,应从用手将螺母拧 紧后开始计算。
10.4.2 填料函接头
用于吸收热膨胀的填料函接头,在承口底部应留有适当的膨胀间隙。
10.4.3 其他形式接头
其他形式的接头连接,诸如铸铁管承插接头、卡箍式连接接头、钎焊接头、粘接接头、胀接接头等的
28
装配和安装应按相关标准、设计文件和制造厂的说明书要求进行。
犌犅/犜20801 .4—2020
10.5 管道预拉伸或预压缩
管道预拉伸或预压缩应符合设计文件规定。进行预拉伸或预压缩前应满足下列要求:
a) 预拉伸或预压缩区域内固定支架间所有焊缝(预拉伸或预压缩口除外)应焊接完毕并经检验合 格。需热处理的焊缝应完成热处理工作。
b) 预拉伸或预压缩区域支、吊架应安装完毕,管子与固定支架应安装牢固。预拉伸或预压缩口附 近的支、吊架应预留足够的调整裕量,支、吊架弹簧应按设计值进行调整,并临时固定,不使弹 簧承受管道载荷。
c) 预拉伸或预压缩区域内的所有连接螺栓应拧紧。
10.6 连接设备的管道
10.6.1 管道与设备的连接应在设备安装定位并紧固地脚螺栓后进行。
10.6.2 对不准许承受附加外荷载的动设备,管道与动设备连接应符合下列规定:
a) 管道与动设备连接前,应在自由状态下检验法兰的平行度和同心度,当设计文件或产品技术文 件无规定时,其允许偏差应符合表12的规定;
表12 法兰平行度、同心度允许偏差
|
机器转速/(r/ min) |
平行度/ mm |
同心度/ mm |
|
<3000 |
≤0.40 |
≤0.80 |
|
3000~6000 |
≤0.15 |
≤0.50 |
|
>6000 |
≤0.10 |
≤0.20 |
b) 管道系统与动设备最终连接时,应在联轴器上架设百分表监视动设备位移。当动设备额定转 速大于6000r/min时,其位移值应小于0.02 mm;当额定转速小于或等于6000r/min时,其 位移值应小于0.05 mm。
10.6.3 大型储罐的管道与泵或其他有独立基础的设备连接,或储罐底部管道沿地面敷设在支架上时, 应注意储罐基础沉降的影响。此类管道应在储罐液压或充水试验后安装;或将储罐接口处法兰在液压 试验且基础初阶段沉降后再连接。
10.6.4 管道试压、吹扫与清洗合格后,应对管道与动设备的接口进行复位检查,其偏差值应符合表12 的规定。
10.7 埋地管道
10.7.1 埋地管道的防腐层应按设计要求在安装前完成。运输和安装时应采取保护措施防止防腐层损 坏。埋地前应进行检查,被损坏的防腐层应及时进行修补。焊缝部位未经检验合格不得作防腐层处理。 10.7.2 埋地管道安装应在支承地基或基础检验合格后进行。支承地基和基础的施工应符合设计文件 和国家现行有关标准的规定。当有地下水或积水时,应采取排水措施。
10.7.3 必要时,应根据设计文件要求采取阴极保护措施。
10.7.4 埋地管道应经防腐层检测和严密性试验,并按隐蔽工程验收,合格后方可回填土。
10.8 夹套管
10.8.1 内管焊缝应经检验及试压合格后,方可装配外管。
29
犌犅/犜20801.4—2020
10.8.2 夹套管焊缝布置应符合下列规定:
a) 直管段环向焊缝的间距,内管应不小于200mm,外管应不小于100 mm;
b) 环向焊缝距管架的净距应不小于100 mm,且不得留在过墙或楼板处;
c) 水平管段外管剖切的纵向焊缝,应置于易检修的部位;
d) 内管焊缝上不得开孔或连接支管段。外管焊缝上应尽量避免开孔或连接支管,否则应符合7.6 d)的规定。
10.8.3 夹套管的连通管安装应符合设计文件的规定。连通管应排放流畅,防止存液,避免堵塞通路。
10.9 阀门
10.9.1 当阀门与管道以法兰或螺纹方式连接时,阀门应在关闭状态下安装。当阀门与管道以焊接方 式连接时,阀门应在开启状态下安装。坡口对接焊缝的底层应采用钨极惰性气体保护电弧焊,且应对阀 门采取防变形措施。
10.9.2 阀门不得强行组对连接或承受外加重力负荷,以防止由于附加应力而损坏阀门。
10.9.3 阀门安装前应按介质流向确定安装方向,手轮位置应易于操作、检查和维修。
10.9.4 安全阀的安装应符合下列规定:
a) 安全阀应垂直安装;
b) 安全阀的出口管道应接向安全地点;
c) 当进出管道上设置切断阀时,应加铅封,且应锁定在全开启状态。
10.9.5 管道试运行前,应及时调校安全阀。安全阀的调校应符合TSGZF001的要求,安全阀最终调 校合格后应铅封,并做好调校记录。
10.10 管道补偿装置
管道补偿装置的安装应符合设计文件、产品技术文件和相关标准的规定。
10.11 支吊架
10.11.1 管道支吊架的安装除应符合10.11.2~10.11.8的规定外,还应符合设计文件和产品技术文件 的规定。
10.11.2 管道安装时,应及时进行支吊架的固定和调整工作。支吊架位置应正确,管子和支承面接触 应良好。
10.11.3 无热位移的管道吊架其吊杆应垂直安装;有热位移的管道吊架,其吊杆应偏置安装。当设计 文件无规定时,吊点应设在位移的相反方向,并按位移值的1/2偏位安装。两根有热位移的管道不得同 时使用同一吊杆。
10.11.4 固定支架应按设计文件的规定安装,并应在补偿装置预拉伸或预压缩前固定。没有补偿装置 的冷、热管道直管段上,不得同时安置两个或两个以上的固定支架。
10.11.5 弹簧支吊架的弹簧安装高度应按设计文件规定进行调整。弹簧支架的临时固定件应待系统 安装、试压、隔热完毕后方可拆除。
10.11.6 支吊架的焊接应由合格焊工施焊,并不得有漏焊、欠焊或焊接裂纹等缺陷。管道与支架焊接 时,管道不得有咬边、烧穿等现象。
10.11.7 从有热位移的主管引出小直径的支管时,支管的支架类型和结构应符合设计要求,并不应限 制主管的位移。
10.11.8 导向支架或滑动支架的滑动面应洁净平整,不得有歪斜和卡涩现象。不得在滑动支架底板处 临时点焊定位。仪表及电气的支撑件不得焊在滑动支架上。
30
犌犅/犜20801 .4—2020
10.12 静电接地
10.12.1 设计有静电接地要求的管道,当每对法兰接头、螺纹接头或其他接头间电阻值大于0.03 Ω时, 应设导线跨接。
10.12.2 管道系统的接地电阻值、接地位置及连接方式应符合设计文件的规定。接地引线宜采用焊接 形式。
10.12.3 设计有静电接地要求的不锈钢管或有色金属管道,导线跨接或接地引线不得与管道直接连 接,应采用同材质连接板过渡。
10.12.4 静电接地安装完毕后,应进行测试,电阻值超过规定时应进行调整。
11 不锈钢和有色金属管道
11 .1 防护基本要求
11 .1.1 不锈钢和有色金属管道组成件的制作和装配应有专门的场地和专用工装,不得与黑色金属制 品或其他产品混杂。工作场所应保持清洁、干燥,严格控制灰尘。
11 .1.2 管道吊装用的钢丝绳、卡扣不得与管道直接接触,应用木板或合适的非金属制品等进行隔离。 制作、安装过程中应避免不锈钢和有色金属管材表面划伤与机械损伤。
11 .1.3 现场交叉安装不锈钢和有色金属管道时,应采取可靠的遮挡防护措施控制不锈钢和有色金属 管道表面的机械损伤以及其他管道切割、焊接时的飞溅物对其造成的污染。
11 .2 不锈钢管道
11 .2.1 安装不锈钢管道时,不得使用可能造成铁离子污染的铁质工具。
11 .2.2 不锈钢焊件坡口两侧各100 mm范围内,在施焊前应采取防止焊接飞溅物沾污焊件表面的 措施。
11 .2.3 不锈钢管道焊缝或管道组成件应按设计文件要求进行酸洗、钝化处理。酸洗后的不锈钢表面 不得有残留酸洗液,不得有颜色不均匀的斑痕。钝化后应用水冲洗,呈中性后擦干水迹。
11 .3 铝及铝合金管道
11 .3.1 可根据接头形式、焊接位置及工况条件,在焊缝背面加临时垫环或永久性垫环。加垫环的焊接 接头应内壁齐平。
11 .3.2 永久性垫环的材质应符合设计规定,垫环表面应清洁且无划伤、碰伤,装配时应避免表面机械 损伤。临时垫环应采用对焊缝质量无不良影响的材质。
11 .4 铜及铜合金管道
11.4.1 扩口翻边连接的铜管应保持同轴,当公称直径小于或等于50 mm时,其允许偏差应不大于
1 mm;当公称直径大于50 mm时,其允许偏差应不大于2 mm。
11 .4.2 螺纹连接的管子,螺纹部分应涂刷石墨甘油。
11 .5 镍及镍合金管道
11 .5.1 管道制作、安装时,不得使用可能造成铁离子污染的铁质工具,应使用不锈钢制工具和专用砂 轮片。焊接时坡口两侧的防护应符合11.2.2的规定。
11 .5.2 管道连接使用的卡具不宜直接焊在管道上,否则卡具材质应与管道成分相近。卡具的拆除应 用砂轮磨削,不得采用敲打、掰扭等方法。
31
犌犅/犜20801.4—2020
11 .5 .3 焊接时应严格控制焊接热输入和层间温度,防止接头过热。对于小直径的管子,焊接中宜采取 在焊缝两侧加装冷却铜块或用湿布擦拭焊缝两侧等措施,减少焊缝在高温的停留时间,增加焊缝的冷却 速度。
11 .6 钛及钛合金管道
11.6.1 扩口翻边应尽量加热到300 ℃~400 ℃时进行,翻边不应出现裂口、拉痕、划伤、缩颈等缺陷。
11 .6 .2 管道与支吊架、支座或钢结构之间应垫入合适的非金属制品或其他对钛无害的材料。
11 .6 .3 施焊前和焊接过程中应防止坡口污染。每焊完一道焊缝都应进行焊道表面颜色检查。表面颜 色不合格者,应立即除去,然后重焊。表面颜色检查参照相关标准执行。
12 管道清理、吹扫和清洗
12.1 一般规定
12.1.1 管道清理、吹扫和清洗(以下简称“吹洗”)应考虑管道制作、装配、存放、安装和检验、检查、试验 期间造成的污染和腐蚀产物对管道使用的影响。
12.1.2 对于强氧化性流体(如氧或氟)管道,应在管道装配后、安装前分段或单件进行脱脂,包括所有 组成件与流体接触的表面均应脱脂。应避免残存的脱脂介质与氧气形成危险的混合物。
12.1.3 低温使用的管道应吹扫清除系统中的油、脂、水气,避免阀门的冻结、管道或小孔的堵塞。
12.1.4 带控制点的工艺流程图和设计施工图上应标明吹扫、清洗管道的预留位置。吹扫、清洗方案应 在管道安装之前提出。
12.1.5 吹洗方法应根据管道的使用要求、工作介质及管道内表面的脏污程度确定,并应符合下列 规定:
a) 公称直径大于或等于600 mm的液体或气体管道宜采用人工清理;
b) 公称直径小于600 mm的液体管道宜采用水冲洗;
c) 公称直径小于600 mm的气体管道宜采用空气吹扫;
d) 蒸汽管道应采用蒸汽吹扫,非热力管道不得采用蒸汽吹扫;
e) 有特殊要求的管道应按设计文件规定采用相应的吹洗方法。
12.1.6 管道吹洗前,不应安装孔板以及法兰或螺纹连接的调节阀、重要阀门、节流阀、安全阀、仪表等。 焊接连接阀门和仪表应采取流经旁路或卸掉阀芯,并对阀座加保护套等保护措施。
12.1.7 不准许吹洗的设备及管道应与吹洗系统隔离。
12.1.8 管道系统的吹洗应确保安全,业主方和设计方应提供吹洗工作所需要的安全环境和安全操作 技术要求。清理、冲洗或吹扫所用的介质不宜采用易燃、有毒的流体,当不可避免时,应制定专门的预防 措施,且符合下列要求:
a) 液体应排放到安全的收集点,气体排放应选择安全的露天地点;
b) 易燃气体、液体的排放应远离火源和人员;
c) 应对吹洗工作区域进行隔离,并在其四周设置警戒标识,对进入人员进行管控。
12.1.9 已清理、吹扫或清洗干净的管道组成件、装配管段或整个管道系统应及时采取封闭管口或充氮 保护等措施防止再污染。
12.1.10 管道清理、吹扫和清洗的质量检验和验收应符合相关标准及设计文件的规定。
12.2 水冲洗
管道水冲洗时应使用洁净水。冲洗奥氏体不锈钢管道时,水中氯离子含量不得超过50 mg/L。
32
犌犅/犜20801 .4—2020
12.3 空气吹扫
空气吹扫时的吹扫压力不得超过容器和管道的设计压力。
12.4 蒸汽吹扫
12.4.1 蒸汽吹扫前,应先行暖管、及时排水,并应检查管道热位移。蒸汽吹扫应按加热—冷却—再加 热的顺序循环进行。吹扫时管道附近不得放置易燃物。
12.4.2 蒸汽吹扫用的临时管道应按蒸汽管道的技术要求安装,吹扫时应设置禁区。
12.5 化学清洗
12.5.1 操作人员应穿专用防护服装,并应根据不同清洗液对人体的危害,佩戴护目镜、防毒面具等防 护用具。
12.5.2 清洗液的配方应经过鉴定,并曾在生产装置中使用过,经实践证明是有效可靠的。
12.5.3 化学清洗后的废液处理和排放应符合环境保护的规定。
33
犌犅/犜20801.4—2020
附 录 犃 (资料性附录) 管道封闭口装配错口偏差评估方法
犃.1 范围
本附录提出了对管道封闭口装配的错口偏差进行定量评估的基本方法,适用于管道系统的首次安 装,也适用于管道的常规维护。
本附录基于封闭口两端管道的柔度,对管道封闭口错口偏差进行评估。
犃.2 管道错口偏差评估方法
犃.2.1 应变敏感性管道最终封闭口的装配要求见表A.1,适用于与泵机、小型透平机、压缩机等传动机 械,以及与需要进行管道应力分析的容器和储罐的接管相连接的管道系统。非应变敏感性管道最终封 闭口的装配要求见表A.2。
犃.2.2 管道封闭点安装时,如果横向和轴向的自由管段长度大于表A.1或表A.2规定的最小装配管道 长度,则允许通过冷拉调整的方法进行对口。否则,该管道应重新装配或进行技术评估。
表犃.1 应变敏感管道的允许错口值
|
公称直径/ mm |
管道组对时的允许错口值/ mm | ||||||||||||||||||||||||||
|
2.5 |
5 |
7.5 |
10 |
12.5 |
15 |
17.5 |
20 |
22.5 |
25 |
30 |
35 |
40 |
45 |
50 | |||||||||||||
|
应变敏感管道的最小管道总长 |
/m | ||||||||||||||||||||||||||
|
15 |
1 |
.7 |
2 |
4 |
2 |
.9 |
3. |
4 |
3. |
7 |
4 |
.1 |
4 |
4 |
4. |
8 |
5.0 |
5 |
.3 |
5.8 |
6.3 |
6.7 |
7.1 |
7.5 | |||
|
20 |
1 |
.9 |
2 |
7 |
3 |
.2 |
3. |
7 |
4. |
2 |
4 |
.6 |
5 |
0 |
5. |
3 |
5.6 |
5 |
.9 |
6.5 |
7.0 |
7.5 |
8.0 |
8.4 | |||
|
25 |
2 |
.1 |
3 |
0 |
3 |
.6 |
4. |
2 |
4. |
7 |
5 |
.2 |
5 |
5 |
5. |
9 |
6.3 |
6 |
.6 |
7.3 |
7.8 |
8.4 |
8.9 |
9.4 | |||
|
40 |
2 |
.5 |
3 |
6 |
4 |
.4 |
5. |
0 |
5. |
6 |
6 |
.2 |
6 |
7 |
7. |
1 |
7.6 |
8 |
.0 |
8.7 |
9.4 |
10.1 |
10.7 |
11 |
.3 | ||
|
50 |
2 |
.8 |
3 |
1 |
4 |
.9 |
5. |
6 |
6. |
3 |
6 |
.9 |
7 |
5 |
8. |
0 |
8.4 |
8 |
.9 |
9.8 |
10.5 |
11.3 |
11.9 |
12 |
.6 | ||
|
65 |
3 |
.1 |
4 |
4 |
5 |
.4 |
6. |
2 |
6. |
9 |
7 |
.6 |
8 |
2 |
8. |
8 |
9. |
3 |
9 |
.8 |
10 |
.7 |
11.6 |
12.4 |
13.2 |
13 |
.9 |
|
75 |
3 |
.4 |
4 |
8 |
5 |
.9 |
7. |
1 |
7. |
7 |
8 |
.4 |
9 |
1 |
9. |
7 |
10. |
3 |
10.8 |
11 |
.9 |
12.8 |
13.7 |
14.5 |
15 |
.3 | |
|
100 |
3 |
.9 |
5 |
5 |
6 |
.7 |
7. |
8 |
8. |
7 |
9 |
.5 |
10.3 |
11 |
.0 |
11. |
6 |
12.3 |
13 |
.4 |
14.5 |
15.5 |
16.5 |
17 |
.3 | ||
|
150 |
4 |
.7 |
6 |
6 |
8 |
.1 |
9. |
4 |
10 |
.5 |
11.5 |
12.5 |
13 |
.3 |
14. |
1 |
14.9 |
16 |
.3 |
17.6 |
18.8 |
20.0 |
21 |
.1 | |||
|
200 |
5 |
.4 |
7 |
6 |
9 |
.3 |
10 |
.7 |
12 |
.1 |
13.2 |
14.2 |
15 |
.2 |
16. |
1 |
17.0 |
18 |
.6 |
20.1 |
21.5 |
22.8 |
24 |
.0 | |||
|
250 |
6 |
.0 |
8 |
5 |
10.4 |
12 |
.0 |
13 |
.4 |
14.7 |
15.8 |
16 |
.9 |
18. |
0 |
19.0 |
20 |
.8 |
22.4 |
24.0 |
25.5 |
26 |
.8 | ||||
|
300 |
6 |
.5 |
9 |
2 |
11.3 |
13 |
.0 |
14 |
.6 |
16.0 |
17.3 |
18 |
.5 |
19. |
6 |
20.6 |
22 |
.6 |
24.4 |
26.1 |
27.7 |
29 |
.2 | ||||
|
350 |
6 |
.8 |
9 |
7 |
11.9 |
13 |
.7 |
15 |
.3 |
16.8 |
18.1 |
19 |
.4 |
20. |
5 |
21.6 |
23 |
.7 |
25.6 |
27.4 |
29.0 |
30 |
.5 | ||||
|
400 |
7 |
.3 |
10.3 |
12.7 |
14 |
.6 |
16 |
.4 |
17.9 |
19.4 |
20 |
.7 |
21. |
9 |
23.1 |
25 |
.3 |
27.4 |
29.3 |
31.1 |
32 |
.6 | |||||
|
450 |
7 |
.8 |
11.0 |
13.4 |
15 |
.5 |
17 |
.3 |
19.0 |
20.5 |
21 |
.9 |
23. |
3 |
24.5 |
26 |
.9 |
29.0 |
31.1 |
32.9 |
34 |
.7 | |||||
|
500 |
8 |
.2 |
11.6 |
14.2 |
16 |
.4 |
18 |
.3 |
20.0 |
21.6 |
23 |
.1 |
24. |
5 |
25.9 |
28 |
.3 |
30.5 |
32.6 |
34.7 |
36 |
.6 | |||||
34
表A.1 (续)
GB/T 20801.4—2020
|
公称直径/mm |
管道组对时的允许错口值/mm | ||||||||||||||
|
2.5 |
5 |
7.5 |
10 |
12.5 |
15 |
17.5 |
20 |
22.5 |
25 |
30 |
35 |
40 |
45 |
50 | |
|
应变敏感管道的最小管道总长/m | |||||||||||||||
|
550 |
8.6 |
12.1 |
14.8 |
17.2 |
19.2 |
21.0 |
22.7 |
24.3 |
25.7 |
27.1 |
29.7 |
32.0 |
34.4 |
36.3 |
38.4 |
|
600 |
9.0 |
12.7 |
15.5 |
17.9 |
20.0 |
21.9 |
23.7 |
25.3 |
26.9 |
28.3 |
31.1 |
33.5 |
36.0 |
38.1 |
39.9 |
|
650 |
9.3 |
13.2 |
16.2 |
18.7 |
20.8 |
22.8 |
24.7 |
26.4 |
28.0 |
29.5 |
32.3 |
34.7 |
37.2 |
39.6 |
41.8 |
|
700 |
9.7 |
13.7 |
16.8 |
19.4 |
21.6 |
23,7 |
25.6 |
27.4 |
29.0 |
30.5 |
33.5 |
36.3 |
38.7 |
41.1 |
43.3 |
|
750 |
10.0 |
14.2 |
17.3 |
20.0 |
22.4 |
24.5 |
26.5 |
28.3 |
30.1 |
31.7 |
34.7 |
37.5 |
39.9 |
42.4 |
44.8 |
|
注:表中所示错口偏差值和最小装配管道长度可用内插法求得。 | |||||||||||||||
表A.2非应变敏感管道的允许错口值
|
公称直径/ mm |
管道组对吋的允许错口值/mm | ||||||||||||||
|
2.5 |
5 |
7.5 |
10 |
12.5 |
15 |
17.5 |
20 |
22.5 |
25 |
30 |
35 |
40 |
45 |
50 | |
|
应变敏感管道的最小管道总长/m | |||||||||||||||
|
15 |
1.2 |
1.7 |
2.0 |
2.4 |
2.7 |
2.9 |
3.1 |
3.4 |
3.6 |
3.7 |
4.1 |
4.4 |
4.8 |
5.0 |
5.3 |
|
20 |
1.3 |
1.9 |
2.3 |
2.7 |
3.0 |
3.2 |
3.5 |
3.7 |
4.0 |
4.2 |
4.6 |
5.0 |
5.3 |
5.6 |
5.9 |
|
25 |
1.5 |
2.1 |
2.6 |
3.0 |
3.3 |
3.6 |
3.9 |
4.2 |
4.5 |
4.7 |
5.2 |
5.5 |
5.9 |
6.3 |
6.6 |
|
40 |
1.8 |
2.4 |
3.1 |
3.6 |
4.0 |
4.3 |
4.7 |
5.0 |
5.3 |
5.6 |
6.1 |
6.7 |
7.1 |
7.6 |
7.9 |
|
50 |
2.0 |
2.8 |
3.4 |
1.0 |
4.5 |
4.9 |
5.3 |
5.6 |
6.0 |
6.3 |
6.9 |
7.5 |
8.0 |
8.4 |
8.9 |
|
65 |
2.2 |
3.1 |
3.8 |
4.4 |
4.9 |
5.4 |
5.8 |
6.2 |
6.6 |
6.9 |
7.6 |
8.2 |
8.8 |
9.3 |
9.8 |
|
75 |
2.4 |
3.4 |
4.2 |
4.8 |
5.4 |
5.9 |
6.4 |
6.8 |
7.3 |
7.7 |
8.4 |
9.1 |
9.7 |
10.3 |
10.8 |
|
100 |
2.7 |
3.9 |
4.8 |
5.5 |
6.1 |
6.7 |
7.3 |
7.8 |
8.2 |
8.7 |
9.5 |
10.3 |
11.0 |
11.6 |
12.3 |
|
150 |
3.3 |
4.7 |
5.8 |
6.6 |
7.4 |
8.1 |
8.8 |
9.4 |
10.0 |
10.5 |
11.3 |
12.5 |
13.3 |
14.0 |
14.9 |
|
200 |
3.8 |
5.4 |
6.6 |
7.6 |
8.5 |
9.3 |
10.1 |
10.7 |
11.4 |
12.0 |
13.2 |
14.2 |
15.2 |
16.1 |
17.0 |
|
250 |
4.2 |
6.0 |
7.3 |
8.5 |
9.5 |
10.4 |
11.2 |
11.9 |
12.7 |
13.4 |
14.7 |
15.8 |
16.9 |
18.0 |
19.0 |
|
300 |
4.6 |
6.5 |
8.0 |
9.2 |
10.3 |
11.3 |
12.2 |
13.0 |
13.8 |
14.6 |
16.0 |
17.3 |
18.5 |
19.5 |
20.6 |
|
350 |
4.8 |
6.9 |
8.4 |
9.7 |
10,8 |
11,9 |
12.8 |
13.7 |
14.5 |
15.3 |
16.8 |
18.1 |
19.4 |
20.4 |
21.6 |
|
400 |
5.2 |
7.3 |
9.0 |
10.3 |
11.6 |
12.7 |
13.7 |
14.6 |
15.5 |
16.4 |
17.9 |
19.4 |
20.7 |
21.9 |
23.1 |
|
450 |
5.5 |
7.8 |
9.5 |
11.0 |
12.3 |
13.4 |
14.5 |
15.5 |
16.5 |
17.3 |
19.0 |
20.5 |
21.9 |
23.3 |
24.5 |
|
500 |
5.8 |
8.2 |
10.0 |
11.6 |
12.9 |
14.2 |
15.3 |
16.4 |
17.3 |
18.3 |
20.0 |
21.6 |
23.1 |
24.5 |
25.9 |
|
550 |
6.1 |
8.6 |
10.5 |
12.1 |
13.6 |
14,8 |
16.0 |
17.2 |
18.2 |
19.2 |
21.0 |
23.3 |
24.3 |
25.7 |
27.1 |
|
600 |
6.3 |
9.0 |
11.0 |
12.7 |
14.1 |
15,5 |
16.8 |
17.9 |
19.0 |
20.0 |
21.9 |
23.7 |
25.3 |
26.9 |
28.3 |
|
650 |
6.6 |
9.3 |
11.4 |
13.2 |
14.8 |
16.2 |
17/1 |
18.7 |
19.8 |
20.8 |
22.8 |
24.7 |
26.4 |
28.0 |
29.5 |
|
700 |
6.8 |
9.7 |
11.9 |
13.7 |
15.3 |
16.8 |
18.2 |
18.7 |
20.5 |
21.6 |
23.7 |
25.6 |
27.4 |
29.0 |
30.5 |
|
750 |
7.1 |
10.0 |
12.3 |
14.2 |
15.8 |
17.3 |
18.7 |
20.0 |
21.2 |
22.4 |
24.5 |
26.5 |
28.3 |
30.1 |
31.7 |
|
注:表中所示错口偏差值和最小装配管道K度可用内插法求得。 | |||||||||||||||
35
犌犅/犜20801 .4—2020
犃.3 示例
图A.1所示为一条两个设备之间的管道系统,在最终封闭口处有犡、犢、犣三个方向的错口偏差值, 分别为12.5 mm、20 mm、10 mm。在两设备之间的管道共有8个管段:
犡方向的管段:2个,总长度=7+10=17(m)。
犢方向的管段:2个,总长度=2+3=5(m)。
犣方向的管段:4个,总长度=1+12+1.5+3=17.5(m)。
垂直于错口Δ犡方向的管段为犢、犣方向的管段6个(4+2),总长度=17.5+5=22.5(m)。
垂直于错口Δ犢方向的管段为犡、犣方向的管段6个(2+4),总长度=17+17.5=34.5(m)。
垂直于错口Δ犣方向的管段为犡、犢方向的管段4个(2+2),总长度=17+5=22(m)。
封闭点对中偏差 AX=I2. 5 mm, ΛF=20 mm ΛZ= 10 mιτι
图犃.1 示例图
该最终封闭口的错口偏差值分别按如下方法进行评估:
a) 对于12.5 mm的Δ犡错口:
垂直于错口Δ犡方向的有6个管段,它们的总长度是22.5m(6个管段的总长);在表A.1中查 到DN250管道Δ犡方向错口偏差值为12.5 mm时,要求的最小装配管道长度是13.4 m。由 于实际装配管道总长度大于此值,故Δ犡方向错口偏差值12.5mm是可以接受的。
b) 对于20 mm的Δ犢错口:
垂直于错口Δ犢方向的有4个管段,它们的总长度是34.5m(6个管段的总长);在表A.1中查 到DN250管道Δ犢方向错口偏差值为20mm时,要求的最小装配管道长度是16.9mm。由于 实际装配管道总长度大于此值,故Δ犢方向错口偏差值20mm是可以接受的。
c) 对于10 mm的Δ犣错口:
垂直于错口Δ犣方向的有4个管段,它们的总长度是22m(4个管段的总长);在表A.1中查到 DN250管道Δ犣方向错口偏差值为10 mm时,要求的最小装配管道长度是12 m。由于实际 装配管道总长度大于此值,故Δ犣方向错口偏差值10mm是可以接受的。
通过计算和比对,由于所有方向的错口偏差值都在允差范围之内,故这条管道可以通过冷拉 对正。
36
犌犅/犜20801 .4—2020
犃.4 法兰接头偏转偏差评估方法
犃.4.1 管道最终封闭口采用法兰连接装配时,除A.2所列的错口偏差外,还可能存在法兰接头偏转偏 差,即由于两个法兰之间的不平行度而产生的外缘间隙,如图A.2所示。该偏转偏差将消耗部分螺栓 的预紧载荷,降低垫片的预紧载荷。
犃.4.2 管道最终封闭口采用法兰连接的装配要求见表A.3。
图犃.2 法兰接头组对时的允许间隙
表犃.3 法兰接头组对时的允许间隙
|
最小轴向间距 犔/ mm |
DN | ||||||||||||||||||||
|
15 |
20 |
25 |
40 |
50 |
80 |
100 |
150 |
200 |
250 |
300 | |||||||||||
|
允许间隙/ mm | |||||||||||||||||||||
|
250 |
2 |
3 |
2 |
.1 |
1.8 |
1 |
5 |
1 |
.4 |
1 |
2 |
1 |
.1 |
0.94 |
0.89 |
0.84 |
0.84 | ||||
|
350 |
3 |
3 |
2 |
.9 |
2.5 |
2 |
1 |
2 |
.0 |
1 |
7 |
1 |
.6 |
1 |
3 |
1 |
.2 |
1.2 |
1. |
2 | |
|
450 |
4 |
2 |
3 |
.7 |
3.3 |
2 |
7 |
2 |
.5 |
2 |
2 |
2 |
.0 |
1 |
7 |
1 |
.6 |
1. |
5 |
1. |
5 |
|
550 |
5 |
2 |
4 |
.6 |
4.0 |
3 |
3 |
3 |
.1 |
2 |
6 |
2 |
.5 |
2 |
1 |
1 |
.9 |
1. |
8 |
1. |
8 |
|
650 |
6 |
1 |
5 |
.4 |
4.7 |
3 |
8 |
3 |
.7 |
3 |
1 |
2 |
.9 |
2 |
4 |
2 |
.3 |
2. |
2 |
2. |
2 |
|
750 |
7 |
0 |
6 |
.2 |
5.4 |
4 |
4 |
4 |
.2 |
3 |
6 |
3 |
.4 |
2 |
8 |
2 |
.6 |
2. |
5 |
2. |
5 |
|
850 |
8 |
0 |
7 |
.1 |
6.2 |
5 |
0 |
4 |
.8 |
4 |
1 |
3 |
.8 |
3 |
2 |
3 |
.0 |
2. |
8 |
2. |
8 |
|
950 |
8 |
9 |
7 |
.9 |
6.9 |
5 |
6 |
5 |
.4 |
4 |
6 |
4 |
.3 |
3 |
5 |
3 |
.4 |
3. |
2 |
3. |
2 |
|
1050 |
9 |
9 |
8 |
.7 |
7.6 |
6 |
2 |
6 |
.0 |
5 |
1 |
4 |
.7 |
3 |
9 |
3 |
.7 |
3. |
5 |
3. |
5 |
|
1150 |
10.8 |
9 |
.6 |
8.4 |
6 |
8 |
6 |
.5 |
5 |
5 |
5 |
.2 |
4 |
3 |
4 |
.0 |
3. |
8 |
3. |
8 | |
|
1250 |
11.8 |
10.4 |
9.1 |
7 |
4 |
7 |
.1 |
6 |
0 |
5 |
.6 |
4 |
6 |
4 |
.4 |
4. |
2 |
4. |
2 | ||
|
1350 |
12.7 |
11.3 |
9.8 |
8 |
0 |
7 |
.7 |
6 |
5 |
5 |
.9 |
5 |
0 |
4 |
.8 |
4. |
5 |
4. |
5 | ||
|
1450 |
13.7 |
12.1 |
10.5 |
8 |
6 |
8 |
.2 |
7 |
0 |
6 |
.5 |
5 |
4 |
5 |
.1 |
4. |
9 |
4. |
9 | ||
|
1550 |
14.6 |
12.9 |
11.3 |
9 |
2 |
8 |
.8 |
7 |
5 |
7 |
.0 |
5 |
8 |
5 |
.4 |
5. |
2 |
5. |
2 | ||
|
1650 |
15.6 |
13.8 |
12.0 |
9 |
8 |
9 |
.4 |
8 |
0 |
7 |
.4 |
6 |
1 |
5 |
.8 |
5. |
5 |
5. |
5 | ||
|
1750 |
16.6 |
14.6 |
12.8 |
10.4 |
9 |
.9 |
8 |
4 |
7 |
.8 |
6 |
5 |
6 |
.1 |
5. |
8 |
5. |
8 | |||
|
1850 |
17.5 |
15.5 |
13.5 |
10.9 |
10.5 |
8 |
9 |
8 |
.3 |
6 |
9 |
6 |
.5 |
6. |
2 |
6. |
2 | ||||
|
1950 |
18.5 |
16.3 |
14.2 |
11.6 |
11.1 |
9 |
4 |
8 |
.8 |
7 |
3 |
6 |
.9 |
6. |
5 |
6. |
5 | ||||
|
2050 |
19.5 |
17.2 |
15.0 |
12.1 |
11.6 |
9 |
9 |
9 |
.2 |
7 |
6 |
7 |
.2 |
6. |
9 |
6. |
8 | ||||
|
2150 |
20.4 |
18.0 |
15.7 |
12.8 |
12.2 |
10.3 |
9 |
.7 |
8 |
0 |
7 |
.5 |
7. |
2 |
7. |
2 | |||||
37
犌犅/犜20801.4—2020
表犃.3(续)
|
最小轴向间距 犔/ mm |
DN | ||||||||||||||||
|
15 |
20 |
25 |
40 |
50 |
80 |
100 |
150 |
200 |
250 |
300 | |||||||
|
允许间隙/ mm | |||||||||||||||||
|
2250 |
21.4 |
18 |
.9 |
16.4 |
13 |
.3 |
12 |
.8 |
10.8 |
10.1 |
8.4 |
7 |
9 |
7 |
.5 |
7 |
.5 |
|
2350 |
22.4 |
19 |
.7 |
17.2 |
13 |
.9 |
13 |
.4 |
11.3 |
10.6 |
8.7 |
8 |
3 |
7 |
.8 |
7 |
.8 |
|
2450 |
23.4 |
20 |
.6 |
17.9 |
14 |
.5 |
13 |
.9 |
11.8 |
11.0 |
9.0 |
8 |
6 |
8 |
.2 |
8 |
.2 |
|
2550 |
24.4 |
21 |
.4 |
18.7 |
15 |
.1 |
14 |
.5 |
12.3 |
11.5 |
9.5 |
9 |
0 |
8 |
.5 |
8 |
.5 |
|
2650 |
25.5 |
22 |
.4 |
19.4 |
15 |
.7 |
15 |
.1 |
12.8 |
11.9 |
9.9 |
9 |
3 |
8 |
.9 |
8 |
.9 |
|
2750 |
26.4 |
23 |
.2 |
20.1 |
16 |
.3 |
15 |
.6 |
13.2 |
12.3 |
10.3 |
9 |
7 |
9 |
.2 |
9 |
.2 |
注:表中所示允许间隙值为扣除法兰凸台高度及密封垫厚度后,由两个法兰之间的不平行度而产生的外缘间隙。
38
GB/T 20801.4—2020
附 录 犅 (资料性附录) 法兰接头螺栓拧紧方法和安装目标载荷
B.1总则
本附录规定了法兰连接的拧紧方法,以获得均布的螺栓预紧载荷,减小法兰偏转变形。
B.2螺栓(扭矩控制)拧紧方法
B.2.1十字交叉法
B.2.1.1在法兰上对预紧螺栓进行编号。可按图B.la)时针顺序编号体系(传统方法)或按图BIb)对 称交叉编号体系进行编号。螺栓拧紧顺序按照对称交叉进行。具体操作如下:
a)按时针顺序编号体系(传统方法)对螺栓位置进行编号,则拧紧顺序按照1-7-4-10 ; 2-8-5-11 ; 3-9-6-12;
b)按对称交叉方法对螺栓位置进行编号,则拧紧顺序按照螺栓编号进行,如-234 ; 5-6-7-8 ; 9-10-11-12。
B.2.1.2用短扳手或人工转动螺母与法兰表面接触,每个螺栓端部伸出螺母的螺纹个数相等。检查沿 法兰圆周的间隙应均匀。
B.2.1.3按十字交叉拧紧的方法,拧紧螺栓至30%的安装目标载荷。检查沿法兰圆周的间隙应均匀。
B.2.1.4重复B.2.1.3,拧紧螺栓至70%的安装目标载荷。检查沿法兰圆周的间隙应均匀。
B.2.1.5重复B.2.1.3,拧紧螺栓至100%的安装目标载荷。检查沿法兰圆周的间隙应均匀。
B.2.1.6按时针顺序,用100%的安装目标载荷依次拧紧螺栓。检查所有螺母无松动。
B.2.2修正方法
B.2.2.1按B.2.1.1进行编号。十字交叉位置4个螺栓为一组。
B.2.2.2按十字交叉顺序,拧紧第一组螺栓至30%的安装目标载荷。检查沿法兰圆周的间隙应均匀。
B.2.2.3按十字交叉顺序,拧紧第二组螺栓至70%的安装目标载荷。检查沿法兰圆周的间隙应均匀。
B.2.2.4按十字交叉顺序,拧紧剩余组螺栓至100%的安装目标载荷。检查沿法兰圆周的间隙应均匀。
B.2.2.5按十字交叉顺序,拧紧所有螺栓至100%的安装目标载荷。检查沿法兰圆周的间隙应均匀。
B.2.2.6按时针顺序,用100%的安装目标载荷依次拧紧螺栓。检查所有螺母无松动。
B.2.3其他
大直径法兰应考虑增加拧紧的次数。
B.3螺栓(拉伸控制)拧紧方法
B.3.1拉伸装置的数量宜为4的倍数。
B.3.2图B.2所示为50%〜50%紧固方法,其中载荷A大于载荷犅。加载分三次进行: a)第1次加载,拉伸拧紧50%的螺栓(如1、2、3、4)至规定载荷A;
39
犌犅/犜20801 .4—2020
b) 第2次加载,拉伸拧紧剩余50%的螺栓(如5、6、7、8)至规定载荷犅;
c) 第3次加载确认,拉伸拧紧第1次加载的50%的螺栓(如1、2、3、4)至规定载荷犅。
犅.4 螺栓安装目标载荷
犅.4 .1 安装扭矩
螺栓安装扭矩应符合下列规定:
a) 螺栓的目标安装扭矩可按式(B.1)计算:
犕=犓×犇×犉 …………………………(B.1)
式中:
犕———目标安装扭矩,单位为牛顿米(N ·m);
犓———螺母系数,是由实验确定的无量纲系数,常用低合金钢螺栓,如42CrMo(B7),初次拧紧
的常温螺母系数为0.16~0.23;
犇———螺栓名义直径,单位为米(m);
犉———螺栓的安装目标载荷/力,单位为牛顿(N)。
b) 螺栓的目标拉伸载荷(力)可参照表B.1确定或采用经实践证明可靠的设计方法进行计算。
犅.4 .2 螺栓的目标预紧力
螺栓的目标预紧力应符合下列规定:
a) 表B.1为基于螺栓根径截面积,以常用低合金钢螺栓42CrMoA(B7)为基准,设定螺栓安装应 力为350 MPa时单个螺栓的安装目标力的参考值;
b) 当采用其他材料的螺栓时,可按材料的屈服强度或设定螺栓安装应力进行换算,增加或减少;
c) 螺栓的安装目标应力一般不超过螺栓材料屈服强度的70%,特殊情况下超过此范围时,需经 过安全评估合格;
d) 表B.1值应用于低压小直径法兰接头以及大直径法兰接头等,应确认垫片具有足够的强度,法 兰变形不超过标准规定,否则应安全评估合格。
犪) 时针顺序编号
犫) 对称交叉编号
40
图犅.1 十字交叉顺序拧紧
A
图B.2拉伸控制拧紧
表B.1螺栓的安装目标力(螺栓安装应力350 MPa)
GB/T 20801.4—2020
|
螺栓尺寸 |
根径面积/mr√ |
螺栓安装力/(N/个) |
|
M14×2 |
102.1 |
35 735 |
|
M16X2 |
141 |
49 350 |
|
M2O×2.5 |
220.4 |
77 140 |
|
M24X3 |
317.3 |
111 055 |
|
M27X3 |
419.1 |
146 685 |
|
M30X3 |
535 |
187 250 |
|
M33×3 |
665.1 |
232 785 |
|
M3β×3 |
809.3 |
283 255 |
|
M39X3 |
976.6 |
341 810 |
|
M42×3 |
1 140 |
399 OOO |
|
M45×3 |
1 327 |
464 450 |
|
M48×3 |
1 527 |
534 450 |
|
M52×3 |
1 817 |
635 950 |
|
M5β×3 |
2 132 |
746 200 |
|
M64X3 |
2 837 |
992 950 |
|
M7O×3 |
3 432 |
1 201 200 |
|
M7β×3 |
4 083 |
1 429 050 |
|
M82×3 |
4 791 |
1 676 850 |
|
M90X3 |
5 822 |
2 037 700 |
|
M95×3 |
6 518 |
2 281 300 |
|
M100X3 |
7 253 |
2 538 550 |