UDC
中华人民共和国行业标准
P
JGJ/T 141 -2017
备案号J 363-2017
通风管道技术规程
Technical specification for air duct
2017-03-23 发布
2017 -09 - 01 实施
中华人民共和国住房和城乡建设部 发布
中华人民共和国行业标准
通风管道技术规程
Technical specification for air duct
JGJ/T 141 -2017
批准部门:中华人民共和国住房和城乡建设部
施行日期:2 0 1 7年9月1日
中国建筑工业出版社
2017北京
中华人民共和国住房和城乡建设部 公 告
第1504号
住房城乡建设部关于发布行业标准 《通风管道技术规程》的公告
现批准《通风管道技术规程》为行业标准,编号为JGJ/T 141-2017,自2017年9月1日起实施。原《通风管道技术规 程》JGJ 141 - 2004同时废止。
本规程由我部标准定额研究所组织中国建筑工业出版社出版 发行。
中华人民共和国住房和城乡建设部
2017年3月23日
3
前 言
根据住房和城乡建设部《关于印发<2014年工程建设标准 规范制订、修订计划〉的通知》,(建标[2013] 169号)的要 求,编制组经深入调查研究,认真总结国内外的实践经验,并在 广泛征求意见的基础上,编制了本规程。
本规程的主要内容是:1总则;2基本规定;3风管制作; 4风管安装;5风管检验。
本规程修订的主要技术内容是:1∙补充和完善了通风管道 新的材料种类及制作技术要求;2.按照现行国家标准《建筑材 料及制品燃烧性能分级》GB 8624的规定要求,对非金属' 复合 材料风管的燃烧性能进行了界定;3.结合现行国家标准《通风 与空调工程施工质量验收规范》GB 50243通风系统压力分类, 给出了在规定压力下通风管道漏风量等级的概念,为不同使用要 求的通风管道制作提供了更适宜的漏风量要求;4.通过试验验 证增加了薄钢板法兰风管法兰的加固方法及彩钢板风管支吊架间 距;5.附录A提高了金属风管管壁变形量的控制标准;6.对附 录B风管系统漏风量测试方法进行了修订;7.增加了附录C插 入损失测试方法。
本规程由住房和城乡建设部负责管理,由中国安装协会负责 具体技术内容的解释。执行过程中如有意见或建议,请寄送中国 安装协会(地址:北京市西城区月坛南街26号,邮政编码: 100825)。
本规程主编单位:中国安装协会
北京市设备安装工程集团有限公司
本规程参编单位:上海市安装工程集团有限公司 广州市机电安装有限公司
4
中国建筑科学研究院建筑环境与节能 研究院
北京住总建设安装工程有限责任公司 广东省工业设备安装有限公司
中国电子系统工程第二建设有限公司 陕西建工安装集团有限公司
中建三局第一建设工程有限责任公司 江苏扬安集团有限公司
河北空调工程安装有限公司
解放军96608部队
公安部四川消防研究所
福建天利高新材料有限公司
欧文斯科宁(中国)投资有限公司
浙江天仁风管有限公司
四川新木通风设备有限公司
圣戈班依索维尔(中国)有限公司
佛山市南海力丰机床有限公司 天津永明昊机电工程有限公司
| 本规程主要起草人员:连淳 | 唐忠赤 | 刘元光 | 陈昭平 | 
| 陈晓文 | 何伟斌 | 李效禹 | 刘昕 | 
| 赵艳文 | 梁中文 | 胡春林 | 尹奎 | 
| 许升庆 | 康健 | 林来豫 | 赵成刚 | 
| 吕本峰 | 田辉 | 支亮 | 黄闰 | 
| 刘先桥 | 黄元亮 | 王建东 | |
| 本规程主要审查人员:罗继杰 | 刘政 | 屈国伦 | 张杰 | 
| 宋孝春 | 秦贵平 | 孟庆礼 | 吴余 | 
| 曹旭明 | 孙世茹 | 安民 | 
5
9
82 .........................................................言3OK- I-S
8,...............................................................旗务鳥⅛f G
9, .........................................................^^^ 8*
9, ......................................................... ⅛MS⅛ 2»
%......................................................STMSS麦即联9牛
ZZ .......................................... 2⅛fi⅛西导■电!S専非GR
69 ......................................................... ⅛W≡^ 厂。
99 ...................................................舟単阿靜家易国£»
ZG ................................................ 藤手与斗理滿告萃Z*
SG .........................................................于辭福一 「。
SS ...............................................................装不易凶V
[9 ...................................................打强用図圍琴rτ∙ε
6岁......................................................易W业購次Olt
疗 .................................>⅛ft*W⅛IW⅛⅛S6MMa⅛ 6,£
加.........................................................⅛M⅛⅛ 8.£
9〉......................................................曷Wag沙制煩£•£
££ .........................................................昌凶势寻毒91
SZ .........................................................县⅛T■手非Sf
TZ ......................................................... 易⅛l玉港口£
TZ ......................................................易凶冴陽笠叱££
Gl .........................................................易n母幽Z.£
9 ............................................................不辭面一 「£
9 ...............................................................斗四易凶£
Z ...............................................................正瞬主實Z
T .....................................................................価、買T
次 目
5.2检验项目 .........................................................79
附录A 风管耐压强度及漏风量测试方法 ........................87
附录B风管系统漏风量测试方法 .................................93
附录C插入损失测试方法..........................................95
本规程用词说明.........................................................97
引用标准名录............................................................98
附:条文说明............................................................IOl
7
Contents
1 General Provisions ...................................................
2 Basic Requirements ................................................ 2
3 Air Duct Making .................... 6
3.1 General Requirements ........... 6
3. 2 Steel Air Duct ................................................... 15
3. 3 Stainless Steel Air Duct .......................................... 24
3. 4 Aluminum Air Duct ......................... 24
3. 5 Nonmetallic Air LXict .............. 25
3. 6 Composite Air Duct ............................................. 33
3. 7 Clean System Air Duct ...... 46
3. 8 Flexible Air Duct ............................................... 47
3. 9 Steel Plate Lined with Glass Fiber as Thermal Insulation Materials Air Duct ............ ・・・♦••.......... 47
3.10 Fabric Air Duct ................................................ 49
3.11 Metal Air Duct Fitting .......................................... 51
4 Air Duct Installation ............................................. 55
4.1 General Requirements ............................................. 55
4. 2 Making and Installation of Support and Hanger ............ 57
4. 3 Soft Coupling Air DUCt .......................................... 66
4. 4 Metal ʌɪr Duct ................................... 69
4. 5 Nonmetallic Air Duct ...................... 72
4. 6 Clean System Air Duct ............................. 75
4. 7 Flexible Air Ekict ................................................ 76
4. 8 Fabric Air Duct................................................. 76
5 Air Duct Inspecting .............................................. 78
8
5. 1 General Requirements ............. ・•・・•・ 78
5.2 Inspecting Project ................................................ 79
Appendix A Testing Method for Strength and Atr Leakage of Duct .................................... 87
Appendix B Testing Method for Air Leakage of Duct System .......................................... 93
Appendix C Testing Method for Insertion loss ............... 95
Explanation of Wording in This Specification .................. 97
List of Quoted Standards ............................................. 98
Addition: Explanation of Provisions ........................... 101
9
1总 贝IJ
1.0.1为了规范通风管道的制作、安装和检验,做到安全适用、 技术先进、经济合理、节能环保、方便施工及确保质量,制定本 規程。
1.0.2本规程适用于工业与民用建筑金属、非金属及复合材料 通风管道(简称风管)的制作、安装与检验。
1.0.3通风管道的制作、安装与检验除应符合本规程外,尚应 符合国家现行有关标准的规定。
1
2基本规定
2.0.1风管的制作与安装应按设计图纸、合同约定和相关技术 标准的规定执行,发生变更应有设计变更的通知书。
2.0.2风管施工前应按设计图纸与建设单位、监理单位及结构 施工单位共同核查风管预留孔洞位置,与相关专业单位协调管线 综合排布,确定风管的现场安装位置。
2.0.3风管按材质分类为金属、非金属及复合材料,其构成见 表2. 0.3。风管制作与安装所用板材、型材以及其他主要成品、 半成品材料的规格、性能,应符合设计及国家现行相关产品标准 的规定,并且有出厂检验合格证明文件,材料进场时应按国家现 行有关标准进行检查验收。
*2.0.3风管材质分类表
| 名称 | _____材质种类_____ | _______板材构成_______ | 
| 金属风管 | 钢板__________ | 镀锌钢板、冷轧钢板________ | 
| 不锈钢板________ | 不锈钢板 | |
| 铝板__________ | 铝板_______________ | |
| 非金属 风管 | 无机玻璃钢 | 镁水泥、玻璃纤维布________ | 
| 有机玻璃钢 | 环氧树脂、玻璃纤维布______ | |
| 硬案氯乙烯、聚丙烯(巧) | 硬聚氯乙烯、聚丙烯________ | |
| 织物布风管_______ | 织物纤维____________ | |
| 复合材料 风管 | 酚醛(或聚實醞)板复合 材料 | 酚醛(或聚氨酯)板、双面铝箱 单面彩钢(或镀锌钢扳)、酚醛(或 聚氨酯)板、铝箔 双面彩钢(或镀锌钢板)、酚醛(或 聚氨酯)板 | 
2
续表2. O. 3
| 名称 | _____材质种类_____ | 板材构成_______ | 
| 复合材料 风管 | 坡璃纤维板复合材料 | 玻璃纤维板、铝箔(或玻璃纤维布) 单面彩钢(或镀锌钢板)、玻璃纤维 板、铝箔(或玻璃纤维布) 双面彩钢(或镀锌钢板)、玻璃纤 维板 | 
| 机制玻镁复合材料 | 镁水泥、玻璃纤维布及植物纤维. 或中间层隔热材料 | |
| 钢板内衬玻璃纤维隔热材 料风管 | 钢板、玻璃纤维板(毡) | 
2.0.4非金属风管、复合材料风管的燃烧性能不应低于现行国 家标准《建筑材料及制品燃烧性能分级》GB 8624规定的难燃 Bl级。
2.0.5防火风管材质应由不燃材料构成,耐火等级应符合设计 规定,耐火时限符合设计要求。
2.0.6成品风管应具有相应的合格证明,包括主材的材质证明、 风管强度及严密性检测报告,非金属风管、复合材料风管还需提 供消防及卫生检测合格的报告。成品风管的性能试验方法应符合 本规程附录A的规定。
2.0.7风管制作宜采用节能、环保、高效、机械化加工程度高 的工厂化制作,风管安装宜采用装配化施工。
2.0.8风管制作与安装所使用的计量器具及检测仪器精度应满 足要求,处于正常状态并在有效检定期内。
2.0.9隐蔽工程中安装的风管在隐蔽前应经建设单位或监理单 位相关人员验收及认可签证。
2.0.10凤管安装完毕,应按系统类别进行严密性试验,其试验 方法应符合本规程附录B的规定。
2.0.11风管系统类别按其工作压力范围可按表2.0. 11划分。
3
表2.0. 11风管系统类别
| 类别 | ________风管系统工作压力尸(Pa)________ | |
| 管内正压 | 管内负压 | |
| P≤125 | -125≤P | |
| 125<P≤500 | -500≤PV-125 | |
| 中压 | 500<P≤1500 | -1000≤P<-500 | 
| 高压 | 1500<P≤2500 | -2000≤P<-1000 | 
2.0.12金属风管标注尺寸宜采用外边长或外径;非金属、复合 材料风管宜采用内边长或内径。矩形风管边长的常用规格应符合 表2.0. 12-1的规定;圆形风管规格应符合表2.0. 12-2的规定。
表2.0.12T 矩形风管常用规格(mm)
| 风管边长(阮a) | ||||
| 120 | 320 | 800 | 2000 | 4000 | 
| 160 | 400 | 1000 | 2500 | — | 
| 200 | 500 | 1250 | 3000 | — | 
| 250 | 630 | 16∞ | 3500 | — | 
表2.0.12-2圆形风管规格(mm)
| 风管直径D | |||
| 基本系列 | 辅助系列 | 基本系列 | 辅助系列 | 
| 100 | 80 | 500 | 480 | 
| 90 | |||
| 120 | 110 | 560 | 530 | 
| 140 | 130 | 630 | 600 | 
| 160 | 150 | 700 | 670 | 
| 180 | 170 | 800 | 750 | 
| 200 | 190 | 900 | 850 | 
| 220 | 210 | 1000 | 950 | 
| 250 | 240 • | 1120 | 1060 | 
4
续表 2.0.12-2
| 风管直径D | |||
| 基本系列 | 辅助系列 | 基本系列 | 辅助系列 | 
| 280 | 260 | 1250 | 1180 | 
| 320 | 300 | 1400 | 1320 | 
| 360 | 340 | 1600 | 1500 | 
| 400 | 380 | 1800 | 1700 | 
| 450 | 420 | 2000 | 1900 | 
2.0.13扁圆形风管的规格宜采用矩形风管,表示方法宜为Z>X a、r=α∕2 (图 2.0. 13)。
 
4..........⅛.........k
图2.0.13扁圆形风管表示方法
2.0.14具有机电工程抗震要求的建筑,通风与空调工程中采用 的风管板材、风管系统的布置与敷设及抗震支吊架的设置应符合 现行国家标准《建筑机电工程抗震设计规范》GB 50981的规定。
5
3风管制作
3.1 一般规定
3.1.1金属板材风管的制作应符合下列规定:
1普通钢板的表面应平整、光滑,厚度均匀,允许有紧密 的氧化铁薄膜;不得有裂纹、结疤等缺陷,其材质应符合现行国 家标准《优质碳素结构钢冷轧薄钢板和钢带》GB/T 13237或 《优质碳素结构钢热轧薄钢板和钢带》GB/T 710的规定。
2镀锌钢板(带)宜选用机械咬合类,其锌层厚度应符合 设计或合同的规定,当无任何规定时,应采用不低于80g/π√ (Z80)的板材,其材质应符合现行国家标准《连续热镀锌钢板 及钢带》GB/1' 2518的规定。
3不锈钢板应采用奥氏体不锈钢材料,其表面不应有明显 的划痕、斑痕等缺陷,材质应符合现行国家标准《不锈钢冷轧钢 板和钢带》GB 3280的规定。
4铝板应采用纯铝板或防锈铝合金板,其表面不应有明显 的划痕、斑痕等缺陷,材质应符合现行国家标准《一般工业用铝 及铝合金板、带材》第二部分:力学性能GB/T 3880.2的规定。 3.1.2金属型钢应符合现行国家标准《热轧钢棒尺寸、外形、 重量及允许偏差》GB/T 702、《热轧型钢》GB/T706等的规定。 3.1.3非金属、复合材料风管的制作应符合F列规定:
1复合材料的铝箔表层材质应符合现行国家标准《铝及铝 合金箔》GB/T3198的规定,厚度不应小于0.06mm。当铝箔层 复合有增强材料时应符合现行行业标准《矿物棉绝热制品用复合 贴面材料》JC/T 2028的规定,其厚度不应小于0.012mm。镀 锌板面层材质应符合现行国家标准《连续热镀锌钢板及钢带》 GB/T2518。有增强纤维材料时.其重量应大于或等于16g/mt
6
2复合板材的复合层应粘结牢固,内部隔热材料不得裸露 在外。板材外表面单面的分层、塌凹等缺陷不得大于6%。。
3铝箔热敏、压敏胶带和胶粘剂的燃烧性能应满足B级要 求,并应在使用期限内。胶粘剂应与风管材质相匹配,且符合环 保要求。胶带的宽度不应小于50mm,铝箔厚度不应小于 0. 045mmo铝箔压敏密封胶带采用180°剥离强度试验时,剥离 强度不应低于0.52N/mm。铝箔热敏胶带熨烫面应有加热到 150°C时变色的感温色点。热敏密封胶带180。剥离强度试验时, 剥离强度不应低于O. 68N/mm。
4硬聚氯乙烯板材应符合现行国家标准《硬质聚氯乙烯板 材 分类、尺寸和性能》第1部分:厚度Imm以上板材GB/T 22798.1的规定。硬聚氯乙烯板材不应有气泡、分层、碳化、变 形和裂纹等缺陷。
5彩钢板复合材料风管的彩钢板材应符合现行国家标准 《彩色涂层钢板及钢带》GB/T 12754的规定,表面不得有裂纹 及明显氧化层、起皮和涂层脱落等缺陷,且加工时不得损坏涂 层,被损坏的部分应涂防腐涂料。
6非金属、复合材料风管板材的技术参数及适用范围应符 合表3.1. 3的规定。用于高压系统的非金属风管厚度应符合设计 规定。
表3.1.3非金属、复合材料风管板材的技术参数及适用范围
| 名称 | 密度 (kg∕m3) | 板材厚度 (mm) | 燃烧 性能 | (弯曲、拉伸) 强度或吸水率、 导热系数 | 适用范围 | |
| 无机 玻璃 钢 | 气硬性无机 玻璃钢风管 | >1700 | 表&$2・1、 表 3Λ2-2 | A级 | 弯曲强度 大于或等于 70MPa | 微、低、中、 高压空调及防 排烟系统 | 
| 镁水泥 风管 | >2000 | A级 | 弯曲强度 大于或等于 65MPa | |||
续表3.1.3
| 名称 | 密度 (kg∕m3) | 板材厚度 (mm) | 燃烧 性能 | (弯曲、拉伸) 强度或吸水率、 导热系数 | 适用范围 | 
| 硬聚氯乙烯、聚 丙烯(PP)风管 | 1300 7 6 00 | 表4$34, 表 3.5. 3-2 | Bi级 | 拉伸强度 大于或等于34MPa | 洁净室及含 酸碱的持风 系统 | 
| 酚醛复合 板风管 | 隔热材料密 度大于或等 于60 整体表观密 度大于或等 于130 | >20 | Bl级 | 弯曲强度, 双铝面层大于或 等于 1.05MPa$ 彩钢板面层大于 或等于I.30MPat 吸水率:浸水大 于或等于4d,小 于或等于3. 4%; 导热系数: dQ23W∕(m∙ K) / 25V | 双面铝箔板 材适用于工作 压力小于或等 于800Pa的空 调系统及潮湿 环境的凤管, 彩钢板面层的 适用于工作压 力小于或等于 200OPa的空调 系统风管 | 
| 聚氨產复合 板风管 | >45 | 》20 | 弯曲强度: 双铝面层大于或 等于 L05MPa、 彩钢板面层大于 或等于L30MPa | ||
| 玻璃纤维板 复合材料风管 | ≥70 | ≥25 | — | 工作压力小 于或等于IoOO Pa的空调系统 | 
7非金属和复合材料风管的苯、甲醛、氨以及可挥发性有 机物(TVOC)的释放浓度应符合现行行业标准《非金属及复合 风管》JG/T 258的规定:在风速大于或等于16m∕s条件下,玻 璃纤维复合板风管内壁不应有纤维脱落。
8
3.1.4金属风管板材连接形式及适用范围应符合表3∙1.4的 规定。
表3∙ L 4金属风管板材连接形式及适用范围
| 名称 | 连接形式 | _____适用范围_____ | |
| 单咬口 | -^≡^ | 内平咬口 | 微、低、中、高压系统 | 
| ^≡r^∖. 外平咬口 | 薇、低、中、高压系统 圆形风管及板材拼接 | ||
| 联合角咬口 | F | 微、低、中、高压系统 矩形风管及配件四角咬接 | |
| 转角咬口 | Γ | 微、低、中、高压系统 矩形风管或配件四角咬接 | |
| 按扣式咬口 | [F | ^^―^ | 微、低、中压矩形风管 或配件四角咬接 微、低压圆形风管 | 
| 立咬口 | 上ɪ | 圆、矩形风管横向 连接或纵向接缝 圆形弯头制作不加铮钉 | |
| 焊接 | 图 3. 2. 1-1 | 微、低、中、高压系统 | |
3-1.5金属矩形风管连接形式、适用边长及刚度等级、圆形风 管的连接形式及适用范围应分别符合表3. 1. 5-1、表3.1. 5-2的 规定。
9
表3.L5∙1金属矩形风管连接形式、适用边长及横向连接刚度等级
| 连接形式 | 附件规格 | 适用凤管边长(mm) | 刚度等级 | |||||
| 微、低压风管 | 中压风管 | 高压风管 | ||||||
| 角钢法兰 | M6"栓 | L 25X3 | ≤630 | ≤63O | ≤630 | F3 | ||
| M8螺栓 | L 30X3 | ≤1500 | ≤1500 | ≤1250 | F4 | |||
| L. 40X4 | ≤2500 | ≤2500 | ≤1500 | F5 | ||||
| M】0 ■栓 | L 50X5 | ≤4000 | ≤3000 | ≤2500 | F6 | |||
| 弹簧夹式至% 插接式 20 頂丝卡式-Hb | 九法竺高度 *:风管壁厚 弹簧夹板厚 坛LO 頂丝卡厚度大于或等 于3 頂丝螺丝M8 | Λ×⅛ι 25X0.6 | ≤1500 | ≤1500 | — | Fbl | ||
| Λ×5ι 25X0.75 | ≤1500 | ≤1500 | — | Fb2 | ||||
| AXal 30X1.0 | ≤2000 | ≤2000 | — | Fb3 | ||||
| Λ×5∣ 40X1.2 | ≤2000 | ≤2000 | — | FU | ||||
| 组合式 | 九法兰高度,的为组 合法兰厚度 顶丝卡厚心3 | Λ = 25 ∂z-0. 75 | ≤2000 | ≤2000 | — | Fb3 | ||
| 7 = 30 的= 1.0 | ≤25OO | ≤2000 | — | FM | ||||
续表3.1.5-1
| 连接形式 | 附件规格 | 适用风管边长(mm) | 刚度等级 | ||||
| 微、低压风管 | 中压风管 | 高压风管 | |||||
| S 形 插 条 | 平插条 | 大于管壁厚度且以0.75 | ≤63O | — | — | Fl | |
| 立插条 | 大于管壁厚度且法0∙75 A≥25 | ≤IOOO | — | — | F2 | ||
| 平插条 | -^^^2- | 大于管壁厚度且3》0.75 | ≤63O | ≤450 | — | Fl | |
| 立插条 | 大于管壁厚度且心。.75 Λ≥25 | ≤1000 | ≤630 | — | F2 | ||
| 直角插条 | 等于管壁厚度且扭0.75 | ≤63O | — | — | Fl | ||
| 立联合角 形插条 | 等于风管壁厚且心0. 75 A>25 | ≤125O | — | — | F2 | ||
| 立咬口 | 等于风管壁厚且心0. 75 Λ≥25 | ≤1000 | ≤630 | — | F2 | ||
*3.1.5-2金腰圆形风管连接形式及适用范围
| 连接形式 | 附件規格 | 连接要求 | 适用范围 | ||||
| 南钢法兰连接 | ɪ | L 25X3 L 30X3 L 40X4 | 法竺与风管连接采用飾接 或焊接 | 微、低、中、高压风管 | |||
| 普通 | 7 | 插入深度大于或等于 30mm应有密封措施 | 微、低压风管,直径小 于 700mm | ||||
| 角钢加固 | ɪ | L 25X3 L 30X4 | 插入深度大于或等于 20π≡应有密封措施 | 微、低、中压风管 | |||
| 压加强筋 | 插入深度大于或等于 20mm应有密封措施 | 微、低、中压风管 | |||||
| 芯管连接 | 1 大于或等于 风管板厚 | -插人深度大于或等于 20mm应有密封措旅.见表 3. 2. 6-2 | 微、低、中压风管 | ||||
| 立筋抱猫连接 | 大于或等于 风管板厚 | 风管翻边与抱掩应匹配. 结合紧固严密 | 微.低、中压风管 | ||||
| 抱箱连接 | 虛 | 也 | 大于或等于 风管板厚 | 管端应对正,抱箱应居中 | 微、低、中压凤管抱箍宽度 大于或等于IOOmm | ||
3.1.6非金属、复合材料矩形风管连接形式及适用范围应符合 表3.L 6的规定。
表3.1.6非金JS风管、复合材料矩形风管连接形式及适用范围
| 非金属风管连接形式 | 附件材料 | 风管边长适用范围 (rnm> | |||
| 45。粘结 | 铝箱胶带 | 酚醒铝箱复合板风管、 聚氯鱼铝箔复合板风管力 ≤500 | |||
| 桿接 (承插阶梯粘结) | 铝箔胶带 | 丙烯酸树脂玻璃纤维板 复合风管,6≤1600 | |||
| 槽形插接连接 | 喲⅛~质 | PVC | 微、低压风管.6≤2000 中、高压风管,Y16∞ | ||
| 工字形插接连接 | β? | PVC | 微、低压风管.*≤20∞ 中、高压凤管,*≤1600 | ||
| PVC断桥铝合金 | ⅛≤3000 | ||||
| 外套角钢法兰 | ⅞⅛⅛ | L 25X3 | ⅛≤1000 | ||
| L 30X3 | Λ≤1600 | ||||
| L. 40X4 | Z≤2000 | ||||
| C形插接法兰 | ^JW | PVC或 PVC铝合金 | ∕≤2000 | ||
| "h”连接法兰 | ^O^4⅛≡∙ | PVC 铝合金 | 用于风管与阀部件 及设备连接 | ||
3.1.7酚醛板、聚氨酯板、玻璃纤维板风管下料切割时应采用 专用刀具,切口应平直;风管组合前应清除管板接口处及表面的 水渍、油渍、切割碎屑等杂物。
3.1.8风管及法兰制作的允许偏差应符合表3. 1. 8的规定.
«3.1.8风管及法兰制作的允许偏差(mm)
| 风管边长A或直径D | __________允许偏差_________ | |||||
| 边长或直 径偏差 | 矩形风管 表面平面 度 | 矩形风管 (或法兰) 管口对角 线之差 | 法兰或管 口端面平 面度 | 圆形法兰 任意正交 两直径 | ||
| 金属风管 | A(D) ≤ 320 | <2 | ≤10 | ≤3 | ≤2 | ≤2 | 
| 6(D) > 320 | ≤3 | |||||
| 非金属、 复合材料 风管 | 6(D) ≤ 320 | ≤2 | ≤3 | ≤3 | ≤2 | ≤3 | 
| 320 < MD) ≤ 2000 | ≤3 | <5 | ≤4 | ≤4 | ≤5 | |
3.1.9彩钢板复合材料风管的隔热材料及辅材的选用应符合下 列规定:
1采用玻璃纤维材料作为隔热层技术指标应符合表3. 1.9 的规定,且对人体无害,满足抗菌、抗霉等要求;外形尺寸、密 度偏差应符合现行国家标准《绝热用玻璃棉及其制品》GB/T 13350的规定。当采用其他材料作为隔热材料时,其导热系数应 符合表3. 1.9的规定。
«3.1.9玻璃纤维板材技术指标
| 隔热材料密度 (kg∕m3> | 板厚 (mm) | 平均温度为70t±5C时的导热系数 [W/ (m∙ K)] | 
| >80 | 》25 | ≤0. 035 | 
2玻璃纤维隔热材料的燃烧性能等级应符合现行国家标准 《建筑材料及制品燃烧性能分级》GB 8624的规定,其他隔热材 料的燃烧性能等级不应低f难燃B1级的规定。
3.1. 10玻璃纤维彩钢板复合材料风管的内板角缝连接形式宜采 用本规程表3.1. 4联合角咬口形式,外角亦可采用联合角咬口或
14
拉例钉锚固。采用其他材料作为隔热材料的彩钢板复合材料风管 内角处可采用粘接的连接方式,接缝应粘接严密、光滑。
3.1.11金属板材风管粘贴内衬隔热材料应符合下列规定:
ɪ金属内衬玻璃纤维板(或毡)风管的玻璃纤维技术参数 应符合表3. 1.11的规定。
表3.1. Il金属内衬玻璃纤维凤管玻璃纤维的技术参数
| 工作温度 <∙C) | 热荷重收 缩温度 (eC) | 密度 (kg∕m3) | 最大风速 (m∕s) | 吸湿率(%) (有憎水 要求时) | 导热系数 [W/ (m∙ K)] | 燃性 性能 | 
| ≤121 | 》250 | >30 | ≤16 | ≤5 | ≤0.038 | A级 | 
2内衬玻璃纤维制品的内表层应采用涂层材料涂覆,纤维 不得脱落,且涂覆材料应符合对人体无害的要求。
3内衬玻璃纤维制品应使用胶粘剂将其粘贴到金属管道的 内表面,同时使用固定钉固定。
4内衬玻璃纤维隔热材料有害气体释放、抗凝露性能、耐久 性应符合现行行业标准《非金属及复合风管》JG/T258的规定。 3.1.12风管的密封应以板材连接的密封为主,接缝处可辅助采 用密封胶嵌缝或胶带粘贴密封,密封面宜设在风管的正压侧,采 用密封胶(粘结剂)应涂刷均匀、饱满;风管连接密封使用的胶 粘剂或密挝胶(胶带)的性能应符合使用环境的要求。
3.2钢板风管
3.2.1钢板矩形风管的制作应符合下列规定:
1矩形风管及其配件的板材厚度不应小于表3. 2.1的规定。
表3.2.1钢板风管板材厚度(mm)
| 类别 长边尺冷、 | 微压:低压 系统风管 | 中压系统 风管 | 高压系统 风管 | 除尘系统 风管 | 
| 6≤320 | 0. 50 | 0. 50 | 0. 75 | 2.00 | 
15
续表3・ 2. 1
| 类别 长边尺冷、 | 微压、低压 系统风管 | 中压系统 风管 | 高压系统 风管 | 除尘系统 风管 | 
| 32O<A≤45O | 0. 50 | 0.60 | 0. 75 | 2.00 | 
| 45OVΛ≤63O | 0. 60 | 0. 75 | 1.00 | 3.00 | 
| 630<⅛≤1000 | 0. 75 | 0.75 | 1.00 | 4.00 | 
| Io(X)VF 500 | 1.00 | 1.00 | 1.20 | 5.00 | 
| 1500<6≤2000 | 1.00 | 1. 20 | L 50 | 按设计 | 
| 20∞<6≤4000 | 1.20 | 1.20 | 按设计 | 按设计 | 
注:I排烟系统风管钢板厚度可按高压系统风管钢板厚度选用;
2不适用于地下人防及防火隔墙的预埋管。
2镀锌钢板或彩色涂塑层钢板的拼接,应采用咬接或斜接,
且不得有十字形拼接缝。彩色钢板的涂塑面应设在风管内侧,加
工时应避免损坏涂塑层,已损坏的涂塑层应进行修补。
■上『
 
3焊接风管板面连接可采用 搭接、角接和对接三种形式(图 3. 2. I-D0风管焊接前应除锈、除 油。焊缝应熔合良好、平整,表面 不应有裂纹、焊瘤' 穿透的夹渣和
图3.2.1-1焊接风管焊缝位置气孔等缺陷,焊后的板材变形应矫 正,焊渣及飞溅物应清除干净。壁厚大于1∙ 2mm的风管与法兰 连接可采用连续焊或翻边断续焊•管壁与法兰内口应紧贴,焊缝 不得凸出法兰端面,断续焊的焊缝长度宜在30mm〜50mm,间
距不应大于50mm (图3. 2.1-2) α
 
图3.2.1-2风管法兰焊接形式
16
4除尘系统风管与法兰的连接宜采用内侧满焊、外侧间断 焊,风管端面距法兰接口平面的距离不应小于5mm。
3.2.2角钢法兰矩形风管制作应符合下列规定:
1角钢法兰的连接螺栓和梆钉的规格及间距应符合表 3. 2. 2的规定。法兰的焊缝应熔合良好、饱满,不得有夹渣和孔 洞;法兰四角处应设螺栓孔,同一批同规格的法兰应具有互 换性。
*3.2.2矩形风管角钢法兰材料规格及螺栓和#P钉孔距<mm)
| 角钢规格 | 螺栓规格 | 例钉规格 | _____螺栓及卸钉间距 | |
| 微、低、中压系统 | 高压系统 | |||
| L- 25X3 | M6 | M | ≤150 | ≤100 | 
| L 30X3 | M8 | |||
| 1_ 40X4 | I #5 | |||
| 1- 50X5 | M8 或 MIo | |||
2壁厚小于或等于1.2mm的风管采用角钢法兰连接时, 应将风管端面翻边,并用例釘钾接。风管的翻边应平整、紧贴法 兰、宽度均匀,翻边高度不应小于6mm;咬缝及四角处应无开 裂与孔洞;節接应牢固,无脱卸和漏碑I。
3未经过防腐处理的钢板在加工咬口前,宜涂一道防锈漆。 3. 2.3薄钢板法兰风管制作应符合下列规定:
1薄钢板法兰应采用机械加工,风管折边或组合式法兰条 应平直,弯曲度不应大于5%。。
2组合式薄钢板法兰与风管连接可采用聊接、焊接或本体 冲压连接,微、低、中压风管与法兰的年I (压) 接点,间距应小 于或等于150mm,高压风管的輝(压)接点间距应小于或等 于 100mm。
3弹簧夹应具有相应的弹性强度,形状和规格应与薄钢板 法兰匹配,长度宜为12Omm〜150mm。
3.2.4 C形、S形插条与风管插口的宽度应匹配,插条的两端
17
延长量宜大于或等于20mm; S形插条与风管边长尺寸允许偏差 应为 2mm (图 3.2.4)。
 
C形插条
S形插条
图3. 2. 4 C形、S形插条示意图
I-与风管边长尺寸相等 <竖宜插条):2-延长量;
3一与风管边长尺寸相等 (水平插条)
3. 2.5立咬口与包边立咬口风管的立筋高度应大于或等于 25mmo立咬口的折角应与风管垂直,直线度允许偏差为5%。; 立咬口四角连接处的90。贴角板应大于或等于风管板厚。
3.2.6圆形风管制作应符合下列规定:
1圆形风管可采用直缝或螺旋缝两种形式,圆形螺旋风管 的板材厚度不应小于表3. 2. 6-1的规定,同一规格的直缝圆形风 管板材厚度应按照螺旋风管板厚提高一个厚度规格选用。
表3.2.6-1圆形《1旋风管的板材厚度(mm)
| 风管直径D | 微、低 压风管 | 正压风管 | 负压风管 | ||
| 中压 | 商压 | 中压 | 高压 | ||
| D≤320 | 0. 50 | 0.50 | 0. 50 | ||
| 32O<D≤45O | 0. 50 I | 0. 50 | 0. 60 | 0.60 | 0. 75 | 
| 450<D≤630 | 0. 60 | 0. 60 | 0. 75 | 0. 75 | 1.00 | 
| 630<D≤1000 | 0.75 | 0. 75 | 1.00 | 0. 75 | 1.00 | 
| 1000<D≤1500 | 1.00 | 1.00 | 1.20 | 1.00 | 1.20 | 
| 15OO<D≤2OOO | 1.00 | 1.20 | 1. 50 | ||
| D>2000 | 1.20 | 1.50 | |||
18
2低压风管采用芯管连接时.芯管的板厚不应低于风管板 厚。其长度、直径允许偏差及芯管自攻螺钉规格或例钉数量应符 合表3.2.6-2规定。中、高压风管可采用内胀芯管连接,内胀芯 管的制作安装形式、芯管自攻螺钉或旬!钉数等应符合表3. 2. 6-3 的规定,安装时顶推螺杆位置应放在与视线相背方向。用镀锌钢 板制作的内胀芯管焊接固定耳和衬板后应再次镀锌或做防锈 处理。
表3.2∙6~2芯管长度、Ie钉数■及直径允许偏差
| 风管直径D (mm) | 芯管长度 (mm) | 芯管每端口自攻螺釘 或銅钉数量(个) | 芯管直径允许偏差 (mm) | 
| 120 | 120 | 3 | —3^—4 | 
| 320 | 160 | 4 | |
| 400 | 200 | 4 | -4--5 | 
| 700 | 200 | 6 | |
| 1000 | 200 | 8 | 
表3.2.83内胀芯管蝶钉数■及制作安装形式
| 风管直径 D (mm) | 芯管每端口自攻螺钉 或佛钉数量(个) | 内胀芯管形式 | |
| 120 | 3 | 2 | |
| 180 | 3 | J- | |
| 200 | 3 | 2 | |
| 280 | 4 | ||
| 320 | 4 | 单播内胀芯管 | |
| 400 | 5 | 4一中5实芯橡胶密封圈: | |
| 450 | 5 | 5一宽7mmV形密封槽口 | |
19
续表 3. 2. 6-3
| 风管直径 D (mm〉 | 芯管每端口自攻螺钉 或佛钉数量(个) | 内胀芯管形式 | |
| 500 | 6 | 2 | |
| 700 | 6 | ||
| 900 | 8 | ||
| 1000 | 8 | ||
| 1120 | 10 | 双箍内胀芯管 I-风管:2-固定耳(焊接):3一引钉: 4-祐实芯橡胶密封圈;5一宽7mm V形密封槽口 | |
| 1250 | 10 | ||
| 1400 | 12 | ||
 
内胀芯管安装前开口处的搭接状态内胀芯管安装后开口处的搭接状态
I-螺杆扌2-固定耳(焊接);3一顶推螺母;4一缀缝焊;5一衬板:6一自攻螺丝
3圆形风管采用法兰连接时,材料规格应符合表3. 2.6-4 的规定。微、低压和中压系统风管法兰的螺栓及飾钉的间距应小 于或等于150mm;高压系统风管则应小于或等于100mm。
表3.2.67 圆形风管法兰及端拴规格(mm)
| 风管直径D | ______法兰材料规格______ | 螺栓规格 | |
| - 扁钢 | 角钢 | ||
| D≤140 | 20X4 | — | M6 | 
| ~140<D≤280^ | 25X4 | — | |
| ~280<D≤630^ | — | —25X3- | |
| 630<D≤1250 | — | 30X3 | M8 | 
| 1250<D≤2000 | — | 40X4 | |
3.2.7风管加固应符合下列规定:
1薄钢板法兰风管宜轧制加强筋,加强筋的凸出部分应位 于风管外表面,排列间隔应均匀,板面不应有明显的变形。
20
2风管的法兰强度低于规定强度时,可采用外加固枢和管 内支撑进行加固,加固件距风管连接法兰一端的距离不应大 于 250mm o
3外加固的型材高度应等于或小于风管法毛高度,且间隔 应均匀对称,与风管的连接应牢固,螺栓或卸接点的间距不应大 于220mm;外加固框的四角处,应连接为一体。
4风管内支撑加固的排列应整齐、间距应均匀对称,应在 支撑件两端的风管受力(压)面处设置专用垫圈。采用管套内支 撑时,长度应与风管边长相等。
5直缝圆形风管的直径大于或等于80Omm且管段长度大 于125Omm或总表面积大于4m?时,可采用法兰形式加固•
6矩形风管刚度等级及加固间距宜按本规程表3.1.61、表 3. 2. 7-1〜表3.2.7-4进行选择和确定。
表3.2.7-1矩形风管连接允许间距(mm)
| 刚度等级 | 风管边长尺F | f∙ (A) | ||||||||
| ≤500 | 630 | 800 | 1000 | 1250 | 1600 | 2000 | 2500 | 3000 | ||
| 允许最大间距 | ||||||||||
| 微 生 低 压 风 管 | Fl | 2000 | 1600 | — | ||||||
| 司 | 2000 | 1600 | 1250 | — | — | — | — | — | ||
| F3 | 2000 | 1600 | 1250 | 1000 | — | — | — | — | ||
| F4 | 2000 | 1600 | 1250 | 1000 | 800 | 800 | — | — | ||
| F5 | 2000 | 1600 | 1250 | IOoO | 800 | 800 | 800 | |||
| F6 | 2000 | 1600 | 1250 | IooO | 800 | 800 | 800 | 800 | ||
| F2 | 1250 | — | ||||||||
| F3~ | 1600 | 1250 | 1000 | — | — | — | — | — | ||
| F4 | 1600 | 1250 | 1000 | 800 | 800 | — | — | — | ||
| FS | 1600 | 1250 | 10∞ | 800 | 800 | 800 | 625 | |||
| F6 | 1600 | 1600 | 1000 | 800 | 800 | 800 | 800 | 625 | ||
| F3~ | 1250 | — | — | — | — | — | — | — | ||
| F4 | 1250 | IOOO | 800 | — | — | — | ||||
| F5 | 1250 | JOOO | 800 | 625 | 625 | — | — | — | ||
| F6 | 1250 | 1000 | 800 | 625 | 625 | 625 | 500 | 400 | ||
21
表3∙2∙7,2薄钢板法兰矩形风管连接允许间距(mm)
| 刚度等级 | 风管边长尺寸• 3) | ||||||||
| ≤500 | 630 | 800 | 1000 | 1250 | 1600 | 2000 | 2500 | ||
| 最大间距 | |||||||||
| 微压、低 压风管 | Fbl | 2000 | 1600 | 1250 | 650 | 500 | — | — | — | 
| Fb2 | 2000 | 1600 | 1250 | 650 | 500 | 400 | — | ||
| Fb3 | 2000 | 1600 | 1250 | 1000 | 800 | ! 600 | — | ||
| Fb4 | 2000 | 1600 | 1250 | 1000 | 800 | 800 | — | ||
| 中压风管 | Fbl | 1250 | 650 | 500 | — | — | — | — | |
| Fb2 | 1250 | 1250 | 650 | 500 | 400 | 400 | |||
| Fb3 | 1600 | 1250 | 1000 | 800 | 650 | 500 | |||
| FM | 1600 | 1250 | 1000 | 800 | 800 | 650 | — | ||
表3.2.7-3镀锌钢板矩形风管加固剛度等级
| 加固形式 | 加固件 !规格 <mm) | 加固件高度A (mm) | ||||||
| 15 | 25 | 30 | 1 40 | 50 | ||||
| 刚度等级 | ||||||||
| 外框 加固 | 角钢加固 | L 25X3 | — | G2 | — | — | — | |
| L 30X3 L 40X4 | — | — | G3 | G4 | — | |||
| L 50X5 | — | — | — | — | G5 | |||
| 直角形 加固 | 3=1∙2 | — | G2 | G3 | — | — | ||
| 槽形加固 | X 々I _n_£ 才 25mm | 8=1,2 | Gl | G2 | — | — | — | |
| a=L5 | — | —* | G3 | G4 | — | |||
| 8=2.0 | ,^■» | — | — | — | G5 | |||
22
续表 3. 2. 7-3
| 加固形式 | 加固件 规格 (mm) | 加固件高度人(mm) | ||
| 15 25 30 40 50 | ||||
| ______刚度等级______ | ||||
| 点加 固 | 扁钢内 支撑 | ⅛ L>25mm | -25X3 | Jl | 
| 螺杆内 支撑 | 千 | ≠≥M8 螺杆 | Jl | |
| 套管内 支撑 | ^t | ^16×1 套管 | Jl | |
| 纵向 加固 | 立咬口 | JH A>25mm . | —— | Z2 | 
| 压筋 加固 | 压筋间距 小于或等 于 300mm | _O_ | 槽深大于 等于3mm | Jl | 
表3∙2.7Y 矩形风管横向加固允许间距(mm)
| 刚度等级 | 风管边长3) ____ | |||||||||
| ≤500 | 630 | 800 | 1000 | 1250 | 1600 | 2000 | 2500 | 3000 | ||
| ________ 允许最大间距 ___ | ||||||||||
| GI | 2000 | 1600 | 1250 | 625 | — | — | —— | —— | — | |
| G2 | 2000 | 1600 | 1250 , | 625 | 500 | 400 | — | — | ||
| 百 | 2000 | 1600 | ^I250 | 1000 | 800 | 600 | — | — | ||
| G4 | 2000 | 1600 | 1250 | 1000 | 800 | n00一 | — | —— | ||
| G5 | 2000 | 1600 | 1250 | 1000 | 800 | 800 | 800 | 625 | ||
| Gl | 1250 | 625 | — | -• | — | — | — | |||
| G2 | 1250 | 1250 | 625 | 500 | 400 | 400 | — | |||
| G3 | 1600 | 1250 | 1000 | 800 | 625 | 500 | — | — | ||
| 瓦 | t6眩 | 1250 | 1000 | 飞0 丁 | 800 | 625 | -— | — | ||
| G5 | 1600 | 1250 | IO(X) | 800 | 800 | ^80O^ | 625 | — | ||
| Gl | 625 | — | — | —— | — | — | — | — | ||
| Gr | 1250 | 625 | — | — | — | —— | — | |||
| G3 | 1250- | 1000 | 625 | — | — | — | — | — | ||
| G4 | -1250- | IOOO | 800 | 625 | — | —— | — | — | ||
| G5 | 1250 | 1000 | goo | 625 | 625 | *— | — | |||
23
3.3不锈钢板风管
3. 3.1不锈钢板风管和配件的板材厚度应符合表3. 3.1的规定。
表3.3.1不锈钢板风管和配件的板材厚度(mm)
| 风管边长1或直径D | 正压风管 | 高压、负压风管 | 
| 100 < Λ(D) ≤500 | ≥0. 50 | ≥O. 75 | 
| 320 < Zi(D) ≤ 1120 | )0. 75 | 》1.00 | 
| 112O<δ(D) ≤ 2000 | >1.00 | ≥ 1. 20 | 
| 2000 <Λ(D) ≤ 4000 | ≥ 1. 20 | ≥ 1.20 | 
注,1正压风管板材厚度规定适用于负压、微压、低味、中压风管,
2 2000<"D>W4000的高压、负压风管每节长度不应大于1m.螺旋风管加 固间隔不应大于lm,并应采用法兰连接。
3. 3. 2不锈钢板厚度小于或等于Imm时,板材拼接应采用咬接 或挪接;板材厚度大于Imm时,宜采用気弧焊,不得采用气 焊。焊接时,焊材应与母材相匹配,并应防止焊接飞溅物沾污表 面,焊后应将焊渣及飞溅物清除干净。
3.3.3不锈钢板凤管采用法兰连接时,矩形风管法兰材料规格 及要求应符合本规程表3. 2. 2的规定;圆形风管法兰材料规格及 要求应符合本规程表3.2.6-4的规定。法兰材质为碳素钢时,其 表面应进行镀格或镀锌处理。风管例接应采用不锈钢狮钉。应用 于排油烟工程的不锈钢板风管法兰与管体应采用焊接且满焊。
3.3.4矩形不锈钢板风管采用薄钢板法兰连接时,还应符合本 规程第3. 2. 3条的规定。紧固件材质为碳素钢时,其表面应进行 镀辂或镀锌处理。
3.3.5矩形不锈钢板风管的加固形式可采用本规程表3. 2. 7-3 的形式;加固间距应符合本规程表3. 2. 7-4的规定。
3.4铝板风管
3.4.1铝板风管板材厚度应符合表3. 4.1的规定。
24
表3.4.1铝板凤管板材厚度(mm)
| _____风管边长:或直径D | _______铝板厚度_______ | 
| ________IOOV 方(D) ≤ 320________ | |
| ________320 V 灰 D)= 630________ | |
| _______630 VMD) & 200€_______ | ___________?2.0___________ | 
| 200OV 灰 D)& 4000 | 
3.4.2当铝板厚度小于或等于1.5mm时,板材的平接和角接可 采用咬口连接,但不得采用按扣式咬口。板厚大于1.5mm时,可 采用折边例接或缀缝焊接。严密性要求较高时应采用氫弧焊焊接。
3.4.3铝板焊接的焊材应与母材相匹配。焊前应清除焊口处的 氧化膜并脱脂;焊缝不得有未熔合、烧穿等缺陷,焊缝表面应清 除飞溅、焊渣、焊药等。
3.4.4矩形铝板风管的法兰材料规格及要求应符合本规程表 3. 2. 2的规定。铝板圆形风管法兰材料规格及要求应符合本规程表 3.2.6-4的规定。铝板风管与法兰的连接采用卸接时,应采用铝卸 钉。风管法兰材质为碳素钢时,其表面应按设计要求做防腐处理。
3.4.5矩形铝板角钢法兰风管的连接形式及间距可符合本规程 表3. 1.5-1、表3.2. 7-1的规定,加固间距可符合本规程表 3. 2. 7-4的规定。
3.4.6矩形铝板风管不宜采用C、S形平插条连接形式。
3.5非金属风管
3.5.1无机玻璃钢风管应符合下列规定:
1无机玻璃钢风管主要由玻璃纤维布、镁水泥胶凝材料压 制而成.按组合方式分为整体型风管、组合型风管。胶凝材料硬 化体的PH值应小于8. 8,且不应对玻璃纤维有碱性腐蚀。
2无机玻璃钢风管采用的无碱、中碱或抗碱玻璃纤维网格 布宜符合现行国家标准《玻璃纤维无捻粗纱》GB/T 18369、《增 强用玻璃纤维网布第1部分:树脂砂轮用玻璃纤维网布》JC 561.1的规定。镁水泥风管氧化镁的品质应符合现行国家行业标
25
准《菱镁制品用轻烧氧化镁》WB/T 1019的规定。
3整体型无机玻璃钢风管制作参数应符合表3. 5. 1-1的规 定,组合型风管制作参数应符合表3. 5. 1-2的规定。
表3.5.1-1整体无机玻璃钢风管制作技术参数
| 风管边长6 或直径D | 风管管体 | ||||||||||
| 壁厚 (mm | 玻璃纤维 布层数 | 高度 (mm) | 厚度 (mm) | 玻璃纤维 布层数 | 孔距L (mm) | 螺栓孔 (mm) | |||||
| Cl | C2 | 值 | 偏差 | 值 | 偏差 | C∣ | C2 | ||||
| 伙D) ≤ 320 | ≥3 | 4 | 5 | 40 | -0.5 +2.0 | 10 | -0.5 + 1.5 | 7 | 9 | 微、 低、 中压 L≤120 高压 LWlOo | 8 | 
| 320 Vb(D) ≤500 | 24 | 5 | 7 | 45 | 12 | 8 | 11 | 10 | |||
| 500 V 〃(D) & 1000 | 2 5 | 6 | 8 | 45 | 14 | 9 | 12 | 10 | |||
| 1000 < 6(D) ≤ 1600 | 》6 | 7 | 9 | 50 | 16 | 10 | 14 | 12 | |||
| 1600 < Λ(D) ≤ 2000 | 》7 | 8 | 12 | 50 | 18 | 14 | 18 | 12 | |||
| 2000 < 6(D> ≤ 3000 | 》8 | 9 | 14 | 55 | 20 | 16 | 20 | 12 | |||
注:G=O.4mm厚玻璃纤维布层数:Cz=O. 3mm厚玻璃纤维布层数。
表3. 5.1-2组合型无机玻璃钢风管制作技术参数(适用压力P≤1500Pa)
| 风管边长6 (mm) | 玻璃纤维 布层数 | 风管壁厚 (mm) | 角钢法兰连接 | ||
| 角钢法兰 | 孔距L (mm) | 螺栓孔 (mm) | |||
| "<630 | ≥5 | ≥5 | L 25X3 | L≤150 | 8 | 
| 630 V 厶< 1600 | J 30X3 | 10 | |||
| 16OO<6≤25OO | L 40X4 | 10 | |||
| 2500 < Z> ≤ 4000 | L 50X4 | 12 | |||
注:表中法兰规格为允许的最小规格。
4玻璃纤维网格布相邻层之间的纵、横搭接缝距离应大于 300mm,同层搭接缝距离不得小于50Ommo搭接长度应大于50mk‰
5风管表层浆料厚度以压平玻璃纤维网格布为宜(可见布 纹),表面不得有密集气孔和漏浆。
26
6整体型风管法兰处的玻璃纤维网格布应延伸至风管管体 处。法兰与管体转角处的过渡圆弧半径宜为壁厚的0.8倍〜1.2倍。
7风管制作完毕应待胶凝材料固化后除去内模,并置于干 燥、通风处养护不少于6d方可安装。
8风管表面应光洁、无裂纹、无玻璃纤维布裸露、无明显 泛霜和分层现象。
9整体型矩形风管管体的缺棱不得多于两处,且不大于 IOmmXlOmm;风管法兰缺棱不得多于一处,且不大于IOmmX 10mm;缺棱的深度不得大于法兰厚度的1/3,且不得影响法兰 连接的强度。
10组合型风管管板接合四角处应涂满无机胶凝浆料密封, 并应采用角形金属型材加固四角边,其紧固件的间距应小于或等 于200mm。法兰与管板紧固点的间距小于或等于120mm。
11整体型风管加固应采用与本体材料或防腐性能相同的材 料,加固件应与风管成为整体。风管制作完毕后的加固,其内支 撑横向加固点数及外加固框、内支撑加固点纵向间距应符合表 3. 5. 1-3的规定,并采用与风管本体相同的胶凝材料封堵。
衰3.5.1-3整体型凤管内支撑横向加固点数及外加固框、 内支撑加固点纵向间距
| 类别 | 系统工作压力(Pa) | |||||
| 500 VP ≤630 | 630 VP ≤820 | 820 < P ≤ 1120 | 1120 < P ≤ 1610 | 1610<P ≤25OO | ||
| ________内支撑横向加固点数________ | ||||||
| 风管 边长 (mm) | 630 Vy 1000 | — | — | 1 | 1 | 1 | 
| 1000 <A≤ 1600 | 1 | 1 | 1 | 1 | 2 | |
| 16 00 V 6< 2000 | 1 | 1 | 1 | 1 | 2 | |
| 2000 <Λ≤ 3000 | 1 | 1 | 1 | 2 | 2 | |
| 3000 <6≤ 4000 | 2 | 2 | 3 | 3 | 4 | |
| 纵向加固间距(mm) | 《1420 | ≤I24O | ≤890 | ≤740 | ≤59O | |
27
12组合型风管的内支撑加固点数及外加固框、内支撑加固 点纵向间距应符合表3. 5. 1-4的规定。
表3.5.P4组合型风管内支撑加固点数及外加固框、 内支撑加固点纵向间距
| 类别 | 系统工作压力(Pa) | |||||
| 500 < P ≤600 | 600 < P ≤740 | 740 < P ≤920 | 920 < P ≤ 1160 | 1160 < P ≤ 1500 | ||
| ________内支撑横向加固点数________ | ||||||
| 风管 边长 (mm) | 500 < A ≤ 1000 | — | — | 1 | 1 | 1 | 
| 1000 <⅛≤ 1600 | 1 | 1 | 1 | 1 | 2 | |
| 1600<6≤ 2000 | 1 | 1 | 2 | 2 | 2 | |
| 2000 <δ≤ 3000 | 2 | 2 | 3 | 3 | 4 | |
| 3000 <6≤ 4000 | 3 | 3 | 4 | 4 | 5 | |
| 纵向加固间距(mm) | ≤1100 | ≤1000 | ≤900 | ≤800 | ≤700 | |
注:横向加固点数为5个时应加加固框.并行内支撑固定为一整体.
3.5.2有机玻璃钢风管应符合下列规定:
1风管板材的厚度应符合表3. 5. 2-1的规定。
表3. S. 2-1有机玻璃钢凤管板材的厘度(mm)
| 圆形风管直径D或矩形风管长边尺寸/丿 | |
| D3) ≤ 200 | >2.5 | 
| 200 < D(Δ) ≤ 400 | >3.2 | 
| 400 V DW ≤ 630 | )4.0 | 
| 630 < DS) ≤ 1000 | >4.8 | 
| 1000 < D(6) ≤ 2000 | 》6.2 | 
2风管法兰的规格应符合表3. 5. 2-2的规定。法兰应与风 管成为一体,并应有过渡圆弧;管口与风管轴线成直角;螺栓孔 的间距不得大于120mm且排列均匀。矩形风管法兰的四角处, 应设有螺栓孔。
28
表3.5.2-2有机玻瑞钢凤管法兰规格(mm)
| 风管直径D或风管边长力 | 材料规格(宽X厚) | 一栓孔直径 | 
| De) ≤ 400 | 30X4 | 10 | 
| 400 < D3) ≤ 1000 | 40X6 | |
| 1000 < D(6) ≤ 2000 | 50X8 | 12 | 
3风管制作场地应避免太阳直射,环境温度宜为15t〜 30℃、湿度应为75%以下。
4玻璃纤维网格布之间的接缝应相互错开,搭缝宽度不应 小于50mm。
5风管不应有明显扭曲,内表面应平整、光滑、无气泡, 外表面应整齐、美观,厚度应均匀,且边缘处无毛刺及分层 现象。
6当矩形风管边长大于900mm,且管段长度大于125Omm 时,应有加固措施。加固筋的分布应均匀、整齐,且应在铺层达 到70%以上时再埋入。
7风管的加固应为本体材料或防腐性能相同的材料,并应 与风管成为一体。
3.5.3硬聚氯乙烯、聚丙烯(PP)风管应符合下列规定:
1硬聚氯乙烯、聚丙烯(PP)圆形风管板材厚度应符合表 3.5. 3T的规定,硬聚氯乙烯、聚丙烯(PP)矩形风管板材厚度 应符合表3. 5.3-2的规定。
表3.5.3∙1硬聚氯乙烯、聚两烯(PP)圆形风管板材厚度<mm)
| 风管直径D | __板材厚度 ____ | |
| 微压、低压 | ||
| D <320 | ||
| 320 < D ≤ 800 | 》4 | 二 6 | 
| 800 < D ≤ 1250 | >8 | |
| 1250 < D≤ 2000 | 》6 | |
| D > 2000 | 按设计__________ | |
注:高压按设计规定.
29
表3∙5∙3«2硬聚氯乙烯、聚丙烯(PP)矩形风管板材厚度(mm)
| 风管长边尺寸b | ___________板材厚度___________ | |
| 微压、低压 | _______中压 | |
| 6≤32O | _____》3 | |
| 320<Λ≤ 500 | ______》4 | |
| 5OO<6≤8OO | _____》5 | |
| 800 <6≤ 1250 | _____》6 | |
| 1250 <6≤ 2000 | >8 | 》10 | 
| δ>2000 | __________按设计__________ | |
注:高压按设计规定。
2风管板材放样下料应考虑收缩余量。使用剪床切割时, 厚度小于或等于5mm的板材可在常温下进行切割;厚度大于 5mm的板材或在冬天气温较低时,应先把板材加热到30(左 右,再用剪板机切割。
3矩形风管的四角宜采用加热折方成型。板材纵向焊缝距 四角处宜大于80mm。
4硬聚氯乙烯、聚丙烯(PP)圆形风管法兰规格应符合表 3.5.3-3的规定;硬聚氯乙烯、聚丙烯(PP)矩形风管法兰规格 应符合表3. 5. 3-4的规定,法兰的四角处应设有螺孔。
«3.5.3-3 硬聚氯乙燥、聚丙烯(PP)圆形风管法竺规格
| 风管直径D (mm) | 法兰(宽X厚) (mm) | 螺栓孔径 (mm) | 螺栓孔数量 | 连接螺拴 (mm) | 
| D≤180 | >35×6 | 6 | M6 | |
| 180<D≤400 | >35X8 | 8〜12 | M8 | |
| 400VD≤500 | >35X10 | 12 〜12 | M8 | |
| 500<D≤800 | )40X10 | ^ | 16 〜22 | M8 | 
| 8OO<D≤14OO | ~^45×12~ | 11.5 | 24 〜38 | MlO | 
| 14OO<D≤16OO | ~250X05~ | 1L5 | 40—44 | MlO | 
| 16OO<D≤2OOO | ~≥60×15~ | 11.5 | 46~48 | MlO | 
| D>2000 | 按设计 | |||
30
»3.5.3-4 硬聚氣乙烯、聚丙烯(PP)矩形风管法兰规格(mm)
| 风管边长6 | 法兰(宽X厚) | 蝶栓孔径 | 螺孔间距 | 连接螺性 | 
| Λ≤ 160 | 》35X6 | 7.5 | ≤120 | M6 | 
| 160<6≤400 | ≥35×8 | 9.5 | M8 | |
| 400<Λ≤500 | 》35 X 10 | 9.5 | M8 | |
| 500<6≤800 | ≥ 40 X 10 | 11.5 | MlO | |
| 800 < 6 ≤ 1250 | 》45 X 12 | 11.5 | MlO | |
| 1250 <6≤ 1600 | ≥ 50 X 15 | 11.5 | MlO | |
| 1600 <6≤ 2000 | ≥ 60 X 18 | 11.5 | MlO | 
5风管板材间及与法兰连接应采用焊接,焊接前,应按表 3. 5. 3-5的规定进行坡口加工,清理焊接部位的油污、灰尘等杂 质;焊接的热风温度、焊条、焊枪喷嘴直径及焊缝形式应满足焊 接要求,焊缝不得出现焦黄、断裂等缺陷,焊缝应饱满,焊条排 列应整齐。
6风管与法兰焊接连接时,法兰端面应垂直于风管轴线, 突出法兰平面的部分应刨平。直径或边长大于50Omm的风管与 法兰的连接处,应均匀设置三角支撑加强板,加强板间距不得大 于450mm;风管两端面应平行,无明显扭曲;表面应平整,凸 凹不应大于5mm;煨角圆弧应均匀。
表3.5.A5硬聚氯乙烯板焊缝形式、坡口尺寸及使用范围
| 焊缝形式 | 图形 | 焊缝高度 (τnm) | 板材厚度 (mm) | 坡口角度 α (°) | 使用范围 | 
| V形对接 焊缝 | 2〜3 | 3〜5 | 70 〜90 | 单面焊的 风管 | |
| X形对接 焊缝 | 2 | 2〜3 | ≥5 | 70 〜90 | 风管法兰及 厚板的拼接 | 
31
续表 3.5.3-5
| 焊缝形式 | 图形 | 焊缝高度 <mm) | 板材厚度 (mm) | 坡口角度 α (°) | 使用范围 | 
| 搭接焊缝 | ⅛ | 大于或等于 最小板厚 | 3〜10 | — | 风管和配 件的加固 | 
| 角焊缝 (无坡口) | ⅛ | 2〜3 | 6〜18 | — | |
| 大于或等于 最小板厚 | 》3 | — | 风管配件 的角焊 | ||
| V形单面 角焊缝 | 告 | 2〜3 | 3〜8 | 70 〜90 | 风管角部 焊接 | 
| V形双面 角焊缝 | ɪ | 2〜3 | 6〜15 | 70 〜90 | 厚壁风管 角部焊接 | 
7风管直径大于40Omm或长边大于50Omm时,应采用加 固措施,加固宜采用外加固框形式,加固框的设置应符合表 3.5.3-6的规定,加固框的规格宜与法兰相同,并应采用焊接将 加固框与风管紧固。
表3.5.}6 风管加固框规格尺寸(mm)
| 岡形 | 矩形 | ||||||
| 风管直径 D | 管壁 厚度 | 加固框 | 风管长边 长度6 | 管壁 厚度 | 加固框 | ||
| 規格 (宽义厚) | 间距 | 規格 (宽X厚) | 间距 | ||||
| D≤320 | 3(4) | — | — | 6≤320 | 3(4) | —- | |
| 32O<D≤4OO | 4(6) | — | — | 320<⅛≤500 | 4(5) | — | — | 
| dOO<D≤5OO | 4⑹ | 35× 10 | 800 | 500<6≤800 | 5⑹ | 40 X 10 | 800 | 
| 500 < D ≤ 800 | 4⑹ | 40 X 10 | 800 | 800<Λ≤1250 | 6(8) | 45 X 12 | 400 | 
32
续表 3. 5. 3-6
| 圆形 | 矩形 | ||||||
| 风管直径 D | 管壁 厚度 | 加固框 | 风管长边 长度方 | 管壁 厚度 | 加固框 | ||
| 规格 (宽X厚) | 间距 | 规格 (宽X厚) | 间距 | ||||
| 800 < D ≤ 1250 | 5(8) | 45X12 | 800 | 1250 < 6 ≤ 1600 | 8(10) | 50 X 15 | 400 | 
| 1250 < D ≤ 140C | 6(10) | 45 X 12 | 800 | 1600 < 6 ≤ 2000 | 8(10) | 60× 18 | 400 | 
| 1400 < D ≤ 1600 | 6(10) | 50X15 | 400 | — | — | — | — | 
| 1600 < D ≤ 2000 | 6(10) | 60 X 15 | 400 | — | — | — | — | 
| 2000 < D | 按照设计规定 | — | — | — | — | ||
注:()内为中压风管管壁厚度。
8圆形风管直径小于或等于QN200时,宜采用管材;直
径大于DN200时,应采用板材制作。
9圆形风管的曲率半径(以中心线计)及最少分节数量应 符合表3. 5. 3-7的规定。
表3∙5∙-7 Ia形弯管曲率半径及最少节数
| 风管直径D (mm) | 曲率半径 R | ___ 弯管角度和最少节数 | |||||||
| 90° | 60° | 45° | 30° | ||||||
| 中节 | 端节 | 中节 | 端节 | 中节 | 端节 | 中节 | 端节 | ||
| D≤500 | 1.50D | 3 | 2 | 2 | 2 | 1 | 2 | — | 2 | 
| 5OO<D≤8OO | 1.25D | 5 | 2 | 3 | 2 | 2 | 2 | 1 | 2 | 
| D>800 | LOOD | 5 | 2 | 3 | 2 | 2 | 2 | ] | 2 | 
3.6复合板风管
3.6.1酚醛与聚氨酯板复合材料风管的制作应符合下列规定:
1风管板材的拼接方式采用45°角粘结或工型加固条拼接 方式(图3.6.1-1),拼接处应涂胶粘剂粘合。当风管边长小于
33
或等于160Omm时,宜采用45°角形槽口直接粘结,并在粘结缝 处两恻粘贴铝箔胶带;当边长大于160Omm时,宜采用工字形 PVC加固条在接缝处拼接;当采用单层彩钢板(或镀锌钢板) 面的复合板材拼接时,板面一侧应预留15mm〜20mm刚板面在 面层拼接处用铝制拉加钉(或自攻螺钉)固定,節钉间距不应大 于100mm,接缝处采用胶粘剂粘结严密。
 
但)45。角粘结 (b)工字形加同条拼接
图3. 6.1-1风管板材拼接方式
1 一胶粘剂:2-铝箔胶带
2风管下料可采用一片法、二片法或四片法形式组合成形 (图3. 6.1-2)。切口处应均匀涂满胶粘剂粘合,粘结缝应平整, 不得有歪扭、错位、局部开裂缺陷。铝箔胶带粘贴时,其单边粘 贴宽度应不小于20mm。
 
3风管为单面钢面面层时,合缝的角接处需用钢板护角条 压接.采用64X1Omm的自攻钉在护角条上固定用于边角合缝处 的加强,间距不应大于150mm;或在钢板面层处宜接翻边,用 插接方式合角缝,亦可以在下料时在板边预留25mm的钢面面 层直接翻边做加固角以自攻螺釘(铝制拉節钉)加固。
4中、高压风管的内角缝应采用密封材料封堵。风管外角 縫的铝箔断开处,应采用铝箔放带封贴.钢板面层用钢板角条封 边并釆用自攻螺钉(或铝制拉例钉)固定。
34
5 PVC连接件的燃烧性能应符合现行国家标准《建筑材料 及制品燃烧性能分级》GB 8624难燃B级的规定,其壁厚应大 于或等于1∙ 5mmo
6当低压风管边长大于2000mm、中高压风管边长大于或等 于160Omm时,风管法兰应采用铝合金等刚性复合材料。钢板面 层的风管采用法兰连接时,法兰与风管应采用自攻螺钉或拉铀!钉 固定,自攻螺钉不应小于可X 10mm,间距不应大于120mm。
7当边长大于32Omm的矩形风管安装插接法兰时,宜在 风管四角粘贴厚度大于等于0∙ 75mm的镀锌直角垫片,直角垫 片宽度应与风管板料厚度相等,垫片边长不宜小于55mm。
8风管内支撑加固形式应按本规程表3.2.7-3选用,横向 加固点数及纵向加固间距应符合表3. 6.1的规定。
表3.6.1酚醛与聚氨醋复合板风管横向加固点数及纵向加固间趾
| 类别 | 压力(Pa) | ||||||||
| P<300 | 300≤P <500 | 500≤P <750 | 75O≤P <1000 | 1000≤P <1250 | 1250≤P <1500 | 1500≤F <2000 | |||
| 横向加固点数 _____ | |||||||||
| A (mm) | 410V6 ≤600 | — | — | — | 1 | 1 | 1 | 1 | |
| 600<Λ ≤800 | — | 1 | 1 | 1 | 1 | 1 | 2 | - | |
| 800<6 ≤ιooo | 1 | 1 | 1 | 1 | 1 | 2 | 2 | — | |
| IooO<〃 ≤1200 | 1 | 1 | 1 | 1 | 1 | 2 | — | 2 | |
| 1200<G ≤1500 | 1 | 1 | 1 | 2 | 2 | 2 | — | 2 | |
| 1500Vb ≤1700 | 2 | 2 | 2 | 2 | 2 | 2 | — | 2 | |
| 1700<⅛ ≤2000 | 2 | 2 | 2 | 2 | 2 | 2 | — | 3 | |
| 纵向加固间距(mm) | |||||||||
| 聚氨:酯复合板风管 酚醛复合板风管 | ≤1000 I ≤800 ≤800 | ≤600 | ≤400 | ||||||
35
9采用角钢法兰或外套槽形法兰可视为一个纵(横)向加 固点;其余连接方式的风管,边长大于或等于125Omm时,法 兰的单侧方向长度25Omm内,应设横向加固。
3.6.2玻璃纤维板复合材料风管的制作应符合下列规定:
1玻璃纤维复合板内、外表面层与玻璃纤维隔热材料应粘 接牢固,复合板表面应能防止纤维脱落。风管内壁采用涂层材料 时,其材料应符合对人体无害的卫生规定。
2风管内表面层的玻璃纤维布应采用无碱或中碱性材料, 并符合现行国家标准《玻璃纤维无捻粗纱布》GB/T 18370的规 定。内表面层玻璃纤维布不得有断丝、断裂等现象。
3风管宜采用整板材料制作。板材拼接时,应在结合口处 涂满胶液并紧密粘合(图3. 6. 2-1),外表面拼缝处预留宽30mm 的外护层涂胶密封后,采用大于或等于50mm宽热敏(压敏) 铝箔胶带粘贴密封。粘贴密封时,接缝处单边粘贴宽度不应小于 20mm。内表面拼缝处可采用大于或等于30mm宽铝箔复合玻璃 纤维布粘贴密封或采用胶粘剂抹缝。
 
 
(a)外表面预留搭接覆面层
(b)外表面无預留搭接覆面层
图3. 6. 2-1玻璃纤维复合板拼接
1-热敏(压敏)铝箔胶带I 2预留外保护层; 3-密封胶抹缝:4-玻璃纤维布
4风管管板组合的槽口形式可采用45°角形和90°梯形(图 3.6. 1-2、图3.6. 2-2)。管板切割时不得破坏预留的铝箔表层, 封口处应留有大于35mm的搭接边量。
36
图3. 6. 2-2 玻璃纤维复合板风管90。梯形槽口
5槽口处应均匀涂满粘结剂,不得有玻璃纤维外露。风管 组合时,应调整风管端面的平面度(图3.6.2-3),槽口不得而 间隙和错口。风管内角接缝处应用胶粘剂勾缝。风管外接缝应用 预留外护层材料和热敏(压敏)铝箔胶带重叠粘贴密封,在外接 缝处宜用骑缝扒钉加固,间距不应大于50mm.并应采用宽度大 于50mm的热敏胶带粘贴密封。
 
图3. 6. 2-3风管制作直角成型形式图
I-密封胶勾缝;2-扒钉:3-热敏(压敏:) 胶带;
4一預留外表层;5-两层热敏(压敏> 皎带
6风管采用金属槽型框、波纹槽框外加固时,应设置内支 撑,并将内支撑与加固框紧固为一体。负压风管的加固,应设在 风管的内侧.波纹槽形加固件(图3.6.2-4)。风管的内支撑横 向加固点数及外加固框纵向间距应符合表3. 6. 2-1的规定。
 
图3. 6. 2-4波纹槽形加固件
表3.6.2-1玻璃纤维复合材料风管内支撑横向 加固点数及外加固框纵向间距
| 类别 | 压力(Pa) | |||||
| PW 100 | IoOVP ≤250 | 250 < P ≤ 500 | 500 < P ≤750 | 750 < P ≤ 1000 | ||
| 内支撑横向加固点数 | ||||||
| 风管 边长 6 (mm) | 320<6≤400 | — | — | — | — | 1 | 
| 400 <6≤ 500 | — | — | 1 | 1 | 1 | |
| 500 V 6& 630 | — | 1 | 1 | 1 | 1 | |
| 630 < Λ ≤ 800 | 1 | 1 | 1 | 2 | 2 | |
| 800<6≤ 1000 | 1 | 1 | 2 | 2 | 3 | |
| 1000 <6≤ 1250 | 1 | 2 | 2 | 3 | 3 | |
| 1250 < 6 ≤ 1400 | 2 | 2 | 3 | 3 | 4 | |
| 1400 <Λ≤ 1600 | 2 | 3 | 3 | 4 | 5 | |
| 1600 <δ≤ 1800 | 2 | 3 | 4 | 4 | 5 | |
| 1800 <Λ≤ 2000 | 3 | 3 | 4 | 5 | 6 | |
| 槽形外加固框纵向 间距(Inm) | ≤600 | ≤400 | ≤350 | |||
7当风管按本规程表3. 1.6采用角钢法兰、外套槽形法兰 连接时,其法兰连接处可视为一外加固点。其他连接方式风管的 长边大于或等于125Omm时,距法兰15Omm内应设纵向加固。 采用阴、阳樺连接的风管,应在距椎口 IOOmm内设纵向加固。
8采用丙烯酸树脂涂覆内表面层时应均匀,不得有玻璃纤 维外露。
9风管的外加固槽形钢规格应符合表3. 6. 2-2的规定。
表3.6. 2-2 玻璃纤维复合材料风管外加固槽型钢规格(mm)
| ______风管边长尺寸______ | 槽型钢高度X宽度X厚度 | 
| 6≤1250 | [40X20*1.0 | 
| 125O<Λ≤2OOO | [40X20X1. 2 | 
38
10风管加固内支撑件和管外壁加固件应采用镀锌螺栓连 接,螺栓穿过管壁处应进行密封处理。
11风管成型后,管端为阴、阳樺的管段应水平放置,管端 为法兰的管段可以立放。风管应待胶液干燥固化后方可挪动、叠 放或安装。风管应存放在防潮、防雨和防风沙的场地•
12风管漏风量应符合本规程表5. 1.1规定,采用法兰连接 时,其漏风量应满足B级或以上要求;采用非法兰连接时,其 漏风量应满足C级或以上要求。
13风管吸声降噪性能的测试应符合现行国家标准《声学混 响室吸声测量》GB/T 20247测试方法的规定,吸声系数(降噪 系数)应大于或等于0.6。
14 90。直角弯管的制作可采用直管侧面开口、端面封堵的 方式或采用45°角裁切风管拼接的方式制作。导流片的制作参照 本规程第3∙ 11. 2条的规定,或采用与本体材料相同的专用件制 作,采用专用件制作导流叶片的片距控制在75mm〜80mm,合 管时一定要保证导流片垂苴于板面。
15三通与90°直角弯头的制作方法基本相同。
16变径管与直管的制作基本相同,端面边长差值超过 80mm的应采用拼接法制作,管长不宜小于600mm。
3.6.3彩钢玻璃纤维板复合材料风管的制作应符合下列规定:
1彩钢板(或镀锌钢板)的板材厚度应按表3. 6. 3-1选取. 彩钢板钢板下料不宜采用多片法F料制作。
表3. 6.3-1双面彩钢板f或镀锌钢板}复合风管板材厚度(mm)
| 风管边长尺寸〃 | — 板矩形风管 | |||
| 微压、低压、中压系统 | 高压系统 | |||
| 内板 | 外板 | 内板 | 外板 | |
| 6≤500 | 0. 30 | 0. 30 | 0. 35 | 0. 30 | 
| 5∞<Z≤1000 | 0. 35 | 0. 35 | 0. 50 | 0. 35 | 
| 1000<Λ≤2000 | 0. 35 | 0. 35 | 0. 50 | 0. 35 | 
| t>2000 | __________按设计要求__________ | |||
39
2风管法兰采用PVC (硬聚氯乙烯)槽型封闭法兰或铝合金 断桥隔热法兰。其中PVC法兰须采用无铅无毒复合稳定剂生产。 微压、低压、中压风管长边尺寸4≤2000mm时,采用PVC (硬聚 氯乙烯)槽形封闭法兰,Z>>2000mm时,采用铝合金断桥隔热法 兰;高压风管长边尺寸b&lOOOmm时,采用PVC (硬聚氯乙烯) 槽型封闭法兰,当6›IOOOmm时,采用铝合金断桥隔热法兰。
 
图3. 6. 3 四片90° 组合方式
I-内外层彩钢板 (或钢板>,2—玻 璃纤维板
3玻璃纤维板采用四片组合90。下料方 式(图3. 6.3〉,将切割成型的玻璃纤维板材 料填入风管内外层之间的空腔,玻璃纤维板 材料应填实、搭接处无缝隙,彩钢板搭接处 不得有隔热材料外露。四角包边应采用抽芯 刨钉碑!固,风管法兰外侧抽芯钢钉间距不大 于200mm、内侧不大于120mm;风管每个法 兰角節接点不应少于2个。
4当用于高压系统时,在法兰与风管内 板的接缝处、法兰之间的接缝处以及风管咬
口缝处应粘贴密封胶带。
5风管组装后法兰角与法兰连接处间隙应严密.风管尺寸 偏差应符合表3. 6. 3-2的规定。
表3.6.J2 矩形风管内(外)边长制作允许偏差(mm)
| 风管边长 b | 边长偏差 | 矩形风管 表面平面度 | 矩形风管端口 对角线之差 | 法兰或端口 端面平面度 | 
| 6≤320 | ±2 | 3 (4) | 3 (4) | 2 (3) | 
| 6>320 | + 3 | 5 (6) | 4⑸ | 4 (5) | 
注:()内为风管外边长控制偏差.
6当风管边长大于800mm,微压或低压风管单边面积大于 1.5m∖中压或高压风管单边面积大于1.2π?,均应采取加固措 施;加固宜采用管内支撑形式,支撑与风管的固定应牢固,两端 与风管受力(压)面连接处应设置专用垫圈,支撑杆与风管接触
4。
处应采取断桥措施,支撑点距风管侧面、风管法兰及支撑点之间 的间距应均匀,不应大于950mm。
3.6.4机制玻镁复合板风管的制作应符合下列规定:
1机制玻镁复合板风管表面强度结构层增强材料,应采用 中碱(或无碱)玻璃纤维布及植物纤维;以镁水泥为胶凝材料制 作,夹芯层应采用隔热材料或不燃轻质结构材料制作。胶凝材料 硬化体中不应含游离氣离子,应无返卤、泛霜现象。
2强度结构层、夹心层应粘合牢固,无分层现象。
3当机制玻镁复合板风管采用无碱或中碱玻璃纤维网格布 时,应符合现行行业标准《菱镁制品用玻璃纤维布》WB/T 1036的规定;镁水泥中的氧化镁应符合现行行业标准《菱镁制 品用轻烧氧化镁》WB/T 1019的规定。
4机制玻镁复合板风管按其分类风管参数应符合表3. 6. 4-1 的规定。
表3.6.41机制破镁复合板风管物理性能参数
| 凤管分类 | 节能(或低温节能)、 洁净、普通隔热型 | 排烟型 | 防火、耐火型 | 
| 表面强度结构层厚度 (mm) | >2 | ||
| EPS隔热材料密度 ___________(kg∕m3) | ≥18 | — | |
| 玻璃纤维布总层数 | ____________》2层 ____ | ||
| _____燃烧性能_____ | 不低于Bl级 | A級 | |
| 风管板面宙度 __________(kg∕π√)__________ | ≤9 | <11 | 18 〜25 | 
| 抗折荷载(N) | >1200 | ≥1200 | 》1500 | 
| F化系数(%) | 浸水时间大于或等于2人 软化系数大于或等于85 | ||
S板材切割线应平直,切割面和板面应垂直,切割后的风 管板对角线长度的允许偏差应为5mm;切割风管侧板时,应同 时切割出组合用的阶梯线,并切除阶梯线外夹芯层,切割深度不 应触及板材外覆面层(图3. 6. 4-1)。
41
 
图3. 6. 4-1风管侧板阶梯线切割示意图 尸风管板摩:人一切割深度;A-覆面层厚度
1 一阶梯线;2一待去除夹心层;3一刮刀;4一风管板外覆面层
6直风管可由四块板粘结而成(图3.6.4-2),变径风管的 制作方法与直风管相同,长度不应小于两端面边长之差。
 
图3. 6. 4-2机制玻镁复合板矩形风管组装示意图 】一及管顶板;2一风管侧板:3 -涂专用胶粘剂处;
4-风管底板1 5-覆面层1 6一夹心层
7边长大于226Omm的风管可采用板材对接粘接的方式制 作(图3. 6.4-3),接缝的两侧应分别粘贴(3〜4)层宽度不小 于50mm的玻璃纤维布增强,粘贴前应采用砂纸打磨贴面,清
円
 
三7
图3. 6.4-3复合板拼接方法示意图
I-破璃纤维布:2-风管对接处
42
除粉尘,粘贴牢固。
8矩形弯管平面边长⅛≤500mm的宜采用1型方式来制作, 边长50Omm<6<1250mm的采用口型方式(图3.6.4-4)。三通 的制作采用内外弧拼接的形式(图3. 6. 4-5)。
 
图3.6.4-4 90°弯管放样下料示意图
9胶粘剂应按产品技术文件 的要求进行配置,应采用电动搅 拌机搅拌.搅拌后的胶粘剂应保 持流动性;配制后的胶粘剂应及 时使用,胶粘剂变稠或硬化时, 不应使用;外购胶粘剂应符合产 品技术文件的要求。
10风管组合粘结成型时风管
 
图3. 6. 4-5三通放样 下料示意图
端口应制作成错位接口形式,风管组装顺序依次为(a)、(b)、(C)(图
3.6.4-6),对口纵向粘结侧板时应与上下面板错位不少于l∞mmo
 
(a)风管底板放于组装蛰块上 (b)安装风管俯板 (C)安装项板
图3. 6. 4-6风管组装示意图
I-底扳:2-垫块;3一侧板;4一顶板
43
11风管组装完成后.应在组合好的风管两端扣上角钢制成 的II型箍,n型箍的内边尺寸应比风管长边尺寸大3mm〜5mm, 高度应与风管短边尺寸相同。然后用捆扎带对风管进行捆扎,捆 扎间距不应大于700mm,捆扎带离风管两端短板的距离应小于 50mm (图3.6.4-7)。风管捆扎后,应保持风管四角应平宜,其 端口对角线的允许偏差应符合本规程表3. 1. 8的规定,并及时清 除管内外壁挤出的余胶,填充空隙。
 
I-风管上下板:2-风管侧面板:3一扎带紧固;4-n形羅
12粘结后的风管应根据环境温度,按照规定的时间确保胶粘 剂固化。在胶粘剂固化阶段,不应搬移风管。胶粘剂固化后,拆除 捆扎带及11型箍,再次修整粘结缝余胶,填充空隙,放置平整。
13矩形风管的加固宜采用直径大于或等于IOmm的镀锌 丝杆做内支撑,支撑件穿过管壁处应进行密封处理(图3. 6. 4-8); 负压风管高度大于80Omm时,内支撑应采用大于或等于依5mm 的镀锌钢管。
 
图3. 6. 4-8隔热风管内支撑加固示意图
1 一俄锌螺杆:2-风管:3-镀锌垫圈;
4一紧固螺母;5-隔热罩:6一填塞隔热材料
44
14风管内支撑横向加固数量应符合表3.6.4-2的规定,风 管加固的纵向间距应小于或等于1300mm;距风机5m内的风 管,在系统工作压力的基础上增加500Pa,对照表3. 6. 4-2的规 定计算内支撑数量。
S 3.6.4-2风管内支撑横向加固数■
| 风管长 边尺寸 6 (mm) | 系统设计工作用力(Pa) | |||||||||||
| 微、低压系统 P≤500 | 中压系统 5OO<P≤15OO | 高压系统 15OO<P≤25OO | ||||||||||
| 复合板厚度(mm) | 复合板厚度(mm) | 复合板厚度(mm) | ||||||||||
| 18 | 25 | 31 | 43 | 18 | 25 | 31 | 43 | 18 | 25 | 31 | 43 | |
| 125O≤Λ<16OO | 1 | — | — | — | 1 | - | — | — | 1 | 1 | — | — | 
| 1600≤6<2000 | 1 | 1 | 1 | 1 | 2 | 1 | 1 | 1 | 2 | 2 | 1 | 1 | 
| 2000≤6<2500 | 2 | 2 | 1 | 1 | 2 | 2 | 2 | 2 | 3 | 2 | 2 | 2 | 
| 2500≤Δ | 按设计要求 | |||||||||||
IS机制玻镁复合材料风管伸缩节长度宜为40Omm (图 3. 6.4-9),伸缩节套管内边尺寸应比风管的外边尺寸大3mm~ 5mm,伸缩节与风管中间应填塞3mm〜5mm厚的软质隔热材 料。边K大于160Omm的伸缩节中间应增加内支撑加固,内支 撑加固间距应按IOOOmm布置,允许偏差应为20mm。
 
3
 
图3. 6. 4-9伸缩节构造示意图
I-风管;2-伸缩节;3一填塞软质材料并密封:
4一角制或槽钢防晃支架:5-内支撑
45
3.7净化系统风管
3. 7.1风管制作场地应相对封闭,制作场地宜铺设不易产生灰 尘的软性材料。制作人员进人场地宜穿软底鞋。
3.7.2风管加工前应采用清洗液去除板材表面油污及积尘,清 洗液应采用对板材表面无损害、干燥后不产生粉尘,且对人体无 危害的中性清洁剂。
3.7.3风管应减少纵向接缝,且不得有横向接缝。矩形风管底 板的纵向接缝数量应符合表3. 7. 3的规定。
表3.7.3净化系统矩形风管底板允许纵向接缝数量
| 风管边长(mm) | Λ≤900 | 900<Λ≤1800 | I800<6≤2600 | 
| 允许纵向接縫数量 | 0 | 1 | 2 | 
3.7.4风管的咬口缝、斜接缝以及法兰翻边四角缝隙处,应按 设计及洁净等级要求,采用涂密封胶或其他密封措施堵严。风管 板材连接缝的密封面应设在风管壁的正压侧;密封材料宜采用不 易老化、不易产尘、不含有害物质的环保材料。
3.7.5彩色涂层钢板风管的内壁应光滑,加工时应避免损坏涂 层,被损坏的部位应涂环氧树脂防护。
3.7.6风管合缝时,宜采用木质或胶质等非金属榔头锤击。
3. 7.7净化系统风管法兰的節钉间距应小于IOOmm,空气洁净 等级为1级〜5级净化系统风管的法兰斜钉间距应小于65mm。
3.7.8风管采用的螺栓、螺母、垫圈和引钉应采用镀锌或其他 防腐措施.不得使用抽芯倒钉。
3. 7.9风管不得采用S形插条、直角形平插条及立联合角插条 的连接方式。空气洁净等级为1级〜5级的风管不得采用按扣式 皎口形式。
3.7.10风管内不得设置加固框或加固筋。
3.7.11风管制作完毕应使用中性清洗液清洗,清洗应在相对封 闭洁净的空间内完成,清洗后经检查达到要求并擦拭干燥后,应
46
及时封口。
3.8柔性风管
3.8.1柔性风管应选用防腐、不透气、不易霉变的材料制作。 用于空调系统时,应采取防止结露的措施,外隔热风管应包覆防 潮层,隔热材料不得外露。
3.8.2直径小于或等于250mm的金属圆形柔性风管,其壁厚 应大于或等于0∙ 09mm;直径为25Omm〜50Omm的风管,其壁 厚应大于或等于0∙ 12mm;直径大于50Omm的凤管,其壁厚应 大于或等于0・2mm0
3.8.3风管材料、胶粘剂的燃烧性能应达到难燃Bl级。胶粘剂 的化学性能应与所粘结材料一致,且在一30°C〜70t环境中不开 裂、不融化、不水溶,并保持良好的粘结性。
3.8.4 铝箔聚酯膜复合柔性风管的壁厚应大于或等于 0.021mm,钢丝表面应有防腐涂层,且应符合现行国家标准 《胎圈用钢丝》GB 14450的规定。钢丝规格应符合表3.8.4的 规定。
*3.8.4铝箔聚酯膜复合柔性风管钢丝规格(mm)
| 风管直径D | D≤2O0 | 2OO<D≤4OO | D>400 | 
| 钢丝直径 | 0. 96 | 1.20 | 1.42 | 
3.8.5柔性风管应具有能使自身保持基本定型状态的支撑结构, 不应塌陷与扭曲、影响有效截面积。
3.9钢板内衬玻璃纤维隔热材料风管
3.9.1钢板内衬玻璃纤维隔热材料风管的外层钢板风管制作, 可按本规程第3.1、3. 2节执行。除另有说明外,内衬玻璃纤维 隔热材料风管规格为内表面尺寸,风管外部尺寸应增加设计需要 的内衬隔热层厚度。
3.9. 2内衬玻璃纤维隔热材料的切割应符合下列规定:
47
1采用专用刀具切割或其他适合的尖锐刀具手工切割-
2方形风管直管段的制作,可使用自动生产设备切割、 敷贴。
3弯头、三通、异径管、天圆地方等管件使用专用自动化 切割设备切割。
4圆形风管直管段玻璃纤维内衬隔热层制作应使用专用开 槽机具,以保证槽间距均匀、刀口整齐。
5圆形风管弯头、三通每节衬管尺寸应与每节钢板风管尺 寸相匹配。
3.9.3玻璃纤维内衬隔热材料与钢板风管粘贴应符合下列规定: ɪ胶粘剂应满足粘贴性能并符合环保要求。
2胶粘剂可采用辑涂、喷涂或刷涂,方形风管涂刷面积不 应小于90%,圆形风管内衬隔热层两端的外表面至少涂抹80mm 宽的胶粘剂以利于与钢板风管粘贴。
3应将隔热层带有玻璃纤维毡的表面朝向空气流。
4圆形玻璃纤维内衬隔热材料连接处的外侧,应采用宽度 大于等于50mm的加筋铝箔胶带纵向粘贴、横向间隔40Omm环 形粘贴。
5圆形弯头、三通每节衬管边缘及管段连接截面均应使用 粘合剂,每节衬管需装入正确的位置,应使接口平顺。
3.9.4内衬隔热材料机械紧固应符合下列规定:
1风管边长大于20Omm的方形风管内衬玻璃纤维隔热层, 应使用机械紧固件固定。
2机械紧固件可以使用镀锌钢制冲击型、焊接型或粘结型 固定钉,应使其牢固地固定在钢板上。
3金属紧固钉直径不应小于L 5mm,非金属紧固钉直径不 应小于5mm,紧固件头或垫圈直径不应小于25mm,厚度不应 小于0.25mm,并应当使用杯形或斜面形紧固钉。安装后,被压 缩的内衬隔热层压缩量不应超过3mm。
4 机械紧固件在风管内部应按照气流方向、气流速度合理
48
布置。紧固件间距不应大于表3. 9. 4的规定。
表3.9.4内衬隔热风管管内风速与紧固件间距(mm>
| 凤速(m∕s) | ||
| ≤12 | >12 | |
| 纵向O边第一列跑内衬隔热层折角_________ | 100 | 100 | 
| 横向指端头第一排距内衬隔热层横向端头_____ | 75 | 75 | 
| 纵向每列间距__________________ | 300 | 150 | 
| 横向毎排间距__________________ | 450 | 400 | 
注:排一沿气流横向.列一沿气泡方向。
5圆形风管玻璃纤维内衬隔热层不宜使用机械紧固件固 定。当需使用时,紧固件头或垫圈不能压缩玻璃纤维内衬隔 热层。
3.9.5玻璃纤维内衬隔热层应符合下列规定:
1玻璃纤维内衬隔热层横断切面应完全涂有胶粘剂。
2玻璃纤维内衬隔热层在矩形管段角落应折叠和压缩,纵 向接缝一般只应设置在风管的折角处。特殊情况,暴露的接头应 涂覆胶粘剂并安装额外固定用的机械紧固件。
3当风管内空气流速超过16m/s时,方形风管迎风向风管 内衬边缘应安装端口护板,圆形风管应使用金属衬套,保护管段 前缘连接部分。
4导流片或其他配件若设置在玻璃纤维内衬隔热风管内, 安装时不能损坏玻璃纤维内衬隔热层气流表面。可使用帽形支撑 件或其他支撑件,支撑件可采用節接、焊接或使用自攻螺钉固定 在风管壁上。支撑件内部也需粘贴玻璃纤维隔热材料。
3.10织物布风管
310.1织物布风管的材质性能应符合下列规定:
1布面抗拉强度满足中压风管运行JK力下布面不应懈缝、 接缝不应撕裂,撕裂强度应满足现行国家标准《纺织品织物撕破
49
性能第1部分:冲击摆锤法撕破强力的测定》GB/T 3917. 1的 规定。
2健康安全性能应达到现行国家标准《国家纺织产品基本 安全技术规范》GB 18401规定的指标。
3在200Pa测试压力下渗透率应符合现行国家标准《纺织 品织物透气性的测定》GB/T 5453规定的10mm∕s~400mm∕s 的要求。
4风管的抗静电性能应符合现行国家标准《纺织品静电性 能的评定第4部分:电阻率》GB/T 12703. 4的相关规定。
5抗凝露性能应符合现行行业标准《非金属及复合风管》 JG/T 258的相关规定。
3.10.2产品规格应以计算规格为准,应按本规程表2.0. 12-1、 表2. 0.12-2选用,特殊情况可采用半圆形、90°角扇形、锥形等 形状,规格尺寸误差应为±5mm;其布面厚度不应小于 0.23mm,材料密度应在90g/n√〜300g/m2之间,其制作形式应 采用符合设计要求的产品形式及规格。
3.10.3布料的剪裁与缝制应符合F列规定:
1织物布风管下料时应采用专用切割机进行裁剪。
2织物布风管接缝缝合时,两片或多片布料的缝合处应包 缝、平缝各一行,包缝宽度不应小于5mm,缝制针距不宜大 于 3mm。
3风管的接缝应采用顺气流方向,接缝应严密,管内织物 布边缘不应出现毛边。
4缝纫线要与织物布风管材料选择强度相匹配。
3.10.4织物布风管应采用工厂加工,直风管应分段进行制作, 管段长度不宜超过IOm,管段长度误差为±10mm。
3.10.5织物布风管管件的材质应与主管道材质相匹配,支管与 主管连接处宜采用变径大小头的过渡连接方式,口径面积比宜为 2 〜2. 5。
3.10.6管件应独立制作成件,便于拆装、清洗、更换,成形时
50
直角弯头分4片制作、锐角弯头分3片制作,曲率半径R不应 小于风管直径;管件布料横向拼接不宜超过5片,管件与其他部 件之间用拉链连接。
3.10. 7织物布风管悬挂装置材料与制作应符合下列规定:
1风管直径大于30Omm需采用双排吊点吊挂,吊挂装置 与风管的连接应采用软连接,连接应牢固。
2织物布风管悬挂装置由吊钩及吊带组成,吊带的材料强 度应高于织物布风管管身布料的强度,宽度不应小于20mmo
3织物布风管悬挂装置的总长度(吊带+吊钩)不宜大 于 180mmo
4织物布风管悬挂装置的纵向间距为400mm~IOOOmm, 吊钩间垂直距离为O. 5D -0. 7D。
5吊挂应均匀分布,吊挂长度应基本一致,风管的末端应 设吊挂点。
3.10.8管段及部件采用拉链连接,连接应严密,并在拉链处做 防漏风设计。其抗拉强度应不低于织物布风管的强度。
3.11金属风管配件
3.11.1矩形风管的弯管、三通、四通、变径管、异形管、导流 叶片、三通拉杆阀等配件材料厚度及制作要求应符合风管同材质 的相应规定。
3.11.2矩形弯管分为内外同心弧形、内弧外直角形、内斜 线外直角形及内外直角形(图3. 11.2-1),其制作应符合下 列规定:
1矩形弯管宜采用内外同心弧形,弯管曲率半径宜为一个 平面边长,圆弧应均匀。
2矩形内外弧形弯管平面边长大于500mm,且内弧半径, 与弯管平面边长6之比小于或等于0. 25时应设置导流片。导流 片弧度应与弯管弧度相等,迎风边缘应光滑,片数及设置位置应 符合表3. 11.2-1的规定。
51
 
 
(C)内斜线外直角形
(d)内外直角形
矩形弯管示意图
S 3.11. 2-1内外弧形矩形弯管导流片数及设置
| 弯管平面边长 6 (mm) | 导流片数 | _________导流片位置_________ | ||
| A | B | C | ||
| YlOOO | 1 | — | — | |
| 1000≤Z><1600 | 2 ~ | Z/4 | Z/2 | — | 
| 16OO≤Λ<2OOO | 3 | 硒 | 丝2 | |
| ⅛≥2000 | 4 | Z√8 | 6/3 | Z√2 3,"4 | 
3矩形内外直角形弯管及边长大于50Omm的内弧外直角 形、内斜线外直角形弯管可选用单弧形或双弧形导流片(图 3.11. 2-2)。导流片圆弧半径及片距宜符合表3. IL 2-2的规定。
 
表3∙1L2・2单弧形或双弧形导流片圆弧半径及片距(mm)
| 单圆弧导流片 | 双圆孤导流片 | ||
| Kl = 50 L = 38 | Kl = 115 L = 83 | Rl = 50 Rz =25 L= 54 | Rl = 115 Rz = 51 L = 83 | 
| 镀锌钢板厚度宜为0.8 | 镀锌钢板厚度宜为0.6 | ||
52
4采用机械方法压制的金属矩形弯管弧面,其内弧半径小 于15Omm的轧压间距宜为20mm~35mm;内弧半径15Omm〜 30Omm的轧压间距宜在35mm~50mm;内弧半径大于30Omm 的轧压间距宜在50mm~70mmo轧压深度不宜大于5mm0 3.11.3圆形弯管可采用立咬口连接,弯管曲率半径R (以中心 线计)和最小分方数应符合表3. 11. 3的规定。弯管的弯曲角度 允许偏差不应大于3。。
表3.11.3圆形风管弯管曲率半径和最少分节数
| 弯管直径D (nun) | 曲率半径K (mm) | 岂管角度和最少节数 | |||||||
| 90° | 60° | 45° | 30° | ||||||
| 中节 | 端节 | 中节 | 端节 | 中节 | I端节 | 中节 | 端节 | ||
| 1∞<D≤22O | ≥1.5D | 2 | 2 | 1 | 2 | 1 | 2 | — | 2 | 
| 220<D≤450 | D-1. 5D | 3 | 2 | 2 | 2 | I | 2 | — | 2 | 
| 450<D≤800 | D〜L 5D | 4 | 2 | 2 | 2 | 1 | '2 | 1 | 2 | 
| 800<D≤1400 | D | 5 | 2 | 3 | 2 | 2 | 2 | 1 | 2 | 
| 1400<D≤2000 | D | 8 | 2 | 5 | 2 | 2 | 2 | 2 | 2 | 
3.11.4变径管单面变径的夹角0宜小于30°,双面变径的夹角 不宜大于60° (图3. 11.4)。
 
图3.11.4 单面变径与双面变径夹角
L一变径管长度
3.11.5圆形风管三通、四通的支管与总管夹角宜为15°~60。, 制作偏差不应大于3°。插接式三通管段长度宜为支管直径的2倍 加100mm,支管长度不应小于200mm,止口长度宜为50mm。 三通连接处宜采用咬接或焊接(图3.11. 5)。
53
54
Q^D
图3.11.5三通连接形式
】一咬口、焊接;2一焊接:
3-止口,4一纵向或螺旋咬口
4风管安装
4.1 -般规定
4.1. 1风管系统的安装宜在施工区域建筑围护结构施工完毕、安 装部位和操作场所清理后进行。净化风管系统应在安装部位的地 面已完成、墙体面层工序施工完毕、室内无飞尘或有防尘措施且 能够满足初级净化后进行安装,安装过程中产生的杂尘应及时清 理并确保符合初级净化的要求,中断安装时应对管口进行封闭。
4.1.2风管安装前应完成风管位置、标高、走向的测量、定位、 放线及技术复核,且符合设计要求。建筑结构的预留孔洞位置应 正确,孔洞应大于风管外边尺寸IOOmm或以上。
4.1.3搬运风管应防止碰、撬、摔造成其机械损伤,安装时不 应攀登倚靠风管。
4.1.4风管安装前应对其外观进行质量检查,并清除其内外表 面粉尘及管内杂物。安装中途停顿时.应将风管端口封闭。
4.1.5风管接口不得安装在墙内或楼板内,风管沿墙体或楼板 安装时,距墙面不宜小于200mm;距楼板宜大于150mm。
4.1.6安装在易燃、易爆环境或输送含有易燃、易爆气体的风 管系统应设置可靠的防静电接地装置;输送含有易燃、易爆气体 的风管系统应在通过生活区或其他辅助生产房间外部设置接口。
4.1.7风管穿过封闭的防火、防爆的墙体或楼板时,应设置钢 制防护套管,防护套管厚度不小于1. 6mm,风管与防护套管之 间应采用不燃柔性材料封堵严密。穿墙套管与墙体两面平齐、穿 楼板套管底端与楼板底面平齐,顶端应高出楼板面30mm。
4.1.8风管安装还符合下列规定:
1风管内不应有其他管线穿越。
2不应利用避雷针或避雷网作为室外风管系统拉索的金属
55
固定件。
3输送空气温度高于802的风管应按设计规定采取安全可 靠的防护措施。
4.1.9风管与建筑结构风道的连接接口,应顺气流方向插人, 并应采取密封措施。
4.1.10输送产生凝结水或含蒸气的潮湿空气风管,安装坡度应 按设计要求,并应在管底最低处设置带封堵的泄水管口。风管底 部不宜设置拼接缝,拼接缝处应做密封处理。
4.1.11凤管(不包括独立的排烟系统)与风机、风机箱、空气处 理机等设备相连处,应设置柔性短管,其长度为15Omm〜30Omm 或按设计规定。柔性短管不应作为找正、找平的异径连接管。风 管穿越结构变形缝墙体的两侧,应设置满足系统功能长度为 15Omm~300mm的柔性短管,距离墙体宜为15Omm~200mm。
4.1.12风管测定孔应设置在不产生涡流区的便于测量和观察的 部位;吊顶内的风管测定孔部位,应留出活动吊顶板或检査门。
4.1.13风管安装偏差应符合下列规定:
1明装水平风管水平度偏差不得大于3mm/m,总偏差不 得大于20mm。
2明装垂直风管垂直度偏差不得大于2mm/m,总偏差不 得大于20mm。
3 暗装风管位置应正确,无明显偏差。
4.1.14风管安装使用可调隔振支吊架时,应按设计的要求调整 隔振支吊架的拉伸或压缩量。
4.1.15电加热器前后800mm及防火阀两侧2000mm范围内的 风管应采用不燃材料制作。
4.1.16非金属及复合材料风管支管的重量不得由干管承受,风 管所用的金属附件和部件应做防腐处理。
4.1.17非金属柔性风管应远离热源设备安装。
4.1.18安装部位应无障碍物,操作场地应整洁,安全通道应完 善、畅通,安装用的脚手架及安全防护应无安全隐患。
56
4.2支吊架制作与安装
4. 2.1风管支吊架的固定件、吊杆、横担和所有配件材料应符 合其载荷额定值和应用参数的要求。
4. 2.2风管支吊架制作应符合下列规定:
1支吊架的形式和规格应符合本规程或按有关标准图集、 规范选用,并应符合设计要求,直径大于200Omm或边长大于 250Omm的超宽、超重特殊风管的支吊架应按设计要求执行。
2支吊架的F料宜采用机械加工,采用电气焊切割后,应 对切割口进行打磨处理;不得采用电气焊开孔或扩孔。
3吊杆应平宜,螺纹应完整、光洁,螺母与吊杆丝扣应咬 合紧密。吊杆加长可采用吊杆端头螺纹或通丝连接延长吊杆长 度,当使用内丝套筒螺母连接时,套筒长度不应小于吊杆直径的 4倍,套筒两端应采取防松动措施。
4采用通丝杆时,通丝杆不应直接安装在内胀锚固螺栓上。 镀锌通丝杆不应采用焊接方式延长长度。采用通丝吊杆可参照本 规程表4. 2. 3-1、表4. 2. 3-2、表4. 2. 3-3按照最大风管选用标准 降低两个规格选用。其他类型风管参照执行。
4.2.3在最大允许安装距离下,矩形金属水平风管吊架的最小 规格应符合表4. 2. 3-1的规定;圆形金属水平风管应符合表 4. 2. 3-2的规定;矩形彩钢玻璃纤维板水平风管应符合表4. 2. 3-3的规定,也可按金属风管安装支吊架选用。其他规格应按吊架 载荷分布(图4. 2. 3)及公式4. 2. 3进行吊架挠度校验计算.
表4.2.+ 1金属矩形水平风管吊架的最小规格(mm)
| 风管长边6 | 吊杆直径 | ɪ^ 横担规格 | |
| 角钢 | 槽形钢 | ||
| ⅛≤400 | ≠8 | L 25X3 | [4O×2O×1.5 | 
| 400<6≤1250 | ^8 | L 30X3 | [40X40X2.0 | 
| 1250<6≤2000 | αo | L 40X4 | [40X40X2.5 [60X40X2.0 | 
57
续表4. 2.3-1
| 风管长边6 | 吊杆直径 | _______横担规格_______ | |
| 角钢 | 槽形钢 | ||
| 2OOO<6≤25OO | ≠10 | L. 50X5 | 按设计确定 | 
| 6>2500 | ____________按设计确定____________ | ||
表4∙2.+2金属圆形水平风管吊架的最小短格(mm)
| 风管直径D | 吊杆直径 | 抱程规格 | 横担规格 | |
| 钢丝 | 扁钢 | 角钢 | ||
| D≤250 | 在 | •2.8 | -25X0.75 | — | 
| 250<D≤450 | ≠8 | *,2.8 或 65.0 | ||
| 45O<D≤63O | 趣 | *阻6 | ||
| 630<D≤900 | 华 | *33.6 | -25×l.O | — | 
| 900<D≤1250 | 細 | — | ||
| 1250<D≤1600 | “10 | — | * -25X1.5 | L 40X4 | 
| 1600<D≤2000 | 头何0 | —• | * -25X2.0 | |
| D>2000 | 按设计确定___________ | |||
注;1吊杆直径中的“我”表示两根圆钢,
2钢丝抱箍中的"*"表示两根钢丝合用;
3扁钢中的"*"表示上、下两个半圆弧。
Λ4.2∙3-3矩形彩钢玻璃纤维板水平风管吊架的最小规格(mm)
| 风管长边6 | 吊杆直径 | 横担规格 | |
| 角铜 | 冷弯槽型钢 | ||
| 《500 | 州 | L 25X3 | [50X30X1.5 | 
| 500<Z≤1000 | 懲 | L 30X3 | [50X30X2.0 | 
| 1000<6≤2000 | ≠10 | L 40X4 | [60X30X2.5 | 
| 2000V6≤2500 | 910 | L 50X5 或[5 | [60X30X2. 5 | 
| 6>2500 | ____________按设计确定____________ | ||
吊架挠度校验应按下式计算:
58
 
(P-P∣)α(3L2-4α2) + (Pl+P,)L3
式中y..吊架挠度(mm);
P--风管、隔热及附件总重(kg)!
P——隔热材料及附件重量(kg); α--吊架与风管壁间距(mm); L——吊架有效长度(mm);
E--刚度系数(kPa);
J..转动惯量(mm')s
PZ--吊架自重(kg)。
4.2.4非金属及复合材料风管水平安装的横担可选用相应规格 的角钢和槽钢,也可选用轧制的型钢。允许吊装风管的最大规格 应符合表4. 2. 4-1的规定;玻璃纤维复合材料风管水平安装横担 允许吊装的风管应符合表4. 2. 4-2的规定,轻钢龙骨横担应符合 现行国家标准《建筑用轻钢龙骨》GB/T 11981吊顶龙骨中U形 龙骨的要求。
表4.2.61非金属及籠合材料风管横担允许吊装的风管规格(mm)
| 风管类别 | 角钢或槽形钢 | ||||
| L 25X3 [40×20×1.5 | L 30X3 [40X20X1.5 | L 40X4 [40X20X1.5 | L 50X5 [60X40X2 | L 63X5 [80X60X2 | |
| 无机玻璃-钢风管 | 6≤630 | — | 6≤1000 | 6≤1600 | 6<2000 | 
59
续表 4. 2.4-1
| 风管类别 | 角钢或槽形钢 | ||||
| L 25X3 [40X20X1.5 | L 30X3 [40X20X1.5 | L 40X4 [40X20X1.5 | L. 50X5 [6O×4O×2 | L 63X5 [80X 60X2 | |
| 硬聚氯乙 烯风管 | 6≤630 | — | 6≤1000 | 我2000 | b>2000 | 
| 酚醛(或聚 氨酯)板复合 材料风管 | 6≤630 | 630<6 ≤1250 | 1250V6 ≤1500 | 1500<6 ≤25OO | — | 
| 单面彩钢复一 合铝箱酚醛 板风管 | — | 6≤63O | 63O<A ≤1250 | 1250V6 ≤2000 | 6≤25OO | 
| 双面彩钢复合 酚醛板凤管 | — | Λ≤63O | 630V6 ≤800 | 800<〃 ≤1600 | δ≤2000 | 
*4. 2. 4-2玻璃纤维板复合材料风管水平安装 横担允许吊装的风管规格(mm)
| 风管类别 | 角钢或轻钢龙骨横担_________ | ||
| L 25X3 [50×15×1.2 | L 30X3 [50X15X1.2 | L 40X4 [60×15×1.2 | |
| 玻璃纤维板复合 材料风管 | fr≤400 | 400<fr≤1000 | 1000<⅛≤2000 | 
4.2.5非金属及复合材料风管吊架的吊杆直径应符合表4.2.5 的规定。
表4.2.5非金属及JE合材料风管吊架的吊杆直径适用范围(mm)
| 风管类别 S为风管边长) | 吊杆直径 | |||
| 沁 | 》死 | »10 | 沖2 | |
| 无机玻璃钢 风管 | — | Z≤1250 | 1250<6≤2500 | A>2500 | 
| 硬聚氯乙烯风管 | — | ∕≤1250 | 125O<6≤25OO | Λ>2500 | 
| 酚醛铝箔复合 板风管 | ⅛≤800 | 800<⅛≤2000 | 1250<δ≤2500 | — | 
60
续表4∙ 2.5
| 风管类别 6为风管边长) | 吊杆直径 | |||
| 沁 | 》憩 | 天10 | »12 | |
| 聚氨酯铝箔复 合板风管 | /≤125O | 1250<6≤2000 | 1250<⅛≤2500 | — | 
| 单面彩钢复合 铝箔酚醛板风管 | Λ≤630 | 630<Λ≤800 | 8OO<Λ≤16OO | 1600<∕≤2500 | 
| 双面彩钢复合 酚醛板风管 | — | A≤63O | 63OVB≤15OO | ]500<ft≤25∞ | 
| 玻璃纤维复合 材料风管 | ⅛≤630 | 630<Λ≤2000 | — | |
4.2.6金属风管(含隔热层)水平安装时,其吊架的最大间距 应符合表4. 2.6的规定。
表4.2.6金属风管(含隔热)吊架的间距<mm)
| 管边长或直径 | 矩形凤管 | 圆形凤管 | 薄钢板法兰风管 | |
| 纵向咬口风管 | 螺旋咬口风管 | 3000 | ||
| ≤400 | 4000 | 4000 | 5000 | |
| >400 | 3000 | 3000 | 3750 | |
注:C插条法兰、S插条法兰风管的支吊架间距不应大于3000mm.
4,2.7水平安装非金属及复合材料风管支吊架最大间距应符合 表4. 2. 7的规定。
表4.2.7水平安装非金属及复合材料风管支吊架间距(mm)
| 风管类别 | 风管长边尺寸(mm) | |||||
| Λ≤400 | 400<6 ≤500 | 500<Z> ≤800 | 800V6 ≤1000 | 1000。 ≤1600 | 1600V6 ≤2000 | |
| 玻璃钢风管 | 4000 | 3000 | 2500 | 2000 | ||
| 硬聚氯乙 烯、聚丙烯 (PP)风管 | 4000 | 3000 | ||||
61
续表4. 2. 7
| 风管类别 | 风管长边尺寸(mm) | |||||
| ⅛≤400 | 400VB ≤500 | 500<6 ≤800 | 800<6 ≤1000 | 1000<6 ≤1600 | 1600V6 ≤2000 | |
| 酚醛板复合 材料风管 | 2000 | 1500 | 1000 | |||
| 聚氨酯板复 合材料风管 | 4000 | 3000 | ||||
| 玻璃纤维 板复合 材料风管 | 2400 | 2200 | 1800 | |||
4. 2.8支吊架的预埋件应位置正确、牢固可靠,埋入部分应除 锈、除油污,并不得涂漆。支吊架外露部分需作防腐处理。
4.2.9支吊架不应设置在风口、阀门、检查门和自控机构的操 作部位,距离风口或插接管不宜小于200mm。
4.2. IO采用胀锚螺栓固定支吊架时,应符合胀锚螺栓使用技术 条件的规定。胀锚螺栓宜水平安装于建筑主体的混凝土构件上, 螺栓至混凝土构件边缘的距离不应小于螺栓套管直径的8倍。螺 栓组合使用时,其间距不小于螺栓直径的10倍。螺检孔直径和 钻孔深度应符合表4. 2. 10的规定,成孔后应对钻孔直径和钻孔 深度进行检查。
表4.2.10常用胀镐螺栓的型号、 钻孔直径和钻孔深度(mm)
| 胀锚螺栓种类 | 规格 | 螺拴总长 | 钻孔直径 | 钻孔深度 | 
| M6 | 25 | 8.0 | 32 〜42 | |
| 内螺纹胀锚螺栓 | M8 | 30 | 10.0 | 42 〜52 | 
| MlO | 40 | 12.0 | 43 〜53 | |
| Ml 2 | 50 | 15.0 | 54 〜64 | 
62
续表4. 2. 10
| 胀锚螺栓种类 | 螺栓总长 | 钻孔直径 | 钻孔深度 | |
| M8 | 95 | 10.0 | 65 〜75 | |
| 单胀管式胀锚螺栓 | MlO | 110 | 12.0 | 75 〜85 | 
| M12 | 125 | 18.5 | 80 〜90 | |
| M12 | 125 | 18.5 | 80 〜90 | |
| 双胀管式胀锚螺栓 | Ml 6 | 155 | 23.0 | 110—120 | 
4.2.11当设计无规定时,支吊架安装应符合下列规定:
1靠墙或靠柱安装的水平风管宜用悬臂支架或斜撑支架; 不靠墙、柱安装的水平风管宜用托底吊架。宜径或边长小于 40Omm的风管可采用吊带式吊架。
2靠墙安装的垂直风管应采用悬臂托架或有斜撑支架;不 靠墙、柱穿楼板安装的垂直风管宜采用抱箍吊架,抱箍与风管应 采用螺栓固定,螺孔间距不应大于120mm,螺母应位于风管外 侧,螺栓穿过的管壁处应进行密封处理;室外或屋面安装的立风 管应采用井架或拉索固定,拉索应固定在风管外加固圈或法兰的 角钢上。
4.2.12金属风管支吊架安装应符合下列规定:
1不锈钢板、铝板风管与碳素钢支架的横担接触处,应采 取防腐隔离措施。
2不隔热矩形风管立面与吊杆的间隙不宜大于50mm,吊 杆距风管末端不应大于1000mm。
3距离水平弯管50Omm范围内应设置一个支吊架;水平 弯管、三通边长或风管直径超过125Omm时应设置独立支吊架; 支管距干管1200mm内应设置一个支架。
4风管垂直安装时.其支架间距不应大于4000mm;当单 根直风管长度大于或等于IoOOmm时,应设置不少于2个固定 点。垂直安装的风管支架宜设置在法兰连接处,不宜单独以抱笹
63
的形式固定风管,使用型钢支架并使风管重量通过法兰作用于支 架上,且法兰应采用角钢法兰的形式连接。
4. 2.13非金属风管及复合材料风管支吊架应符合下列规定:
I边长(或直径)大于20Omm的风阀等部件与非金属风 管连接时,应单独设置支吊架。风管支吊架的安装不应有碍连接 件的安装。
2无机玻璃钢风管垂直支架间距应小于或等于3m,每根垂 直风管不应少于2个支架。边长或直径大于200Omm的超宽、超 高等特殊风管的支吊架,其规格及间距应符合设计要求。
3无机玻璃钢消声弯管、边长或直径大于125Omm的弯 管、三通等应单独设置支吊架。
J无机玻璃钢圆形风管的托座和抱箍所采用的扁钢不应小 于30X4。托座和抱箍的圆弧应均匀且与风管的外径一致,托架 的弧长应大于风管外周长的1/3.
5酚醛铝箔复合板风管与聚氨酯铝箔复合板风管垂直安装 的支架间距不应超过2. 4m,每根立管的支架不应少于2个。
6玻璃纤维板复合材料风管垂直安装的支架间距不应大 于 1. 2mo
4.2.14柔性风管支吊架应符合下列规定:
1风管支吊架的间隔宜小于1.5m。风管在支架间的最大允 许垂直度宜小于40mm∕mo
2柔性风管的吊卡箍应采用扁钢条制作(图4.2. 14),其 宽度应大于或等于25mm。卡箍的圆弧长应大于1/2风管周长且 与风管外径相符。柔性风管外隔热层应有防潮措施,吊卡箍可安 装在隔热层外。
ðʤbIab
图4. 2. M 柔性风管卡箍安装
64
4. 2. 15风管安装后,支吊架受力应均匀,且无明显变形,吊架 的横担挠度值应小于9mm。
4.2.16水平悬吊的主干风管或长度超过20m的系统风管,应 设置不少于1个防止风管摆动的固定支架。
4.2.17有隔热层风管吊装横担设置应符合下列规定:
1有隔热层风管的横担宜设在风管隔热层外部,且不得损 坏隔热层。
2采用硬质垫木作为衬垫时,垫木厚度应与隔热层厚度相 同,宽度不应小于横担的宽度,垫木应采取防腐措施,隔热层与 垫木边缘应紧密贴合。
4. 2.18圆形风管的托座和抱箍的圆弧应均匀,且应与风管外径 一致。抱箍支架的紧固折角应平宜,抱箍应箍紧风管。
4. 2.19双面彩钢板复合材料风管支吊架应符合下列规定:
1支吊架宜靠近风管连接件位置。
2风管立面与吊杆的间隙不宜大于50mm,吊杆距风管末 端不应大于600mmo
3水平弯管在50Omm范围内应设置一个支吊架,支管距 干管600mm范围内应设置一个支吊架。
4风管垂直安装时,其支架间距不应大于1200mm,单根 直凤管至少应设置2个固定点。
5抱箍支架,折角应平直,抱箍应紧贴并箍紧风管。
4. 2.20水平安装双面彩钢板复合材料风管支吊架间距应符合表 4.2. 20的规定。
表4. 2. 20 水平安装双面彩钢板复合材料风管支吊架间距(mm)
| 风管边长 | |
| 风管隔热层类别 | ≤500 500<6≤1000 1000<6≤1600 1600<Z≤2000 | 
| ____________支吊架最大间距 _________ | |
| 玻鹤纤维板 | 2800 2400 1800 1400 | 
4.2.21矩形水平安装机制玻镁复合材料风管支吊架的形式、间
65
距、规格应符合表4. 2. 21-1、表4. 2.21-2.表4. 2. 21-3的 规定。
*4.2. 21-1节能(或低温节能)、净化、普通 隔热风管支吊架设置(mm)
| 风管边长方 | fr≤400 | 400V6≤630 | 63O<⅛≤2OOO | ⅛>2000 | 
| 支吊架最大间距 | 2200 | 1500 | ||
| 水平横担规格 | L 30X3 | L 30X3 | L 40X4 | L 50X5 | 
| 吊杆直径 | 河 | 憩 | ¢10 | ≠10 | 
表4. 2.21-2防火、耐火型风管支吊架设置(mm)
| 凤管边长6 | Z≤400 | 4OO<⅛≤63O | 63O<6≤2OOO | 6>2OOO | 
| 支吊架最大间距 | 2200 | 1500 | ||
| 水平横担规格: | L 40X4 | L 40X4 | L 50X5 | [5 | 
| 吊杆直径 | ¢8 | 州 | ≠10 | 312 | 
表4.2. 21。3排烟型风管支吊架型钢规格表
| 凤管边长分 | 6≤400 | 400<δ ≤630 | 630V6 ≤125O | 125O<Λ ≤1600 | 1600Vb ≤25OO | £>2500 | 
| 支吊架 最大间距 | 2200 | 2000 | 1500 | 1300 | 1300 | |
| 水平横担规格 | L 30X3 | L 30X3 | L 40X4 | L 50X5 | [6 或[8 | |
| 吊杆直径 | 死 | #10 | ≠I0 | ¢10 | 612 | |
4.2.22防火阀直径或长边尺寸大于或等于63Ornm时•应单独 设置支吊架,支吊架的安装不能影响阀件的转动构件的操作及连 接件的安装。防火阀、排烟阀(口)安装方向、位置应正确,防 火分区隔墙两侧的防火阀,距墙表面不应大于200mm。
4.3风管连接的密封
4.3.1风管密封材料应按其输送介质及工作温度选用,并应满 足系统功能的技术条件、对风管的材质无不良影响,并具有良好
66
的气密性能。风管法兰垫料种类和特性应符合表4. 3.1的规定。
*4.3.1风管法兰垫料种类和特性
| 燃烧性能 | 主要基材耐热性能 | |
| 橡胶石棉板 | 不燃A级I | — | 
| _____陶瓷类______ | 不燃A级 | 60OiC | 
| _____玻璃纤维类_____ | 不燃A级 | 300iC | 
| ____硅玻钛金胶板____ | 不燃A级 | 30OiC | 
| 硅胶制品 | 难燃Bi级 | 225- | 
| _____丁-橡胶类_____ | 难燃Bl级 | 120,C | 
| _____氯丁橡胶类_____ | 难燃Bl级 | IOO1C | 
| _____聚氯乙烯_____ | 难燃Bi级 | IOOC | 
| 8501密封胶带 | 难燃Bi级 | 80C | 
| ____异丁基橡胶类____ | 难燃B]级 | 80t | 
4.3.2当设计无要求时,法兰垫料的使用应符合下列规定:
1法兰垫料厚度宜为3mm〜5mm。
2输送温度低于70。C的空气,可用橡胶板、密封胶带或其 他闭孔弹性材料。
3输送烟气或温度高于70℃的空气时,应根据介质及工作 温度采用耐高温的材料或不燃等耐热、防火的材料密封。防排烟 系统应采用不燃、耐高温防火材料密封。
4输送含有腐蚀性介质的气体,应根据介质特性采用耐酸 橡胶板、软聚氯乙烯板或硅胶带(圈)。
5净化系统风管的法兰垫料应为不产尘、不易老化、具有 一定强度和弹性的材料。
4-3.3密封垫料应减少拼接,接头连接应采用阶梯形或棒形方 式。密封垫料不应凸人管内或脱落。
4.3.4薄钢板(或组合式)法兰风管的法兰角件连接处应进行 密封。
4.3.5金属风管连接的密封可采用密封胶或密封垫(图4.3.5-
1,图 4. 3.5-25
-^≡^ J^^r j^∙ -A: 士 里 JBJL
图1. 3. 5-1矩形风管管段连接的密封
I-密封胶;2-密封垫
 
图1.3.5-2圆形风管管段连接的密封
I-密封胶
4.3.6非金属风管采用PVC或铝合金插条法兰连接,应对四角 连接处或漏风缝隙处进行密封处理。玻璃纤维板风管采用板材自 有的子母口標接,缝隙处插接密封。
4.3.7风管密封胶应设置在风管正压测。密封材料应符合通风 介质以及外部环境的要求。
4.3.8彩钢板夏合材料风管利用专用法兰、插条等进行连接。 主风管与支风管的连接,宜接开口连接支风管可采用90°连接件 或其他专用连接件(图4. 3. 8)。与软连接管的连接,用金属条 压紧软连接管,用自攻螺钉或钾钉将其固定在风管开口四周;与
 
 
图4.3.8主风管与支风管90。连接示意图
68
调节阀等有法兰的设备连接可采用PVC法兰(或铝合金法兰) 连接;与风口连接亦可采用F形法兰软连接或硬连接。
4.4金属风管
4.4.1金属矩形风管连接宜采用角钢法兰、薄钢板法兰连接、 C形或S形插条、立咬口等连接形式;金属圆形风管宜采用角钢 法兰连接、芯管连接。风管连接应牢固、严密。
4. 4.2角钢法兰连接应符合下列规定:
1角钢法兰的连接螺栓应均匀拧紧,螺母宜在同一侧。
2不锈钢板风管法兰的连接,宜采用同材质的不锈钢螺栓。 采用普通碳素钢螺栓时,应按设计要求喷涂涂料或采取有效的防 腐隔离措施。
3铝板风管法兰的连接,应采用镀锌摞栓,并在法兰两侧 加垫镀锌垫圈。
4安装在室外或潮湿环境的风管角钢法兰连接,应采用镀 锌螺柱和镀锌垫圈。
4.4.3薄钢板法兰的连接应符合下列规定:
ɪ风管四角处的角件与法兰四角接口的固定应稳固、紧贴、 端面平整,相连处不应有大于2mm的连续通缝。
2法兰端面粘贴密封胶条并紧固法兰四角螺栓后,方可安 装插条或弹簧夹、顶丝卡。弹簧夹、顶丝上不应松动。
3薄钢板法兰风管的弹性插条、弹簧夹或紧固螺栓应分布 均匀,无松动现象,间距不应大于150mm,最外端的连接件距 风管边缘不应大于100mm。
4薄钢板法兰采用弹簧夹连接,边长在150Omm〜200Omm 之问时.可在法兰一侧采用螺杆内支撑或钢制板条对法兰进行加 固,管内支撑距法兰内侧距离宜为60mm〜80mm且置于管中心 位置,支撑形式应符合本规程表3.2.7-3的规定:采用钢制板条 时.板条的宽度与薄钢板法兰的高度相适应.厚度不宜小于 2mm, K度与风管的边长相同,端头设¢9螺孔与法兰孔间距相
69
同。风管安装时板条置于法兰外侧面与法兰紧密贴合,两端与法 兰角紧固,并沿两端依次向内不大于30Omm于弹簧夹的间隔处 中间位置采用65旋翼自攻螺钉与法兰固定(图4. 4. 3)。
 
图4. 4. 3薄钢板法兰板条加固示意图
1法兰加固件I2一旋翼自攻螺釘
5弹簧夹宜采用正反交叉固定方式,不宜与其他连接形式 混合使用。
6组合式薄钢板法兰与风管管壁的组合,应在调整法兰口 的平面度后,再将法兰条与风管例接(或本体卸接)。
4.4.4 C形、S形插条连接应符合下列规定:
1 C形、S形插条连接风管的折边四角处、纵向接缝部位 及所有相交处均应密封。
2 C形平插条连接,应先插入风管水平插条,再插入垂直 插条,最后将垂直插条两端延长部分,分別折90。封压水平 插条。
3 C形立插条、S形立插条的法兰四角立面处,应采取包 角及密封措施。
4 S形平插条或立揷条单独使用时,在连接处应有固定 措施。
5矩形风管采用C形、S形插条连接时,连接应平整、严 密,四角端部固定的折边长度不应小于20mm。
6平插条连接的矩形风管,连接后的板面应平整、无明显 弯曲。
4.4.5立咬口、包边立咬口连接的风管,同一规格风管的咬口 高度应一致。紧固螺钉或旬HJ■间距应小于或等于150mm;四角
70
连接处应斜固长度大于60mm的90°贴角。
4.4.6圆形风管采用芯管连接应符合下列规定:
1连接短管与风管的结合面应涂胶密封。
2连接短管与两恻风管应釆用自攻螺钉或例钉紧固,间距 宜为 Ioomm〜120mmo
3带加强筋时,在连接短管1/2长度处应冲压一圈68mm 的凸筋,直径小于700mm的低压风管可不设加强筋。
4.4.7边长小于或等于63Omm的支风管与主风管连接应符合 下列规定:
1迎风面应有30°斜面或R= 150mm弧面,支管长度宜为 I50mm~200mmo
2支管与主管的连接形式可采用S形直角咬接、联合角口 式咬接、法兰螺栓连接、S形止口式咬接、C形直角插条咬接等 形式制作(图4. 4. 7),结合面应压实,并应在接缝处及连接四 角处密封处理。
3采用法兰连接形式时,主风管内壁处上螺钉前应加扁钢 垫并密封处理。
 
图4.4. 7支风管与主风管连接方式
4.4.8金属风管外敷防火板应符合下列规定:
71
1在板与板结合的缝隙处、管段与管段的拼接缝隙处,应 涂抹板材生产厂商认可的专用防火密封胶。
2 U形轻钢龙骨固定在金属风管的外侧,防火板与U形轻 钢龙骨连接,均应采用自攻螺钉。金属风管外敷防火板安装及角 部连接(图4.4.8)。
 
 
图4.4.8金属风管外敷防火板及角部连接图
I-吊杆,2-防火板;3ɪ轻钢龙骨,4槽钢或角钢托架:
5-U形轻钢龙骨:6一金属M管:7 -自攻IS钉
3 风管与设备、风阀等连接时,宜采用角钢法兰。两法兰 之间应使用密封性能良好、有一定弹性且符合相应耐火极限要求 的垫料。
4防火板外侧应单独设置吊托架,其间距可参照风管吊托 架间距;风管垂直安装至少有2个固定点,支架间距不应大 于 2. 4mo
4.5非金属及复合材料风管
4.5.1除无机玻璃钢风管.其他非金属及复合材料风管穿过需 密封的楼板或墙体时•应采用金属短管连接或外包金属套管安 装,短管长度以两侧出楼板或墙体IOOmm为宜,套管板厚应符 合金属风管板材厚度的规定。
4. 5.2风管管板与法兰(或其他连接件)采用插接连接时,管 板厚度与法兰(或其他连接件)槽宽度应有适度的过盈量.插接 面应涂满胶粘剂。法兰四角接头处应平整.不平度应小于或等于
72
1.5mm,接头处的内边应涂抹密封胶。
4.5.3无机玻璃钢风管安装应符合下列规定:
1风管边长或直径大于125Omm的整体型风管吊装时不应 超过2. 5m,边长或直径大于1250mm的组合型风管吊装时不应 超过3. 75mo
2风管连接应严密,法兰连接螺栓的两侧应加镀锌垫圈并 均匀拧紧,其螺母宜在同一侧。
3承插式风管的连接处四周缝隙应一致,内外涂的密封胶 应完整。
4氯氧镁水泥无机玻璃钢风管与金属横担间应有防腐蚀 措施。
4. 5.4有机玻璃钢风管安装除符合本规程第4. 5. 3条外,当采 用套管连接时,套管厚度不得小于风管板材厚度。
4.5.5硬聚氯乙烯、聚丙烯(PP)风管安装除符合本规程第 4. 5. 4条外,还应符合下列规定:
1圆形风管可采用套管连接或承插连接(图4.5∙5>,套管 厚度及宽度应符合表4. 5. 5的规定。
pΞ∣ ]ɪl
(a)套管连接 (b)承插连接
图4.5.5硬聚氯乙烯、聚丙烯(PP)风管连接
表4.5.5圆形风管连接套管厚度及宽度(mm)
| 320<D 630<D 1000<D 管径D D≤320 ≤630 ≤1000 ≤1600 | D>1600 | 
| 套管厚度 3__4__5__6__ | 8 | 
| 套管宽度 60 60 70 80 | 100 | 
73
2采用承插连接的圆形风管,直径小于或等于20Omm时, 插口深度宜为40mm~80mm。连接处应粘结严密和牢固。
3采用套管连接时,套管长度宜为150mm〜250mm,其厚 度不应小于风管壁厚。
4采用法兰连接时,垫片宜采用3mm〜5mm软聚氯乙烯 板或耐酸橡胶板,连接法兰的螺栓应加钢制垫圈。
5风管与支吊架间应垫入3mm〜5mm厚的塑料垫片。
6矩形风管主管与支管连接处应加设加强板,加强板的厚 度应与主风管一致;从矩形主风管接圆形干支管则应采用45°板 立焊加固。
4.5.6酚醛铝箔与聚氨酯铝箔复合板风管安装还应符合下列 规定:
1插条法兰条的长度宜小于风管内边Imm〜2mm,插条法 兰的不平度小于或等于2mmo
2中、高压风管的插接法兰之间应加密封垫或采取其他密 封措施。
3插接法兰四角的插条端头应涂抹密封胶后再插护角。
4 风管边长小于或等于500mm 的支风管与主风管接连时,可采用在 主、支风管接口处切45。坡口直接粘接 的方法连接(图4.5.6)。亦可按本规 程第4. 3. 8条的要求制作,连接件四角 处应涂抹密封胶,粘贴严密。
4. 5.7玻璃纤维板复合材料风管安装 还应符合下列规定:
1板材搬运中,应避免破坏铝箔
∣⅛⅞g⅜⅜⅛⅛w⅛¾w⅛⅝¾w⅛g∣
 
45。切口粘接
图4. 5. 6主风管上直接 开口连接支风管方式
外覆面或树脂涂层。
2椎连接风管的连接应在樺口处涂胶粘剂,连接后在外接 缝处应用骑缝扒钉加固,间距不应大于50mm,并用宽度大于 50mm的热敏胶带粘贴密封。
74
3风管预接的长度不宜超过2. 8m。
4采用槽形插接等连接构件时,风管端切口应采用铝箔胶 带或刷密封胶封堵。
5采用钢制槽型法兰或插条式构件连接的风管垂直固定处, 应在风管外壁用角钢或槽形钢抱箍、风管内壁衬镀锌金属内套, 并用镀锌螺栓穿过管壁把抱箍与内套固定.螺孔间距应不大于 120mm,螺母应位于凤管外侧.螺栓穿过的管壁处应进行密封 处理。
6玻璃纤维板复合材料风管在竖井内垂直的固定,可用角 钢法兰加工成"井"字形套,将突出部分作为固定风管的吊耳。 4.5.8机制玻镁风管、无机玻璃钢风管、硬聚氯乙烯风管或聚 丙烯(PP)风管水平安装直管段连续长度大于20m时,应按设 计要求设置伸缩节或软接头(图4.5.8),软接头长度以15Omm 左右为宜,伸缩节的制作应符合本规程第3. 6. 4条的要求。风管 安装时,应在伸缩节两端的风管上设置独立防晃支吊架。支管长 度大于6m时,末端应增设防止风管摆动的固定支架。
图4. 5. 8风管软接头示意图
4.6净化系统风管
4.6.1风管系统安装前,建筑结构、门窗和地面施工应已完成, 具备相对封闭条件。
4. 6.2风管安装场地及所用机具应保持清洁。安装人员应穿戴 清洁工作服、手套和工作鞋等。
4.6.3风管支吊架应在风管安装前定位固定好,减少大量产尘 作业。经清洗干净端口密封的风管及其部件在安装前不得拆卸。
75
安装时拆开端口封膜后应随即连接,安装中途停顿,应将端口重 新封好。
4.6.4法兰密封垫料除应符合本规程第4. 3. 2条的要求外,厚 度应为5mm〜8mm,不得使用厚纸板、石棉橡胶板、铅油麻丝 及油毡纸等。垫料应减少接头,可采用梯形或樺形连接,并应涂 抹胶粘剂粘牢。法兰均匀压紧后的垫料不应凸出风管内壁。
4.6.5风管与洁净室吊顶、隔墙等围护结构的接缝处应严密, 并采用弹性密封胶进行密封。
4.6.6风管所用的螺栓、螺母、垫圈和例钉均应采用与管材性 能相适应、不产生电化学腐蚀的材料。
4.7柔性风管
4.7.1可伸缩的柔性风管安装后,应能充分伸展,伸展度宜大 于或等于60%。风管转弯处其截面不得缩小。
4.7.2金属圆形柔性风管宜采用抱箍将风管与法兰紧固,当直
接采用螺钉紧固时,紧固螺钉距离风管端部应大于12mm.螺钉
间距应小于150mm。
4.7.3用于支管安装的铝箔聚酯膜 复合柔性风管长度宜小于2m,超过 2m的可在中间位置加装不大于 60Omm金属直管段,总K度不应大 于5m。柔性风管与角钢法兰采用钾 接的方式(图4.7.3),采用厚度大
 
图4. 7. 3柔性风管与 角钢法兰的连接
于或等于0. 5mm的镀锌钢板将风管与法兰抑接紧固。
4.7.4圆形风管连接宜采用卡箍紧固,插接长度应大于50mm。当 连接套管直径大于32Omm时,应在套管端面Iomm〜15mm处压制 环形凸槽,安装时卡箍应放置在套管的环形凸槽后面。
4.8织物布风管
4.8.1应按照设计图纸対开孔(或网格条缝)、缝纫、连接以及
76
管件的搭配等进行产品出厂质量检验。
4.8.2织物布风管的安装以悬索、滑轨吊挂形式为主。悬索以 建筑主体为固定点两端固定,悬索应紧绷基本无下垂,悬索一端 应设可调W的花篮螺栓,悬索K度大于15m时应增设悬挂点, 防止风管中部卜‘垂。滑轨吊挂适用于低空间、有顶板的场所。悬 挂系统的安装位置、高度应满足织物布风管系统的安装要求。
4. 8.3织物布风管采用悬索、滑轨等形式吊挂,均有单索 (轨)、双索(轨)及多排钢索等形式;双索及多索吊装时索绳应 平行,间距应与织物布风管的吊点相-致,应符合下列规定:
1绳索材质应为镀锌绳索或不锈钢绳索。
2滑轨材质应为金属滑轨或非金属滑轨。
3两根滑轨对接处连接紧密,不得错位,防止织物布风管 吊钩在滑槽内滑动时被卡住;对接后的滑轨应在同一直线上,不 得有弯曲;双排滑轨安装时应保持两滑轨间平行,滑轨用固定螺 钉纵向间距300mm~700mmo
4. 8. 4织物布风管与金属风管的连接可采用抱箍紧固的连接方 式,金属管口应有翻边及距口 30mm〜50mm环形滚筋凸台,防 止管口划伤织物风管及脱落的保护措施。连接织物布风管的金属 接口的板厚宜为LOmm〜1.2mm、有效长度宜为120mm~ 150mm、外口直径比织物布风管直径小5mm〜8mm,插接后抱 箍应箍紧。
4.8.5安装顺序依照从进风处向末端进行,先主管后支管的原 则;织物布风管的连接接口应严密。
4.8.6安装完成后检查织物布风管是否有打结、错位、扭转等 现象,保持织物布风管平直,处于自然下垂及伸直状态;总长度 偏差应小于或等于200mm,安装高度偏差应小于或等于5mm。
4.8.7遇有影响风管走向的障碍时,不应直接利用风管的柔性 绕过障碍物。
77
5风管检验
5.1 一般规定
5. Ll风管制作质量的检验应按其材料、工艺、风管系统类型、 漏风量等级和输送气体的不同分别进行,风管的漏风量等级与允 许漏风量应符合表5. 1.1的规定。
表5. Ll风管漏风■等级与允许漏风■
| 风管漏风 量等级 | 最大漏风量限定值 [m3/ (h ∙ m?)] | 检测静压限定值(Pa) | |
| 正压 | 负压 | ||
| 病 | 0.1056Xpn 65 | 500 | 500 | 
| B½ | O 0352 XP0 65 | 1000 | 一-750 | 
| C^ | 0. 0117 XP0 65 | 2000 | 750 | 
| -D级 | 0 0036 XPL 65 | 2000 | -750- | 
| 0. OOIoXp)-65 | 20Oq | 做 | |
注:1风管系统按其使用类别分为5级,中压风管最大漏风量不得大于B级,高
压风管最大漏风毋不得大于C级.特殊要求的风管不得大于D级;
2排烟、除尘、低温送风系统的漏风量不得大于B级:
3 1级〜5级净化空调系统的漏风量不得大于C级;
4 E级仅限用于病毒学实验室等有特殊用途的风管, 5尸为风管内承受的检测静压,单位为Pa。
5.1.2外购成品风管应按风管类型提供风管耐压强度、漏风量 等级及漏风量等相应的检测证明文件.检测证明文件不应超过3 年,风管性能检验项目应符合表5.1.2的规定。
表5.1.2风管性能检駿项目表
| 序号 | 检验项目 | 要求 条款 | 试验方法 条款 | 适用范围 | 
| 1 | 燃烧性能 | 5. 2.1 | 5. 2. 1 | 「口金属:复合材料风管 及其辅助材料 | 
78
续表5. ɪ. 2
| 序号 | 检验项目 | 要求 条款 | 试验方法 条款 | 适用范围 | 
| 2 | 抗撕裂 | 5.2.1 | GB/T 3917. 1 | 织物布风管 | 
| 3 | 滲透率 | 5.2.1 | GB/T 5453 | 织物布风管______ | 
| 4 | 抗静电 | 5.2.1 | GB/T 12703. 4 | 织物布风管______ | 
| 5 | 凝露 | 5. 2. 1 | JG/T 258 | 非金属及复合材料风管 | 
| 6 | 风管耐压变形量 | 5. 2.10 | 附录A | 通用项目 | 
| 7 | 漏风量 | 5. 2.10 | 附录B | 通用项目 | 
| 8 | 插入损失 | 5. 2. 19 | 附录C | 静音型风管______ | 
| 9 | 玻璃纤维脱落 | 5. 2.21 | JG/T 258 | 玻璃纤维板或内衬风管 | 
| 10 | 风管释放有 害气体浓度 | 5. 2. 22 | JG/T 258 附录 C | 非金属及复合材料风管 靜音型风管 | 
注:注明风管类型名称的,表示该检验项仅适用于特定类型风管。
5.1.3风管系统的主风管安装完毕,尚未连接风口和支风管前, 应对主干管进行风管系统的漏风量检验。
5.2检验项目
5.2.1风管材料性能应符合下列规定:
1风管材料耐火等级应满足防火设计要求,非金属风管、 复合材料风管材料的燃烧性能应符合本规程表3.1. 3的规定。
2非金属、复合材料风管所用压敏(热敏)胶带和胶粘剂 固化后的燃烧性能应为难燃B1级。
3 PVC材料法兰的燃烧性能应为难燃Bl级。
4风管连接处密封材料燃烧性能应为不燃或难燃Bl级。
5防火风管的本体、框架与固定材料、密封垫料应为不燃 材料,其耐火等级应满足系统防火设计要求。
6当风管穿过需封闭的防火、防爆的墙体或楼板时,应按 本规程第4. 1.7条的要求设置预埋管或防护套管,并封堵严密。
79
7织物布风管应符合本规程第3.10. 1条的规定。
检查数量:全数检查。
检查方法:1)核查风管燃烧性能测试报告;2)点燃试验; 3)尺量、直观检查、探查密封状况;4)用测压设备进行压力测 试试验。
5.2.2金属、非金属、复合材料风管厚度应符合下列规定:
1金属风管板材厚度应符合本规程表3. 2.1、表3. 2. 6-1、 表3. 3.1、表3∙ 4. 1的规定。
2非金属及复合材料风管板材厚度应符合本规程第3. 1. 3 条的规定;采用的铝箔压敏、热敏密封胶带应符合本规程第 3. 1. 3条的规定;双面彩钢板玻璃纤维隔热风管的板材厚度应符 合本规程表3. 1. 9、表3. 6. 3-1的规定。
3无机玻璃钢风管壁厚度及玻璃布层数应符合本规程表 3.5. 1-1、表 3. 5. 1-2 的规定。
4有机玻璃钢风管壁厚度应符合本规程表3. 5. 2-1的规定。
5硬聚氯乙烯、聚丙烯(PP)风管壁厚度应符合本规程表 3. 5.3-1、表 3. 5. 3-2 的规定。
6机制玻镁复合板风管板材应符合本规程第3. 6. 4条的规 定,厚度按系统类别应符合本规程表3. 6. 4-1的规定。
检查数量:全数检查。
检查方法:1)对照图纸核查,直观检查;2)核查材料质量 合格证明文件、检测报告;3)尺量检查。
5.2.3金属风管制作应符合下列规定:
1板材拼接不得有十字形缝,风管及法兰制作允许偏差应 符合本规程表3.1. 8的规定;圆形弯管的最少分百数量应符合本 规程表3.11.3的规定;变径管的夹角应符合本规程第3. IL 4条 的规定;圆形三通、四通、支管与总管的夹角应符合本规程第 3. 11. 5条的规定。
2风管法兰或风管连接件及圆形风管承插连接应符合本规 程表3. 1.5-1、表3.1.5-2的规定;金属圆形芯管连接应符合本
80
规程第3. 2. 6条的规定。
3薄钢板法兰风管制作应符合本规程第3. 2. 3条的规定。
4 C形、S形插条应符合本规程第3. 2. 4条的规定,连接 处应平整、严密,折边四角处应进行密封。
5角钢法兰的制作应符合本规程第3. 2. 2条的规定。
检查数量:全数检查。
检查方法:对照图纸、直观检查和尺量检查。
5.2.4非金属、复合材料风管法兰制作应符合下列规定:
1 PVC法兰插条强度与规格应符合国家现行产品技术 标准。
2无机玻璃钢风管、有机玻璃钢风管、硬聚氯乙烯、聚丙 烯(PP)风管法兰规格应符合本规程表3.5. 1-2、表3. 5. 2-2、 表 3. 5.3-3、表 3. 5. 3-4 的规定。
3玻璃纤维板复合材料风管外套法兰规格应符合本规程表 3.1.6的规定。
4彩钢玻璃纤维板复合材料风管法兰应符合本规程第 3. 6. 3条的规定。
检验数量:全数检查。
检查方法:核查材料质量合格证明文件,尺量检查和直观 检查。
5.2.5非金属及复合材料风管制作应符合下列规定:
1无机玻璃钢风管表面应无裂纹、分层、明显泛霜且光洁。
2硬聚氯乙烯、聚丙烯(PP)风管板材间及与法兰连接焊 缝应饱满.焊缝排列应整齐.
3酚醛与聚氨酯复合板风管折角应平整、粘结应牢固。
4玻璃纤维复合板风管表面应平整、不脱胶、无气鼓和破 损、接口处粘结牢固严密。外表面层与隔热材料粘合应牢固,内 表面层不应有损坏。
5彩钢板复合材料风管内角处采用粘结连接方式的,接缝 应严密、胶粘剂涂抹光滑。
81
6机制玻镁复合材料风管板材拼接、矩形弯管、三通制作 应符合本规程第3. 6. 4条的规定,接缝应平整、严密、胶粘剂涂 抹光滑。
检查数量:全数检查。
检查方法:对照图纸,直观检查和尺量检查。
5.2.6风管的连接与加固应符合下列规定:
1金属风管连接与加固间距应符合本规程表3. 2. 7-1、表 3.2. 7-2、表 3. 2. 7-3、表 3. 2. 7-4 的规定。
2无机玻璃钢风管加固应符合本规程表3.5.1-3、表 3. 5. 1-4的规定。
3有机玻璃钢风管加固应符合本规程第3. 5. 2条的规定。
4硬聚氯乙烯、聚丙烯(PP)风管加固应符合本规程表 3. 5.'3-6的规定。
5酚醛与聚氨酯复合板风管加固点数及间距应符合本规程 表3. 6.1的规定。
6玻璃纤维复合材料风管加固应符合本规程表3.6.2-1、 表3. 6. 2-2的规定。
7彩钢板复合材料风管内板角缝连接形式宜采用联合角咬 口,外角可采用联合角咬口或拉節钉锚固,风管加固应符合本规 程第3. 6. 3条的规定。
8机制玻镁复合板风管加固间距应符合本规程第3. 6. 4条 的规定。
9非金属及复合材料风管内角接缝处应粘结严密、平滑, 不应出现剩余胶粘剂堆积的现象,风管的连接和加固处应有防止 产生冷桥的措施。
检查数量:全数检查。
检查方法:对照图纸,直观检查和尺量检查。
5. 2.7焊接风管、法兰焊接、支吊架焊接的焊缝不应有夹渣、 烧穿等明显缺陷,焊缝处飞溅物应去除。板材、角钢变形应矫 正。防腐油漆附着应牢固、均匀。
82
检查数量:全数检查。
检查方法:尺量检查和直观检查。
5.2.8不锈钢板或铝板风管采用碳素钢法兰连接时,应有防腐 处理;风管与碳素钢支架的接触处,应有隔绝或防腐措施。
检查数量:全数检查。
检查方法:直观检查。
5.2.9硬聚氯乙烯、聚丙篩(PP)风管煨角圆弧应均匀,焊缝 应符合本规程表3. 5. 3-5的规定。
检查数量:全数检查。
检查方法:R弧样板测量检查和直观检查。
5.2.10风管耐压强度变形量及其漏风量检验应符合下列规定:
1金属、非金属、复合材料风管的管壁变形量允许值应符
合表5. 2. 10-1的规定。
表S. 2.10-1金属、非金属及复合材料风管管壁变形量允许值
| 风管类型 | _________管壁变形量允许值(%)_________ | ||
| 低压风管 | 中压风管 | 高压风管 | |
| 金属矩形风管 | ≤1.0 | ≤1. 5 | ≤1.8 | 
| 金属圆形风嗇-T | ≤0.1 | ≤0.3 | ≤0.5 | 
| -非金届及复合 材料矩形风管 | ≤1.0 | ≤1.5 | ≤2∙0 | 
2风管应按系统使用类别对其进行漏风量检验,风管的允 许漏风量应在规定的静压限值下满足本规程表5. 1.1的规定。
3设计未给出风管漏风量等级要求时,风管系统安装完毕 应按系统类别进行漏风量检验,系统允许漏风量应符合表 5. 2. 10-2的规定。
«5.2.10-2风管系统允许漏风量
| 压力(Pa) | 允许漏风量[m3/《h・m2)] | 
| 微、低压系统风管(P≤500Pa) | ≤0. 1O56Po∙65 | 
| 中压系统风管(500PaVP≤150θPa) | <0∙0352P0∙65 | 
83
续表 5. 2. 10-2
| 压力(Pa) | 允许漏凤量[ri?/ (h∙m2)J | 
| 高压系统风管(1500Pa<P≤2500Pa) | ≤0∙0117产∙65 | 
注:1试验室加载负荷试验(隔热材料载荷、80kg外力载荷)的空气泄漏量应符 合上表規定值:
2排烟、除尘、低温送风系统的空气泄漏量应符合本表中压系统规定值:
3 1〜5级净化空调系统的空气泄漏量应符合本表高压系统规定值,
4 D、E等级特殊要求的风管系统.在做系统漏风量试验时.应按照相应级 别的漏风量限定值进行测评。
4当被测风管系统的漏风量超过设计要求或本规程的规定 时,应返修后重新测试,直至合格为止。
检查数量:全数检查。
检查方法:核查风管耐压变形量、漏风量性能测试报告或按 本规程附录B进行测试检查。
5-2.11金属内外弧形矩形弯管导流片设置应符合本规程表 3.11.2-1、表3. 11.2-2的规定;玻璃纤维复合材料风管弯管导 流片设置应符合本规程第3. 6. 2条14款的要求;玻璃纤维内衬 隔热层矩形风管导流片的设置应符合本规程第3. 9. 5条的规定。
检查数量:全数检查。
检查方法:直观检查和尺量检查。
5.2.12净化系统风管制作应符合本规程第3. 7节的规定,安装 应符合本规程第4. 6节的规定。
检查数量:全数检查。
检查方法:1)核査材料质量合格证明文件、检测报告;
2)尺量检查;3)用白绸布擦拭,直观检查。
5. 2.13风管支吊架安装应符合下列规定:
1金属风管支吊架规格应符合本规程表4.2.3-1、表
4. 2. 3-2的规定,亦支吊架间距应符合本规程表4.2.6的规定, 内衬隔热材料风管亦应符合本规程表4. 2. 6的规定。
2矩形双面彩钢玻璃纤维板水平风管吊架规格应符合本规 程表4. 2. 3-3的规定,支吊架最大间距应符合本规程表4. 2. 20
84
的规定,其他彩钢板风管参照本条执行。
3非金属及复合材料风管支吊架横担规格应符合本规程表 4. 2. 4-1的规定,吊架吊杆直径适用范围应符合本规程表4. 2.5 的规定,支吊架最大间距应符合本规程表4. 2. 7的规定。
4玻璃纤维复合材料风管支吊架横担规格应符合本规程表 4. 2. 4-2的规定,吊架吊杆直径适用范围应符合本规程表4. 2. 5 的规定。
5机制玻镁复合板材料风管支吊架形式、间距、规格应符 合本规程表4. 2. 21-1、表本2. 21-2、表4. 2. 21-3的规定。
6织物布风管悬吊及吊挂装置、间距应符合本规程第
3.10. 7条、第4. 8. 3条的规定。
检查数量:全数检查。
检查方法:尺量检查和直观检查。
S. 2.14胀锚螺栓的选用及固定要求应符合本规程第4. 2. IO条 的规定或按胀锚螺栓制造商提供的技术条件要求。
检查数量:全数检查。
检查方法:直观检查,核査胀锚螺栓的技术资料和尺量 检查。
5.2.15风管的连接应平直、不扭曲,风管安装允许偏差应符合 本规程第4. 1. 13条的规定,使用的密封材料应符合本规程第 4. 3.1条、第4. 3. 2条的规定;薄钢板风管弹簧夹或顶丝卡的间 距应小于或等于150mm,采用加固方式提高风管法兰强度时, 应符合本规程第4.4.3条的规定,固定螺钉的间距不应大 于 300mm „
检查数量:全数检查。
检查方法:尺量检查和直观检查。
5.2.16室外立管的固定拉索严禁与避雷针或避雷网连接;风管 内严禁其他管线穿越。
检查数量:全数检查。
检查方法:直观检查。
85
5.2.17风管外包防火板安装应符合本规程第4. 4. 8条的要求。 检查数量:全数检查。
检查方法:宜观检查。
5.2.18输送产生凝结水或含蒸气的潮湿空气风管的安装应符合 本规程第4. 1. 10条的规定。
检查数量:全数检查。
检查方法:尺量检查和直观检查。
5.2.19具有消声功能风管插入损失的测定值应不低于标称值。
检查数量:全数检查。
检查方法:核查风管插人损失性能测试报告或按本规程附录 C测试检查。
5. 2.20有抗震要求的风管板材的选取、系统的布置及其支吊架 的设置应符合本规程第2. 0.14条的规定。
检查数量:全数检查。
检查方法:对照图纸,直观检查和尺量检查。
5.2.21含有玻璃纤维材料的风管,其在风速小于或等于16m/s 时,不应有玻璃纤维脱落。
检查数量:全数检查。
检查方法:核査纤维脱落测试报告或按现行行业标准《非金 属及复合风管》JG/T 258测试检查。
5.2.22非金属及复合材料风管的甲酸、苯、氨、TVOC的释 放量应符合现行行业标准《非金属及复合风管》JG/T 258的 规定。
检查数量:全数检查。
检查方法:核査性能测试报告或按现行行业标准《非金属及 复合风管》JG/T 258测试检查。
5.2.23织物布风管送凤后外观应饱满无褶皱、无扭曲,管壁无 凹陷,管壁光顺,不抖动、不晃动,目测悬索应绷直。
检查数量:全数检查。
检查方法:直观检查。
86
附录A风管耐压强度及漏风量测试方法
A. 1适用范围
A.1.1本测试方法适用于定型生产的金属矩形、圆形风管,非 金属矩形、圆形风管、复合材料矩形风管,柔性风管。主耍测试 风管法兰连接强度、风管接缝和风管加固是否符合本规程的有关 规定,对风管耐压强度(管壁变形量、挠度〉及其漏风量进行检验。
A.2测试内容
A.2.1测试应包括下列内容:
1试验风管组漏风量测试。
2金属风管加载80kg负荷(Wl)和隔热负荷(W2),测 试金属风管加载负荷的安全强度及抗震方面的性能;非金属及复 合材料风管不进行加载试验。
3在规定工作压力下,风管的管壁变形量检验。
4在规定工作压力下,风管的挠度变形量检验。
A.3测试用风管
A.3.1每组测试用风管宜由4段长度为1.2m的风管连接组成 (图 A. 3.1)。
 
L一试验风管支架间距(按规格确定);
I-压力测定口: 2-法兰结合部;3-试验风管并按规定加固;4一进气口
87
A. 3.2风管组两端的风管端头应封堵并留有孔径3mm〜4mm 的测量管,用于安装进气管连接口及管内静压力测量孔。
A.3.3测试风管两端封堵板的接缝处应采用密封材料封堵,避 免封堵板连接处的空气泄漏影响漏风量的测试结果。
A.3.4测试风管支架间距L应按本规程表4.2.6、表4. 2. 7、 表4. 2. 20、表4. 2. 21-1〜表4. 2. 21-3规定的最大间距设置支撑 架距离,或按指定的支架间距进行试验。
A.3.5测试用风管组应置于测试支架上,使风管处于安装状 态,并应安装测试仪表和送风装置。
A.4测试装置
A.4.1测试装置由送风装置、流量测定装置、压力及温度测量 装置及风管支撑架组成(图A.4. 1),管壁变形量和挠度变形量 采用百分表测量,加载负荷用秘码计量。漏风量测试装置应符合 现行国家标准《通风与空调工程施工质量验收规范》GB 50243 的规定•
 
图A.4.1风管测试装置图
L-管道支架间距
I-压力、温度测定装置:2'i、A2.厶3管壁变形量测定装箝3-法兰;4-进 气、流量测定装置;5-⅛l挠度变形量测定装置;6试验风管:7-管壁变形量 (标尺)百分表,8-W,加载破码I 9一风管支架
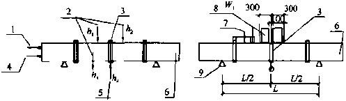
A.4.2应将加载敏码(W]+Wz)分为两等分,分别放在距离 被测试风管中央法兰结合部两边50mm〜30Omm的范围内。
A.4.3测量挠度变形量时,应由装在支架固定框架上的大量程
88
百分表,对风管组中央法兰连接处下方的挠度变形量儿进行 测量。
A.4.4管壁变形量的测量应对风管水平管壁、垂直管壁最不利 点处的变形量进行测量,宜取三个点(自、出、自),布置在被 测风管各段(含加固处)的几何中心处。
A.5漏风■及耐压强度(管壁变形量、挠度、法兰强度)测试
A. 5.1风管漏风量测量应按本规程表5. 2. 10-2规定的检测静压 限定值状态下进行测量。同时,测量测试环境温度及压力,换算 出标准状态(20℃,标准大气压)下的漏风量。挠度变形量及漏 风量测试装置(图A.5. 1),测试应按下列步骤进行:
1测试风管组支架固定(L)在允许最大间距设置下的自 由挠度值,以此为0点(即风管内无压力状态下)。
 
图A.5.1挠度变形量及漏风量测试图
注:挠度角= 2d/L
I-压力测定孔,2-加载负荷:3-法兰,4-末端风管, 5 -加压进气口: 6-风管支撑;7—挠度4 8一试验件
2负荷(Wl)为测试风管安全强度及抗震方面的性能时所 设定的负荷,重量为80kg。
3负荷(WZ)为隔热材料等的假设重量,应按下式计算: W2 = ZCb + a^LZ, (A. 5.1)
式中b、a—-管道的长边及短边(m);
L—-管道的支撑间距(m);
4—隔热材料等的单位重量(kg∕m2).
89
4将风管内测试压力保持在所指定的最大(正负)工作压 力下试验的同时,测量空气泄漏量及风管壁挠度量",由此求得 该组风管在相应工作压力下的空气泄漏量Q及挠度角8 = d∕(L∕2)°
5加载负荷(W1+W?)时,将风管内测试压力保持在所 指定的最大工作压力的情况下,测量试验组风管的空气泄漏量 Q-同时测量测试风管组中央连接法兰部位的挠度量4,以此求 得挠度角3 = d∕(L∕2)°
6非金属及复合材料风管不要求加载负荷,进行风管壁的 挠度量试验。
A.5.2风管管壁变形量及漏风量测试(图A.5.2)应按下列步 骤进行:
 
图A. 5.2管壁变形量试验图
I-风管短边;2-正压时;3-法兰;4-负压时: 5一风管长边:6一风管支架;7-测定点
1在管道边长部位的加固点或法兰连接处的图示位置对角 线,以该对角线上交叉点作为管壁变形量(∆L)测定点。
2在无负荷的情况下,将风管内压力保持在指定的最大工 作压力(正、负)下,与此同时在正压时测定( + ∆L)和漏风 量(Q。),在负压时测定(一∆L)和漏风量(QoM在加载负荷 (W1+W2)情况下,同样测定(±∆L)和漏风量(Q,)。
90
3测量风管管壁的最大管壁变形量∆L。
4非金属及复合材料风管应进行耐压强度下管壁变形量的 试验。
A.6风管测试结果的评价
A.6.1金属风管测试结果的评价应符合下列规定:
1金属风管的漏风量应符合本规程表5∙ Ll的规定.系统 风管的漏风量应符合本规程表5. 2. 10-2的规定。
2金属矩形风管和金属圆形螺旋风管管壁变形量及挠度允 许值应符合表A. 6. 1-1和表A. 6. 1-2的规定。
表A. 6.1-1金属矩形风管管壁变形・及挠度允许值
| 类别 | _____3管系统工作压力P (Pa) _______ | ||
| 低压系统 (P≤500) | 中压系统 (5OO<P≤15OO) | 高压系统 (1500<P≤2500) | |
| 管壁变形量(%) (无载、w1+也) | ≤1.0 | ≤1.5 | ≤1.8 | 
| 挠度角8 (无载、w,÷ W2) | 1.0/150 | 1.5/150 | 2. 0/150 (或 d≤20mm) | 
* A.6.1-2金属圆形螺旋风管管壁变形・及挠度允许值
| 类别 | 风管系统工作压力(Pa) | |||
| 微、低压系统 <P≤500) | 中压系统 (500<P≤1500) | 高压系统 (15OO<P≤2OOO) | ||
| 管壁变形置(%) (无载、W]+W" | ≤0. 1 | ≤0. 3 | ≤0. 5 | |
| 挠度角8 | 无载 | 0.05/150 | 0.10/150 | 0.15/150 | 
| WdW2 | 0. 8/150 | 1.0/150 | 1. 2/150 (或 d≤12mm) | |
3计算单位面积的空气泄漏量时,使用测试风管的展开
91
面积。
4加载负荷W?时,设想管道在隔热的状态下加载含隔热 材料的重量,在适用的隔热材料规格中选用最大值。
5以风管长边宽为分(或短边。)、管壁变形量为±∆L,计 算相对变形量为:
士(∆L∕ ⅛) X 100% 或 ± (∆L∕a) X 100%
A.6.2非金属及复合材料风管测试结果的评价应符合下列 规定:
1非金属及复合材料风管允许漏风量应符合本规程表 5.1. 1的规定,系统允许漏风量应符合本规程表5. 2. 10-2的 要求。
2非金属及复合材料矩形风管壁变形量允许值应符合表 A. 6. 2的规定.
表A.6.2非金属、复合材料矩形风管管壁变形量允许值
| 风管系统工作压力 (Pa) | 低压系统 (P≤500) | 中压系统 (500<P≤1500) | 高压系统 (1500<P≤2000) | 
| 管壁变形量(%) | ≤1.0 | ≤1.5 | ≤2∙0 | 
92
附录B风管系统漏风量测试方法
B.0.1漏风量测试装置应采用经检验合格的专用测量仪器, 或采用符合现行国家标准《用安装在圆形截面管道中的差压装 置测量满管流体流量》GB 2624规定的计量元件组成的测量 装置。
B.0.2正压或负压风管系统与设备的漏风量测试,分正压试验 和负压试验两类,可采用正压试验的测试来检验。
B.0.3风管系统漏风量测试可整体或分段进行。
B.0.4风管系统漏风量测试应按下列步骤进行:
1测试前,被测风管系统的所有开口处均应严密封闭,不 得漏风。
2将专用的漏风量测试装置用软管与被测风管系统连接。
3开启漏风量测试装置的电源,调节变频器的频率,使风 管系统内的静压达到设定值后,测出漏风量测试装置上流量节流 器的压差值△Po
4 测出流量节流器的压差值AP后,按公式Q = fSP)(m3/h)计算出流量值,该流量值Q(π?/h)再除以被测风 管系统的展开面积F、(m2),即为被测风管系统在实验压力下的漏 风量Q∕m3∕(h∙ m?)].
B.0.5当被测风管系统的漏风量QMm,/(h ♦ π√)]超过设计 或本规程的规定时,应查出漏风部位(可用听、摸、观察、肥 皂水或烟气检漏),做好标记;并在修补后重新测试,直至 合格。
B.0.6风管漏风量测试用测量工具或检测仪器应符合表B. 0. 6 的规定。
93
表R U. 6测试用测■工具或检测仪器的准确度
| 测量参数 | 测量仪器和设备 | 测量项目 | 单位 | 准确度 | 
| 尺寸 | 钢卷尺 | 尺寸偏差、有效通风面积 | mm | 0.5 | 
| 压力 | 微压计、差压变送器 | 空气动压、静压 | Pa | 1.0 | 
| 大气压力计 | 大气压力 | kPa | 0.2 | |
| 漏风量 | 漏风量测试装置 | 漏风址 | m3∕h | 2.0 | 
94
附录C 插入损失测试方法
C.0.1本测试方法适用于带消声措施的静音型风管的倍频程消 声量和A声级消声量测试。
C.0.2风速测试采用热球式风速仪对静音型风管内的风速进行 测试,确定测试消声器性能时的风速,方法应按现行行业标准 《公共建筑节能检测标准》JGJ/T 177中关于管道内风速测试的 方法,测点均匀布置在测试断面上(图C.0.2)。
 
(b)俯视图
图C.0.2测试装置图
I-测试点;2一消声段:3-风机段:4一风速测点:5-阻力测点;
6—噪声測点:7一静音型风管
C.0.3消声性能测试按照现行国家标准《声学管道消声器和 风道末端单元的实验室测量方法插入损失、气流噪声和全压按 失》GB/T 25516采用倍频程法,在静音型风管前后分别测出 63Hz, 125Hz、250Hz. 500Hz, IOOOHz, 2000Hz、4000Hz、 800OHZ噪声的声压级,然后对应相减得到倍频程消声量。也可 只采用A计权,在静音型风管前后分别测出噪声的A声压级,
95
然后相减得到A声压级消声量。
ɑ0.4风管插入损失测试用仪器应符合表C. 0. 4的规定。
表C 0.4测■仪器和设备的准确度
| 测量参数 | 测量仪器和设备 | 测量项目 | 单位 | 准确度等级 | 
| 尺寸 | 钢卷尺 | 尺寸偏差、有效通风面积 | mm | 0.5 | 
| 压力 | 大气压力计 | 大气压力 | kPa | 0.2 | 
| 消声量 | 噪声计 | 插入损失 | dB (A) | 2.0 | 
96
本规程用词说明
1为便于在执行本规程条文时区别对待,对要求严格程度 不同的用词说明如下:
D表示很严格,非这样做不可的:
正面词采用"必须",反面词采用’‘严禁"。
2)表示严格,在正常情况下均应这样做的:
正面词采用"应",反面词采用"不应"或"不得"。
3)表示允许稍有选择,在条件许可时首先这样做的: 正面词采用"宜",反面词采用"不宜"。
4)表示有选择,在一定条件下可以这样做的,采用 "可"。
2条文中指明应按其他有关标准执行的写法为:"应符 合……的规定"或"应按……执行"。
97
引用标准名录
1《通风与空调工程施工质量验收规范》GB 50243
2《建筑机电工程抗震设计规蔻》GB 50981
3《热轧钢棒尺寸、外形、重量及允许偏差》GB/T 702
4《热轧型钢》GB/T 706
5《优质碳素结构钢热轧薄钢板和钢带》GB/T 710
6《连续热镀锌钢板及钢带》GB/T 2518
7《用安装在圆形截面管道中的差压装置测量满管流体流量 第2部分:孔板》GB/T 2624. 2
8《铝及铝合金箔》GB/T3198
9《不锈钢冷轧钢板和钢带》GB 3280
10《一般工业用铝及铝合金板、带材》第二部分:力学性 能 GB/T 3880. 2
11《纺织品织物撕破性能 第1部分:冲击摆锤法撕破强 力的测定》GB/T 3917.1
12《纺织品织物透气性的测定》GB/T 5453
13《建筑材料及制品燃烧性能分级》GB 8624
14《建筑用轻钢龙骨》GB/T 11981
15《纺织品静电性能的评定第4部分:电阻率》GB/T 12703. 4
16《彩色涂层钢板及钢带》GB/T 12754
17《优质碳素结构钢冷轧钢板和钢带》GB/T 13237
18《绝热用玻璃棉及其制品》GB/T 13350
19《胎圈用钢丝》GB 14450
20《玻璃纤维无捻粗纱》GB/T 18369
21《国家纺织产品基本安全技术规范》GB 18401
98
22《声学 混响室吸声测量》GB/T 20247
23《硬质聚氯乙烯板材 分类、尺寸和性能》第1部分: 厚度Imm以上板材GB/T 22798. 1
24《声学管道消声器和风道末端单元的实验室测量方法 插入损失、气流噪声和全乐损失》GB/T 25516
25《公共建筑节能检测标准》JGJ/T 177
26《非金属及复合风管》JG/T 258
27《玻璃纤维无捻粗纱布》GB/T 18370
28《增强用玻璃纤维网布 第1部分:树脂砂轮用玻璃纤 维网布》JC/T 561. 1
29《矿物棉绝热制品用复合贴面材料》JC/T 2028
30《菱镁制品用轻烧氣化镁》WB/T 1019
31《菱镁制品用玻璃纤维布》WB/T 1036
99
中华人民共和国行业标准
通风管道技术规程
JGJ/T 141 - 2017
条文说明
编制说明
《通风管道技术规程》JGJ 141-2017经住房和城乡建设部 2017年3月23日以第1504号公告批准、发布。
本规程是在《通风管道技术规程》JGJ 141 - 2004的基础上 修订而成,上一版的主编单位是中国安装协会,参编单位是北京 市设备安装工程公司、上海市安装工程有限公司、中国建筑科学 研究院空调研究所、广州市机电设备安装有限公司、广东省工业 设备安装公司、公安部四川消防研究所、北京市住宅建设安装公 司通风公司、广东南海力丰机械有限公司、北京市康达兴玻纤风 管有限公司、北京银洲伟业科技发展有限公司、厦门高特高新材 料有限公司、成都新木通风净化有限公司、欧文斯科宁(中国) 投资有限公司。主要起草人是冯义、吴小莎、张耀良、李红霞、 汪曼济、彭荣、何广钊、魏顺意、黄元真、赵成刚、何伟斌、肖 吉澄、刁学渝、汪坤明、徐显辉、吴志新、袁劲、邹世平、 严健。
本次修订的主要技术内容是:1补充和完善了彩钢板复合 风管、机制玻镁复合风管、聚丙烯风管、织物布风管等通风管道 新的材料种类及制作技术要求,并对空调工程中常用的钢板内衬 玻璃纤维隔热材料风管的制作工艺及技术要求进行了规范; 2按照现行国家标准《建筑材料及制品燃烧性能分级》GB 8624 的规定要求,对非金属、复合材料风管的燃烧性能进行了界定; 3结合现行国家标准《通风与空调工程施工质量验收规范》GB 50243通风系统压力分类,提出了在规定压力下通风管道漏风量 等级的概念,为不同使用要求的通风管道提供了更适宜的漏风量 要求;4通过试验验证增加了薄钢板法兰风管法兰的加固方法 及彩钢板风管支吊架最大间距:5附录A提高了金属风管管壁
102
变形量的控制标准;6对附录B风管系统漏风量测试方法进行 了修订;7增加了附录C插入损失测试方法。
本规程修订过程中,编制组进行了新型风管材料应用的调查 研究,总结了我国工程建设中各种类型风管材料使用的实践经 验,同时参考了国外先进技术法规、技术标准及现行国家标准、 行业标准,结合国内通风与空调工程施工技术的发展水平,通过 对薄钢板风管法兰的加固对风管断面强度的影响、水平安装彩钢 板风管吊架的最大间距测试试验结论.确定了大断面薄钢板法兰 风管的加固形式及彩钢板风管安装支吊架间距的技术要求,综合 考虑安全可靠、经济环保等因素后,完成本规程的修订。
为便于广大施工、监理、设计、科研、学校等单位有关人员 在使用本规程时能正确理解和执行条文规定,《通风管道技术规 程》编制组按章、节、条顺序编制了本规程的条文说明,对条文 规定的目的、依据以及执行中需注意的有关事项进行了说明。但 是,本条文说明不具备与规程正文同等的法律效力,仅供使用者 作为理解和把握规程规定的参考。
103
ro【
8£l ..................... S⅛W≡MW^⅛≡⅛≡aM^ V 皆期
££1.........................................................日加尊就LG
I£l .........................................................善辭需一 I -S
lɛl ............................................................穂引晶凶 S
0£1 ......................................................黑凶染磁沙8。
0£1 .........................................................易M科生2力
6ZI ...................................................易凶第沙力家9力
8ZI ..........................................易可梓尊导茸比射等非ST
821 .........................................................易凶倒手亦
9ZI .............................................臻圣玲用睜誨兽不Zl
SZI .........................................................考礙"一 「V
SZl ............................................................蕊手易凶力
力Zl ...................................................4國曷MSf等H •£
ZZl......................................................aw⅛⅛⅜⅛? 0「£
ZZl ..............................島同炼砰母m菊应⅛⅛S⅛*M或婚6£
IZl .........................................................易可抖去8.£
IZl ...................................................星凶?⅛委矛娟Z 下
8IT ...................................................... 3M⅛4S 9,£
Zll ......................................................易M制卷非Gf
911 ...................................................晶可外困警士£•£
£11 ......................................................... ⅛M3⅛⅛ ZE
OII .........................................................不孵碗一 IT
Oll ............................................................斗禅易凶£
901 ............................................................手辭上査Z
Gol .................................................................. IM買 I
M S
1总 则
1.0.1为改善和满足生产、生活的室内环境要求,通风与空调 系统已在工业和民用建筑中广泛使用。通风管道作为通风空调系 统主要组成部分之一,其制作与安装质量直接影响通风与空调系 统的技术性能和功能。面对日益增多的风管材料品种,推广节能 与环保、控制能源消耗,增加了节能环保的要求,为了确保工程 质量,规范专业施工的行为,加强施工过程的控制,特制定本 规程。
1.0.2为与现行国家标准《通风与空调工程施工质量验收规范》 GB 50243保持一致性,删除了 "新建、扩建和改建”。本条所指 的"检验"是过程检验,可作为验收的依据资料,不同于验收。
1.0.3通风管道制作与安装已包含了制作、安装的技术与质量 要求,删除原规程中"技术与质量要求"不会对条文产生歧义, 工程施工中除应符合本规程外,还应符合设计图纸要求、现行国 家标准《通风与空调工程施工规范》GB 50738、《通风与空调工 程施工质量验收规范》GB 50243等有关规定。
105
2基本规定
2.0.1本条文对通风管道施工依据作出规定:一是合同,二是 设计图纸,三是相关技术标准。工程施工是让设计的整体意图转 化为现实,故施工单位不得任意增加或减少施工项目,无权任意 修改设计图纸内容。因此.本条文明确规定修改设计应有设计变 更通知书。
2. 0.2通风管道的施工涉及多专业工种的配合、多种类专业管 线管路位置的协调,特别是空间占位。本次修订提出增加与其他 相关专业单位协调管线综合排布,是为了在施工准备期间即可做 到各种管线的空间相对位置明确,减少交叉碰撞矛盾,安装过程 不再无序占位,为保证工程顺利施工,避免不必要的重复施工和 材料浪费。施工前应认真进行图纸审核和现场核验,做好管线综 合排布,优化空间布局。
2. 0.3明确风管按材质分为金属、非金属及复合材料风管,增 加了分类构成表,由于传统的非金属风管种类较少,新出现的复 合材料风管又与传统的非金属风管存在着或多或少的关联,因而 对非金属风管、复合材料风管做出区分,非金属风管及复合材料 风管包括除金属风管之外的所有风管,修编过程中将按照材料的 种类名称分别编写。风管制作与安装所采用的板材、型材以及其 他主要成品材料的质量,直接影响通风管道的整体质量,因此应 按设计及国家相关产品标准的规定,认真查验其外观及出厂检验 合格证明文件。非金属及复合材料成品风管的外包装、产品说明 书及合格证书应明示涉及安全性能的等级和指标。
2.0.4现行国家标准《建筑材料及制品燃烧性能分级》GB 8624对建筑材料及其制品的不同燃烧性能划分等级进行了明确, 并明确各等级建筑材料确定燃烧性能的检查方法;现行国家标准
106
《建筑设计防火规范》GB 50016中第9. 3. 14条明确提出通风与 空调系统的风管,在不跨越防火分区旦在穿越房间隔墙处设置防 火阀时,可采用难燃材料的要求,故修订为符合GB 8624规定 的难燃氏级。
目前,非金属风管材料发展較快,品种较多,因其具有的特 性和优点,应用面越来越广泛。为了保证使用中的安全性,对这 些材料制作的风管提出了应按工程的需要具有不燃或难燃Bl级 的燃烧性能要求,而其表面层应为不燃材料。对非金属风管、复 合材料风管材质的防火性能做出明确的界定,是为了确保系统的 安全性,严格执行。
2.0.5防火风管的材料选择是设计根据系统的特殊要求做出的, 故提出耐火等级应符合设计规定。
2.0.6为了控制以成品供货的风管质量,成品风管出厂应附有 强度及严密性检测报告,并提出了风管耐压强度及漏风量测试方 法。非金属风管因为材料、胶粘剂、胶带等材质配比变化因素, 故提出需提供材料燃烧性能检测报告和对人体无害的卫生检测 报告。
2.0.7目前,我国风管制作有手工和机械化生产两种工艺。与 手工制作工艺相比,机械化生产的风管具有速度快、效率高、 风管质量稳定、外表美观等优点,为了推动风管制作的技术进 步,在施工技术条件许可的情况下,应优先选用节能、环保的 材料,选择高效的半自动化或自动化生产线实施机械化生产, 提高施工装配速度与工作效率,降低工程成本,确保过程质量 控制。
2.0.8计量器具、检测仪器不仅应确保处于合格状态,还应按 检验周期进行检定,是保证工程施工质量和规范施工管理的必要 措施之一。
2.0.9取消原规程的强制性要求。安装于封闭的部位或埋设于 结构内或直接埋地的风管,属于隐蔽匚程。在结构作永久性封闭 前,应对该部分将被隐蔽的风管施工质量进行验收,并得到现场
107
建设单位或监理单位相关人员的合格认可签证,否则不得进行封 闭作业,没有得到建设单位或监理单位相关人员的签证认可,后 续作业将被视为无效的工作,因其仅仅是施工过程的工序质量控 制,与建筑安全或系统的安全性无关,故作为一般条文执行。本 条增加建设单位人员的签认是为了明确工序作业的验收不仅仅只 能是监理单位人员,建设单位相关人员的签认亦被视为同意过程 验收。
2. 0.10施丁.现场在风管系统安装后,应根据系统的压力按本规 程附录B漏风量测试方法进行系统的严密性检验,减少系统漏 风量及能耗,以验证系统的安装质量。
2. 0.11为保证现行国家标准《通风与空调工程施工质量验收 规范》GB 50243规定的统一要求,对风管系统的适用压力的划 分增加了微压类别,同时对管内负压的系统一并进行了明确, 区别于修订前不论风管系统的受压状态仅按照系统风压确定压 力类别的方式。由于系统的类别不同,风管受压状态不同.制 作工艺的控制要求,特别是风管接缝的严密性、板面加固方式 等也应存在不同,并在相关的T艺中提出了风管系统制作的控 制要求。
2.0.12本条文的矩形、圆形风管规格系现行国家标准《通风与 空调工程施工质量验收规范》GB 50243的规定。圆形风管规定 了基本系列和辅助系列,一般送、排风及空调系统应采用基本系 列;除尘与气力输送系统风管的内流速高、管径对系统的阻力影 响较大,在优先采用基本系列的前提下,可以采用辅助系列。非 金属及复合材料风管(织物布风管除外)管壁较厚,以内边长为 准可以准确控制风管的内截面积。
取消了矩形风管"其长边与短边之比不宜大于4 : 1"的要 求是现代建筑中存在着很多类似的系统,特别是采用风机盘管作 为送风末端的空调系统根本无法避免。
2.0.13由于扁圆形风管在大型公建项目的应用增多,为统一增 加了其表示方法。
108
2.0.14由于具有抗震要求的建筑通风与空调系统使用的材料、 系统的布置与敷设及其支吊架的设置形式有特殊要求,不同于常 规通风与空调系统的相应要求,因而要求按照《建筑机电工程抗 震设计规范》GB 50981的规定选用。
109
3风管制作
3.1 一般规定
3.1.3
1风管表面层为铝箔材质时,为确保表面层不易损坏,故 对铝箔材质的厚度及风管表层为铝箔与增强材料复合层铝箔厚度 所做的规定。
2内、外表层和内部隔热材料粘结牢固,是保证复合材料 的基本条件之一。超出一定面积的板材缺陷,不仅影响风管使用 寿命,而且有时会降低其隔热效果。故条文规定了缺陷不得大于 6%。,以达到材料在系统中的正常使用。
3胶粘剂是非金属风管制作过程中的重要的组成部分,应 使用配套的专用胶粘剂,否则容易造成胶粘剂咬蚀母材或粘结不 良的后果。热敏、压敏铝箔胶带用于风管外表面局部粘贴,起连 接和加强作用,为防止火灾等意外时,胶粘剂首先失去作用而使 风管散落,故条文要求其胶粘剂为难燃Bl级。
作为通风空调所用的风管,其胶粘剂或密封胶带不允许挥发 有害人体健康的气体。使用时应检查胶粘剂或胶带的使用有效 期,保证其使用强度。
根据我国多年的工程应用实践与产品状况,规定了热敏胶带 与压敏胶带的剥离强度试验最低值与铝箔厚度值;要求胶带宽度 大于或等于50mm,防止使用的胶带不能满足管壁密封的强度和 风管使用年限。
热敏胶带的优点是依靠热熔粘结,只要不再加热,在常温下 胶面是固化的,具有牢靠的粘结强度。但是,如无感温点提示操 作人员是无法确保粘结质量的。
4聚氣乙烯层压板和挤出板均可为风管板材,该类板材按
110
使用分为工业用板材和普通用板材,在选用中应注意。由于硬聚 氯乙烯层压板和挤出板用途较广泛,相应的国家标准对硬聚氯乙 烯层板的检验项目无燃烧性能指标,且规程2. 0.4已明确非金属 材料燃烧性能为不低于难燃Bl级,故删除板材的燃烧性能应为 难燃B级,但施工单位订货时应根据需要确定板材的燃烧性能。
5彩钢板表面的氧化层、起皮和涂层脱落等缺陷,会加快 板材的腐蚀性,造成质量缺陷,影响使用寿命,为保证产品质量 提出加工时不得损坏涂层及防腐要求。
6非金属及复合材料风管由于具有重量轻、导热系数小及 加工工艺简单等特点在工程应用中逐渐增多,规定了非金属及复 合材料风管板材应达到的技术参数指标及各类材料风管的适用 范围。
7对非金属及复合材料风管的苯、甲醛、氨以及可挥发性 有机物(TVOC)释放浓度的要求是为了减少有害物对环境污染 和对人体的伤害。TV()C是总挥发性有机化合物的简称, TVOC的组成极其复杂,其中除醛类外,常见的还有苯、甲苯、 二甲苯、三氯乙烯、三氯甲烷、蔡、二异竄酸酯类等,主要来源 于各种涂料、胶粘剂及各种人造材料等。TV()C是空气中三种 有机污染物(多环芳炷、挥发性有机物和施类化合物)中影响较 为严重的一种。依照现行行业标准《非金属及复合风管》JG/T 258中污染物浓度的限定值见表1。 .
表1污染物种类及浓度限定值
| ____污染物_____ | 用醛 | 苯 | 氨 | TVOC | 
| 限定值(mg∕m3) | ≤0. 08 | <0. 09 | ≤0. 20 | ≤0. 50 | 
注:环保型风管各污染物限定值应是本表规定值的80%.
3.1.5根据对风管的漏风量及强度试验结果,本条文对金属风 管管段的不同连接形式适用的风管压力级别及风管允许最大边长 做出规定。薄钢板法兰风管的刚度与法兰端面形式及高度有关, 故条文根据法兰端面形式及高度的不同,规定了其适用风管边长
Ill
尺寸。
3.1.9
1是对彩钢板复合风管玻璃棉纤维板隔热材料及其他同类 型材料的材质、规格、密度、导热系数、燃烧性能的应用进行了 相应规定。限定导热系数的要求有利于确保风管的节能降耗 特性。
2本条文应为严格执行条文。现行国家标准《建筑材料及 制品燃烧性能分级》GB 8624对建筑材料的不同燃烧性能划分等 级,并明确各等级建筑材料确定燃烧性能的检验方法。
双面彩钢板复合风管内外两层彩钢形成框架结构,有较好的 稳固性;由于外侧彩钢主要起保护作用,相对较薄,夹心隔热材 料采用不低于难燃B级的要求,有利于在火灾时提高风管的耐 火时间,保护风管内侧彩钢板及法兰,增加风管连接的稳固性。 3.1.10由于玻璃纤维彩钢板风管的制作是采用内外管夹套玻璃 纤维板的制作方式,为保证内管制作的严密性,规定内管角接缝 需采用联合角咬口的方式。联合角咬口适合于微、低、中、高乐 系统,密封性很好,用于内板的联接形式,有利于提高风管的密 闭性。外板主要起保护作用,一般采用按扣式咬口或其他咬口 形式。
3.1.11玻璃纤维内衬金属风管主要用于商用、公共及住宅建筑 中的暖通空调管道;内衬风管具有良好的隔声效果,可以降低各 种噪声:包括中央空气调节设备产生的噪声、管道内空气流动产 生的噪声以及室内人员的谈话声音。同时内衬风管还能通过对金 属管道的隔热,避免管道内壁和管道外部冷凝现象的产生。对于 玻璃棉内衬金属风管的应用、研究在国际」:已经有着50多年的 历史,有着相应的材料、施工和验收规范.钢板内衬玻璃纤维隔 热材料风管具备:良好的降噪效果、隔热性能、可避免风管内部 和风管外表面产生冷凝水,可防止外来因素对玻璃纤维隔热材料 的损坏。
本条参照现行国外标准《玻璃纤维内衬风管标准》(FI-
112
BROUS GLASS DUCT LINER STANDARD )—北美保温材 料制造商协会(NORTH AMERICAN INSULATION MANUFACTURERS ASSOCIATlON) 2002年第三版及现行国外标准 《通风空调风管制作标准》(HVΛC DUCT CONSTRUCTION STANDARDS)--美国金属板材和空气调节承包商协会 < SHEET METΛL AND AIR CONDITIONING C()NTRAC-TORS,NATIONAL ASSOCIATION, INC. ) 2005 年第三版 制定。
金属内隔热形式的风管在空调工程中普遍存在,但因为使用 的规模较小、没有•完善的工艺要求,没有引起足够的重视,工程 实施过程中大多参照金属风管的技术要求进行控制。为规范工艺 过程,制作质量控制作为对金属风管制作的补充提出了对内隔热 层材料的性能选用、粘贴、固定等要求,尽管其材质为玻璃纤维 但又不同于玻璃纤维板风管。
2风管的内衬玻璃纤维板(或毡),要求具有可靠的屏蔽纤 维的能力.表面不应出现玻璃纤维脱落。又因风管内壁涂料层直 接与管内流动空气相接触,故要求涂料对人体无害。
3风管内衬的固定应采用粘锚结合的方式,这样可以增加 内衬与外面金属板的粘结强度,提高抗风压能力,防止玻璃内衬 的脱落。
4内衬玻璃纤维板(或毡)的使用不应对室内环境产生不 利影响,同时应考虑风管的使用寿命。
3.2钢板风管
3.2.1
1本条是参照新修订的现行国家标准《通风与空调工程施 工质量验收规范》GB 50243的相关内容进行修订并确保其严格 要求。
2镀锌钢板及含有各类复合保护层的钢板若采用电焊或气 焊的连接方法,会使焊缝处的镀锌层被烧蚀,破坏钢板的保护
113
层,在使用过程中会使其焊缝周围的腐蚀面积逐渐扩大。因此, 本条文规定此类钢板的拼接,不得采用破坏保护层的熔焊焊接连 接方法。
涂塑钢板分为单面涂塑与双面涂塑两种,具有塑料耐腐蚀的 特点。一般应用于有特殊要求的通风空调系统,加工不当易造成 涂塑层的损坏,造成板材大面积的锈蚀,故在条文中强调应避免 损坏,一旦损坏应及时进行修补。
3.2.3由于薄钢板法兰的相对强度较角钢法兰要低,为增加其 适用性,满足较大断面风管的安装要求,且为满足现行国家标准 《通风与空调工程施工质量验收规范》GB 50243中4.3.1、2金 属无法兰连接风管关于薄钢板法兰的相关要求,通过对法兰进行 加固试验验证,采用本方法完全可以达到相关规范的要求,为薄 钢板法兰风管的施工过程控制及质量验收提供了技术支持。
3. 2.6
1对于圆形风管的制作,目前多以螺旋形风管为主,直缝 风管相对较少,且螺旋缝风管的构造特点及其机械接缝咬合使其 自身的强度远大于直缝风管,既降低了加工制作的难度也便于质 量的控制。通风系统又有正负压之分,因其系统特征不同,风管 板面及连接缝的受压状态出现相反的情形,负压系统风管会因受 到外部的压力使风管的相对强度降低,因而本条提出以螺旋缝风 管的板材厚度为主,按照风管受压区分正负压的选取原则,同时 提出兼顾直缝风管的厚度要求,尽管与新修订的《通风与空调工 程施工质量验收规范》GB 50243的要求有所差异,但在板材厚 度的选取上已完全满足其要求。
2增加了内胀芯管的制作形式使安装过程更直观。
3.2.7风管的加固是风管制作工艺的重要组成部分,本条参照 英国DW/142《薄板金属风管施工规范》和美国“SMACNA" 标准中风管连接和风管加固的有关规定,结合我国风管制作实 践,对目前常用的风管连接和加固形式,按不同材料和结构分别 进行材料截面模数的计算,根据计算结果提出了矩形风管的连接
"4
和横向加固的"刚度等级"概念,规定了角钢法兰横向连接的刚 度等级Fl〜F6、薄钢板法兰横向连接的刚度等级Fbl〜Fb4、金 属风管横向加固的刚度等级Gl〜G5、点加固的刚度等级Jl、纵 向加固的刚度等级Z2,供风管制作者在确定加固方式时选择 使用。
由于L63X5的型钢不利于施工过程及占用空间较大,且在 施工中极少使用,故本次修编中不再采用。
(1)金属矩形风管连接允许间距表3. 2. 7-1对应的数值,是 指不同规格风管采用不同形式连接时,风管管段允许的最大长 度。当风管管段长度超出此表的数值时,应实施加固。
(2)矩形风管横向加固允许间距表3. 2. 7-4对应的数值,是 指在风管管壁采用不同形式的横向加固措施时,加固件之间或与 管端连接件之间的允许距离。
(3)风管采用点支撑加固(其加固刚度等级为J1)、纵向加 固(其加固刚度等级为Z2)等形式时,其加固件之间或与管端 连接件之间的允许间距,分別为表3.2.7-1、表3.2.7-2、表 3. 2. 7-4的对应数值再向左移1格或2格后所对应的值。当风管 同时采用点支撑加固和压筋加固(其加固刚度等级为JI)两种 形式时,其加固件之间或与管端连接件之间的允许间距为点支撑 加固所对应的数值再向左移1格所对应的数值。
(4)表格使用说明如下:
例题一:确定一节截面尺寸为200OmmXIOOOmm、长度为 1250mm.采用L40X4角钢法兰连接低压风管的加固方式。查 表步骤如下:
①査表3. 1.5-1。L40X4角钢法兰横向连接的刚度等级 为F5。
②查表3. 2. 7-1,横向连接刚度等级为F5的低压风管。该 风管边长2000mm,其管段的允许最大长度为800mm,因此风 管边长为200Omm的管壁面处应采取加固措施;该风管另一面 边长IOoomm处,由于刚度等级为F5的低压风管管段的允许最
115
大长度为1250mm,该风管长度小于1250mm,故不需采用加固 措施。
③査表3.2.7-3。若选择L40X4角钢进行横向加固,其横 向加固刚度等级为G4。G4加固也可选用a = 40mm、8=1. 5mm 的槽形加固形式。
④査表3. 2. 7-4。刚度等级为G4,风管边长200Omm的低 压风管管壁面,加固件之间或与风管连接之间的允许最大间距应 为800mm。因此,边长为200Omm的风管壁面上应设置2个均 布的L4OX4角钢加固件。
例题二:确定截面尺寸为1600mm × 500mm,长度为 1250mm、薄钢板法兰(高度H = 30mm)连接方式的低压风管 的加固方式。查表步骤如下:
①查表3.1.5-1。薄钢板法兰(高度人=3Omm)连接的刚 度等级为Fb3。
②查表3. 2. 7-2,横向连接刚度等级为Fb3的低压风管。该 风管边长160Omm的管壁面,其管段的允许最大长度为800mm, 因此风管边长为160Omm的管壁面处应采取加固措施;该风管 另,面边长50Omm处,由于刚度等级为Fb3的低压风管管段的 允许最大长度为2000mm,该风管K度小于2000mm,故不需釆 用加固措施。
③查表3.2.7-3。若选择点加固内支撑,其横向加固刚度等 级为J1。
④查表3. 2. 7-2。刚度等级为Fb3,风管边长1600mm的低 压风管管壁面,其管段的允许最大长度为800mm,若同时采用 JI点支撑加固与JI压筋加固两种方法,按照本条文说明(3), 其加固后的允许最大长度为1250mm (向左平移2格的对应值), 符合加固要求。
3.3不锈钢板风管
3.3.1实验证明不锈钢板螺旋风管抗高负压能力有限•原规程
116
规定的板材厚度不能满足抗高负压要求.应加厚。圆形风管多采 用芯管连接,芯管的抗压、抗变形强度不如角钢法兰,所以最大 直径圆风管仍需要求采用法兰连接。
3.5非金属风管
3. 5.1无机玻璃钢凤管
1镁水泥胶凝材料分为两种,一种是传统改性氯氧镁水泥, 一种是不含氯离子的无氯菱镁水泥。无机玻璃钢风管应杜绝返卤 泛霜问题.返卤泛霜由氯离子造成.因此改性氯氧镁水泥应注意 氯化镁的含量,而无氯菱镁水泥因不含氯离子,所以无氣菱镁水 泥风管不会产生返卤泛霜现象。
组合型无机玻璃钢凤管采用无氯菱镁水泥为胶凝材料,因氯 离子会对金属腐蚀,影响风管强度和使用年限。
玻璃纤维受碱性腐蚀的影响导致风管使用年限降低,因此本 条文强调了无机胶凝材料硬化体的PH值小于8. 8的规定。无机 胶凝材料pH值的测定方法是将无机胶凝材料硬化体粉碎至 0.08mm筛余10%,采用水灰比10 : 1滤液.用PH试纸测定。
4玻璃纤维网格布纵、横搭接缝和同层搭接缝错开一定的 距离,可避免经向拉应力、弯曲拉应力和弯曲切应力的应力 集中。
5在同等厚度条件下,表层浆料压平至可见玻璃纤维网格 布纹理,可提高管壁承受弯曲拉应力的能力。为避免旦管管壁承 受弯曲拉应力(正风压)、弯曲压应力(负风压)产生的应力集 中,风管表面不允许有密集气孔、漏浆。
6整体型风管的法兰处于悬臂状态,管体与法兰转角处连 续的玻璃纤维网格布形成的过渡圆弧,可提高悬臂状态法兰承载 能力和避免产生应力集中。
7制作无机玻璃钢风管的无机胶凝材料需要有一定的固化 时间,只有养护过终凝时间才能拆模,达到一定强度后方可 安装。
117
8用肉眼观察和用手指抹风管管体表面均有白色盐析现象 称为泛霜。
11采用模具制作整体成形无机玻璃钢风管,可直接采用本 体材料(纤维增强胶凝材料)在最大应力处设置加强筋,提高截 面模量。无机玻璃钢是典型的各向异性材料,加强筋的设置应满 足在线弹性范围内承受应力的需要。也可在风管制作完毕后,釆 用金属或其他材料进行加固,且进行防腐处理■
3.5.2有机玻璃钢风管
本条主要针对有机玻璃钢风管制作的一般性要求,便于 控制。
3.5.3硬聚氯乙烯、聚丙烯(PP)风管
本条主要增加了聚丙烯板材的相关规定。
ɪ主要明确根据压力等级确定板材厚度,由于高压较特殊, 故应根据设计要求确定。
8圆形风管直径小于或等于20Omm时,由于板材卷圆难 度大,因此宜采用成品管材。
3.6复合板风管
3.6.1酚醛与聚氨酯复合材料风管
3当风管面层为彩钢板时因其不具有机械加工性能,只能 采用折边压角的方式进行角缝连接,为增加其严密性及边角接缝 强度,提出采用压板护角或折边固定的连接方式。
4为满足压风管系统耐压及严密性要求,复合材料风管采 用胶粘剂组合成的4条内交角缝,需用密封胶做密封处理。外角 铝箔断开缝用铝箔胶带封闭,可增强风管严密性,防止隔热层 外露。
6边长大于200Omm的微、低压风管和边长大于150Omm 的中、高压风管.采用PVC法兰会因其法兰强度不够而造成风 管连接处变形或漏风量增大,所以规定须用铝合金等金属法兰, 并应注意在金属法兰处的隔热措施。
118
7边长小于32Omm的矩形风管由于断面较小,组合的四 个角有足够的刚度可使风管成矩形不变形。当风管边长大于 32Omm时,组合成风管的四个角已不能满足其刚度要求,在外 力作用下很容易变形,所以应在插接法兰四角部位放入镀锌板贴 角后,再安装法兰以加强风管刚度。
8为满足凤管的使用刚度,聚氨酯铝箔复合板风管和酚醛 铝箔复合板风管的加固随着断面尺寸的增大及风管工作压力的增 大,其支撑点横向加固数量将增多,纵向加固间距将缩短。表 3.6.1列出了风管边长尺寸、工作压力和风管横向加固支撑点数 以及加固点纵向间距之间关系。
9当聚氨酯复合板风管和酚醛复合板风管的边长尺寸增大 到超过125Omm时,为增加非金属插接法兰的强度,需要在距 法兰连接处25Omm以内的任一侧,增设纵向加固,加固点的数 量按风管边长尺寸选择。
3.6.2玻璃纤维复合材料风管
1玻璃纤维复合板风管的板材隔热层为玻璃棉板,因此要 求风管壁的内、外表面层具有可靠的屏蔽纤维的能力。又因风管 内壁涂料层直接与管内流动空气相接触,故要求涂料对人体 无害。
2本条文提出风管内表面护层玻璃纤维布应为中碱性成分• 可限制杂成分玻璃土法拉丝工艺,保证玻璃纤维布的强度和 韧性。
4本条文规定玻璃纤维复合板风管开槽应采用专用刀具, 以保证槽口成型和风管成型后的角度。槽口应刷足刷匀胶液,保 证风管的结合槽及封闭槽严密、牢固粘合,玻璃纤维不外露。
6本条文规定的槽形外加固框纵向间距和内支撑设置数量. 是根据工程实践经验并结合玻璃纤维棉密度为70kg∕m3的玻璃 纤维复合板风管管壁表面变形量的检测结果提出的。
7风管采用角钢法兰或外套槽形钢法兰连接,法兰具有较 高的抗弯曲强度,其连接部位相当于风管的一个外加固框。当采
119
用其他连接方式且风管边长大于125Omm时,连接构件强度要 小于外加固框强度,故要求连接部位与加固框的间距不超过 150mm;采用阴、阳樺连接时,由于樺接部位是风管壁抗弯曲 最薄弱点,因此要求樺接的接缝处与相邻加固框的间距不超 过 100mm。
8丙烯酸树脂涂层的涂料渗透于玻璃棉板的表面而形成的 防止玻璃纤维散落的屏蔽层,应喷涂均匀,不允许有漏涂的 缺陷。
9玻璃纤维复合板风管外加固槽型框规格的选定,与风管 边长及管内空气静压力等多元变量有关,本条文把外加固槽形钢 简化为表3.6.2-2中的两种规格及波纹槽形.便于选用。大截面 风管可依靠调整加固间距和内支撑点数,来满足风管的加固 要求。
11风管端口带阴、阳棒的风管应平放*是防止对桦口的损 坏;粘合槽U的胶粘剂应干燥固化后方能使风管的粘合部位粘合 牢固,保持稳定状态。存放玻璃纤维复合板风管的场所都应有防 雨水和防风沙措施。
12根据本规程推出的新的漏风量等级划分方法、漏风量和 压力等级区分,采用非法兰连接时.其漏风量可以达到C级要 求,宜使用于中压系统;采用法兰连接时.漏风量可达到B级 要求.宜使用于中压系统。
13空调系统的噪声会对日常的工作、生活产生不利的影 响.风管是传递空调噪声的主要路径.玻璃纤维风管由于其板材 为玻璃棉板,对噪声有很强的吸收能力,为达到控制噪声的目 的.增加玻璃纤维风管的吸声降噪要求。
3.6.3彩钢板复合材料风管
1根据风管边氏尺寸及彩钢板材宽度,按照设计文件确定 的风管尺寸进行下料。为了保证管道的气密性、刚性及承压性 能,不宜采用多片法制作。
3对玻璃纤维板的加工方式作了说明,一般采用玻璃纤维
120
板四片法90°角组合方式。另外为了保证双面彩钢板复合材料风 管的环保卫生特性,玻璃纤维板与彩钢板间不宜涂胶水粘结。
6采用内支撑形式的风管不能应用于净化系统。支撑杆与 双面彩钢板间应采取断桥措施,以保证风管的节能特性。
3.6.4机制玻镁复合板风管
1游离氯离子含量是产品质量水平的重要指标。含有游离 氯离子会导致板材产生返卤、泛霜现象,严重影响风管的使用功 能及美观。
3机制玻镁复合板应采用中碱或中碱玻璃纤维网格布生产, 不得使用高碱玻璃纤维网格布。
S矩形风管板材切割时应采用平台式切割机。变径、三通、 弯头等异径风管板切割应采用手提式切割机。
9风管制作、安装应使用专用胶粘剂,以保证风管的粘结 质量。
防火、排烟型风管中间采用镁质硫酸盐水泥与泡沫粒子混合 料为夹芯层,其吸水量大,影响粘结强度。应先用刷帚蘸水,在 粘结面上湿润表面,等表面不见水渍时敷胶粘合风管,就能保证 粘结效果。
3.7净化系统风管
3. 7.1主要考虑风管是用于净化系统,尽量减少镀锌铁皮的损 坏,故在加工时,环境封闭,地面敷设5mm以上的橡胶板或木 板,人员穿着软底鞋以保护铁皮镀锌层。
3.7.6采用铁质榔头锤击,易造成铁皮镀锌层损坏或变形,因 此建议采用非金属榔头。
3. 7.11清洗是风管加工最后一道工序,因此环境的控制比较关 键,故应在相对封闭的环境中进行。
3.8柔性风管
3.8.2、3.8.3目前金属圆形柔性风管多数以成品供应。为保证
121
成品质量,本条文对金属圆形柔性风管的板材厚度、燃烧性能等 提出了规定,特别提出胶粘剂的不水溶性,以防止柔性风管在潮 湿环境下开裂。
3.8.4铝箔聚酯膜复合柔性风管所用钢丝的防腐~般采用镀铜, 裸钢丝一般有油膜保护层,进行除油防腐处理后,才能保证钢丝 与复合膜粘合,并保持一定的回弹性。
3.9钢板内衬玻璃纤维隔热材料风管
3.9.2方形风管内衬隔热层使用玻璃纤维柔性卷材制作,圆形 风管内衬隔热层使用玻矯纤维刚性板材制作,内衬隔热层制作工 艺不同。需分别使用专用机具,必要时配合使用手工刀具切割。 无论使用何种方法,均应保证玻璃纤维隔热材料切割断面齐整、 形状正确、尺寸准确。
3.9.3
i由于风管内衬隔热层直接与空调风接触,因此,使用的 胶粘剂应符合环保要求。
2方形风管内衬隔热层使用柔性卷材制作,为保证粘贴牢 固,胶粘剂机械涂刷面积不应小于90%,手工制作异形件时, 涂刷面积应为100%。圆形风管内衬隔热层使用刚性板材制作, 内衬隔热层通过挤压装入钢板风管内。因此,仅在每段内衬隔热 层两端80mm范围内涂刷胶粘剂即可。
3柔性卷材及刚性板材玻璃纤维隔热材料正面均带有防止 玻璃纤维脱落的玻璃纤维毡,安装内隔热层时,应使正面朝向风 管内恻,绝对不能反向安装。
4圆形风管玻璃纤维内衬隔热层制作时,首先应保证其本 身的牢固,在装人圆形钢板风管过程中才不至于散落。
5为保证风管内部通风流畅,每节圆形内衬隔热管应切割 并安装准确。
3. IO织物布风管
3.10.1织物布风管是一种新型的、比较特殊的风管材料,通常
122
是直接在风管上打孔或采用网格条缝,或者直接依靠风管自身渗 透,送风风速也很小,几乎接近于微送风。它具有重量轻、施工 操作方便等特点,具有较大推广应用的前景。由于织物材质的特 殊性,会出现撕裂、破损等现象,在有粉尘产生的环境里,也会 出现粉尘附着在风管上,为防止出现粉尘爆炸现象,要求织物布 风管不仅要能够承压,还应抗静电。为了保障在工程中的使用安 全,规程规定其应满足对人体无害的健康安全性能指标要求。具 有--定的透气性是为了减少风管壁面因温差出现凝露,抗拉强度 是为了系统使用的稳定性,不易出现拉伸变形、懈缝、接缝撕裂 等造成不规则渗漏;因其与金属风管、其他非金属或复合材料风 管有本质的不同,应引起重视。为了验证织物材料的符合性,质 量证明文件包括不限于燃烧性能等级、抗拉强度、渗透率、抗静 电、防霉抗菌、洁净与纤维脱落等。
3.10.2因其材质及其柔性且制作比较简单的特点,给出了其形 状要求,因其具有特殊条件下使用的特点,亦可采用其他形状类 型的风管(图1 )„材料密度及厚度是为了保证其严密性、抗撕 裂强度的要求。因其不同于金属及其他非金属风管的系统特征及 形式,只有通过专项设计方可满足系统功能、使用需求。
口 C)D 口 QzD
矩形 岡形 半圓形 9ff5角扇形 锥形
图1织物布风管的形状类型
3.10.3织物布风管下料采用专用切割机进行裁剪,是为了保证 布料切口处纤维融塑,无毛屑脱落;接缝顺气流是为了减少系统 阻力、接缝严密限制泄漏,确保系统的稳定性。
3.10.5采用变径大小头的过渡连接方式是为了减少系统阻力的 影响,口径面积比为2〜2. 5是为了气流更稳定。
3.10.6织物布风管管件类型主要有:管末端(有孔末端、无孔 末端)、两通类管件(与金属口的连接段、弯头、变径、方圆变
123
换等)、多通类管件(T形三通、Y形三通、十字四通等)、调节 类管件(稳流装置、压力调节装置、流量调节装置等,应按气流 组织性能需求设计),采用标准管件有利于安装。
3.10. 7因其材质柔性,自然下垂,规定了双排吊挂及间距是为 减少自然下垂量或对下部空间的影响。
3.10.8专用构件连接有助于系统的统一、美观,连接严密及其 强度是为了确保系统使用功能的稳定。
3.11金属风管配件
3.11.2矩形内外同心弧型弯管风阻小,宜优先采用。弯管的风 阻与弯管的曲率半径成反比.为减少涡流产生,导流片装在内侧 比装在外侧更合适,导流片的间隔应是内侧密外侧疏,表 3. 11.2-1是参照英国DW/144标准列出。内外直角弯管或内斜 线直角弯管,作同心弧导流片不好布置,所以规定为等距离设置 等圆弧导流片。
124
4风管安装
4.1 一般规定
4.1.1对风管安装条件进行了规定,特别规定了空气净化系统 的安装条件和措施。
4.1.2对结构预留孔洞的位置、孔洞尺寸进行了规定。孔洞边 长尺寸与风管外边尺寸之差不小于IOOmm,主要是考虑风管法 兰高度及风管隔热的余量。
4.1.3风管搬运过程中要轻拿轻放,防止机械损伤,非金属风 管不应攀登、倚靠,主要从安全和成品保护角度考虑,避免施工 人员安全事故和风管遭到损坏。
4.1.4安装前要进行外观质量检查,清除内外表面粉尘及管内 杂物.确保系统调试运行后空气清洁,避免对装修的污染。
4.1.5为了保证风管法兰螺栓有一定的安装空间,规定了法兰 距墙面和楼板的最小操作距离。
4.1.6、4.1.7为现行国家标准《通风与空调工程施工质量验收 规范》GB 50243中强制性条文的内容,本规程引用相关要求, 如果不按照规定施工会带来严重后果,因此应严格遵照执行。
4.1.8明确规定室外立风管的拉索固定是为了保证风管稳固, 其固定点应单独设立在建筑主体上•固定拉索严禁拉在避雷针或 避雷网上,避免雷击事故隐患;风管内不得敷设各种管道、电线 或电缆以确保安全。如不按规定施工可能带来严重后果,因此应 严格遵照执行。
4.1. IO对输送产生凝结水或含湿空气的风管,应按设计要求的 坡度安装.设置泄水管堵的目的是为了排除管内产生的凝结积 水。在风管底部一般不设置纵向接缝,如有接缝应做密封处理, 是为了防止凝结水渗出。
125
4.1. 15与电加热器、防火阀连接的风管要求采用不燃材料,是 防止高温引起火灾或火灾发生时火焰越过防火阀而造成更大的 损失。
4.2支吊架制作与安装
4.2.1从风管系统受力安全角度出发,规定风管支吊架的固定 件、吊杆、横担和所有配件材料的有关载荷额定值和应用参数应 符合制造商提供的数据要求。
4.2.2本条文规定了凤管支架、吊架制作形式和规格及吊杆制 作时长度不够,需搭接应控制的技术要求。
I直径大于200Omm或边长大于250Omm的超宽、超重特 殊风管的支吊架应由设计进行相关受力计算后确定。
2采用电气焊切割和开孔是施工中的质量通病.会造成孔 径过大.旦不圆整.影响强度和美观,又易造成安全事故,因此 规定不得采用电气焊切割和开孔。
3采用内丝套筒螺纹连接延长不仅可以增加吊杆螺纹连接 的强度.也可以改变焊接连接质量差的观感,套筒两端增加防松 螺母是为了加强丝杆连接的可靠性。
4目前风管吊装采用通丝吊杆的比较多.规程仅对采用圆 钢吊杆进行了描述,且仅提到了可以采用通丝吊杆.没有给出如 何进行选用。有些地区在使用时直接等径替代或提高使用标准. 造成使用不统一。由f通丝吊杆的特点直接按照吊杆规格等径替 代对于大口径风管吊杆显得有些偏小,或者提高通丝吊杆规格. 部分稍小口径风管采用MlO通丝代替羯圆钢往往显得有些偏大. 特别是边长125Omm以卜一风管较多.为避免使用混乱,造成资源 的浪费.统一选用标准。风管常用规格参照本规程表2.0. 12-1、 表2. 0.12 2的执行。
4.2.3本条文规定了金属矩形、圆形、双面彩钢玻璃纤维板水 平风管允许最大间距下,支吊架的最小规格。在型钢吊架的基础 上,增加了异型钢的选用。风管支吊架的选型.在理论计算和试
126
验的基础上,确定型钢和槽型钢的最小尺寸,主要目的是在风管 总重量及隔热重量降低的情况下,降低风管吊架的规格和推荐选 用异型钢支架,在确保安全的基础上,降低风管系统的总载荷。 根据我国工程的应用实际及SMACNA第2版第4章S4. 1条的 规定,确定吊架安装后挠度(沉降值)应小于或等于9mm。
4.2.4玻璃纤维风管密度一般为70kg/π?,按照现有的管板厚 度26mm,一节120Omm长,管径为150OmmX60Omm的风管为 例,其产生的荷载约为Iokg,不会对龙骨产生不利影响的挠度 变形。
4.2.10胀锚螺栓是较为方便的支吊架固定件,种类及形式见表 2,已被广泛应用于工程施工。本条文在强调应符合胀锚螺栓使 用技术条件规定的同时,对胀锚螺桂适用的混凝土构件的位置提 出了要求。水平胀锚不仅可以增加锚栓的稳固性,也更便于操 作•并规定了常用胀锚螺栓的钻孔直径和钻孔深度的要求和成孔 后的检查。由于胀锚螺栓为非标产品,因此表4. 2. 10的钻孔直 径和钻孔深度为参考值,具体数值应按照胀铺螺栓制造商提供的 使用技术条件规定。当胀锚螺栓组合使用时,每个节点胀锚螺栓 数目应按《建筑施工实例应用手册5》(中国建筑工业出版社, 1999)中所列下式进行计算:
心 1. 6N∕[PJ (1)
式中1.6—与设计商定的安全系数;
N—-作用于节点的轴心力;
LP1J--膨胀螺栓的容许拉力或剪力(由制造商提供)。
表2胀锚螺栓的种类及形式
| 胀锚螺栓种类 | 内螺纹胀锚螺栓 | 单胀管式胀锚螺栓 | 双胀管式胀锚螺栓_ | 
| 形式 | ⅛~-a> | -^^s⅛ | 
4. 2.13
1非金属风管的材料一般强度较低,因此除小于或等于
127
20Omm阀件以外的各类阀件和设备应单独设支吊架,不应将这 些阀件设备重量由非金属风管来承担。
4垂直安装风管每根应设置2个固定支架,主要是考虑风 管的定位和安全。
4. 2.14
1圆形柔性风管的支架间距应不大于1.5m,保证风管在支 架间的垂直度小于或等于40mm/m,数据引自SMACNA第2版 第3章S3. 35条。
2对圆形柔性风管的吊卡箍的宽度、弧长进行规定,是为 了保证风管与卡箍紧密结合。
4.4金属风管
4.4.3
5不宜与其他连接形式混合使用是指薄钢板法兰采用弹簧 夹、勾码及螺栓连接形式不应在同一道法兰上使用,由于弹簧 夹、勾码、螺栓的紧固效果存在差异,混合使用不仅存在观感差 异也会造成弹簧夹失去效果。
4.4.8本条文是金属风管外敷防火板安装应符合的规定。金属风 管外敷防火板是防火风管的一种形式,主要应用干建筑物内与救 生、安全保障有关的排烟、正压送风、避难区域空调送风等系统。
4.5非金属及复合材料风管
4.5.1除无机玻璃钢外非金属及复合材料风管的材质强度较低, 为起到对风管的保护作用,要求在穿越密闭的墙洞或楼板时,应 加-•段金属短管或加一段金属外套管.以防止风管直接与密闭墙 洞体、孔洞接触,造成损坏或受挤压变形。
4.5.2非金属插接法兰和风管管板的连接是将法兰的槽口套插 在风管管板的端头,用胶粘剂粘结。如果其之间没冇过盈量,槽 口和风管端面插入时会有一定的间隙,使其无法粘为一体。
4.5.3
128
I风管吊装安装时为提高安装效率,一般将若干节风管先 在地面连接好后再一起吊装安装。但边长或直径大于125Omm 的无机玻璃钢风管,本身每节风管较重,为避免多节风管同时吊 装时对风管法兰因受力过大造成损伤,故本条对整体型/组合型 风管同时吊装的长度进行适当规定
2对于氯氧镁水泥无机玻璃钢风管,本身管材含有氯离子, 对金属有腐蚀作用。故强调整体型风管法兰连接时,连接螺栓的 两侧应加镀锌垫圈以降低对螺栓的腐蚀。
4.5.7
1风管在运输过程应有防止损伤风管的保护措施。
2桦接风管的连接在樺口处涂胶粘剂,是为增强接头处的 强度。
3风管采用地面预接然后架空安装时,限制预接长度是为 了遮免风管因自重产生的弯曲而破坏构件接口.
4由于装配连接构件的玻纤复合材料风管末端为平切口, 应将管端切口面用胶带或胶液进行封堵,才能防止玻璃纤维外露 和飞散•
5非法兰连接的玻璃纤维板复合材料风管垂直安装的支撑 件制作与安装的方法。
6竖井内风管垂直安装,由于空间少,又不便于以后检修, 故风管一般采用外套角钢法兰连接以增加连接点的牢固程度和强 度,并把法兰做成"井"字形,吊筋直接吊在角钢法兰的吊耳上 而不另设支撑件。
4.5.8机制玻樸复合风管、无机玻璃钢风管、硬聚氯乙烯、聚 丙烯(PP)风管增设伸缩节或软接头是为了减少胀缩引起风管 的损坏;为防止晃动而造成伸缩节损坏,故在两端的直管段分别 设置固定防晃支吊架。
4.6净化系统风管
4.6.4由于净化系统连接密封的要求较一般风管要高,密封垫
129
的接头处理的密封与否直接关系到系统的净化状态,因而密封垫 的接头处理更严格,常用的密封垫接头(图2),有梯形、樺形、 内直角连接方式。
 
4.7柔性风管
4.7.1柔性风管安装后应保持一定的伸展量,以减少风阻。同 时,应防止过度的拉伸所增大的轴向力.可能造成连接的脱落。
4.7.3铝箔聚酷膜复合柔性风管阻力测试表明,风管长度在5m 内的阻力变化较小。限定此长度,可减少风阻,避免能源浪费。 加装直管连接可以使柔性风管更顺畅,减少因柔性弯曲造成的阻 力损失。
4.8织物布凤管
4.8.2由于其材料的特殊性,采用悬索或吊挂更易于安装,采 用花篮螺栓便F调节悬索的松紧程度,氏度大于15m增设悬挂 点是为了减少悬索受重下垂。
4.8.3因其不同于其他类型的风管给出了基本的吊挂形式,绳 索平行及间距一致是为了更便于安装。
130
5风管检验
5.1 一般规定
5.1.1本规程提出的风管系统漏风量等级是参照欧标和我国的 实际情况进行的分级。在此次分级过程中,增加了 D级和E级。 D级用在有特殊要求的高压系统风管中,而E级仅仅用在病毒 学实验室等有特殊用途的风管中。
在实际工程施工中遇到了规程对于风管漏风率规定不尽合理 且不够全面的问题,所以此次修编中引人风管漏风量等级的概 念。亦能够有助于设计人员在设计过程中根据项目的性质、系统 的功能、使用类别对风管的制作质量提出要求,而不是按照风管 系统的工作压力来评价风管漏风量的优劣。
(1)风管漏风量等级与系统工作压力分开,更能直观地反映 出风管制作质量的严格要求,本规程提出了表5.1.1中给定的漏 风量等级及其允许漏风量是按照在静压限值一定的条件下所测得 的最大漏风量限定值,表明风管即可满足漏风量等级的要求,而 不是系统工作压力试验的漏风量要求,工作压力较低的风管系统 也可以选择要求达到高密闭等级。欧标(BS EN 12237: 2003、 DW/143等)也没有把风管的用力等级与泄漏等级对应绑定,只 是要求高压系统风管的漏风量不要太多,才规定高压风管只能选 择C、D两个泄漏等级;中压风管可选择B和C、D高泄漏等 级;而低压风管一般可选择最低的泄漏等级,也可以根据工程性 质、系统类别而选择中等和高等泄漏等级。规定泄漏等级而不规 定检测静压,施工过程的检测又会有问题,工作压力低的系统风 管如果选择高密闭等级的,采用表5.1.1中公式算出的允许漏风 量会很小,以致无法计量,所以欧标(BSENI2237; 2003)中 规定了统一的检测静压限定值,不论风管实际工作压力多少,只
131
需按选定的泄漏等级所规定的检测静压限定值来检测即可。比 如,低压系统风管,设计要求达到D级泄漏等级,那么按照该 规程,就需用正压2000Pa、负压750Pa来检测,只要检测结果 低于D级泄漏等级的允许漏风量即可。风管制作成型后,泄漏 量只是管内静压的简单函数,在任一静压下测得了泄漏量都可以 确定风管的泄漏等级,不必一定要在其工作压力下检测。当然, 低压风管如果选择了高密闭等级要求,它的自身强度也应达到高 压风管的强度,而一般薄钢板风管在制作工艺得到保证的前提下 抗正压2000Pa、负压750Pa基本都可以满足。
(2)表5. 1. 1风管允许漏风量从系数看各级别都是近似3倍 关系,而欧标中的最高级泄漏等级(Da)的允许漏风量计算值 为[0.0036P"5m3∕(h∙m2)]与表5. 1. 1中D级相同,这样就 可以为设计提供更多的选择。除了病毒学实验室用风管需采用E 级外,一般严格的设计要求都能达到与欧标最高等级相等的水 平了。
(3)风管泄漏等级和检测静压限定值适用于所有材质、所有 截面形状和所有连接方式的风管.设计或施工者可以自行判断, 如果材质或连接工艺可能达不到设计要求就不要采用。风管的制 作质量好坏决定着风管漏风量等级的大小,同样也会对风管安装 后系统漏风量的大小产生影响,因而对系统安装完毕后仍然要对 系统进行漏风量测试,不可因为选择了高等级漏风量的风管就降 低系统严密试验的要求。
5.1.2本标准的2004版已经使用了十多年,在这十多年的发展 过程中,不断有相关标准的更新、新产品的出现、旧版本相关内 容的不适用等一系列问题。因此,在修订时,编制组多方考证、 搜集并参照其他标准,形成了本规程所列的检测项目。同时,在 此需要说明的是:
(1)风管制作质量要根据风管所用材料制作工艺的不同、风 管系统类别及工作压力的不同、输送介质和使用场所的不同对风 管的质量进行检验。
132
(2)成品风管按照风管类别应提供相应的检测报告主要有: 风管耐压强度、泄漏等级及漏风量、导热系数、抗凝露、抗静 电、抗撕裂、渗透率、抗菌、插入损失、玻璃纤维脱落、风管释 放有害气体浓度等检测证明文件,以证明风管的加工工艺水平和 制作质量。各类形式的试验证明文件原则上不应超过3年,起因 是报告虽都没有有效期,但-般检测报告在检测中心存档或其公 示期为3年,超过3年无法查询报告的来源,报告的时效性就会 显得有些弱化了,因而建议不超过3年应当对产品进行检测。 5.1.3风管系统的严密程度是反映安装质量的重要指标之一。 考虑到风管系统的支管(即含3个风口以下的风管)与风口相 连,静压趋向于零,风管泄漏量较少;支管与风口相连的部分. 很难进行封口或封堵不良,无法保证测试质量。因此,本条文规 定风管的漏风量检验测试应在系统中主风管安装完,风管尚未连 接风口、支管前进行。
5.2检验项目
5.2按照修编的情况,将原规程主控项目与一般项目合并,统 称为检验项H,条文中对检验项目提出了具体的检验方法,便于 相关内容的质量控制与实施。
5.2.2
检验方法:用卡尺距风管两端管口约20mm处或任意抽取 被测类型板材的厚度,测量4次取测量数值的算术平均值,判定 其符合性。
5.2.3
检验方法:
1)矩形风管边长或圆形风管直径的测量:在风管两端口 长(短)边长各测量2次,取其测量数值的算术平均 值分别为该风管的长(短)边边长;圆形风管测量两 端口周长或两端口任意正交的两直径,取测量数值的 算术平均值为该风管的直径。
133
2)矩形风管表面及法兰不平度的测量:在风管外表面的 对角线处放置2m长板尺,用塞尺测量管外表面与尺 之间间隙的最大值,作为该风管表面不平度,表面不 平度小于IOmm;在风管法兰外立表面顶端处放置2m 长板尺,用塞尺在法兰两端测量法兰外立面与尺之间 间隙的最大值,作为该风管法兰不平度。
3)风管管口及法兰不平度的测量:矩形长边尺寸或圆形 直径小于或等于IOOOmm的风管端口(法兰)放在刚 性平板平面上,用塞尺测量端口(法兰)平面与刚性 平板平面之间间隙的最大值;矩形长边尺寸或圆形直 径小于IOOOmm时,用JZC-2型多功能检测尺和金属 刻度尺测量端口平面间隙的最大值。
4)矩形风管法兰对角线之差和圆形风管法兰直径之差的 测量:用钢卷尺分别测量矩形风管端口对角线,其两 对角线尺寸之差为该风管端口对角线之差;用钢卷尺 分别测量圆形风管端口任意正交的直径之差,取其最 大值为该风管端口直径之差。
5. 2. IO
1管壁变形量是指风管板面变形量与风管边K之百分比。 在本次规程修订过程中,编制组将2014年国家空调设备质量监 督检验中心所测试的风管变形量结果进行了统计,统t『结果见图 3〜图5。
从图3中可以看出,金属风管的中压变形量测试结果中,大 约87%的数据小于L 5%。
从图4中可以看出,非金属及复合材料风管中压变形量测试 结果中,大约77%的数据小于1.0%,所有数据均小于1.5%。
从图5中可以看出,金属风管的高压变形量测试结果中,大 约66%的数据小于1. 0%,所有数据均小于1. 5%。
非金属及复合材料风管低压系统和高压系统的测试数量较 少,但就测试的结果来看低压和高压的变形量均小于l∙0%。
134
2.5
 
 
费试风管序号
图4非金属及复合材料风管中压(1500Pa)系统变形量分布
 
■第削誦勉篋
 
2 4 6 8 10
测试风管序号
图5金属风管高压(2000Pa)系统变形量分布
135
2014年国家空调设备质量监督检验中心的非金属及复合材料风 管低压变形量最大值为0.74%,高压变形量测试最大值 为 0. 38%。
金属矩形风管低压系统变形量测试值最大为0.6%,高压全 部小于1.5%。
经过向部分厂家咨询,在管路系统为高压系统的情况下,生 产厂家会增加加固点,采取更为严格的加固措施,这样就会确保 高压系统风管的变形量更小,为便于执行及考虑到不必要的过度 加固造成成本的增加,最终确定高压系统风管的变形量允许值 取 1.8%。
圆形金属风管正压变形量在已经测试过的变形量值中,低 压、中压、高压均小于0.008%。
因此本规程结合实测数据的统计值及原标准的限定数值,确 定了表5. 2. 10-1的风管管壁变形量的允许值。
删除原规程表5. 2.10-2、5.2. 10-3中“金属矩形风管、圆 形风管允许漏风量”的相关内容,尽管风管的制作有使用的材 料、工艺不同之分,但为满足系统工艺的需要本规程及相关标准 已提出通过漏风量来评价风管的制作质量,满足即为符合要求, 且本规程提出风管按系统使用类别在规定的静压限值条件下通过 最大漏风量限值的大小对其进行分级评价,更利于设计人员根据 系统的性质来选择,已没有必要再因使用的材料、工艺的不同提 高其严密性。当然,对于任何系统从节能的角度考虑,系统的漏 风量越小越好,更利于节能。避免了原规程中在同级压力分类状 态下因风管的选材、制作工艺的不同风管漏风量出现的不合理 差异。
3表5. 2.10-2按照设计未确定风管漏风量等级提出的,其 允许漏M量的限值要求,亦可满足国标《通风与空调工程施工质 量验收规范》GB 50243的相关要求。
4检查风管漏风可采用听气流声、手摸风感、观察孔洞及 裂缝、涂抹肥皂水形成气泡或发烟形成烟雾等方式,査出漏风部
136
位,做好标记,停止检测,进行返修、密封处理。
5. 2. 19随着风管的用途越来越广,在送风的过程中,出现了很 多种不同使用工况的风管,比如需要送风又需要静音的风管,本 规程结合使用工况给出了静音型风管的插入损失测试方法,此方 法经过前期的试验验证完全可以满足风管消声性能的测试要求。 此方法不仅在实验室能够测试,而且可以在现场抽检中使用。
5.2.21玻璃纤维风管是目前使用比较广泛的一种风管,但是玻 璃纤维脱落,是不容忽视的问题,因此本规程结合现行行业标准 《非金属及复合风管》JG/T 258的相关条款增加了玻璃纤维脱落 的测试。
137
附录A风管耐压强度及漏风量测试方法
本附录参考了美国、英国、日本等国家关于风管性能测试的 方法,结合我国实际情况提出在进行漏风量测试的同时,还检测 风管的耐压强度即管壁变形量和挠度值的风管耐压强度及漏风量 测试方法。这是对现行国家标准《通风与空调工程施工质量验收 规范》GB 50243中相关内容的技术支持。
本风管耐压强度及漏风量测试方法主要适用于定型工艺制作 的风管进行检验或抽查检验,以保证和控制风管的制作质量,从 而确保风管系统的安装质量。
本测试方法对测试装置、测量仪表、测试方法以及测试参数 的允许值均提出了具体的规定,并以此将我国风管制作的检测方 法统一在一个标准JL。
本测试方法提出的金属风管加载80kg的负载试验,是模拟 可能产生各种负荷时的状态,在安全防护匕设定发生地震时产生 垂覓地震力和水平地震力作用到风管时或者管道上加载了相当于 一个人重量时的负荷情况;模拟风管法兰在可能承受各种负荷, 如空气紊流产生的冲击力、地震时产生作用力时,可能产生的法 兰变形或空气泄漏。
A. 6.2非金属及复合材料风管是否需要采用法兰连接,这只是 风管厂家根据风管的材质强度及接口的严密性能而斟酌自选的工 艺措施之一,各厂家对"法兰"概念的理解都不尽相同,甚至大 相径庭。本规程只统一规定风管的漏风量等级和强度标准,显示 公平合理,既便于设计选用,也便于厂家自定工艺,避免竣工验 收时扯皮。
138