ICS 13.220. 10
C 85
XF
中华人民共和国消防救援行业标准
XF 634—2015
消防员隔热防护服
Adiabatic protective clothing for firefighter
(ISO 15538 : 20019Protective clothing for firefighters—laboratory test methods and performance requirements for protective clothing with a reflective outer surface ? NEQ)
2015-09-28 发布
2016-01-01 实施
中华人民共和国应急管理部 公布
库七七 www. kqqw. com 标准下载
XF 634—2015
目 次
前言........................................................................................................................H
1 范围 .....................................................................................................................1
2 规范性引用文件......................................................................................................1
3 术语和定义............................................................................................................1
4 型号与规格 ............................................................................................................2
5设计要求...............................................................................................................2
6 性能要求...............................................................................................................4
7 试验方法...............................................................................................................6
8 检验规则...............................................................................................................8
9 标志、包装、运输和贮存.............................................................................................IO
附录A (规范性附录)热稳定性能试验...........................................................................12
附录B (规范性附录)面料外层耐弯折性能试验...............................................................13
附录C (规范性附录)面料外层抗辐射渗透性能试验.........................................................15
附录D (规范性附录)火焰和辐射热防护性能试验............................................................16
库七七 www.kqqw.com 标准下载
XF 634—2015
刖 H
根据公安部、应急管理部联合公告(2020年5月28日)和应急管理部2020年第5号公告(2020年8 月25日),本标准归口管理自2020年5月28日起由公安部调整为应急管理部,标准编号自2020年8 月25日起由GA 634-2015调整为XF 634—2015 ,标准内容保持不变。
本标准第6章、第8章和9. 1为强制性的,其余为推荐性的。
本标准按照GB/T 1. 1-2009给出的规则起草。
本标准代替GA 634—2006《消防员隔热防护服》。与GA 634-2006相比,除编辑性修改外主要技 术变化如下:
——提高面料外层断裂强力和撕破强力指标(见6. 1. 2和6. 1. 3,2006年版的6. 1. 1. 2和6. 1. 1. 3)?
——增加了面料外层面料耐弯折性能要求(见6. 1. 7);
——修改了面料外层抗辐射热渗透性能(见6. 1. 8.2006年版的6. 2);
——增加了面料舒适层材料断裂强力指标(见6. 3. 2);
——修改了隔热头罩视窗透光率指标(见6.4. 3,2006年版的6. 10);
——增加了隔热脚盖性能要求(见6.6);
——修改了火焰及辐射热防护性能指标(见6. 9. 1,2006年版的6. 3)。
本标准使用重新起草法参考ISO 15538:2001《具有反射表面的消防员隔热防护服 实验室测试方 ■性能要求》编制,与ISO 15538:2001的一致性的程度为非等效。
本标准由公安部消防局提出。
本标准由全国消防标准化技术委员会消防员防护装备分技术委员会(SAC7TC 113/SC 12)归口。
本标准起草单位:公安部上海消防研究所。
本标准主要起草人:曹永强、殷海波、周凯、柳素燕、徐兰娣、谢春龙、杜希。
本标准所代替标准的历次版本发布情况为:
---GA 88—1994;
---GA 634—2006 0
∏
库七七 www.kqqw.com 标准下载
XF 634—2015
1范围
消防员隔热防护服
本标准规定了消防员隔热防护服的术语和定义、型号与规格、设计要求、性能要求、试验方法、检验 规则、标志、包装、运输和贮存。
本标准适用于消防员在靠近火焰或强热辐射区域进行
本标准不适用于消防员在灭火救援时进人:
时穿着的防护服。
2规范性引用文件
下列文件对于 件。凡是不注日期
GB/T 191
GB 811—20
GB/T 1335
GB/T 2410
GB/T 3917
GB/T 3923
GB/T 4744
GB/T 5455
GB/T 8629
GB/T 8808
GB/T 9969
 
救援时穿着的隔热防护服。
时,以及处置危险化学物品作业
的版本适用于本文
引用文件.
装储
摩
服
200
3
1
纺织 纺织 001
988
车乘贝
号型
透明塑料透光
貝品织物撕破性有 只品织物拉伸性能
防水性能的检测和I
燃烧心
纺织品
质复合塑:
业产品使用说明书
GB/T 13773. 1 纺织 (ISO 13935-1 )
XF 7-2004消防手套
3术语和定义
撕破强力的测
1部分:断裂强力和断裂伸长的
定(I 测定
)9073) 条样法
毁
U离试验
IJ
织物及其制品的接缝拉伸性能 第1咅
:条样法接缝强力的测定
下列术语和定义适用于本文件。
3. 1
消防员隔热防护服 adiabatic protective clothing for firefighter
消防员在靠近火焰或强热辐射区域进行灭火救援时穿着的,用来对其全身进行隔热防护的专用防 护服。
3.2
分体式隔热防护服 two-piece adiabatic protective clothing
上衣下裤分离式样的隔热防护服。由隔热上衣、隔热裤、隔热头罩、隔热手套以及隔热脚盖等 组成。
1
库七七 www.kqqw.com 标准下载
XF 634—2015
3.3
连体式隔热防护服 one-piece adiabatic protective clothing
上衣下裤连体式样的隔热防护服。由连体隔热衣裤、隔热头罩、隔热手套以及隔热脚盖等组成。 3.4
隔热头罩 adiabatic headgear
对消防员头部和颈部进行隔热保护的防护装具。
3.5
隔热手套 adiabatic glove
对消防员手部和腕部进行隔热保护的防护装具。
3. 6
隔热脚盖 adiabatic foot cover
穿戴在消防靴外,对消防员脚部进行隔热保护的防护装具。
3.7
隔热层 thermal barrier
提供隔热保护的材料层。
3.8
接缝 seam
隔热防护服面料的边缘通过缝纫或其他方式牢固连接的结构。
4型号与规格
4. 1 型号
消防员隔热防护服的型号编制方法如下:
 
企业改进型代号:A、B•…•■
F:分体式防护服;L:连体式防护服
消防员隔热防护服
消防员防护装备
示例:
FGR-F/A表示分体式消防员隔热防护服,企业改型代号为A。
4.2规格
消防员隔热防护服(以下简称隔热服)的规格设置应符合GB/T 1335.1的规定。
5设计要求
5. 1结构与面料
隔热服应为单衣结构,面料应由外层、隔热层、舒适层等多层材料组合而成。面料外层应采用具有 反射辐射热的复合织物材料,并应满足基本服装制作工艺要求。面料应对人体健康无害。
5.2 隔热上衣
5.2. 1隔热上衣对消防员的上部躯干、颈部、手臂和手腕提供保护,但不包括头部和手部。隔热上衣和
2
库七七 www.kqqw.com 标准下载
XF 634—2015
隔热裤面料之间的重叠部分不应小于200 mmo
5.2.2隔热上衣应考虑与呼吸保护装具配套使用.背部应设有背囊,背囊应至少能够容纳6. 8 L空气 呼吸器气瓶。
5.2.3门襟的结构应包含外层、隔热层和舒适层,或由外层折边代替舒适层。
5.2.4袖口设计应能保护消防员的手腕,并防止燃烧的废碎片进入到衣袖中。袖口不应妨碍隔热服的 穿着,并应与隔热手套的佩戴相配合。
5.3隔热裤
隔热裤应对消防员的腿部提供保护.但
5. 4连体隔热衣裤
 
5.4. 1连体隔热衣裨对消防员的躯
5.4.2连体隔热衣裤应刍
部背囊应至少能够容纳6.8 L空气呼吸器气瓶。
页部、手臂、手腕和腿咅
方便,腰臀部和腿部应采用松量设计.J
不包括头部、手部和脚部。
虑与呼吸保护装具配套使用.背
5. 5隔热头罩
5.5. 1隔热头罩 罩和隔热上衣领 5.5.2 隔热头 无畸变。
5.5.3 隔热头
5.5.4 隔热头
5.6隔热手套
5.6. 1
5. 6. 2
5. 6. 3
隔热手
应
应考
应采
采
隔热手套和隔热 隔热手套一般应
5.7隔热脚盖
消防员整
视窗,应米
与隔:
衣相同面料。
指式设计,应对
衣衣袖面料之间
与隔热上
前端和后端应延伸到前胸和后背部。隔热头
明的J
配合使
部禾
提屮
部分不应小于
定强度和刚性的耐热材料,视物真实
mm「
面料*在手掌部位可增加耐磨加强层。
5.7. 1隔热脚盖应与;
部提供保护
5. 7. 2隔热脚盖和隔热裤之间的重叠部分不应小于300
5.7.3隔热脚盖一般应采用与隔热上衣
5.8辅料
隔热服上的辅料要求如下:
mm。
a)所冇硬质附件应无斑点、结节或尖利的边缘,并经防腐蚀处理;
b)应选用具有阻燃性的缝纫线和搭扣.颜色为浅色•与面料外层相匹配;
c)隔热上衣的前门襟处若选用拉链.则拉链型号不小于8号,颜色与面料外层相匹配;
d)隔热裤的背带应选用松紧带或可调节式背带。
3
库七七 www.kqqw.com 标准下载
XF 634—2015
6性能要求
6. 1面料外层性能
6. 1. 1阻燃性能
损毁长度不应大于IOO mm,续燃时间不应大于2 s,且不应有熔融、滴落现象。
6. 1.2 断裂强力
经、纬向干态断裂强力不应小于650 No
6. 1.3撕破强力
经、纬向撕破强力不应小于100 N。
6. 1.4剥离强力
如复合层能够与基材分离,则经、纬向剥离强力不应小于9 N/30 mmo
6. 1.5热稳定性能
经热稳定性能试验后,沿经、纬向尺寸变化率不应大于10%,且不应有变色、脱层、炭化、熔融和滴 落现象。
6. 1.6 耐静水压性能
耐静水压不应小于17 kPa。
6. 1.7 耐弯折性能
经耐弯折性能试验后,不应出现复合层材料或纤维脱层、脱落现象,且经、纬向断裂强力不应小于 500 N。
6. 1.8抗辐射热渗透性能
内表面温升达到24 °C的时间不应小于60 s。
6.2面料隔热层性能
6.2. 1阻燃性能
损毁长度不应大于10。mm,续燃时间不应大于2 s,且不应有熔融、滴落现象。
6.2.2热稳定性能
经、纬向尺寸变化率不应大于10%,且不应有变色、炭化、熔融和滴落现象。
6.3 面料舒适层性能
6. 3. 1阻燃性能
损毁长度不应大于100 mm,续燃时间不应大于2 s,且不应有熔融、滴落现象。
4
库七七 www.kqqw.com 标准下载
XF 634—2015
6.3.2断裂强力
经、纬向十态断裂强力不应小于300 N。
6.4隔热头罩性能
6.4. 1 耐高温性能
经耐高温性能试验后,隔热头罩不应有炭化、熔融和滴落现象,视窗不应有明显变形或损坏的现象
6. 4. 2视野
左、右水平视野应不小于1 S^ 45。。
6.4.3视窗透光率
无色透明视窗透光夕筛应,^^%,浅色透明视窗透光率不E^l8\
6.5隔热手套性能
6. 5门面料性能/ / 4 \ \
当隔热手套与隔热上衣采用的不是同一种面料或组合时.应符合6. 1、6.2、6. 3的要求。
6•…套灵巧性能
隔:手套灵[:生才应低/I^I^^Il H ] I
当隔热脚盖[隔Q衣采QfNk种^8®^B®^B^、6 2的卜。
6.7硬质附件耐高温性能
经耐高温性*验\硬质附件
6.8缝纫线耐高温性能
经耐高温性能试N,卅举不应有熔融、炭化和滴落现象。
6.9整体性能
6.9. 1火焰和辐射热防护性能
隔热服火焰和辐射热防护能办W^值不应小于28.0^^^^
6.9.2接缝断裂强力
隔热服外层的接缝断裂强力不应小于650 N0
6.9.3 针距密度
隔热服明暗线每3 Cm不应小于9针,包缝线每3 Cm不应小于7针。
6. 9. 4质量
隔热服的质量(包括隔热衣裤、隔热头罩、隔热手套和隔热脚盖)不应大于6 000 g。
库七七 www.kqqw.com 标准下载
XF 634—2015
6. 10外观要求
隔热服的外观要求如下:
a)各部位缝制应平整,不应有脱线、跳针现象.表面不应有裂纹、脱层以及破损等缺陷;
b)各对称部位应基本一致;
c)黏合衬不应有脱胶及表面渗胶;
d)标志设置位置应正确,号型标志应准确清晰;
e)隔热头罩的视窗应无明显擦伤或打毛痕迹。
7试验方法
7. 1水洗预处理
在进行7. 3. 1、7. 3. 2、7. 4. 1试验前,试样应按GB/T 8629-2001规定的洗涤方法洗涤25次,使用 无磷ECE标准洗涤剂,采用5A程序,滚筒烘干。
7.2面料外层性能试验
7.2. 1阻燃性能试验
按GB/T 5455的规定进行。
7.2.2 断裂强力试验
按GB/T 3923. 1的规定进行。
7.2.3撕破强力试验
按GB/T 3917. 3的规定进行。
7.2.4 剥离强力试验
按GB/T 8808-1988中方法A规定进行。
7.2.5热稳定性能试验
按附录A规定进行,试验温度设定为260 ℃士6 oCo
7.2.6 耐静水压性能试验
按附录B规定进行预处理后.按GB/T 4744的规定进行。
7.2.7耐弯折性能试验
按附录B规定进行。
7.2.8抗辐射热渗透性能试验
按附录C规定进行。
6
库七七 www.kqqw.com 标准下载
XF 634—2015
7.3面料隔热层性能试验
7.3. 1阻燃性能试验
按7. 1的规定进行预处理后.按GB/T 5455的规定进行试验。
7.3.2热稳定性能试验
按7. 1的规定进行预处理后,试验温度设定为260 ℃ ±6 按附录A规定进行试验。
7.4面料舒适层性能试验
7.4. 1阻燃性能试验
 
按7. 1的规定进行预处
7.4.2断裂强力试验
按 GB/T 3923. 1 的规
7.5隔热头罩性能试验
7.5. 1耐高温性能试验
任取3件隔 行试验。视窗不
7. 5. 2 视野试ε
按 GB 811
7.5.3 视窗透B
,按
行
试验温
18()
的试验步骤将隔热
罩放入干燥箱进
接糸
2()1()
按 GB/T 241
20
7.6隔热手套性能试验
燥箱隔
5. 4 白4
中方法IM
灵巧性能试验按XF 7—2004中7. 12的规定进行C
7.7硬质附件耐高温性能试验
任取3件硬质附件。试验温度设: 行试验。用目测法测定。
7.8缝纫线耐高温性能试验
任意剪取3根300 mm长的缝纫线 放入干燥箱进行试验。用目测法测定。
7.9整体性能试验
7.9. 1火焰和辐射热防护性能试验
按附录D的规定进行。
骤将硬质附件放入十燥箱进
试验温度设定为260 ℃ 士6 ℃。按A. 5的试验步骤将缝纫线
7
库七七 www.kqqw.com 标准下载
XF 634—2015
7.9.2接缝断裂强力试验
按GB/T 13773. 1的规定进行。
7.9.3 针距密度检验
在隔热服上任取30 mm计量。用量程不低于0 mm~300 mm毫米刻度尺测定。
7.9.4质量检验
用称量范围不低于O g~10 000 g,精度不低于3级的质量衡器测定。
7. 10外观检验
用目测法检验,逐件进行检查。
8检验规则
8. 1材料检验
8. 1. 1隔热服材料检验应包含隔热服面料、辅料、缝纫线和硬质附件。
8. 1.2面料检验按每批进厂数量抽检,每5 OOOm为一批次。随机抽样2 m,按表1规定的项目进行 检验,经检验合格后方可接收。
8. 1.3辅料、缝纫线、硬质附件的检验按每批进厂数量抽检。按表1规定的项目进行检验,经检验合格 后方可接收。
8.2出厂检验
8.2. 1隔热服应经生产厂质量检验部门按表1规定的项目进行出厂检验,经检验合格后方可出厂。
8.2.2出厂检验每1 Ooo套为一批次,不足1 000套以实际生产量为一批,每批抽取2件试样进行检 验。如有一项不合格.则对不合格项目进行加倍抽样检验,若仍出现不合格"则该批产品为不合格,不应 出厂。
8. 3 型式检验
8. 3. 1型式检验应在下列情况下进行:
a)新产品试制的定型检验;
b)材料、款式、工艺有较大改变时;
c)出厂检验结果发生较大偏离时;
d)停产一年以上重新恢复生产时;
e)国家质量监督机构提出型式检验要求时。
8.3.2型式检验的试样从出厂检验合格的产品中随机抽样,抽样数量为3件。
8. 3. 3型式检验的检验项目按表1规定进行,检验项目的不合格分类按表2规定。
8.3.4检验的结果出现下列情况时,即判定为不合格:
a)出现A类不合格;
b)出现不少于2个B类不合格;
c)出现1个B类不合格时,同时出现不少于2个C类不合格;
d)出现不少于3个C类不合格。
8
库七七 www.kqqw.com 标准下载
XF 634—2015
表1材料检验、出厂检验和型式检验项目
| 序号 | 条款号 | 检验项口 | 材料检验 | 出厂检验 | 型式检验 | |||
| 1 | 6. 1. 1 | 面料外层性能 | 阻燃性能 | |||||
| 2 | 6. 1. 2 | 断裂强力 | ||||||
| 3 | 6. 1.3 | 撕破强力 | ||||||
| 4 | 6. 1. 4 | 剥离强力 | ||||||
| 5 | 6. 1. 5 | |||||||
| 6 | 6. 1. 6 | 耐静水压性能 | ||||||
| 7 | 6. 1. 7 | 耐弯折性自 | ||||||
| 8 | 6. 1.8 | 抗辐射热渗透性能 | ||||||
| 9 | 6. 2. 1 | 面料隔热层性能 | 阻燃性能 | |||||
| IO | 6. 2. 2 | 热稳定性能 | ||||||
| 11 | 6. 3. 1 | r面料舒适层性能 _ | 阻燃性能 | |||||
| 12 | 6. 3. 2 J | |||||||
| Rli | ||||||||
| 13 | 6.4. 1, | 隔,头罩性能/ | IIB | |||||
| 14 | 6.4.2, | 卜0 | ||||||
| 15 | 6. 4. ≡ | II!BI1^B | ||||||
| 16 | 6. 5 I | 隔热手套性能 | ≡≡≡ | |||||
| 17 | 6. 6 I | 隔热脚盖性能 | ɪ | |||||
| 18 | 6. 7 ■ | |||||||
| 19 | κ≡ | J 〃 {(1⅞^V^≈^≈^^^^^B^≈^≈^^H | ||||||
| 20 | 6. 9. 1 ⅜ | ∣^∣^^∣^ | ||||||
| 21 | 6. 9. 2 | 整,体 | 性能 | |||||
| 22 | 6. 9. 3 | 针距密度 | ||||||
| 23 | 6. 9 J | 质量 | ||||||
| 24 | 6. 10 | 外观要求 | ||||||
注:表不进行该项试
 
;进行该项试验
| 序号 | 检验项目 | 不合格分类 | |||
| A类 | B类 | C类 | |||
| 1 | 面料外层性能 | 阻燃性能 | 未达标准要求 | ||
| 2 | 断裂强力 | <500 | ≥500 且<600 | ≥600 且<650 | |
| 3 | 撕破强力 | 未达标准要求 | |||
| 4 | 剥离强力 | 未达标准要求 | |||
9
库七七 www.kqqw.com 标准下载
XF 634—2015
表2 (续)
| 序号 | 检验项目 | 不合格分类 | |||
| A类 | B类 | C类 | |||
| 5 | 面料外层性能 | 热稳定性能 | 未达标准要求 | — | — | 
| 6 | 耐静水压性能 | — | 未达标准要求 | — | |
| 7 | 耐弯折性能 | 未达标7隹要求 | — | — | |
| 8 | 抗辐射热渗透性能 | 未达标准要求 | — | — | |
| 9 | 面料隔热层性能 | 阻燃性能 | 未达标准要求 | — | — | 
| 10 | 热稳定性能 | 未达标准要求 | — | — | |
| 11 | 料舒适层性能 | 阻燃性能 | 未达标准要求 | — | — | 
| 12 | 断裂强力 | <200 | ≥200 且<250 | ≥250 且<300 | |
| 13 | 隔热头罩性能 | 耐高温性能 | 未达标准要求 | — | — | 
| 14 | 视野 | — | 未达标准要求 | — | |
| 15 | 视窗透光率 | — | 未达标准要求 | — | |
| 16 | 隔热手套性能 | — | 未达标准要求 | — | |
| 17 | 隔热脚盖性能 | — | 未达标准要求 | — | |
| 18 | 硬质附件耐高温性能 | — | 未达标准要求 | — | |
| 19 | 缝纫线耐高温性能 | — | 未达标准要求 | — | |
| 20 | 整体性能 | 火焰和辐射热防护性能 | 未达标准要求 | — | — | 
| 21 | 接缝断裂强力 | <500 | >500 旦<600 | ≥600 且<650 | |
| 22 | 针距密度 | — | — | 未达标准要求 | |
| 23 | 质量 | — | — | 未达标准要求 | |
| 24 | 外观 | — | — | 未达标准要求 | |
9 标志、包装、运输和贮存
9. 1 标志
每件隔热服上应有永久性的产品标签。标签应设置在隔热上衣前胸左侧的舒适层上,包含图1中 所规定的内容:
10
库七七 www.kqqw.com 标准下载
XF 634—2015
9.2包装
9.2. 1
9.2.2
a) b)
c) d) e)
9.2.3
a) b)
C ) d) e ) f )
 
消防员隔热防护服 型号规格: 执行标准: 产品识别编号: 材料: 生产厂家: 地址: 生产日期: 洗涤和干燥说明: 禁止使用场合:
图1隔热服标签
每件隔热服的内包装应采用塑料袋,并附有产品说明书和产品合格证。
产品说明 使用安W 维护保( 储藏 报废q 售后月( 外包装]
产品名単
匹应符合GB/T 9969
方法;
&联系方式J 应采用纸板霆 尔、型号、规格;
数量及总质量;
包装箱的外形尺寸; 生产日*生产批号; 防雨、防钩Z示记; 生产厂名、商标和地址。
9.3. 1隔热服在运输中应避
9.3.2隔热服在运输中应避
油、酸、
9.4 贮存
隔热服应常温贮存在干燥、通风的仓库中。
jB/T 191规定的有关标记:
库七七 www.kqqw.com 标准下载
11
XF 634—2015
附录A
(规范性附录) 热稳定性能试验
A. 1原理
在高温环境下保持一段时间以后,测试织物的尺寸变化率和外观变化。
A. 2试验装置
A.2. 1干燥箱
温度范围:20 。C〜300 ℃。
温度波动度:士2.0 ℃。
A.2.2测量直尺
采用300 mm毫米刻度尺。
A. 3试样
尺寸Ioc) mm×100 mm,沿经、纬向取样数量为3块。
A. 4试验准备
在温度20 ℃+2 ℃和65%±5%的相对湿度条件下将试样保持24 h。
A. 5试验步骤
首先将试样放在干燥箱隔板上,干燥箱加热至试验温度,然后迅速打开干燥箱门,将干燥箱隔板放 入干燥箱内,确保试样不与干燥箱壁接触,关上干燥箱门。从干燥箱温度达到试验温度范围吋记录吋 间,并使干燥箱内温度始终保持在试验温度范围内,5 min后打开干燥箱门,取出试样。
A. 6试验结论
试样应在2 min以内测量完长、宽方向的尺寸.按式(A. 1)计算最大尺寸变化率。
P=I X 100% ..............................( A. 1 )
式中:
P——尺寸变化率,%;
Dl..加热前尺寸,单位为毫米(mm);
D2..加热后尺寸,单位为毫米(mm)。
取3块试样的平均值为检验结果,并以目测检查试样外观变化。
12
库七七 www.kqqw.com 标准下载
B. 1原理
XF 634—2015
附录B
(规范性附录) 面料外层耐弯折性能试验
 
模拟隔热服外层面料多次弯折后产
料的复合性能。
B. 2试样
试样应从隔热服或隔热服材料上切下,大小为300 mm× 300 mm, 一共为12块。如果切下材料
寸无法满足试验尺寸要求,则试样上可以含
经、纬向裁剪各裁剪6块,数量 缝。
B. 3 试验准备
B. 4试验装置
说明:
1—旋转夹盘
2..移动夹盘
3...试样;
4--夹箍。
另6块试样作为干
:样。
图B. 1耐弯折性能试验装置
如图B. 1所示,试验装置包括两块夹盘,直径为90 mm÷l mm,厚度为12 mm÷0. 5 mm,两块夹盘 间距190 mm+1 mmo 一块旋转夹盘可以进行双向旋转,另一块移动夹盘可以向旋转夹盘的方向进行 13
库七七 www.kqqw.com 标准下载
XF 634—2015
往复移动。试验开始后旋转夹盘旋转450° + 10°,同时移动夹盘前进,完成后两块夹盘间距应为 35 mm+2 mm,然后旋转夹盘和移动夹盘返冋初始位置。夹盘从初始位置开始运动至返冋初始位置记 为弯折1次,装置运行速度不应低于30次/min。
B. 5试验步骤
调整夹盘距离为190 mm÷ Immo用夹箍将试样的两条边牢固固定在夹盘上,反射辐射热的复合 层向外。
试样共应弯折2 500次。每弯折500次卸下试样,旋转90。转换装夹边,重新夹紧进行试验。应确 保试样每条边都分别在旋转夹盘和移动夹盘上装夹过1次。
弯折完成后,按GB/T 3923. 1的规定进行断裂强力试验。
干态试样和湿态试样分别进行测试。
B. 6试验结论
以冃测检查试样外观变化,并分别计算出干态和湿态试样经、纬向断裂强力,取6块试样的平均值 作为检验结果。
14
库七七 www.kqqw.com 标准下载
XF 634—2015
C. 1原理
附录C
(规范性附录)
面料外层抗辐射渗透性能试验
通过对面料进行热辐射.测试其内表面温升变化,评价面料对辐射热的防护能力。
C.2试验装置
辐射热源;辐射热鸣围^^^^/m? ~50 kW/rη2 ;
铜板热量计;铜-/(T /热电偶焊接在铜板上制成,铜板N^ NmX 50 mm,厚度为
1. 6 mm,质量为36 a^0, 1 Λ热电偶直径为0. 3 mmo
温度显示装置。 / _一—一_
试样应从防
C. 4试验准备
C.5试验步骤
试验歩骤如下\
a)将连接温度显示装置的铜板热量计紧贴试样内表面,使试样内表面温度达到20 ℃士3 。C;
b)调节辐射热;i^虽公馭式样外表面受到的辐射热通量为4。/MJ4 kW∕m2 ;
c)观察温度显示装置的温度指示值和试验时间.记录试样内表面温升达到24。C的时间。
C. 6试验结论
取3块试样的平均值为检验结果。
15
库七七 www.kqqw.com 标准下载
XF 634—2015
附录D
(规范性附录) 火焰和辐射热防护性能试验
D. 1原理
通过对织物表面导致人体二度烧伤(灼伤)所需热能测定,评价隔热服热防护的相对能力。
D.2试验装置
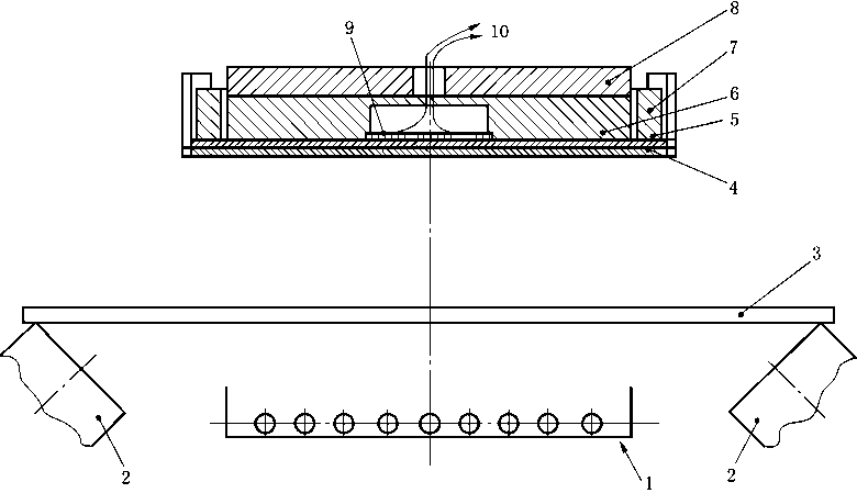
如图D. 1所示,试验装置中辐射热源的辐射热通量范围5 kW∕m2-50 kW/n?。燃烧热源的热通 量范围20 kW∕m2-80 kW∕m2 o采用铜-康铜(T型)热电偶焊接在铜板上制成铜板热量计,其中铜板尺 寸为50 mm× 50 mm,厚度为1. 6 mm,质量为36 g÷0. 1 g0热电偶直径为0. 3 mm0绝热块采用不燃 的绝热材料制成,试样夹盘和配重物采用不锈钢材料,试样夹盘、绝热块和配重物质量的总和应为 1 000 g+10 go热电偶后端连接温度显示装置。温度显示装置应能够绘制试样内表面“温升-时间”曲线。
说明:
 
6@
1 辐射热源;
6 ——绝热块;
2..燃烧热源;
3 水冷隔热屏;
4——试样安装盘;
5 试样;
7 ..试样装夹盘;
8 ——配重物;
9 ..铜板;
10 热电偶。
图D. 1耐弯折性能试验装置
D. 3试样
试样应从隔热服上切下,包含隔热服的所有防护层面料,样品的大小应为150 mm×150 mm,取3
16
库七七 www.kqqw.com 标准下载
XF 634—2015
个试样进行试验。
D.4试验准备
在温度20 ℃+2 ℃和65%±5%的相对湿度条件下将试样保持24 h。
D. 5试验步骤
试验步骤如下:
将总热通量定在83 kW∕m2 ÷4 kW∕m2 ,相当于2. 0 cal∕(cm2 ∙ s) ÷0. 1 eal/(em? • s),应采用铜板
热量计测量总热通量。将试样 水冷隔热屏,开始试验,标明暴
如图D. 2放置。铜板热量计应放在] 露开始时间,30 S后关闭水冷隔热屏
说明:
1—受热面
2....夕卜层;
D. 6试验结论
绘制测试试样
式中:
T——温度,单位为
 
 
寸间"曲线和标
T=I. 991 产 209 1
度(
t ..时间,单位为秒d
确定测试试样的"温升-时 Z 曲线木
0. 1 So按式(D.2)计算出TPP值。
向皮肤的一面直接接触,打开
,标准二度烧伤
按式(DI)绘制。
(D. 1 )
读出二度烧伤的时间,精确到
3个试样的平均值为检验
(D. 2 )
式中:
TPP——火焰和辐射热热防护性能值;
F ——试验总热通量,单位为卡每平方厘米秒[cal/(cm2-s)];
Z ——二度烧伤时间,单位为秒(s)。
17
库七七 www.kqqw.com 标准下载
库七七 www. kqqw. com 标准下载
库七七 www. kqqw. com 标准下载
XF 634—2015
中华人民共和国消防救援 行业标准 消防员隔热防护服
XF 634—2015
应急管理出版社出版
(北京市朝阳区芍药居35号100029)
网址:WWW. cciph. com. cn 北京建宏印刷有限公司印刷 全国新华书店经错
开本 88()mm× 1230mm 1/16 印张 1 1/2
字数33千字
2021年1月第1版 2021年1月第1次印刷
15 5020 ♦ 1241
社内编号20200609 定价24. 00元 版权所有违者必究
本书如有缺页、倒页、脱页等质量问题,本社负责调换
库七七 www.kqqw.com 标准下载