ICS 91.220
CCS P 97
∖^—L ■ .............1
^igiii^
中华人民共和国国家标准
GB/T 26409—2022
代替 GB/T 26409—201 1
流动式混凝土泵
Mobile concrete pump
2022-03-09 发布
2022-10-01 实施
国家市场监督管理总局 国家标准化管理委员会
犌犅/犜26409—2022
目 次
前言........................................................................................................................T
1 范围.....................................................................................................................1
2 规范性引用文件 ......................................................................................................1
3术语和定义............................................................................................................2
4技术要求...............................................................................................................4
4.1通用要求.........................................................................................................4
4.2 整机 ...............................................................................................................5
4.3 机械结构 .........................................................................................................6
4.4 泵送单兀 .........................................................................................................6
4.5 液压系统 .........................................................................................................6
4.6 电气系统 .........................................................................................................7
4.7安全、环保.........................................................................................................7
5 试验方法...............................................................................................................8
5.1 试验条件和试验准备 ..........................................................................................8
5.2 出厂试验 .........................................................................................................8
5.3性能试验.........................................................................................................9
5.4 可靠性试验......................................................................................................17
6 检验规则...............................................................................................................19
6.1出厂检验.........................................................................................................19
6.2 型式检验.........................................................................................................21
6.3 抽样...............................................................................................................21
6.4 判定规则.........................................................................................................21
7产品标牌...............................................................................................................21
8使用说明书............................................................................................................22
9 随机文件、包装、运输、贮存.......................................................................................22
9.1 随机文件.........................................................................................................22
9.2 包装...............................................................................................................22
9.3 运输...............................................................................................................22
9.4 贮存...............................................................................................................22
附录A (规范性)车载式混凝土布料泵结构件强度计算规范和作业稳定性计算........................23
附录B (资料性)流动式混凝士泵测试记录表 ..................................................................26
附录C (规范性)故障模式及危害评估 ...........................................................................39
参考文献..................................................................................................................42
库七七 www.kqqw.com 标准下载
前 言
犌犅/犜26409—2022
本文件按照GB/T 1.1—2020《标准化工作导则 第1部分:标准化文件的结构和起草规则》的规定 起草。
本文件代替GB/T 26409—2011《流动式混凝土泵》,与GB/T 26409—2011相比,除结构调整和编 辑性改动外,主要技术变化如下:
a)修改了标准适应范围(见第1章,2011年版的第1章);
b)删除了搅拌布料泵术语定义(见2011年版的3.3);
C)修改了部分术语和定义(见 3.1、3.2、3.3、3.5、3.6、3.8、3.12、3.15、3.16,2011 年版的 3.1、3.2、
3.4、3.5、3.6、3.7、3.9、3.13、3.16、3.17);
d)增加了泵送压力的定义(见3.4);
e)删除了布料臂最大垂直高度的定义(见2011年版的3.7);
D 增加了整机侧倾稳定角要求(见4.2.1);
g)修改了整机外廓尺寸限值、整机轴荷与总质量要求(见4.2.4,2011年版的4.2.4),增加表1、 表2;
h)删除了对结构件的结构强度及焊接质量的要求(见2011年版的4.2.7、4.2.9);
i)增加了对结构强度及焊接质量的要求(见4.3.14、4.3.15),以及臂架、支腿的技术要求(见4.3.16);
j) 修改了整机电气系统安全技术要求(见4.6.4,2011年版的4.6.4);
k)修改了噪声限值要求(见4.7.5,2011年版4.7.5);
1) 修改了布料臂工作时速度约束主体(见4.7.6,2011年版的4.7.6);
m)删除了整机应设置紧急停止系统(见2011年版4.7.8);
n)修改了易接触到的工作运动部件防护要求(见4.7.8,2011年版的4.7.9);
O)增加了整机应设置反光标识(见4.7.10)与应使用环境负担轻的材料(见4.7.11);
P)修改了试验场地要求(见5.1.2,2011年版的5.1.2);
q)增加了支腿试验条件和试验准备要求(见5.1.8);
r)增加了车辆参数测量项目及专用结构几何参数测量项目描述(见5.3.1.1、5.3.1.2);
S)修改了作业噪声参考标准(见5.3.2,2011年版的5.3.2);
t)修改了支腿/臂架动作互锁测试(见5.3.3.5,2011年版的5.3.3.5);
U)增加了实际泵送方量、泵送效率及泵送压力测试试验(见5.3.4.4、5.3.4.5、5.3.4.6);
V)增加了臂架和支腿运行性能测试要求(见5.3.6);
W)修改了泵送混凝士或模拟流体物质试验时间(见表7,2011年版的表4);
X)修改了 6.1出厂检验项目(见表9,2011年版的表6);
y)修改了最大输送方量单位[见7.2 g),2011年版7.2 g)];
Z)修改了稳定性试验记录表(见表B.2,2011年版的表B.2),参数测量记录表(见表B.3,2011年 版表B.1);
aa)增加了流动式混凝土泵测试记录表(见表B.1、表B.4、表B.5、表B.6、表B.7、表B.8、表B.10、 表 B.11、表 B.12)。
请注意本文件的某些内容可能涉及专利。本文件的发布机构不承担识别专利的责任。
本文件由中国机械工业联合会提出。
本文件由全国建筑施工机械与设备标准化技术委员会(SAC/TC 328)归口。
i
库七七 www.kqqw.com 标准下载
犌犅/犜26409—2022
本文件起草单位:中联重科股份有限公司、中机科(北京)车辆检测工程研究院有限公司、三一重工 股份有限公司、徐州徐工施维英机械有限公司、河北雷萨重型工程机械有限责任公司、国家建筑城建机 械质量监督检验中心、北京建筑机械化研究院有限公司。
本文件主要起草人:吴德志、高荣芝、王佳茜、付玲、张松涛、符忠轩、吴成平、陈添明、石锋、舒柱兵、 马敏、周紫哈、李辉。
本文件于2011年首次发布,本次为第一次修订。
H
库七七 www.kqqw.com 标准下载
流动式混凝土泵
犌犅/犜26409—2022
1范围
本文件规定了流动式混凝土泵的技术要求、试验方法、检验规则、产品标牌、使用说明书和随机文 件、包装、运输、贮存。
本文件适用于采用汽车底盘改装的车载式混凝士布料泵、车载式混凝士泵,其他车载式混凝士泵送 机械的泵送和布料部分参照本文件执行。
2规范性引用文件
下列文件中的内容通过文中的规范性引用而构成本文件必不可少的条款。其中,注日期的引用文 件,仅该日期对应的版本适用于本文件;不注日期的引用文件,其最新版本(包括所有的修改单)适用于 本文件。
GB/T 3766液压传动系统及其元件的通用规则和安全要求
GB/T 3797电气控制设备
GB/T 3811起重机设计规范
GB/T 5226.1机械电气安全 机械电气设备 第1部分:通用技术条件
GB 7258机动车运行安全技术条件
GB 11118.1 液压油(L-HL、L-HM、L-HV、L-HS、L-HG)
GB/T 12534汽车道路试验方法通则
GB/T 12539汽车爬陡坡试验方法
GB/T 12673-2019汽车主要尺寸测量方法
GB/T 12674-1990汽车质量(重量)参数测定方法
GB/T 13333 混凝土泵
GB/T 14039液压传动油液固体颗粒污染等级代号
GB/T 14172汽车、挂车及汽车列车静侧倾稳定性台架试验方法
GB/T 17626.3电磁兼容试验和测量技术射频电磁场辐射抗扰度试验
GB/T 17626.4电磁兼容试验和测量技术电快速瞬变脉冲群抗扰度试验
GB/T 17626.5电磁兼容试验和测量技术浪涌(冲击)抗扰度试验
GB/T 18153机械安全可接触表面温度确定热表面温度限值的工效学数据
GB/T 18209.2机械电气安全指示、标志和操作第2部分:标志要求
GB/T 18411机动车产品标牌
GB/T 19418钢的弧焊接头缺陷质量分级指南
GB/T 26546-2011工程机械减轻环境负担的技术指南
GB/T 30574机械安全安全防护的实施准则
JB/T 11187建筑施工机械与设备混凝土输送管型式与尺寸
Qc/T34汽车的故障模式及分类
1
库七七 www.kqqw.com 标准下载
犌犅/犜26409—2022
QC/T 252专用汽车定型试验规程
QC/T 29082汽车传动轴总成技术条件及台架试验方法
3术语和定义
下列术语和定义适用于本文件。
3 .1
车载式混凝土布料泵 concrete truck pump with placing booms
在汽车底盘上安装有泵送单元和布料臂的混凝土泵送机械。
3 .2
车载式混凝土泵 truck mounted concrete pump
安装在汽车底盘上的混凝士泵。
3 .3
泵送单元 pumping unit
由混凝土料斗、分配阀、控制系统、混凝土缸、水洗箱和推进装置等零部件组成的系统。
[来源:GB/T 7920.4—2016,2.4.2.1.9]
3 .4
泵送压力 pumjirng pressure
工作时,泵送液压系统的压力。
3 .5
布料作业范围distribution scope
车载式混凝土布料泵在布料作业状态下,布料臂末端输送硬管出料口中心所能达到的区域。
[来源:GB/T 7920.4—2016,2.4.3.2.1,有修改]
3 .6
整机总质量 complete VehiCIe gross mass
流动式混凝土泵装备能正常行驶与作业所需要的完整部件、不少于油箱容量90%的燃料以及随机 驾乘人员质量的总和。
3 .7
上料高度 filiing height
流动式混凝土泵在作业状态下,地面与料斗进料口平面刚性物之间的垂直距离。
[来源:GB/T 7920.4—2016,2.4.3.2.3,有修改]
3 .8
支腿跨距 Stride of support
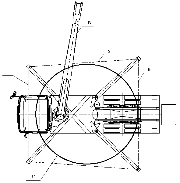
流动式混凝土泵支腿在最大伸展位置时,相邻两支腿垂直支撑油缸的受力中心线(通常指油缸中心 线)之间的相对于参考面的投影距离,见图1。
注:包括前支腿跨距,后支腿跨距,左侧支腿跨距和右侧支腿跨距。
2
库七七 www.kqqw.com 标准下载
犌犅/犜26409—2022
标引符号说明:
S1--前支腿跨距;
S2--后支腿跨距;
S3——左侧支腿跨距;
Sd--右侧支腿跨距;
S5--左侧支腿油缸中心线距离;
S6--右侧支腿油缸中心线距离。
图1支腿跨距示意图
3 .9
作业稳定性 working stability
流动式混凝土泵在布料或泵送作业时,整机抗倾覆的能力。
[来源:GB/T 7920.4-2016,2.4.3.2.4]
3 .10
前伸 front extent
流动式混凝土泵在行驶状态下,分别过底盘最前端点(包括前拖钩、车牌及任何固定在车架前部的 刚性部件)和布料臂最前端点且垂直于Y和X平面的两平面之间的距离。
注:Y和X平面的定义见GB/T 3730.3—1992中2.1、2.4的规定。
3 .11
后伸 rear extent
流动式混凝土泵在行驶状态下,分别过底盘最后部固定装置的端点(包括固定在混凝士泵送机构上 的任何刚性部件)和布料臂最后端点且垂直于Y和X平面的两平面之间的距离,见图2。
3
库七七 www.kqqw.com 标准下载
犌犅/犜26409—2022
标引符号说明:
犔1 前伸;
犔2...后悬;
犔3 后伸。
图2测量状态示意图
3 .12
布料臂cloth arm
装有混凝土输送管,在作业范围内将混凝土传送到浇注工位的可折叠臂架。
[来源:GB/T 25638.1—2010,3.5,有修改]
3 .13
臂架boom
由一节或多节可伸缩的或较接的部分组成,用于支撑输送管的部件。
[来源:GB/T 7920.4—2016,2.4.2.2.3]
3 .14
输送管 conveying pipe
用于输送混凝土的管。
注:包括直管、弯管、锥管和软管等。
[来源:GB/T 7920.4—2016,2.4∙2∙1∙3,有修改]
3 .15
底架 support frame
安装在回转支承下部,支撑布料臂和转台的结构件(基座)。
[来源:GB/T 7920.4—2016,2.4.2.2.4]
3 .16
转台 rotary platform
安装在回转支承上部,支撑混凝士布料臂的可回转结构件。
「来源:GB/T 7920.4—2016,2.4.2.2.1]
4技术要求
4.1通用要求
4.1.1流动式混凝土泵的工作条件如下:
a)工作环境温度宜为0℃〜40℃ ,但24 h内平均温度应不超过35℃ ;非工作期间最低环境温度 应不低于一40℃;
b)工作环境海拔高度不宜超过1 000 m,超过1 000 m时应作为特殊情况处理;
C)泵送混凝土坍落度宜为80 mm〜230 mm。泵送混凝土坍落度为150 mm〜200 mm时,混凝
4
库七七 www.kqqw.com 标准下载
犌犅/犜26409—2022
土泵吸入效率应不低于85%。
4.1.2泵送混凝士的密度应不大于2 400 kg/m%
4.1.3布料作业时,所有轮胎不应承重。
4.1.4布料作业时,风速应不超过13.8m/s(六级)。
4.1.5作业地面承压能力应不小于支腿最大支承力。
4.1.6布料作业过程中,整机的水平倾角应不大于3。。
4.1.7布料作业范围不应超过制造厂的规定。
4.2整机
4.2.1爬坡度应不小于18% ;离去角不小于10。;侧倾稳定角不小于15。。
4.2.2停放在平坦坚实的地面,底盘轮胎离地50 mm时,上料高度应不大于1 580 mm。
4.2.3所采用底盘应符合已定型二类汽车底盘的技术要求。
4.2.4车载式混凝土布料泵在道路行驶状态下外廓尺寸应符合表1规定,整机总质量及轴荷应不超过 表2规定。
表1车载式混凝土布料泵整机外廓尺寸限值
单位为米
|
布料臂最大垂直高度∙(H ) |
长度 |
宽度 |
高度 |
|
≤37 |
≤12 |
≤2.55 |
≤4 |
|
37<~≤48 |
≤14 |
≤2.55 |
≤4 |
|
48<~≤60 |
≤16 |
≤2.55 |
≤4 |
|
>60 |
≤22 |
≤2.55 |
≤4 |
|
■布料臂最大垂直高度指从车载式混凝土布料泵布料臂上输送硬管出料口中心与地面之间的最大垂直距离- | |||
表2车载式混凝土布料泵轴荷及整机设计总质量限值
单位为千克
|
底盘形式 |
单轴允许轴荷 |
整机总质量 | ||
|
非驱动轴 |
驱动轴 | |||
|
每侧单胎 |
每侧双胎 | |||
|
2轴 |
9000a |
9000b |
13000 |
22000c |
|
3轴 |
9000a |
9000b |
13000 |
35000d |
|
4轴 |
9000a |
9000b |
13000 |
44000e |
|
5轴 |
9000a |
9000b |
13000 |
55000 |
|
.非驱动轴安装名义断面宽度不小于425 mm轮胎的车轴,最大允许轴荷限值为10 000 kg。 b驱动轴安装名义断面宽度不小于425 mm轮胎的车轴,最大允许轴荷限值为10 000 kg;驱动轴安装名义断面 宽度不小于445 mm轮胎,最大允许轴荷限值为11 500 kg。 C非驱动轴安装名义断面宽度不小于425 mm轮胎的车轴,总质量限值为23 000 kg。 d非驱动轴安装名义断面宽度不小于425 mm轮胎的车轴,总质量限值为36 000 kg。 e非驱动轴安装名义断面宽度不小于425 mm轮胎的车轴,总质量限值为46 000 kg。 | ||||
5
库七七 www.kqqw.com 标准下载
犌犅/犜26409—2022
4.2.5车载式混凝土布料泵布料作业时,相对于回转中心的支腿横向跨距和纵向跨距应不小于其公称 尺寸。
4.2.6车载式混凝士布料泵作业稳定性应符合以下规定:
a)布料臂处于最不利于作业稳定性的位置时,至少有三条支腿受力;
b)布料臂在作业范围内作业,允许一条支腿抬起,但支腿的抬起量不大于200 mm(应消除因支 腿间隙造成的影响);
C)作业稳定性计算遵照附录A的规定。
4.2.7流动式混凝土泵可靠性试验时间不小于150 h。作业可靠性试验时,首次故障前工作时间不少 于100 h,平均无故障工作时间不少于100 h,作业率不低于85%。
4.3机械结构
4.3.1布料臂应有防止输送管前端软管突然坠落的装置。
4.3.2臂架在规定的使用工况下,应动作平稳,锁定可靠。
4.3.3行驶时,臂架应能可靠地固定在规定位置上。
4.3.4臂架应有排放积水的装置。
4.3.5混凝土输送管应符合GB/T 13333的相关规定,输送管之间的连接应方便、安全、可靠。
4.3.6回转机构启动、制动时,布料臂应运行平稳。
4.3.7回转机构应设有回转限位装置。
4.3.8车载式混凝土布料泵应安装水平仪。
4.3.9操纵手柄工作时不应相互干扰和引起误动作。手柄在中位时,不应因振动而产生离位。
4.3.10各电缆、软管、输送管应可靠地固定在规定位置上,作业时不应相互干扰。
4.3.11行驶时,各支腿应能可靠地固定在规定的位置上,垂直支腿的伸出量应不大于3 mm。
4.3.12取力装置应工作可靠,运行中无异响,具有互锁功能。
4.3.13底盘改装后的传动轴应符合QC/T 29082规定。
4.3.14结构件应安全可靠,结构件强度计算遵照附录A的规定。
4.3.15结构件焊接质量应符合GB/T 19418的相关规定。
4.3.16每节臂进行展开及折叠操作时应匀速。
4.4泵送单元
流动式混凝土泵的泵送单元的性能应符合以下要求:
a)泵送单元的两个活塞能同步反向运动,分配阀应与活塞协调动作;
b)混凝土缸活塞能方便且安全地更换;
c)分配阀能灵活、迅速、准确地换向,工作换向时间不超过0.3 s;
d)换向控制装置保证换向灵活准确;
e)分配阀换向机构及搅拌轴轴承可靠地密封和润滑;
f)搅拌装置卡料时,能方便地排除;搅拌轴满载与空载转速之比不小于80% ;
g)泵送单元需充水的水洗箱内,贮存足够的水,以保证每一行程均能清洗和冷却缸体,水洗箱底 部密封可靠,并设有排水装置;
h)料斗卸料口密封可靠,工作时不漏浆,运输和工作时密封件不脱落。
4.5液压系统
4.5.1液压系统的技术要求应符合GB/T 3766的规定。
4.5.2溢流阀的调定压力不应大于系统额定工作压力的110%。
6
库七七 www.kqqw.com 标准下载
犌犅/犜26409—2022
4.5.3液压油的选择与更换应符合GB 11118.1的规定。
4.5.4液压系统中液压油的固体颗粒污染等级应按GB/T 14039的规定分级,加入油箱的液压油的固 体颗粒污染等级应不超过-/18/15;产品性能试验及抽检时,液压系统中液压油的固体颗粒污染等级应 不超过/19/15。
4.5.5布料作业时,液压油箱内的液压油最高油温应不超过80 ℃。
4.5.6在1.25倍工作载荷作用下,布料臂全展开至水平,支腿支承力为最大值时,发动机熄火持续 15 min,其垂直支腿油缸和臂架油缸活塞杆的回缩量应不大于2 mm。
4.5.7液压系统中液压元件和管路应不漏油。在作业可靠性试验过程中,其渗油处数应不多于四处。
4.5.8臂架油缸和支腿油缸的活塞杆表面应具备耐蚀、防锈功能。
4.6 电气系统
4.6.1电气系统的设计、安装应符合GB/T 3797的规定,电控柜的防护等级应不低于IP 55。
4.6.2无线遥控器要求如下:
a)输出功率应不大于10 MW;
b)电磁兼容试验应符合GB/T 17626.3、GB/T 17626.4和GB/T 17626.5的规定;
C)有效工作距离应不小于100 m;
d)应具有有线遥控功能;
e)防护等级应不低于IP 65。
4.6.3电磁兼容性的设计应符合GB/T 5226.1中的相关规定。
4.6.4安全作业控制要求如下:
a)急停功能的设计应符合GB/T 17626.3和GB/T 5226.1中的规定;
b)为保障人员或设备安全,电气系统应具备急停、回转限位、大臂下限位及支腿/臂架动作互锁等 功能。
4.7 安全、环保
4.7.1布料臂不应用于起重作业。
4.7.2在输电线附近布料作业时,布料臂与输电线的最小距离应不小于表3的规定。
表3与输电线的最小距离
|
输电线路电压 kV |
<1 |
1 ~35 |
≥60 |
|
最小距离 m |
1.5 |
3 |
0.01×(犝-50)+3 |
4.7.3安全标识应符合GB/T 18209.2规定,在可能危及人身安全的危险部位有醒目的警示标识。
4.7.4支腿上应有最大支承力标识,并在使用说明书中说明。
4.7.5流动式混凝土泵布料作业时,机外辐射噪声限值应符合表4规定。
表4噪声限值
|
主动力功率 kW |
≤55 |
>55~65 |
>65 ~80 |
>80~100 |
>100~130 |
>130~160 |
>160~200 |
>200 ~250 |
>250~350 |
>350 |
|
噪声限值 dB(A) |
112 |
113 |
114 |
115 |
116 |
117 |
118 |
119 |
122 |
125 |
7
库七七 www.kqqw.com 标准下载
犌犅/犜26409—2022
4.7.6布料臂的某节臂工作时,臂架末端举升或放低的速度应不大于0.75 m/s。布料臂的所有臂架同 时工作时,臂架末端的线速度应不大于3 m/s。布料臂水平回转运动时,其末端的水平运动速度应不大 于 1.5 m/s。
4.7.7支腿油缸的垂直运动速度应不大于0.4 m/s;支腿伸缩和摆动时,支腿末端速度应不大于0.75 m/s。
4.7.8易接触到的工作运动部件防护应符合GB/T 30574,高温部件周围防护应符合GB/T 18153规定。
4.7.9臂架和支腿油缸应有锁定装置,垂直支腿应能单独调整,并有效锁定。
4.7.10流动式混凝土泵车身反光标识和车辆尾部标识板应符合GB 7258要求。
4.7.11产品设计制造过程应研究、使用环境负担轻的材料,严格控制使用GB/T 26546-2011表2的 D类材料。
5试验方法
5.1试验条件和试验准备
5.1.1道路试验条件和试验车辆准备应符合GB/T 12534的规定。
5.1.2试验场地面承压能力不小于支腿最大支承力,整机水平倾角应不大于3。。
5.1.3试验时的风速不大于8.3m/s。结构应力试验时,风速不大于4m/s。
5.1.4若无特殊要求,试验时的环境温度一般在0℃〜40℃之间,海拔高度不超过1 000 m。
5.1.5试验模拟载荷应标定准确,对于垂直载荷其允公差为±1%。
5.1.6专用性能试验时,应满足如下要求:
a)发动机的转速调整到布料作业时的额定工作转速;
b)液压系统按设计要求进行检查、调整阀的压力。
5.1.7泵送试验负载为混凝士或模拟流体物质,试验混凝士应符合GB/T 13333的相应要求。
5.1.8支腿性能测试时要确定其结构和功能正常,且在坚实水平路面上,液压系统温度为40℃〜60℃。
5.2出厂试验
5.2.1 一般性检查
流动式混凝土泵出厂时应根据设计要求和本文件的技术要求,对产品进行配置、功能及一般目测安 全要求进行检查。检查结果记入附录B中表B.1。
5.2.2行驶检查
流动式混凝土泵应进行行驶检查,检查行驶状态下各活动支腿的伸出量、臂架在臂架支架上的固定 情况及各总成的紧固状态。行驶的最高车速应不超过整机制造厂的规定。
5.2.3空载试验
5.2.3.1支腿伸出并支承在规定位置,调整流动式混凝土泵水平且车轮不承重;再按相反顺序收回支 腿。试验重复三次,验证支腿性能。
5.2.3.2支腿支承在规定位置,布料臂按照使用说明书规定的布料作业范围运行一次,验证布料作业范 围的符合性。
5.2.3.3支腿支承在规定位置,洗涤室按规定注入冷却水,布料臂全展开并呈水平状态,泵送机构空运 转10 min,检查各机构是否正常。
5.2.3.4试验载荷为空载,支腿支承在规定位置,布料臂处于额定回转速度时,按以下步骤操纵:
a)布料臂全展开至水平——回转90。,起臂、折臂至第一节臂仰角70。——回转至180。,布料臂全 展开放至水平——回转至270。,起臂、折臂至第一节臂仰角70。——回转至360。,布料臂放置 臂架支架;
b)按布料臂操纵内容试验一次,检查布料臂动作的平稳性能和支腿松动情况。
8
库七七 www.kqqw.com 标准下载
犌犅/犜26409—2022
5.2.3.5试验结果记入表B.2中。
5.2.4加载试验
5.2.4.1泵送单元模拟载荷加载试验,连续泵送8 h,参照GB/T 13333要求考核泵送单元性能。 5.2.4.2作业稳定性试验及活动支腿抬起量、油缸下沉量的测量应按以下进行:
a)试验载荷以1.25倍的工作载荷作为试验载荷;
b)试验载荷的分配按照制造厂家给出的布料臂各部件载荷比例,等效地分配试验载荷,试验载荷 以集中载荷或均匀载荷代重物的形式,分别悬挂于布料臂的相应位置,加载过程中布料臂应保 持非振动状态;
C)试验方法:支腿支承在规定位置,布料臂全展开并呈水平。布料臂以额定回转速度回转360。, 在回转过程中悬挂重物不应接触地面,试验一次。测量并记录下列参数: 1)活动支腿抬起量,测量时应去除因活动支腿和固定支腿间隙造成的影响; 2)支腿最大支承力(此项内容仅限于新产品型式试验); 3)支脚与地面接触情况。
d)测量记录表见表B.2。
5.3性能试验
5.3.1参数测量
5.3.1.1车辆参数的测量要求如下:
a)整机长、宽、高测量应按GB/T 12673-2019中8.1、8.2、8.3的规定进行;
b)轴距测量应按GB/T 12673-2019中8.1的规定进行;
C)前轮距、后轮距测量应按GB/T 12673-2019中8.2的规定进行;
d)前伸、后伸测量应按3.10、3.11的定义进行;
e)前悬、后悬测量应按GB/T 12673-2019中8.1的规定进行;
f)接近角、离去角测量应按GB/T 12673-2019中8.4的规定进行;
g)爬坡度测量应按GB/T 12539的规定进行;
h)侧倾稳定角测量应按GB/T 14172的规定进行;
i) 轴荷测量应按GB/T 12674-1990中5.2.1的规定进行;
j)整机总质量测量应按图3所示执行;
a)第一次质量测量 犫)第二次质量测量
标引序号说明:
1--流动式混凝土泵;
2--称重平台;
3--前进行驶方向。
图3流动式混凝土泵质量测量示意图
9
库七七 www.kqqw.com 标准下载
犌犅/犜26409—2022
总质量应按式(1)进行计算:
犌0 = 0 2 0 -(犌1 - 65 ×狀) ………………………(1)
式中:
G。 ——流动式混凝土泵总质量,单位为千克(kg);
犌/。、Gz -—从不同方向进入称重平台测得的质量,单位为千克(kg);
犌1 —-驾驶员实际质量,单位为千克(kg);
狀 ——驾驶室准乘人员数量。
k)以上测量结果记入表B.3、表B.4中。
5.3.1.2专用结构几何参数的测量要求如下。
a)上料高度测量应按图4所示执行,测试结果记入表B.1中。
标引符号说明:
犎]——上料高度,单位为毫米(mm)o
a橡胶挡板。
图4上料高度示意
b)最大布料高度测量按图5所示执行,计算方法见式(2),测量结果记入表B.5中。
犎B =犎B1 +犚B1 …………………………(2)
式中:
HB 最大布料高度,单位为米(m);
犎bi——第一节臂根部较孔中心到地面的垂直高度,单位为米(m);
犚bi——第一节臂根部较孔中心到末端软管中心的距离,单位为米(m)o
图5最大布料高度
C)支腿跨距测量按图1所示进行,测量结果记人表B.6中。
5.3.2作业噪声
作业噪声测量应按GB/T 13333的规定进行,测量结果录入表B.7中。
5.3.3 电气系统测试
5.3.3.1测试准备(或状态)
发动机启动,进入作业状态,变速杆处于正确档位。
10
库七七 www.kqqw.com 标准下载
犌犅/犜26409—2022
5.3.3.2急停功能测试
按下急停开关,检测所有动作;释放急停开关,检测所有动作。结果录入B.8中。
5.3.3.3回转限位功能测试
操作臂架进行回转,左右回转限位开关分别动作后,检测回转限制动作的有效性。
5.3.3.4大臂下限位功能测试
操作大臂收回,下限位开关动作后,检测大臂限制动作有效性。
5.3.3.5支腿/臂架动作互锁测试
测试按下述要求进行:
a)选择支腿操作状态,按动臂架动作按钮,臂架应无动作;
b)选择臂架操作状态,按动支腿动作按钮,支腿应无动作。
5.3.4液压系统测试
5.3.4.1液压油温升试验
在5.2.4.1规定的泵送单元加载试验的工况下,定时测量液压油温度,并绘制温升曲线,测量记录表 见表B.9。
5.3.4.2密封性能试验
支腿支承在规定位置,布料臂全展开并呈水平,按照5.2.4.2 b)的规定分配试验载荷。布料臂在 1.25倍工作载荷作用下,分别测量垂直支腿油缸和臂架油缸活塞杆的回缩量:
a)支腿支承力为最大时,布料臂停稳,发动机熄火后,将装有千分表的V型磁力表座吸附在被测 油缸活塞杆上,千分表测头顶在缸筒端面上,停留15 min,记录其回缩量;
b)取3次试验结果的平均值作为活塞杆的回缩量(或臂架末端的下沉量)。
5.3.4.3渗漏检查
加载试验或可靠性试验过程中(或试验结束后),进行液压系统渗漏检查。
检查方法:固定结合部位手摸无油腻,运动结合部位目测无油迹或流痕为不渗。整个试验过程中,渗 出油迹面积不超过200 cm2或每15 min内不滴一滴油为不滴,否则判为滴。检测结果录入表B.10中。
5.3.4.4实际输送量测试
流动式混凝土泵实际混凝土输送量的测试方法和要求如下。
a)流动式混凝士泵每小时实际混凝士输送量按式(3)计算:
犙a=ρ犌×狋×60 ……………………………(3)
式中:
Qa —— 实际输送方量,单位为立方米每时(m3/h);
G——混凝土质量,单位为千克(kg);
P——混凝土密度,单位为千克每立方米(kg/m3);
狋...泵送时间,单位为分(min)。
11
库七七 www.kqqw.com 标准下载
犌犅/犜26409—2022
犪)车载式混凝土泵
犫)车载式混凝土布料泵
标引序号说明:
1--车载式混凝土泵;
2——搅拌装置;
3——称重装置;
4——管路输送系统;
5——车载式混凝士布料泵。
图6实际输送测试系统
b)根据图6所示,车载式混凝土泵管道输送系统见图6 a),一端与泵送产品的出料口连接,一端 位于称量装置称料斗的上方,水平距离为52.5 m,垂直高度7 m,输送管应符合JB/T 11187的 规定,内径为125 mm,输送管路明细见表5。
表5输送管路明细
|
类型 |
公称内径 mm |
连接类型 |
规格 mm |
数量 |
|
直管 |
125 |
A型 |
3 000(长) |
10 |
|
直管 |
125 |
A型 |
2 000(长) |
8 |
|
直管 |
125 |
A型 |
1 000(长) |
6 |
|
90。弯管 |
125 |
A型 |
R500(半径) |
10 |
|
锥管 |
125 |
150A-125A |
1 000(长) |
1 |
|
注:连接类型根据测试样机出料口类型确定。 | ||||
C)泵送混凝土坍落度为150 mm〜200 mm,将90。输送弯管接入样机出口端,使弯管出口平面水 平放置。启动样机,待样机工作正常后,用抹刀抹平出口处的混凝土,将已知重量的容器置于 输送管下部,每次承接3〜5次泵送的混凝土,然后称量容器内混凝土质量,将每行程混凝土质 量除该混凝土密度,按式(1)即可求得每次行程泵送混凝土的体积。重复测量3次,测量结果
12
库七七 www.kqqw.com 标准下载
录入表B.llo
犌犅/犜26409—2022
5.3.4.5泵送效率测试
流动式混凝土泵的泵送效率按式(4)计算: 入=I^ ×lOO% .................................( 4 )
式中:
η —泵送效率;
Qa ——出口测得的实际混凝士输送方量,单位为立方米每时(m3/h);
I th——理论混凝土输送方量,单位为立方米每时(rn3/h) o
泵送效率测试重复3次,计算结果录入表B.llo
5.3.4.6泵送压力测试
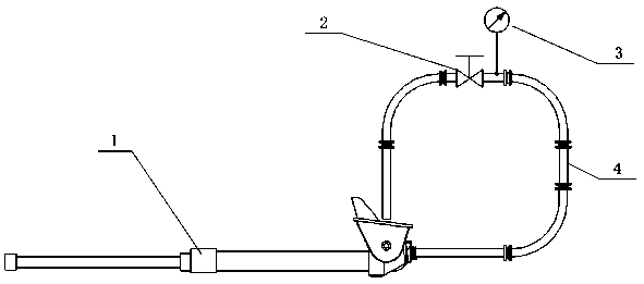
5.3.4.6.1针对测试设备的要求:
a)采用的压力测试设备精度为±0∙2 MPa;
b)使用插装溢流旋塞抵抗泵的最大输送压力。
5.3.4.6.2测试前准备:
a)调试完成后,泵送单元可以正常运转;
b)环境温度为0℃〜40℃;
C)压力测试系统装配好后如图7所示;
d)确保混凝土泵的动力源能提供最大功率;
e)开始泵送时,在料斗及输送系统里面加满水;
f)通过混凝土输送系统的循环水排除输送系统里面的空气。
标引序号说明:
l--混凝土泵;
2——插装溢流旋塞;
3 压力表;
4 管路输送系统。
图7压力测试系统示意图
5.3.4.6.3测试流程:
a)打开溢流旋塞,开始泵送测试;
b)调整关闭溢流旋塞直至液压系统即将溢流,此时通过溢流旋塞的水压不应再升高;
c)调整动力系统转速或泵送输出设置提升水压;
d)重复3次试验,记录最大水压,录人表B.l2中。
13
库七七 www.kqqw.com 标准下载
犌犅/犜26409—2022
5.3.5机动车强制性检测项目和定型试验检测项目的检测
机动车强制性检测项目的试验方法按相关标准的规定;定型试验检测项目的试验方法按QC/T 252 的规定。
5.3.6臂架和支腿运行性能
5.3.6.1臂架运行性能
臂架运行性能的测定方法应符合4.7.6规定,测试项目如下:
a)布料臂的某节臂工作时,臂架末端举升或放低的速度;
b)布料臂的所有臂架同时工作时,臂架末端的线速度;
C)布料臂水平回转运动时,其末端的水平运动速度;
d)测试结果录入表B.5中。
5.3.6.2支腿运行性能
支腿运行性能的测定方法应符合4.7.7规定,测量项目如下:
a)支腿伸缩或摆动速度;
b)支腿油缸垂直运动速度;
c)测试结果录入表B.6中。
5.3.7结构应力测试
5.3.7.1测试工况及载荷
臂杆、转台、支腿和底架的应力测试试验载荷为自重载荷的0.2倍和工作载荷的1.3倍之和。试验 载荷的分配原则按5.2.4.2 b)的规定。支腿支承在规定位置,布料臂全展开并呈水平。布料臂处于由计 算确定的结构出现最大应力的位置。
5.3.7.2测试点及贴片形式
5.3.7.2.1在结构受力分析的基础上,确定危险应力区,并对各危险应力区进行测试。危险应力区可分 为以下三种类型:
a)均匀应力区,该区应力达到屈服点时,会引起结构件的永久变形;
b)应力集中区,如孔眼、锐角、焊缝、较点等处产生的集中应力,该区内屈服应力的出现不会引起 结构件整体的永久变形,但过大的应力集中会影响结构件的疲劳寿命;
c)弹性屈曲区,从应力看,该区的最大应力并没有达到材料的屈服点,但可能因发生屈曲而导致 结构件的破坏。
5.3.7.2.2在应力集中区内,宜尽可能将应变片贴在高应力点上。
5.3.7.2.3结构承受平面应力状态,如果预先能用某些方法(例如分析法、脆性涂料法)确定主应力方 向,则可沿主应变方向贴上互相垂直的两个应变片。如果主应变的方向无法确定,则应贴上由3个应变 片组成的应变花。
5.3.7.2.4根据选择好的测试部位和确定的测试点,绘制测点分布图,对贴片统一编号,并指明应变片 或应变花的贴片位置。
5.3.7.3试验程序
5.3.7.3.1在结构的零应力状态时,测量消除自重载荷影响的应变片基准读数(co),如果无法消除自重
14
库七七 www.kqqw.com 标准下载
犌犅/犜26409—2022
载荷影响,可不测零应力状态,其数据处理方法见5.3.7.4.1的规定。
5.3.7.3.2在空载应力状态时,将流动式混凝土泵调整到5.3.7.1所规定的测试工况,测量应变片在自 重载荷作用下的读数ε1。
5.3.7.3.3在负载应力状态时,流动式混凝士泵按5.2.4.2 b规定的载荷和工况进行加载,测量应变片在 负载作用下的读数ε2。
5.3.7.3.4卸载至空载应力状态,如果某测点的应变片读数与原数据ει偏差超过±0.03%/E,则认为该 测点数据无效,应查明原因,按原测试程序重新测量,直至合格。
注1:展为材料屈服极限,单位为兆帕(MPa)。
注2:犈为弹性模量,单位为兆帕(MPa)。
5.3.7.3.5每项测试重复3次,比较测试数据有无重大差别。如果差别较大应查明原因,并重新测试。
5.3.7.3.6观察结构件是否有永久变形或其他损坏。如果出现永久变形或其他损坏,应终止试验,进行 全面检查和分析。
5.3.7.3.7测试数据观察到的现象和说明应随时记录。
5.3.7.4应力测试的数据处理和安全判别方法
5.3.7.4.1测试状态的应力计算:
空载应力(。1)按式(5)计算:
σ1 =犈(ε1 -ε0) ……………………………(5)
负载应力(。2)按式(6)计算:
σ2 =犈(ε2 -ε1) ……………………………(6)
式中:
σι—— 空载应力,单位为兆帕(MPa)(如果零应力状态无法调出,则以测试点的自重应力计算值代 替。1);
。2—— 负载应力,单位为兆帕(MPa);
ε0 —— 零应力状态应变;
ε1—— 空载应力状态应变;
ε2—— 负载应力状态应变。
5.3.7.4.2最大单向应力一般由空载应力与负载应力的代数和确定,计算方法见式(7):
σ max =σ1 +σ2
(7)
式中:
σ max
注:"1
5.3 .7.4.3
式为:
a)
——最大单向应力,单位为兆帕(MPa)。
和"2各带自己的正负号。
对于承受二向应力的弹、塑性材料,按变形能(第四)强度理论计算,其当量单向应力计算公
当主应力(变)的方向已知,并测得了两个方向的主应力时,当量单向应力按式(8)计算:
σ′ =槡σ狓2 -σ狓σ狔+σ2狔………………………………
(8)
b)
式中:
σ'——当量单向应力,单位为兆帕(MPa);
σ狓
σ狔
最大主应力,单位为兆帕(MPa); 最小主应力,单位为兆帕(MPa)。
主应力可由主应变求得,计算方法见式(9)、式(10):
犈(ε狓+ με狔)
σ狓
(1 - μ2)
(9)
15
库七七 www.kqqw.com 标准下载
犌犅/犜26409—2022
σ狔
犈(ε狔+ με狔) = (1 - μ2)
(10)
式中:
G狓 最大主应变;
ɛ^ 最小主应变;
μ 泊松比。
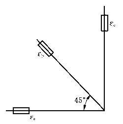
C)当主应力(变)的方向未知,并用应变花测得3个方向的线应变时,当量单向应力按式(11) 计算:
σ′ =犈εa +εc + 槡2 (εa -ε b)2 +(εb -εc)2
2 1 - μ 1 +μ槡
式中:
Ga ..a应变片的应变;
(11)
Sb ——b应变片的应变;
GC ——C应变片的应变。
注:应变花的贴片方式见图8。
图8应变花贴片方式
5.3.7.4.4根据5.2.4.2 b)规定的测试工况及试验载荷进行测试,测得结构的最大应力,应满足下列分 类给出的安全判据,各危险应力区的安全系数见表6。
表6结构强度安全系数
|
测试载荷 |
安全系数最小值狀犻) | ||
|
均匀应力区(I ) |
应力集中区(U ) |
弹性屈曲区(山) | |
|
工作载荷 |
1.5 |
1.2 |
1.5 |
|
自重载荷的0∙2倍和工作载荷的1.3倍之和 |
1.2 |
1.05 |
1.3 |
5.3.7.4.5各危险应力区的安全系数计算。
a) I ——均匀应力区。安全判定按式(12)计算:
σs σs
^ I ≥ —或丁 .................................( 12 )
σr σ
式中:
狀I——均匀应力区安全系数;
σs ——材料屈服极限,单位为兆帕(MPa);
* —-根据5.2.4.2 b)规定的测试工况和试验载荷进行测试时,结构中被测部位测出的最大
16
库七七 www.kqqw.com 标准下载
犌犅/犜26409—2022
应力(对于单向应力,%相当于。M),单位为兆帕(MPa)。
b) H-—应力集中区。安全判定按式(13)计算:
σs σs
狀 " Ξ≥ 一或一 ..............................(13 )
σr σ
式中:
"H——应力集中区安全系数。
C)山——弹性屈曲区,安全系数按式(14)计算:
在某些区内,当发生元件的屈曲及过大的变形,会引起结构件破坏,这属于弹性屈曲区。
对于受压元件,按式(14)〜式(16)计算评定测试结果:
狀1
σa∕σcr + (σrm -σra) ∕σsJ
………………(14)
式中:
""—弹性屈曲区安全系数;
σra —— 由一个截面上若干个测点的应变读数确定的平均应力,单位为兆帕(MPa);
*m——受压杆被测截面上最大的计算压应力,单位为兆帕(MPa);
σcr —— 受压杆发生屈曲的临界应力,单位为兆帕(MPa)。
。r按式(15)和式(16)计算:
1)当欧拉临界应力低于比例极限时,
-- "犈 7 .
σcr =(犓犔/狉)2 ≤σp
15)
2)
当欧拉临界应力高于比例极限时,
σ
cr
=σs
σp(σs -σp)(犓犔/狉)2
L n犈
>σp
16)
式中:
K --长度折算系数,见GB/T 3811;
L——受压杆件长度,单位为毫米(mm);
狉..截面惯性半径,单位为毫米(mm);
σp——材料的比例极限,单位为兆帕(MPa)。
d) N---板的局部屈曲区:
对板可能的局部屈曲部位,一般要求对所有的试验工况(包括超载试验工况)N类区域的应变 片读数,都应能回到空载时的读数。
5.3.8试验报告
5.3.8.1试验记录表见表B.13和表B.14。按各表给定的项目进行记录和数据整理,对非正常现象,应 有实况记录并做出分析意见。如有塑性变形或局部损坏,应对流动式混凝土泵的结构进行全面检查,找 出损坏的主要原因,采取补救措施后再测量,并在报告中予以说明。
5.3.8.2对试验中发现的个别部位的合应力超出规定值时,虽然没有发生破坏或非正常现象,报告中也 应特别指出,并提出分析意见,给出结构是否可正常工作的明确结论。
5.4 可靠性试验
5.4.1试验要求
5.4.1.1所有项目的测试和试验应在同一台样机上进行。
5.4.1.2可靠性试验可以由生产厂家或委托有资质用户进行泵送混凝士或模拟流体物质作业试验。
17
库七七 www.kqqw.com 标准下载
犌犅/犜26409—2022
5.4.1.3可靠性试验的试验工况和循环内容见表7。
表7作业可靠性试验工况和循环内容
|
循环名称 |
试验工况 |
一次循环内容 |
循环次数 |
试验时间 |
|
支腿收放 |
a)样车呈行驶停止状态; b)输送管内无混凝土 |
活动支腿水平油缸依次伸出—— 垂直支腿油缸支承地面--垂直 支腿油缸缩回--活动支腿水平 油缸依次收回 |
50 |
— |
|
布料臂收放 |
a)支腿按规定支承在地面上; b)卸下输送管前端软管,封住硬 管出料口 ; C)输送管内充满试验混凝土或 模拟混凝土重量 |
布料臂全展开至水平——回转 90。,起臂、折臂至第一节臂仰角 70°——回转至180°,布料臂全展开 放至水平——回转至270°,起臂, 折臂至第一节臂仰角70°--回转 至360°,布料臂放置臂架支架 |
100 |
— |
|
泵送混凝土或 模拟流体物质a |
a)理论输送量; b)支腿按规定支承在地面上; c)输送软管出料口直接对准料斗; d)试验混凝土 |
a)按理论输送量的0.5倍连续泵 送2 h; b)按理论输送量的0.7倍连续泵 送3 h; c)按理论输送量连续泵送2 h; d)清洗输送管及泵送机构 |
15 |
150h |
|
a允许按a)、b)、C)的循环内容进行15次循环试验,然后再进行清洗作业。 | ||||
5.4.1.4试验期间的操作与保养应符合以下要求:
a)操作人员应严格执行产品使用说明书规定的操作规程,平稳操作,保证安全;
b)按产品使用说明书的要求完成每日(班)的正常保养;
C)试验期间不允许带故障作业;
d)样车每天作业时间不少于8h。
5.4.1.5记录表见表B.15〜表B.17o
5.4.1.6可靠性试验后,按6.1规定的出厂检验内容复测性能。
5.4.2试验结论
5.4.2.1试验期间,样车若出现致命故障,本次试验应终止,不计算可靠性指标。
5.4.2.2作业率按式(17)计算:
犃=犜1 ×100% ………………………………(17)
犜0
式中:
A——作业率;
犜。--规定的总试验时间,单位为时(h),T。 = Ti+Tz=500h;
犜1——总作业时间,单位为时(h);
Tz ——总故障排除时间,单位为时(h)。
5.4.2.3首次故障前工作时间(T)为累计的当量故障数(犖)等于或刚超过“1”时,所经历的试验时间。 当样车按规定完成可靠性试验后,未发生故障或累计的当量故障数小于“1”时,则首次故障前工作时间 (T)用公式(1用表示:
18
库七七 www.kqqw.com 标准下载
犌犅/犜26409—2022
犜=犜0 ……………………………(18)
5.4.2.4平均无故障作业时间(73)按式(19)计算:
犜3 =犜犖1 ……………………………(19)
式中:
N——试验样车在规定的总试验时间内出现的当量故障数,其值按式(20)计算:
3
犖= ∑犚犻犛犻 ………………………………(20)
式中:
犚犻——试验期间,样机出现第犻类故障次数量;
s犻——第犻类故障的加权系数。
注:当n≤1时,令n=1。
5.4.3故障分类及故障模式
5.4.3.1流动式混凝土泵的故障分类应符合QC/T34的规定,故障分类及加权系数见表8。
表8故障分类及加权系数
|
类别 |
故障分类 |
加权系数 |
|
0 |
致命故障 |
∞ |
|
1 |
严重故障 |
犛1 =3.0 |
|
2 |
一般故障 |
犛2 =1.0 |
|
3 |
轻度故障 |
犛3 =0.1 |
5.4.3.2流动式混凝士泵的故障模式由三部分组成:
a)专用功能零部件的故障模式及危害评估应遵循附录C表C.1的规定;
b)混凝土泵的故障模式及分类按GB/T 13333的规定;
C)汽车底盘的故障模式及分类按QC/T 34的规定。
5.4.3.3故障判别原则:
a)按定义判断样车本质故障类别时,各类故障是互不相容的,即对某一本质故障只判定为四类本 质故障中的一类;
b)本质故障判别,以其造成的现场后果划分故障类别;
c)同时发生的相关故障作为一次故障,同时发生的不相关的故障分别计数;
d)若发生表C.1以外的故障,可类比表中相似故障特征划定故障类别。
6检验规则
6.1出厂检验
流动式混凝土泵应经制造厂质量检验部门检验合格后方可出厂。产品出厂时,应附有质量检验部 门签发的产品合格证,出厂检验项目见表9。
19
库七七 www.kqqw.com 标准下载
犌犅/犜26409—2022
表9出厂检验和型式检验项目
|
序号 |
类别 |
检验项目 |
技术要求 |
试验方法 |
出厂检验 |
型式检验 |
记录表格 | |
|
1 |
一般性 检查 |
外观尺寸 |
4.1、4.2 |
5.2.1 |
√ |
√ |
表B∙l | |
|
2 |
外观质量 |
√ |
√ | |||||
|
3 |
安全设计及安全标识 |
4.7 |
√ |
√ | ||||
|
4 |
整机 要求 |
参数测量 |
整机长、宽、高 |
4.2.4 |
5.3.1.1 |
— |
√ |
表 B.3、 表B.4 |
|
5 |
轴距 |
4.2 |
— |
√ | ||||
|
6 |
前轮距、后轮距 |
— |
√ | |||||
|
7 |
前伸、后伸 |
— |
√ | |||||
|
8 |
前悬、后悬 |
— |
√ | |||||
|
9 |
接近角、离去角 |
4.2.1 |
— |
√ | ||||
|
10 |
爬坡度 |
— |
√ | |||||
|
11 |
侧倾稳定角 |
— |
√ | |||||
|
12 |
整机总质量 |
4.2.4 |
— |
√ | ||||
|
13 |
轴荷 |
— |
√ | |||||
|
14 |
上料高度 |
4.2.2 |
5.3.1.2 |
— |
√ | |||
|
15 |
最大布料高度 |
4.2 |
— |
√ | ||||
|
16 |
支腿跨距 |
4.2.5 |
√ |
√ | ||||
|
17 |
作业稳定性 |
4.2.6 |
5.2.4.1 |
— |
√ |
表B.2 | ||
|
18 |
活动支腿抬起量 |
4.2.6 |
5.2.4.1 |
— |
√ | |||
|
19 |
机械 结构 |
臂架运行 性能 |
某节臂动作时臂架末端 线速度 |
4.7.6 |
5.3.6.1 |
√ |
√ |
表B.5 |
|
20 |
所有臂动作时臂架末端 线速度 |
√ |
√ | |||||
|
21 |
水平回转动作时臂架末 端线速度 |
√ |
√ | |||||
|
22 |
支腿运行 性能 |
支腿伸缩或摆动速度 |
4.7.7 |
5.3.6.2 |
√ |
√ |
表B.6 | |
|
23 |
支腿油缸垂直运动速度 |
√ |
√ | |||||
|
24 |
结构应力 |
结构件强度 |
4.3.14、 4.3.15 |
5.3.7 |
— |
√ |
表 B.13、 表 B.14 | |
|
25 |
电气系统 |
急停功能 |
4.6 |
5.3.3.2 |
√ |
√ |
表BK | |
|
26 |
回转限位 |
5.3.3.3 |
√ |
√ | ||||
|
27 |
电气系统 |
大臂下限位功能 |
符合产品 功能要求 |
5.3.3.4 |
√ |
√ |
表B.8 | |
|
28 |
支腿/臂架动作互锁 |
5.3.3.5 |
√ |
√ | ||||
|
29 |
泵送单元 |
实际泵送方量 |
4.4 |
5.3.4.4 |
— |
√ |
表 B.11 | |
|
30 |
泵送效率 |
符合产品 规定 |
5.3.4.5 |
— |
√ | |||
|
31 |
泵送压力 |
5.3.4.6 |
— |
√ |
表 B.12 | |||
20
库七七 www.kqqw.com 标准下载
表9出厂检验和型式检验项目(续)
犌犅/犜26409—2022
|
序号 |
类别 |
检验项目 |
技术要求 |
试验方法 |
出厂检验 |
型式检验 |
记录表格 | |
|
32 |
液压系统 |
液压油温升性能 |
4.5.5 |
5.3.4.1 |
— |
√ |
表B.9 | |
|
33 |
液压系统的渗漏油检查 |
4.5.7 |
5.3.4.3 |
√ |
√ |
表 B.1O | ||
|
34 |
可靠性 |
首次故障前工作时间 |
4.2.7 |
5.4.2.3 |
— |
√ |
表 B.15、 表B.16及 表 B.17 | |
|
35 |
平均无故障工作时间 |
5.4.2.4 |
— |
√ | ||||
|
36 |
安全 环保 |
机外辐射噪声 |
4.7.5 |
5.3.2 |
— |
√ |
表B.7 | |
|
37 |
安全标志、操作标志、警示标志及防 护装置 |
4.7.3、 4.7.4 |
5.2.1 |
√ |
√ |
表B.1 | ||
|
38 |
紧急停止系统 |
4.7.8 |
5.3.3.2 |
√ |
√ |
表B.8 | ||
注:"√ ”为必检项目,"—”为免检项目。
6.2 型式检验
6.2.1进行型式检验的样机应是出厂检验的合格产品。
6.2.2凡属下列情况之一,应进行型式检验。
a)新产品或老产品转厂生产的试制定型时;
b)产品停产三年后恢复生产时;
c)正常生产,产量累计达IOOO辆时;
d)正式生产后,如工艺和材料有较大改变,可能影响产品性能时;
c)出厂检验与型式检验有重大差异时;
f)国家质量监督机构提出进行型式检验的要求时。
6.2.3型式检验时,如果属6.2.2中a)、b)、f)情况,应按表9规定的内容;如果属6.2.2中C)的情况,应 进行专用功能试验;如果属6.2.2中d)、e)两种情况,可仅对受影响项目进行检验。
6.3抽样
进行型式试验的样机采取随机抽样的方式抽取一台,经抽样确定的样机应做好标记并封存。
6.4判定规则
6.4.1出厂检验项目全部达到合格要求,判定为合格;否则判定为不合格。
6.4.2型式检验项目任何一项未达到合格要求,则判定为不合格。
6.4.3型式检验项目全部达到合格要求,且在第4章的其余各条款未达到要求的不超过3项,判定为合 格,否则亦判定为不合格。
7产品标牌
7.1流动式混凝土泵产品标牌应符合GB/T 18411的规定。
7.2流动式混凝士泵应有永久性易读的信息标记,标记包括以下内容:
a)制造商的名称和联系方式;
21
库七七 www.kqqw.com 标准下载
犌犅/犜26409—2022
b)制造年份;
C)序列号或标识号;
d)系列或类型;
e)液压系统额定压力,单位为兆帕(MPa);
f)最大输送压力,单位为兆帕(MPa);
g)最大输送方量,单位立方米每时(m〃h);
h)电气设备或发动机的额定净功率及发动机对应转速(电压、频率、输出等); i)末端软管的最大可容许长度,单位为米(m)。
8使用说明书
流动式混凝土泵使用说明书中至少应包含以下内容:
a)布料作业范围(车载式混凝士布料泵)、工作条件、安全规程、安全标识的说明; b)操作及使用说明;
c)维护保养。
9随机文件、包装、运输、贮存
9.1随机文件
随机文件应包括:
a)装箱单;
b)产品合格证和底盘相关文件;
c)使用说明书;
d)零部件维修图册;
e)备件清单;
f)随机工具清单。
9.2包装
9.2.1产品整机出厂可裸装,外露切削加工表面应做防腐、防锈处理。
9.2.2随机工具、备件、附件和随机文件用备件应用包装箱包装,且应有防雨防潮措施。
9.3运输
在公路运输时,流动式混凝土泵以自行驶的方式进行运输。流动式混凝土泵在铁路或水路运输时, 应以自行驶方式(或拖曳方式)上下车船,若需用吊装方式装卸时,应用专用吊具装卸,防止损伤产品。
9.4贮存
流动式混凝土泵长时期停放时,应将冷却液和燃油放干净,切断电源,锁闭车门、窗,放置于通风、防 潮及有消防设施的场所,并按使用说明书的规定进行保养。
22
库七七 www.kqqw.com 标准下载
犌犅/犜26409—2022
附录A (规范性) 车载式混凝土布料泵结构件强度计算规范和作业稳定性计算
A.1结构件强度计算
A.1.1计算方法
A.1.1.1本附录采用许应力法计算,金属结构件应进行强度、稳定性和刚性计算,其计算方法应按 GB/T 3811的规定。
A.1.1.2疲劳强度计算方法应按GB/T 3811的规定。结构工作级别根据实际的结构件应力状态和应 力循环总次数参照GB/T 3811的规定确定。一个构件的应力循环总数等于工作载荷循环总次数;一次 工作载荷循环为推动混凝土在输送管内移动一次所需的动作。
结构件的最大应力SgX)和最小应力(。.“),为基本载荷所确定的同一计算位置的计算点上的最大 应力的绝对值和最小应力的绝对值。
A.1.2计算载荷
A.1.2.1作用在结构件上的载荷分为基本载荷和附加载荷。
A.1.2.2基本载荷是始终和经常作用在流动式混凝士泵结构上的载荷,包括自重载荷、工作载荷和惯 性载荷。
A.1.2.3自重载荷是指流动式混凝土泵上固有的所有固定的和移动的部件的重力,包括允许配装的混 凝土输送管的重力。鉴于动态负荷的影响,在进行结构件强度计算时,还应在自重载荷的数值上乘以 1.2的动载系数。
A.1.2.4工作载荷是指输送管中被泵送物料的最大重力。混凝土的密度按2 400 kg/m3计算。进行结 构件强度计算时,工作载荷应乘以1.3的冲击系数。
A.1.2.5惯性载荷为布料臂作业时加速运动或减速运动所产生的最大冲击力。
A.1.2.6附加载荷是流动式混凝土泵在正常工作状态下,结构件所承受的非经常性作用的载荷,包括 侧向载荷、风载荷和坡度载荷。
A.1.2.7侧向载荷计算时,侧向力为卸料时施加于出料口的手动拉力,设定为300 N。侧向力不应与惯 性力的方向相同。
A.1.2.8布料臂在有风的工作状态时,风载荷为沿任意方向的水平力,计算风压为250 N/m2。
A.1.2.9坡度载荷为流动式混凝土泵布料作业时由于整机倾斜而引起的自重载荷和工作载荷所产生 的附加载荷,整机倾斜的最大计算角度为3。。
A.2作业稳定性
A.2.1稳定性判定原则
流动式混凝土泵在作业状态时满足下述条件则认为是稳定的:当自重载荷、工作载荷、附加载荷和 1.1倍的惯性力共同作用于最不利的倾覆线时,其力矩之和大于零。计算时,起稳定作用的力矩为正 值,起倾覆作用的力矩为负值。
23
库七七 www.kqqw.com 标准下载
犌犅/犜26409—2022
A.2.2倾覆线的确定
流动式混凝土泵在作业状态时,倾覆线为支脚接触地面的中心连线,见图A.1。
A.2.3计算论证稳定性
A.2.3.1自重载荷
自重载荷包括流动式混凝士泵工作期间所有的静止和运动部件的重量。
A.2.3.2工作载荷
工作载荷是指所泵送混凝土的最大重量。混凝土的密度值按2 400 kg/m3计算。
A.2.3.3附加载荷
A.2.3.3.1附加载荷包括侧向力、风载荷和坡度载荷。
A.2.3.3.2侧向力按300 N计算。
A.2.3.3.3风载荷是风作用在臂架上而产生的力。计算风压为250 N/m2。
A.2.3.3.4坡度载荷按整机倾斜角度3。计算。
A.2.3.4重力载荷
重力载荷是上述自重载荷和工作载荷总和的1.1倍。
A.2.4加载试验论证稳定性
A.2.4.1试验条件
加载试验时,臂架应带有全部输送管路系统和与混凝土重量相当的载荷在整个回转范围内进行回 转。试验应当在水平、平整的硬质地面上进行。在测试过程中车辆不应倾翻,并且车辆至少有3点稳定 的支撑。
A.2.4.2测试载荷
A.2.4.2.1测试载荷的计算应是工作载荷并乘以安全系数1.25。
A.2.4.2.2工作载荷是指所泵送混凝土的最大重量。计算混凝土的密度参考值为2 400 kg/m3。
A.2.4.3测试载荷的分配
布料臂臂架由几节臂展开或折叠而成,应当考虑每个部件所承受载荷的区别,应将载荷加到臂上。
24
库七七 www.kqqw.com 标准下载
犌犅/犜26409—2022
标引符号说明:
B..布料臂;
C——整车重心轨迹圆;
F--前倾翻线;
S--侧倾翻线;
R——后倾翻线。
图A∙1倾覆线的确定
25
库七七 www.kqqw.com 标准下载
犌犅/犜26409—2022
附录B
(资料性)
流动式混凝土泵测试记录表
流动式混凝土泵测试记录表见表B.1〜表B.17。
表B.1 一般性检测记录表
|
流动式混凝土泵型号____________ 制造厂_____________________ |
车辆识别代号(VIN)_________________ 出厂日期_____________________ | |||
|
检测日期_____________________ |
气 候____________________ | |||
|
检测地点__________________ |
检测人员__________________ | |||
|
序号 |
项 目 |
单位 |
理论值 |
测量值 |
|
1 |
理论输送量 |
m3/h | ||
|
2 |
泵送混凝土最大压力 |
MPa | ||
|
3 |
底盘型号 |
— | ||
|
4 |
主油泵型号 |
— | ||
|
5 |
混凝土缸(内径×行程) | |||
|
6 |
外形尺寸(长×宽×高) |
mm | ||
|
7 |
出口内径 |
mm | ||
|
8 |
各类安全标识 | |||
|
9 |
驾驶室内饰件外观及功能 | |||
|
10 |
驾驶室外饰件外观及功能 | |||
|
11 |
结构件外观及功能满足情况 | |||
|
12 |
安全防护措施 | |||
|
13 |
焊缝质量 | |||
|
14 |
外观涂层质量 | |||
|
15 |
标牌 | |||
|
16 |
其他 | |||
26
库七七 www.kqqw.com 标准下载
表B.2作业稳定性试验记录表
犌犅/犜26409—2022
|
流动式混凝土泵型号_______ |
______ 车辆识别代号(VlN)_________________ |
|
制造厂________________ |
_____ 出厂日期_____________________ |
|
臂架长______________ |
_____ 质心坐标犡____ 犢____ 犣____ |
|
风速________________ |
_____ 记录人员__________________ |
|
试验人员_____________ |
_____ 试验日期___________________ |
|
序号 |
支腿抬起量/mm |
支腿最大支承压力/MPa |
支腿接触地面情况 | ||||||
|
左前 支腿 |
左后 支腿 |
右前 支腿 |
右后 支腿 |
左前 支腿 |
左后 支腿 |
右前 支腿 |
右后 支腿 | ||
27
库七七 www.kqqw.com 标准下载
犌犅/犜26409—2022
表B.3参数测量记录表
|
流动式混凝土泵型号______________ 车辆识别代号(VlN)______________ 制造厂______________________ 出厂日期_____________________ 测量日期____________________ 气候_____________________ 测量地点__________________ 测量人员__________________ | ||||
|
项 目 |
设计值 |
测量值 |
备 注 | |
|
车长/mm | ||||
|
车宽/mm | ||||
|
车高/mm | ||||
|
轴距/mm |
第一、二轴 | |||
|
第二、三轴 | ||||
|
第三、四轴 | ||||
|
轮距/mm |
前轮 | |||
|
后轮 | ||||
|
前悬/mm | ||||
|
后悬/mm | ||||
|
前伸/mm | ||||
|
后伸/mm | ||||
|
接近角/(°) | ||||
|
离去角/(°) | ||||
|
爬坡度/% | ||||
|
上料高度/mm | ||||
|
最大布料高度/mm | ||||
|
侧倾稳定角/(°) | ||||
|
支腿跨距/mm |
左、右侧支腿跨距 | |||
|
前支腿跨距 | ||||
|
后支腿跨距 | ||||
|
质量参数/kg |
总质量 | |||
|
一轴载荷 | ||||
|
一轴载荷 | ||||
|
一轴载荷 | ||||
28
库七七 www.kqqw.com 标准下载
表B.4混凝土泵总质量测试记录表
犌犅/犜26409—2022
|
参数 |
测量值/kg |
参数/kg |
计算值/kg |
备注 |
|
犌′0 |
犌0 | |||
|
犌″0 | ||||
|
犌1 |
表B.5臂架运行性能
|
流动式混凝土泵型号_______ |
______ 车辆识别代号(VIN)_________________ |
|
制造厂________________ |
______ 测j试地点_________________________ |
|
测试人员______________ |
_____ 测试日期___________________ |
|
测试项目 |
测试数据 |
单位 |
备注 | ||
|
最大回转 |
mm |
犚B | |||
|
最大布料高度 |
mm |
犎B | |||
|
布料臂长度 |
第1节臂 |
mm |
犔C1 | ||
|
第2节臂 |
mm |
犔C2 | |||
|
第3节臂 |
mm |
犔C3 | |||
|
第4节臂 |
mm |
犔C4 | |||
|
第5节臂 |
mm |
犔C5 | |||
|
第6节臂 |
mm |
犔C6 | |||
|
第7节臂 |
mm |
犔C7 | |||
|
展开角度 |
第1节臂 |
(°) |
α | ||
|
第2节臂 |
(°) |
β | |||
|
第3节臂 |
(°) |
γ | |||
|
第4节臂 |
(°) |
δ | |||
|
第5节臂 |
(°) |
ε | |||
|
第6节臂 |
(°) |
ζ | |||
|
第7节臂 |
(°) |
Ψ | |||
|
单节臂末端平均速度 |
展开 |
折叠 | |||
|
第1节臂 |
m/s |
υ B1 | |||
|
第2节臂 |
m/s |
υ B2 | |||
|
第3节臂 |
m/s |
υ B3 | |||
|
第4节臂 |
m/s |
υ B4 | |||
|
第5节臂 |
m/s |
υ B5 | |||
|
第6节臂 |
m/s |
犜B6 | |||
|
第7节臂 |
m/s |
犜B7 | |||
29
库七七 www.kqqw.com 标准下载
犌犅/犜26409—2022
表B.5臂架运行性能(续)
|
测试项目 |
测试数据 |
单位 |
备注 | ||
|
展开 |
折叠 | ||||
|
臂架最小展开/折叠时间 |
第1节臂 |
s |
犜B1 | ||
|
第2节臂 |
s |
犜B2 | |||
|
第3节臂 |
s |
犜B3 | |||
|
第4节臂 |
s |
犜B4 | |||
|
第5节臂 |
s |
犜B5 | |||
|
第6节臂 |
s |
犜B6 | |||
|
第7节臂 |
s |
犜B7 | |||
|
臂架末端最大速度 |
m/s |
υS | |||
|
最大旋转角度 |
顺时针 |
(°) |
θ | ||
|
逆时针 |
(°) | ||||
表B.6支腿运行性能
|
测试项目 |
测试数据 |
单位 |
备注 | ||
|
跨距 |
前支腿跨距 |
mm | |||
|
后支腿跨距 |
mm | ||||
|
左侧支腿跨距 |
mm | ||||
|
右侧支腿跨距 |
mm | ||||
|
最大载荷 |
左前支腿 |
N | |||
|
右前支腿 |
N | ||||
|
左后支腿 |
N | ||||
|
右后支腿 |
N | ||||
|
旋转速度 |
左前支腿 |
外摆 |
m/s | ||
|
左前支腿 |
内摆 |
m/s | |||
|
右前支腿 |
外摆 |
m/s | |||
|
右前支腿 |
内摆 |
m/s | |||
|
左后支腿 |
外摆 |
m/s | |||
|
左后支腿 |
内摆 |
m/s | |||
|
右后支腿 |
外摆 |
m/s | |||
|
右后支腿 |
内摆 |
m/s | |||
|
水平油缸速度 |
左前支腿 |
伸展 |
m/s | ||
|
左前支腿 |
收缩 |
m/s | |||
|
右前支腿 |
伸展 |
m/s | |||
|
右前支腿 |
收缩 |
m/s | |||
30
库七七 www.kqqw.com 标准下载
表B.6支腿运行性能(续)
犌犅/犜26409—2022
|
测试项目 |
测试数据 |
单位 |
备注 | ||
|
垂直油缸速度 |
左前支腿 |
伸展 |
m/s | ||
|
左前支腿 |
收缩 |
m/s | |||
|
右前支腿 |
伸展 |
m/s | |||
|
右前支腿 |
收缩 |
m/s | |||
|
左后支腿 |
伸展 |
m/s | |||
|
左后支腿 |
收缩 |
m/s | |||
|
右后支腿 |
伸展 |
m/s | |||
|
右后支腿 |
收缩 |
m/s | |||
|
左前支腿 |
伸展 |
m/s | |||
|
左前支腿 |
收缩 |
m/s | |||
|
右前支腿 |
伸展 |
m/s | |||
|
右前支腿 |
收缩 |
m/s | |||
|
液压系统压力 |
MPa | ||||
表B.7机外辐射噪声测试记录表
|
流动式混凝土泵型号______________ 车辆识别代号(VlN)______________ 制造厂______________________ 出厂日期_____________________ 测试日期___________________ 测试人员___________________ 背景噪声____________________dB( A) 背景噪声修正值_______________dB( A) 整机长度__________________m 传声点测量半径 R _____________m | ||||||
|
测量次数 |
测点UP(A)J |
测量面上平均的等效连续A声级[犔P(A)] |
声功率级(LWA) | |||
|
1 |
2 |
3 |
4 | |||
|
1 | ||||||
|
2 | ||||||
|
3 | ||||||
|
声功率级(报告值) (犔WA) | ||||||
31
库七七 www.kqqw.com 标准下载
犌犅/犜26409—2022
表B.8电气急停功能测试记录表
|
流动式混凝土泵型号______________ 车辆识别代号(VlN)______________ 制造厂______________________ 出厂日期_____________________ 测试日期___________________ 测试人员___________________ | |||||||
|
序号 |
工况 |
发动机 |
泵送 |
搅拌 |
上装电源 |
显示屏 |
其他 |
|
急停开关1 |
正常运行 | ||||||
|
按下急停 | |||||||
|
释放急停 | |||||||
|
急停开关2 |
正常运行 | ||||||
|
按下急停 | |||||||
|
释放急停 | |||||||
|
急停开关3 |
正常运行 | ||||||
|
按下急停 | |||||||
|
释放急停 | |||||||
|
急停开关4 |
正常运行 | ||||||
|
按下急停 | |||||||
|
释放急停 | |||||||
|
急停开关5 |
正常运行 | ||||||
|
按下急停 | |||||||
|
释放急停 | |||||||
表B.9液压油温升测量记录表
|
流动式混凝土泵型号______________ 车辆识别代号(VIN)______________ 制造厂______________________ 出厂日期_____________________ 环境温度___________________ 液压油初始温度________________ 测试人员___________________ 测试日期___________________ | ||||||
|
试验工况 |
一次循环内容£ |
试验相隔 时间/h |
累计工作 时间/h |
油温/℃ |
相对温升/℃ |
备注 |
|
a)泵送试验混凝土 ; b)理论输送量; C)支腿支承在规定位置; d)输送管前端软管直接 对准料斗 |
a)按0.5倍的理论输送量 连续泵送4 h; b)按0.7倍的理论输送量 连续泵送6h; c)按理论输送量连续泵送 4h; d)清洗输送管及泵送机构 | |||||
注:允许按a)、b)、C)和d)的循环内容进行15次循环试验,然后再进行清洗作业。
32
库七七 www.kqqw.com 标准下载
表B.10液压系统渗漏油检查表
犌犅/犜26409—2022
流动式混凝土泵型号 车辆识别代号(VlN)
制造厂 出厂日期
测试人员 测试日期
|
序号 |
项目 |
处数 |
渗漏部位 |
|
1 |
渗油 | ||
|
2 |
漏油 |
表B.11实际输送量测量记录表
流动式混凝土泵型号 车辆识别代号(VlN)
制U造厂 测j试地点
测试人员 测试日期
|
泵送工况 |
测试时间(Q min |
称量装置质量 kg |
混凝土 质量 (犌) kg |
理论泵 送量 (犙th) m3 |
实际泵 送量 (犙a) m3 |
泵送系 统压力 (狆) MPa |
泵送 效率 (ηv) | ||||
|
初始 |
泵送后 | ||||||||||
|
20% |
1 | ||||||||||
|
2 | |||||||||||
|
3 | |||||||||||
|
40% |
1 | ||||||||||
|
2 | |||||||||||
|
3 | |||||||||||
|
60% |
1 | ||||||||||
|
2 | |||||||||||
|
3 | |||||||||||
|
80% |
1 | ||||||||||
|
2 | |||||||||||
|
3 | |||||||||||
|
100% |
1 | ||||||||||
|
2 | |||||||||||
|
3 | |||||||||||
33
库七七 www.kqqw.com 标准下载
犌犅/犜26409—2022
表B.12泵送压力测量记录表
|
流动式混凝土泵型号______________ 车辆识别代号(VlN)______________ 制造厂_____________________ 测试地点___________________ 测试人员___________________ 测试日期___________________ | |||||
|
测试项目 |
测试数据 |
平均值 |
单位 |
备注 | |
|
泵送压力(狆D) |
第1次 |
MPa | |||
|
第2次 |
MPa | ||||
|
第3次 |
MPa | ||||
表B.13应变读数记录表
|
制造厂________________ |
______ 车辆识别代码(VlN)_________________ |
|
流动式混凝土泵型号_______ |
_____ 天气情况___________________ |
|
风力_________________ |
_____ 温度______________________ |
|
被测结构_____________ |
____ 作业状态__________________ |
|
布料臂位置 |
布料臂长度 |
|
测试日期______________________ | |
|
测试工况 |
载荷 | |||||
|
测点 |
ε0 |
ε1 |
ε1-ε0 |
ε2 |
ε2-ε1 |
空载复查■ |
|
记录说明: 试验主持人: 记录页: | ||||||
34
库七七 www.kqqw.com 标准下载
犌犅/犜26409—2022
表B.14结构静应力测试结果报告表
流动式混凝土泵型号 制造厂
被测结构 风力
气温______________________
|
测点 |
空载 |
加载测试工况 | |||||
|
0 | |||||||
|
分析与说明: 试验主持人: 报告整理员: | |||||||
|
注1 :应力单位:MPa。 注2:拉应力+ ;压应力一。 | |||||||
35
库七七 www.kqqw.com 标准下载
表B.15 作业可靠性试验现场记录表(一)
流动式混凝土泵型号______________
出厂日期_____________________
试验员
车辆识别代号(VlN)__________________
试验地点____________________
操作人员
制造厂
发动机编号 记录
校
对
GB/T 26409—2022
御仆仆 Www∙ kqqw∙ Com ⅛^VMM3
|
试验工况: | ||||||||||||
|
试验日期 |
开机时间 |
停机时间 |
作业时间 h |
累计作业时间 h |
循环次数 |
累计循环 次数 |
风速 m/s |
气温 ℃ |
液压油量 L |
加燃油量 L |
情况 |
试验人员 签名 |
表B.16 作业可靠性试验现场记录表(二)
GB'T 26409—2022
|
故障发生时间 |
环境条件 |
累计试验 时间 h |
累计循 环次数 |
零部件名称 |
故障 模式 |
故障 类别 |
拆检情况及 故障原因 |
修复更换 零件数量 |
排除故障时间 min |
其他停机时间 min | |||||||||
|
年 |
月 |
日 |
时 |
分 |
气温 ℃ |
风速 m,∕s |
诊断 |
准备 |
修复 |
调试 |
外因 |
筹备件 | |||||||
御仆仆 Www∙ kqqw∙ Com 魂t⅛ΛF轉
GB/T 26409—2022
表B.17作业可靠性试验汇总表
|
项目 |
故障类别 | |||||
|
致命 |
严重 |
一般 |
轻微 | |||
|
累计故障次数 | ||||||
|
加权系数 |
∞ |
3 |
1 |
0.1 | ||
|
累计当量故障次数 | ||||||
|
故障排除时间/ min | ||||||
|
首次故障前作业时间/h |
规定值 |
60 |
试验结果 | |||
|
平均无故障作业时间/h |
60 | |||||
|
作业率/% |
85 | |||||
|
结论: | ||||||
38
库七七 WWW. kqqw. com 标准下载
犌犅/犜26409—2022
附录C
(规范性) 故障模式及危害评估
表C.1规定了流动式混凝土泵的故障模式及危害评估。
表C.1故障模式与危害评估
|
故障 类别 |
故障名称 |
故障特征 |
故障模式 |
危害度系数(S) |
|
0 |
致命故障 |
严重危及或导 致人身伤亡,重 要部件报废 |
1)臂架变形,整体失稳; 2)连杆断裂,连杆体断裂; 3)连杆较轴断裂; 4)臂架油缸较轴断裂; 5)转台较座断裂,螺钉剪断; 6)转台开裂,主受力焊缝开裂; 7)底架开裂,主要部位焊缝开裂; 8)支腿开裂,主要受力焊缝开裂, 9)液压锁失灵; 10)电气紧急开关失灵损坏; 11)蓄能器失效,壳体裂纹或零件松脱 |
∞ |
|
1 |
严重故障 |
严重影响产品 功能,性能指 标,达不到规定 要求,需停机维 修,需更换外部 主要零件或拆 开机体更换内 部重要零件,维 修时间在2 h以 上,维修费用高 |
1)臂架开裂,主焊缝开裂; 2)臂架变形,局部变形; 3)连杆变形,连杆体失稳; 4)连杆较座开裂,受力焊缝裂纹; 5)臂架油缸漏油,活塞杆与导套严重划伤,需解体; 6)臂架油缸漏油,活塞与缸筒严重划伤,需解体; 7)平衡阀工作异常,阀芯损坏; 8)油泵损坏,严重漏油; 9)布料臂操纵阀损坏,严重漏油, 10)回转支承失效,滚圈断裂; 11)转台变形,主受力板严重变形; 12)转台开裂,主受力焊缝开裂; 13)支腿变形,局部发生翘曲; 14)支腿断裂,支腿较轴断裂; 15)支腿油缸变形,活塞杆失稳, 16)支腿油缸漏油,缸筒有裂纹; 17)液压锁漏油,平面密封件损坏; 18)支腿操纵阀失效,内密封失效; 19)溢流阀失效,阀芯卡死,清洗; 20)溢流阀失效,内泄漏,更换; 21)臂架电气开关失灵,损坏 |
3.0 |
39
库七七 www.kqqw.com 标准下载
犌犅/犜26409—2022
表Cl故障模式与危害评估(续)
|
故障 类别 |
故障名称 |
故障特征 |
故障模式 |
危害度系数(S) |
|
2 |
一般故障 |
明显影响产品 性能,必须停机 检修,一般只允 许更换或修理 外部零件,可以 用随机工具在 2h以内排除, 维修费用中等 |
1)连杆变形,连杆体失稳; 2)臂架油缸渗油,油缸下沉; 3)臂架油缸渗油,活塞杆与导套密封件损伤; 4)臂架油缸漏油,缸筒与导套密封件失效,更换; 5)臂架油缸漏油,活塞密封件失效,更换; 6)臂架油缸漏油,焊缝有缺陷; 7)臂架油缸较轴开裂,发现裂纹; 8)转台较座开裂,焊缝开裂; 9)平衡阀失灵,更换新阀; 10)平衡阀漏油,密封件失效; 11)回转支承工作异常,严重影响作业,需拆检; 12)回转支承高强螺栓脱落,重新安装; 13)回转支承高强螺栓断裂; 14)转台变形,主受力板严重变形; 15)转台开裂,一般部位焊缝开裂; 16)回转马达工作异常,内泄大,更换马达; 17)减速机失效,未造成重大事故,更换减速机; 18)底架开裂,一般部位焊缝开裂; 19)支腿开裂,一般部位焊缝开裂; 20)支腿裂纹,支腿较轴衬套损坏,更换; 21)支腿开裂,焊缝开裂; 22)支腿油缸渗油,支腿油缸下沉; 23)支腿油缸漏油,活塞杆与导套划伤,需解体; 24)支腿油缸漏油,油塞与缸筒划伤,需解体; 25)支腿油缸漏油,焊缝有缺陷,修复; 26)液压锁漏油,安装螺栓松动; 27)液压锁漏油,油路堵塞; 28)支腿操纵阀漏油,安装螺栓松动; 29)支腿操纵阀漏油,密封件损坏; 30)取力器漏油,结合面密封垫损坏,更换; 31)取力器漏油,端盖及轴端密封件损坏; 32)取力器漏油,内部密封失效,修复; 33)取力器开裂,挂齿轮叉断裂,更换拨叉; 34)取力器失灵,挂不上,脱不开,调整; 35)取力器失灵,传动键或槽损坏; 36)回转电气限位器失灵,修复或更换; 37)蓄能器失效,皮囊损坏,更换 |
1.0 |
40
库七七 www.kqqw.com 标准下载
表C.1故障模式与危害评估(续)
犌犅/犜26409—2022
|
故障 类别 |
故障名称 |
故障特征 |
故障模式 |
危害度系数(S) |
|
3 |
轻度故障 |
轻度影响产品 功能,一般不需 停机更换或维 修零件,能用随 机工具在短期 排除,维修费 用低 |
1)臂架油缸渗油,油缸轻微带油; 2)平衡阀漏油,接口密封件失效,更换密封件; 3)回转马达失效,结合面,紧固件松动; 4)回转马达漏油,结合面,紧固件松动; 5)回转马达漏油,轴端漏油,紧固件松动; 6)回转马达漏油,轴端漏油,密封件损坏; 7)回转马达漏油,进出油口漏油,紧固件松动; 8)回转马达漏油,进出油口漏油,密封件损坏; 9)减速机工作异常,装配螺栓松动,重新紧固; 10)减速机漏油,油封与衬垫不良或破损; 11)支腿变形,结构变形; 12)支腿油缸渗油,活塞杆轻微挂油; 13)取力器漏油,结合面紧固件松动; 14)取力器漏油,端盖及轴端紧固件松动; 15)取力器挂齿轮油缸漏油,结合面紧固件松动; 16)取力器挂齿轮油缸漏油,结合面密封垫损坏; 17)水平仪失效,更换水平仪; 18)水平仪失效,安装紧固件松动; 19)标牌脱落,重新安装 |
0.1 |
41
库七七 www.kqqw.com 标准下载
犌犅/犜26409—2022
参考文献
[1] GB 1589-2016汽车、挂车及汽车列车外廓尺寸、轴荷及质量限值
[2] GB/T 3730.3—1992汽车和挂车的术语及其定义车辆尺寸
[3] GB/T 7920.4—2016 混凝土机械术语
[4] GB/T 25638.1—2010建筑施工机械与设备混凝士泵第1部分:术语与商业规格
[5] ISo 21573-2: 2020 Building construction machinery and equipment—Concrete PUmPS—
Part2:Procedureforexaminationoftechnicalparameters
42
库七七 www.kqqw.com 标准下载