ICS 27.100
F 25
备案号:50796-2015
DL
中华人民共和国电力彳亍业标准
DL/T 1476 — 2015
电力安全工器具预防性试验规程
Preventive test code of electric safety tools and devices
2015-07-01 发布
2015-12-01 实施
国家能源局发布
www.kvee.cn
DL/T 1476 —2015
目 次
前言................................................................................ II
1范围................................................................................................................... 1
2规范性引用文件...........................................................................................................1
3术语和定义.................................................................................................................1
4分类..........................................................................................................................1
5 总则..........................................................................................................................2
6试验项目、周期、要求及试验方法...................................................................................2
附录A (资料性附录)机械试验示意图...............................................................................14
附录B (资料性附录)电气试验接线图...............................................................................16
I
www.kvee.cn
DL/T 1476 — 2015
刖 5
本标准按照GB/T l.l→009给出的规则起草。
本标准由中国电力企业联合会提出。
本标准由全国高压电气安全标准化技术委员会归口。
本标准负责起草单位:苏州热工研究院有限公司。
本标准参加起草单位:国网江苏省电力公司、国网宁夏电力公司、中国南方电网广西电网有限责任 公司、中国南方电网云南电网有限责任公司、中国国电集团公司、国家电力器材产品安全性能质量监督 检验中心、河北安电电力器材有限公司。
本标准主要起草人:顾燕苏、戴克铭、吴俊杰、徐光国、麻芳义、张励、刘华伟、张小涛、杨春明、 李卫锋、李宏杰、刘穆轩、于虹云、王春胜。
本标准为首次发布。
本标准在执行过程中的意见或建议反馈至中国电力企业联合会标准化管理中心(北京市白广路二条 一号,100761 )o
www.kvee.cn
DL/T 1476 — 2015
电力安全工器具预防性试验规程
1范围
本标准规定了电力安全工器具定期预防性试验的项目、周期、要求及试验方法。
本标准适用于电力安全工器具的预防性试验。
2规范性引用文件
下列文件对于本标准的应用是必不可少的。凡是注日期的引用文件,仅注日期的版本适用于本文件。 凡是不注日期的引用文件,其最新版本(包括所有的修改单)适用于本文件。
GB/T 2812安全帽测试方法
GB 12011足部防护电绝缘鞋
GB/T 16927.1高电压试验技术 第1部分:一般定义及试验要求
GB/T 17889.2梯子 第2部分:要求、试验和标志
GB 21146个体防护装备职业鞋
GB 26861电力安全工作规程高压试验室部分
DL/T 740电容型验电器
DL/T976带电作业工具、装置和设备预防性试验规程
DL/T 1209变电站登高作业及防护器材技术要求
3术语和定义
下列术语和定义适用于本标准。
3.1
电力安全工器具 electric safety tools and devices
防止电力作业人员发生触电、机械伤害、高处坠落等伤害及职业危害的材料、器械或装置。
3.2
预防性试验preventive test
为了发现电力安全工器具的隐患,预防发生设备或人身事故,对其进行的检查、试验或检测。
4分类
电力安全工器具可分为个体防护装备、绝缘安全工器具、登高工器具、警示标识四类,分别如下: a)个体防护装备:指保护人体避免受到急性伤害而使用的安全用具。
b)绝缘安全工器具:可分为基本绝缘安全工器具(含带电作业绝缘安全工器具)和辅助绝缘安全 工器具,分别如下:
1)基本绝缘安全工器具:指能直接操作带电装置、接触或可能接触带电体的工器具,其中部 分为带电作业专用绝缘安全工器具,带电作业绝缘安全工器具的预防性试验按DL/T 976 进行。
2)辅助绝缘安全工器具:指绝缘强度不能承受设备或线路的工作电压,仅用于加强基本绝缘 安全工器具的保安作用,以防止接触电压、跨步电压、泄漏电流及电弧对作业人员造成伤 害的安全工器具。
www.kvee.cn
DL/T 1476 —2015
c)登高工器具:指用于登高作业、临时性高处作业的工具。
d)警示标识:包括安全围栏(网)和标识牌。安全围栏(网)包括用各种材料做成的安全围栏、 安全围网和红布幔;标识牌包括各种安全标示牌、设备标识牌、锥形交通标、警示带等。
5总则
5.1试验场所的设施及环境条件
试验场所的设施应使试验正确地实施并能将不相容活动的相邻区域有效隔离。机械试验应配备防止 飞物的防护装置,承力支架应能承受试验所需最大应力(或力矩)的1」倍;电气试验应符合GB 26861 规定的试验场所设施的相关要求。
试验场所的环境条件应检测、控制和记录,确保其不会导致试验结果无效或对所要求的测试质量产 生不良影响,其中电气试验应符合GB 26861规定的试验环境的相关要求。
5.2试验设备
检测、测量所用的试验设备应符合所进行的预防性试验的相关技术要求。
所有测量、试验设备,包括对试验结果的准确性或有效性有显著影响的环境测量设备,在使用前应 由有资质的机构进行检定或校准。
5.3试验流程
试验流程含外观检查、检测试验、数据记录、出具报告等。
试验前应对试品进行外观检查,必要时对试品进行清洁、干燥。外观检查合格,方可进行试验,试 验应按先机械试验后电气试验的顺序进行。
5.4试验对象
电力安全工器具预防性试验的对象为按规定周期、新购置投入使用前、检修或关键零部件更换后、 使用过程中对性能有疑问或发现缺陷、出现质量问题的同批电力安全工器具。
6试验项目、周期、要求及试验方法
6.1个体防护装备
6.1.1安全帽
6.1.1.1外观检查
永久标识和产品说明等标识应清晰完整;安全帽的帽壳、帽衬(帽箍、吸汗带、缓冲垫及衬带)、 帽箍扣、下顺带等组件应完好无缺失。
帽壳内外表面应平整光滑,无划痕、裂缝和孔洞,无灼伤、冲击痕迹。
6.1.1.2试验项目、周期和要求
试验项目、周期和要求见表1。
表1安全帽的试验项目、周期和要求
|
序号 |
项目 |
__________周 期 |
__要 求 |
|
1 |
冲击性能试验 |
植物枝条编织帽:1年后 塑料和纸胶帽:2.5年后 玻璃钢(维纶钢)橡胶帽:3.5年后 |
传递到头模上的冲击力小于4900N, ____唱壳不得有碎片脱落___I |
|
2 |
耐穿刺性能试验 |
「锥不接触头模表面, ! ____帽壳不得有碎片脱落 |
注:使用期从产品制造完成之日起计算,以后每年抽检一次。每批从最严酷使用场合中抽取,每项试验试样不少于 2顶,有一顶不合格,则该批安全帽报废。
6.1.1.3试验方法
冲击性能试验方法按GB/T 2812进行。
2
www.kvee.cn
DL/T 1476 — 2015
耐穿刺性能试验方法按GB/T 2812进行。
6.1.2安全带
6.1.2.1外观检查
商标、合格证和检验证等标识应清晰完整;各部件应完整无缺失、无伤残破损。
6.1.2.2试验项目、周期和要求
试验项目、周期和要求见表2,试验后应无变形或破断。
表2安全带的试验项目、周期和要求
|
项目 |
周期 |
要 求 | |||
|
静负荷试验 |
1年 |
种类 |
试验静拉力(N) |
载荷时间(min) | |
|
整带 |
坠落悬挂安全带 |
3300 |
5 | ||
|
围杆作业安全带 |
2205 |
5 | |||
|
区域限制安全带 |
1200 |
5 | |||
注:牛皮带的试验周期为半年。
6.1.2.3试验方法
静负荷试验连接形式见附录A图A.1,按表2所列种类、对应的静拉力和时间,拉伸速度为 100mm∕mi∏o
6.1.3安全绳
6.1.3.1外观检查
绳体应光滑、干燥,无霉变、断股、磨损、灼伤、缺口等缺陷;各部件应顺滑,无材料或制造缺陷, 无尖角或锋利边缘;护套(如有)应完整、无破损。
6.1.3.2试验项目、周期和要求
试验项目、周期和要求见表3。
表3安全绳的试验项目、周期和要求
|
项目 |
要 求 | |
|
静负荷试验 |
1年 |
施加2205N静拉力,持续时间5min,卸载后无变形或破断 |
6.1.3.3试验方法
静负荷试验方法按6.1.2.3进行。
6.1.4速差自控器
6.1.4.1外观检查
外观应平滑,无材料和制造缺陷,无毛刺和锋利边缘;各部件应完整无缺失、无伤残破损。
安全识别保险装置(如有)应未动作。
用手将速差自控器的安全绳(带)进行快速拉出,应能有效制动并完全回收。
6.1.4.2试验项目、周期和要求
试验项目、周期和要求见表4。
表4速差自控器的试验项目、周期和要求
|
项目 |
周期 |
___________________要 求___________________ |
|
空载动作试验 |
1年 |
拉出的钢丝绳(或合成纤维带)卸载或锁止卸载后, 即能自动回缩,无卡绳(或卡带)现象 _________ |
3
www.kvee.cn
DL/T 1476 —2015
6.1.4.3试验方法
将速差器钢丝绳(或合成纤维带)在其全行程中任选5处,进行拉出、制动。
6.1.5自锁器(含导轨式、绳索式)
6.1.5.1外观检查
各部件应完整无缺失;本体及配件应无目测可见的凹凸痕迹;本体为金属材料时,无裂纹、变形及 锈蚀等缺陷;所有佛接面应平整、无毛刺,金属表面镀层应均匀、光亮,不允许有起皮、变色等缺陷; 本体为工程塑料时,表面应无气泡、开裂等缺陷。
自锁器上的导向轮应转动灵活,无卡阻、破损等缺陷。
6.1.5.2试验项目、周期和要求
试验项目、周期和要求见表3。
6.1.5.3试验方法
静负荷试验方法按6.1.2.3进行。
6.1.6缓冲器
6.1.6.1外观检查
各部件应平滑,无材料和制造缺陷,无尖角或锋利边缘。
织带型缓冲器的保护套应完整,无破损、开裂等现象。
6.1.6.2试验项目、周期和要求
试验项目、周期和要求见表3,其中施加静拉力为1200N。
6.1.6.3试验方法
静负荷试验方法按6.1.2.3进行。
6.1.7导电鞋
6.1.7.1外观检查
鞋体内外表面应无破损。
6.1.7.2试验项目、周期和要求
试验项目、周期和要求见表5。
表5导电鞋的试验项目、周期和要求
|
项 目 |
周 期 |
要 求 |
|
直流电阻试验 |
穿用累计W200h |
IOOV直流,电阻值小于IOokQ |
6.1.7.3试验方法
直流电阻试验按GB 21146进行。
6.1.8个人保安线
6.1.8.1外观检查
线夹完整、无损坏,线夹与电力设备及接地体的接触面无毛刺。
导线无裸露部分,导线外覆透明护层应均匀、无龟裂。
6.182试验项目、周期和要求
试验项目、周期和要求见表6。
表6个人保安线的试验项目、周期和要求
|
项 目 |
周期 |
要 求 |
|
成组直流电阻试验 |
5年 |
在各接线夹之间测量电阻,对应IOmm2、16mnΛ 25mm2的截面, 平均每米的电阻值应小于1.98mQ∖ 1.24mΩ∖ 0.79mΩ |
4
www.kvee.cn
DL/T 1476 — 2015
6J.8.3试验方法
采用电流—电压表法的直流电压降法方式来测量,试验电流应不小于30Ao
按测量的各接线鼻间长度与直流电阻值,计算每米的电阻值。组合式测量接线示意见附录B图B.1。
6.2基本绝缘安全工器具
6.2.1绝缘杆
6.2.1.1外观检查
杆的接头连接应紧密牢固,无松动、锈蚀和断裂等现象。
杆体应光滑,绝缘部分应无气泡、皱纹、裂纹、绝缘层脱落、严重的机械或电灼伤痕,玻璃纤维布 与树脂间黏接应完好不得开胶。
握手的手持部分护套与操作杆连接应紧密、无破损,不产生相对滑动或转动。
6.2.1.2试验项目、周期和要求
试验项目、周期和要求见表7,耐压试验中各绝缘杆不应发生闪络或击穿,试验后绝缘杆应无放电、 灼伤痕迹,无明显发热现象。
表7绝缘杆的试验项目、周期和要求
|
序号 |
项 目 |
周期 |
要 求 | |||
|
1 |
工频耐压试验 |
1年 |
额定电压(kV) |
试验长度(m) |
耐压(kV) | |
|
Imin |
3min | |||||
|
10 |
0.7 |
45 |
— | |||
|
35 (20) |
0.9 |
95 |
— | |||
|
66 |
1.0 |
175 |
— | |||
|
110 |
1.3 |
220 |
— | |||
|
220 |
2.1 |
440 |
— | |||
|
330 |
3.2 |
— |
380 | |||
|
500 |
4.1 |
— |
580 | |||
|
750 |
4.7 |
— |
780 | |||
|
1000 |
6.3 |
— |
1150 | |||
|
2 |
直流耐压试验 |
1年 |
±400 |
4.2 |
— |
740 |
|
±500 |
3.2 |
— |
680 | |||
|
+ 660 |
4.3 |
— |
745 | |||
|
±800 |
6.6 |
— |
895 | |||
注:表中数据为4<500m的试验长度和电压;仅±40OkV为2800mV∕zW4500m的数据,力为海拔。
6.2.1.3试验方法
按以下步骤进行试验:
a)高压试验电极置于绝缘杆工作部分;
b)试验长度为高压试验电极与接地电极间的距离(不含绝缘操作杆间金属连接头元件的长度), 并按表7中的数值确定;
c)电极宜用50mm左右宽的金属箔或其他合适方法包绕,并使相邻绝缘杆间保持一定距离;
d)工频耐压试验按GB/T 16927.1的要求进行。
6.2.2携带型短路接地线
6.2.2.1外观检查
接地绝缘棒的外观检查要求按6.2.1.1进行。
www.kvee.cn
DL/T 1476 — 2015
线夹及导线的外观检查要求按6.1∙8.1进行。
6.2.2.2试验项目、周期和要求
试验项目、周期和要求见表8,耐压试验中各接地绝缘棒不应发生闪络或击穿,试验后接地绝缘杆 应无放电、灼伤痕迹,无明显发热现象。
表8携带型短路接地线的试验项目、周期和要求
|
序号 |
项 目 |
周期 |
要 求 | ||
|
1 |
接地线的成组直流电阻试验 |
5年 |
先在各接线鼻之间测量直流电阻,然后在各线夹之间测量直流 电阻,对应 25mm2、 35mm2、50mm2> 70mm2、95mm2> 120mm2 的各种截面,平均每米的电阻值应分别小于0∙79mQ、 0.56mΩ∖ 0.40mΩ> 0.28mΩ> 0.21mΩ> 0.16mΩ | ||
|
2 |
接地绝缘棒的工频耐压试验 (整杆) |
5年 |
额定电压(kV) |
工频耐压(kV) | |
|
Imin |
3min | ||||
|
10 |
45 |
— | |||
|
35 (20) |
95 | ||||
|
66 |
175 |
— | |||
|
11() |
220 |
— | |||
|
220 |
440 |
— | |||
|
330 |
— |
380 | |||
|
500 |
— |
580 | |||
|
750 |
— |
780 | |||
|
IOOO |
— |
1150 | |||
|
3 |
接地绝缘棒的直流耐压试验 (整杆) |
5年 |
±400 |
— |
740 |
|
±500 |
— |
680 | |||
|
±660 |
— |
745 | |||
|
±800 |
— |
895 | |||
注:表中数据为力<50Om的试验长度和电压;仅±40OkV为2800m‹"W4500m的数据,人为海拔。
6.2.2.3试验方法
成组直流电阻试验方法按6.1.8.3进行。
工频耐压试验电压加在接地绝缘棒的护环与紧固头之间,并按表8确定试验数值,其他按6.2.1.3 进行。
6.2.3电容型验电器
6.2.3.1外观检查
绝缘杆应无气泡、皱纹、裂纹、划痕、硬伤、绝缘层脱落、严重的机械或电灼伤痕。伸缩型绝缘杆 各节配合应合理,拉伸后不应自动回缩。
指示器应密封完好,表面应光滑、平整。
手柄与绝缘杆、绝缘杆与指示器的连接应紧密牢固。
自检三次,指示器均应有视觉和听觉信号出现。
6.2.3.2试验项目、周期和要求
试验项日、周期和要求见表9。
www.kvee.cn
DL/T 1476 — 2015
表9电容型验电器的试验项目、周期和要求
|
序号 |
项 目 |
周期 |
______________要 求______________ |
|
1 |
起动电压试验 |
1年 |
起动电压值在额定电压的10%〜45% |
|
2 |
工频耐压试验 |
1年 |
同表7 |
6.2.3.3试验方法
起动电压试验方法如下:
a)将指示器接触电极与试验电极相接触;
b)升压按GB/T 16927.1要求进行,“电压存在"指示信号出现,停止升压,若信号继续存在,记 录此刻启动电压值;
c)试验变压器迅速返零、断电并放电;
d)不带与带接触电极延长段验电器的试验布置按DL/T 740要求布置。
工频耐压试验方法:
操作杆工频耐压试验方法按6.2.1.3进行。
6.2.4核相器
6.2.4.1外观检查
各部件应无明显损伤,连接可靠。
指示器表面应光滑、平整,密封完好。
绝缘杆内外表面应清洁、光滑,无划痕及硬伤。
连接线绝缘层应无破损、老化现象,导线无扭结现象。
6.2.4.2试验项目、周期和要求
试验项目、周期和要求见表10,绝缘部分工频耐压试验、连接导线绝缘强度试验后应无击穿现象。
表10核相器的试验项目、周期和要求
|
序号 |
项目 |
周期 |
要 求__ | |||
|
1 |
动作电压试验 |
1年 |
最低起动电压应达0.25倍额定电压 | |||
|
2 |
绝缘部分工频 耐压试验 |
1年 |
额定电压 (kV) |
试验长度 (m) |
工频耐压 (kV) |
持续时间 (min) |
|
10 |
0.7 |
45 |
1 | |||
|
35 |
0.9 |
95 | ||||
|
3 |
连接导线绝缘 强度试验 |
必要时 |
额定电压 (kV) |
工频耐压 (kV) |
持续时间 (min) | |
|
10 |
8 |
5 | ||||
|
35 |
28 |
5 | ||||
|
4 |
电阻管泄漏 电流试验 |
半年 |
额定电压 (kV) |
工频耐压 (kV) |
持续时间 (min) |
泄漏电流 (mA) |
|
10 |
10 |
1 |
≤2 | |||
|
35 |
35 |
1 |
≤2 | |||
注:对于无线式的核相器仅做动作电压和绝缘部分工频耐压试验
6.2.4.3试验方法
a)动作电压试验。
将两极接触电极连接到试验电压,按GB/T 16927.1进行升压,测量其起动电压 b)绝缘部分工频耐压试验。
7
www.kvee.cn
DL/T 1476 — 2015
试验电压加在核相棒的有效绝缘部分,试验方法按6.2.1.3进行。
c)连接导线绝缘强度试验。
导线应平直,浸泡于电阻率小于IOOQ ∙m的水中,两端35Omm露出水面,试验电路图见附录
B 图 B.2;
金属器皿与连接导线间按GB/T 16927.1进行升压至表10规定值。
d)电阻管泄漏电流试验。
试验电极与交流电压一极相接,连接导线端口与交流电压接地极相接;按GB/T 16927.1进行升 压至表10规定值,测量泄漏电流值。
6.2.5绝缘罩
6.2.5.1外观检查
罩内外表面不应存在破坏其均匀性、损坏表面光滑轮廓的缺陷,如小孔、裂缝、局部隆起、切口、 夹杂导电异物、折缝、空隙及凹凸波纹等。
提环、孔眼、挂钩等用于安装的配件应无破损,闭锁部件应开闭灵活,闭锁可靠。
625.2试验项目、周期和要求
试验项目、周期和要求见表11,试验中不应出现闪络或击穿现象,试验后各部位应无灼伤、发热 现象。
表11绝缘罩的试验项目、周期和要求
|
项目 |
周期 |
要 求 I | ||
|
工频耐压试验 |
1年 |
额定电压(kV) |
工频耐压(kV) |
持续时间(min) I |
|
10 |
30 | |||
|
20 |
50 | |||
|
35 |
80 | |||
6.2.5.3试验方法
试验步骤如下:
a)工频耐压试验内部电极为置于其内部中心处金属芯棒;
b)外部电极为接地电极,由导电材料制成(如金属箔或导电漆等),试验电极布置如附录B图B.3 所示;按GB/T 16927.1进行升压至表11规定值。
6.2.6绝缘隔板
6.2.6.1外观检查
标识应清晰完整,表面均匀,无小孔、裂缝、局部隆起、切口、异物、折缝、空隙等。
6.2.6.2试验项目、周期和要求
试验项目、周期和要求见表12,试验中不应出现闪络或击穿,试验后各部分应无灼伤、无明显发热。
表12绝缘隔板的试验项目、周期和要求
|
序号 |
项 目 |
周期 |
要求 I | ||
|
1 |
表面工频耐压试验 |
1年 |
额定电压(kV) |
工频耐压(kV) |
持续时间(min) I |
|
6〜35 |
60 | ||||
|
2 |
工频耐压试验 |
1年 |
额定电压(kV) |
工频耐压(kV) |
持续时间(milGI |
|
10 |
30 | ||||
|
20 |
50 | ||||
|
35 |
80 | ||||
8
www.kvee.cn
DL/T 1476 —2015
6.2.6.3试验方法
表面工频耐压试验步骤如下:
a)绝缘隔板上下安装长70mm、宽30mm的金属极板,两电极之间的距离为300mm;
b)两电极间按GB/T 16927.1进行升压至表12规定值。
工频耐压试验步骤如下:
a)隔板上下铺设去除与遮蔽罩之间空隙的湿布、金属箔或其他材料;
b)铺设物覆盖试品,除上下四周边缘各留出20Omm左右的距离外,其余区域安装金属极板;
c)在试验电极间按GB/T 16927.1进行升压至表12规定值。
6.2.7绝缘绳
6.2.7.1外观检查
绳应光滑、干燥,无霉变、断股、磨损、灼伤、缺口。
6.2.7.2试验项目、周期和要求
试验项目、周期和要求见表13,试验中不应发生闪络或击穿,试验后无放电、灼伤痕迹及明显发热。
表13绝缘绳的试验项目、周期和要求
|
项目 |
周期 |
要 求 | ||
|
工频耐压试验 |
半年 |
工频耐压(kV) |
试验长度(mm) |
持续时间(min) |
|
100 |
500 |
5 | ||
6.2.7.3试验方法
试验步骤如下:
a)工频耐压高压试验电极置于绳的工作部位,接地与试验电极用50mm左右宽的金属箔或导线包 绕,该两极间的距离为试验长度,并按表13中试验长度确定两电极间距离;
b)按GB/T 16927.1进行升压至表13规定值。
6.2.8绝缘夹钳
6.2.8.1外观检查
绝缘部分应无气泡、皱纹、裂纹、绝缘层脱落、严重的机械或电灼伤痕,玻璃纤维布与树脂间应黏 接完好,不应开胶。握手部分护套与绝缘部分应连接紧密、无破损,不产生相对滑动或转动。
钳口动作应灵活,无卡阻现象。
6.2.8.2试验项目、周期和要求
试验项目、周期和要求见表14,试验中不应发生闪络或击穿,试验后无放电、灼伤痕迹及明显发热。
表14绝缘夹钳的试验项目、周期和要求
|
项目 |
周期 |
要 求 | |||
|
工频耐压试验 |
1年 |
额定电压(kV) |
试验长度(mm) |
工频耐压(kV) |
持续时间(min) |
|
10 |
700 |
45 |
1 | ||
|
35 |
900 |
95 |
1 | ||
6.2.8.3试验方法
试验步骤如下:
a)高压试验电极置于绝缘夹钳工作部位,接地与试验电极用50mm左右宽的金属箔或导线包绕, 该两极间的距离为试验长度,并按表14中试验长度确定两电极间距离;
b)按GB/T 16927.1进行升压至表14规定值。
9
www.kvee.cn
DL/T 1476 — 2015
6.3辅助绝缘安全工器具
6.3.1辅助型绝缘手套
631.1外观检查
手套应质地柔软良好,内外表面均应平滑、完好无损,无划痕、裂缝、折缝和孔洞。
6.3.1.2试验项目、周期和要求
试验项目、周期和要求见表15o
表15辅助型绝缘手套的试验项目、周期和要求
|
要 求__ | |||||
|
丁频耐压试验 |
半年 |
电压等级 |
工频耐压(kV) |
持续时间(min)_ |
泄漏电流(mA) |
|
低压 |
2.5 |
1 __________ |
≤2.5 | ||
|
8 |
1 |
≤9 | |||
6.3.1.3试验方法
试验步骤如下:
a)将辅助型绝缘手套置入并浸在盛有相同自来水、内外水平面高度相同的金属器皿中,露出水面 90mm并擦干,试验电路见附录B图B.4;
b)按GB/T 16927.1进行升压至表15规定值,不应发生电气击穿,测量泄漏电流。
6?3.2辅助型绝缘靴(鞋)
6.3.2.1外观检查
鞋底不应出现防滑齿磨平、外底磨露出绝缘层等现象。
6,3.2.2试验项目、周期和要求
试验项目、周期和要求见表16。
表16辅助型绝缘靴(鞋)的试验项目、周期和要求
|
项目 |
周期 |
要 求 | ||
|
工频耐压试验 |
半年 |
工频耐压(kV) |
持续时间(min) |
泄漏电流(mA)__ |
|
15 |
1 |
≤6 | ||
6.3.2.3试验方法
工频耐压试验按GB 12011进行,试验电路见附录B图B.5o
6.3.3辅助型绝缘胶垫
6.3.3.1外观检查
上下表面应不存在破坏均匀性、损坏表面光滑轮廓的缺陷,如小孔、裂缝、局部隆起、切口、夹杂 导电异物、折缝、空隙、凹凸波纹及铸造标志等。
6.3.3.2试验项目、周期和要求
试验项目、周期和要求见表17,试验中不应出现闪络或击穿现象,试验后各部位应无灼伤、明显发 热现象。
表17辅助型绝缘胶垫的试验项目、周期和要求
|
Γ ^l |
5 5 | |||
|
j 工频耐压试验 |
1年 |
____电压等级 |
工频耐压(kV) ‘ |
持续时间(min) |
|
低压 |
3.5 |
1 | ||
|
15 |
1 | |||
|
: 注:使用于带电设备区域。__ | ||||
10
www.kvee.cn
DL/T 1476 — 2015
6.3.3.3 试验方法
试验步骤如下:
a)上下铺设较被测绝缘胶垫四周小20Omm的湿布、金属箔或其他材料,试验电路见附录B图B.6;
b)按GB/T 16927.1进行升压至表17规定电压值;
c)试样分段试验时两段试验边缘应重合。
6.4登高工器具
6.4.1登杆脚扣
6.4.1.1外观检查
围杆钩在扣体内应滑动灵活、可靠、无卡阻现象;保险装置应能可靠防止围杆钩在扣体内脱落。
小爪应连接牢固,活动灵活。
橡胶防滑块与小爪钢板、围杆钩连接应牢固,覆盖完整,无破损。
脚带应完好,止脱扣应良好,无霉变、裂缝或严重变形。
6.4.1.2试验项目、周期和要求
试验项目、周期和要求见表18。
表18登杆脚扣的试验项目、周期和要求
|
序号 |
项目 |
周期 |
要 求 |
|
1 |
整体静负荷试验 |
1年 |
施加1176N静压力,持续时间5min,卸载后活动钩应符合外观检查要求, 其他受力部位无影响正常工作的变形和其他可见的缺陷 |
|
2 |
扣带强力试验 |
1年 |
施加90N静拉力,持续时间5min,卸载后不应出现织带撕裂、 金属件明显变形、扣合处明显松脱等现象 |
6.4.1.3试验方法
整体静负荷试验:
a)脚扣安放在模拟的等径杆上,如附录A图A.2所示;
b)踏盘采用拉力试验机加静压力,按表18的要求进行。
扣带强力试验:
a)按正常使用时的长度和方式扣合后,装夹在拉力试验机上,装夹方法见附录A图A.3;
b)加载速度为IOomm∕min±5mm∕min,保载过程观察试样状态。
6.4.2登高板
6.4.2.1外观检查
钩子不得有裂纹、变形和严重锈蚀,心型环应完整、下部有插花,绳索无断股、霉变或严重磨损。
绳扣接头每绳股连续插花应不少于4道,绳扣与踏板间应套接紧密。
6.4.2.2试验项目、周期和要求
试验项目、周期和要求见表19。
表19登高板的试验项目、周期和要求
|
项目 |
周期 |
要 求 |
|
静负荷试验 |
半年 |
施加2205N静压力,持续时间5min,卸载后围杆绳无破断、 撕裂,钩子无变形,踏板无损伤 |
6.4.2.3试验方法
静负荷试验时将登高板安放在拉力机上,加载速度应缓慢均匀,如附录A图A.4所示。
11
www.kvee.cn
DL/T 1476 —2015
6.4.3硬梯(含竹梯、木梯、铝合金梯、复合材料梯及梯凳)
6.4.3.1外观检查
踏棍(板)与梯梁连接应牢固,整梯无松散,各部件无变形,梯脚防滑良好,梯子竖立后应平稳, 无目测可见的侧向倾斜。
升降梯应升降灵活,锁紧装置可靠;铝合金折梯较链应牢固,开闭灵活,无松动。
折梯限制开度装置应完整牢固;延伸式梯子操作用绳应无断股、打结等现象,升降灵活,锁位准确可靠。
竹、木梯应无虫蛀、腐蚀等现象。
6.4.3.2试验项目、周期和要求
试验项目、周期和要求见表20。
表20硬梯的试验项目、周期和要求
|
项目 |
周 |
期 |
要 求 |
|
静负荷试验 |
竹梯、木梯 |
半年 |
施加1765N静压力,持续时间5min, |
|
其他梯 |
1年 |
卸载后各部件不应发生永久变形和损伤 |
6.4.3.3试验方法
静负荷试验按GB/T 17889.2进行。
6.4.4软梯
6.4.4.1外观检查
标志应清晰,每股绳索及每股线均应紧密绞合,不得有松散、分股的现象。
6.4.4.2试验项目、周期和要求
试验项目、周期和要求见表21。
表21软梯的试验项目、周期和要求
|
项目 |
周期 |
要 求 |
|
静负荷试验 |
半年 |
施加4900N静压力,持续时间5min,卸载后各部件不应发生永久变形和损伤 |
6.4.4.3试验方法
静负荷试验按GB/T 17889.2进行。
6.4.5快装脚手架
6.4.5.1外观检查
复合材料构件表面应光滑,绝缘部分应无气泡、皱纹、裂纹、绝缘层脱落、明显的机械或电灼伤痕, 纤维布(毡、丝)与树脂间黏接应完好,不得开胶。
6.4.5.2试验项目、周期和要求
试验项目、周期和要求见表22。
表22快装脚手架的试验项目、周期和要求
|
序号 |
项目 |
周期 |
要 求 |
|
1 |
平台强度试验 |
1年 |
施加1960N静压力,持续时间5min, 卸载后各部件不应发生永久变形和损伤 |
|
2 |
踏档强度试验 |
1年 |
6.4.5.3 试验方法
平台强度试验、踏档强度试验按DL/T 1209.4进行。
12
www.kvee.cn
DL/T 1476 — 2015
6.4.6检修平台(含高空组合平台)
6.4.6.1外观检查
复合材料构件表面应光滑,绝缘部分应无气泡、皱纹、裂纹、绝缘层脱落、明显的机械或电灼伤痕, 玻璃纤维布(毡、丝)与树脂间黏接应完好,不得开胶。
金属材料零部件表面应光滑、平整,棱边应倒圆弧、不应有尖锐棱角,应进行防腐处理(铝合金宜 采用表面阳极氧化处理;黑色金属宜采用镀锌处理;可旋转部位的材料宜采用不锈钢)。
升降型检修平台起升降作用的牵引绳索宜采用非导电材料,且应无灼伤、脆裂、断股、霉变和扭结。
6.4.6.2试验项目、周期和要求
试验项目、周期和要求见表23,卸载后各部件不应发生永久变形和损伤。
表23检修平台的试验项目、周期和要求
|
序号 |
项目 |
周期 |
要 求 | |
|
试验静压力(N) |
持续时间(min) | |||
|
1 |
平台/悬挂装置强度 |
1年 |
1960 |
5 |
|
2 |
踏档强度 |
1年 |
980 |
5 |
6.4.6.3试验方法
平台/悬挂装置强度试验、踏档强度试验按DL/T 1209.4进行。
13
www.kvee.cn
DL/T 1476 —2015
附录A
(资料性附录) 机械试验示意图
安全带整体静负荷试验示意图见图A.1。
////"///////∕
1—夹具;2—安全带;3一半圆环;4一钩;5—三角环;6-带、绳;7—木轮
图A.1安全带整体静负荷试验示意图
登杆脚扣整体静负荷试验示意图见图A.2o
登杆脚扣扣带强力试验试样装夹方法示意图见图A.3o
1一限位装置;2一登杆脚扣;3—模拟电杆;4—鞋模 图A.2登杆脚扣整体静负荷试验示意图
1一上夹具销轴;2一扣带;3一下夹具销轴
图A.3登杆脚扣扣带强力试验试样装夹方法示意图
14
www.kvee.cn
DL/T 1476 —2015
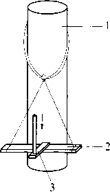
登高板静负荷试验示意图见图A.4o
1一模拟电杆;2—登高板;3-压力板
图A.4登高板静负荷试验示意图
15
www.kvee.cn
DL/T 1476 — 2015
附录B
(资料性附录) 电气试验接线图
个人保安线、携带型短路接地线线鼻子间成组直流电阻试验接线图见图B.lo
直流电源
图B.1个人保安线、携带型短路接地线线鼻子间成组直流电阻试验接线图
核相器连接导线绝缘强度试验接线图见图B.2θ
〜220V
/\...../\
1一连接导线;2—金属盆;3—水
图B.2核相器连接导线绝缘强度试验接线图
绝缘罩试验电极布置示意见图BJo
1一接地电极;2-金属箔或导电漆;3—高压电极 图B.3绝缘罩试验电极布置示意图
www.kvee.cn
DL/T 1476 — 2015
辅助型绝缘手套试验接线图见图B.4o
1—电极;2—试样;3—盛水金属器皿
图B.4辅助型绝缘手套试验接线图
辅助型绝缘靴试验接线图见图B.5o
1-被试靴;2一金属盘;3-金属球;4-金属片;5—海绵和水;6—绝缘支架 图B.5辅助型绝缘靴试验接线图
辅助型绝缘胶垫试验接线图见图B.6o
17
www.kvee.cn
刮开涂层 查询夏伪
中国电力出版社官方微信 掌上电力书屋
中华人民共和国 电Jj行业标准 电力安全工器具预防性试验规程
DL/T 1476 — 2015
中国电力出版社出版、发行
(北京' M 东」成M北京站阳街 19 '√ I ()0005 http://www.cepp.sgcc.com.cn) 北京儿天众诚印刷仃限公司印刷
*
2015年11丿J第一版 2015年12丿」北京第二次印刷 880空米X 1230亮米16丿二木1.25印张35 F字
印数 3 001 — 13 000 册 *
统-竹号155123・2687 定价11.00兀
敬告读者
木Il封底贴仃防伪标签,用开涂层可杳询真伪
木1如冇印装质量问题,我社发行部负貴退换
版权专有翻印必究
www.kvee.cn