ICS 13.060.20
CCS C 51
DB4403
深圳市地方标准
DB4403/T 267—2022
自来水厂安全风险分级管控工作指南
Guidelines for risk classification management and control of waterwork
2022-11-02发布
2022-12-01实施
深圳市市场监督管理局
发布
DB4403/T 267—2022
目 次
前言 ............................................................................... III
1 范围 .............................................................................. 1
2 规范性引用文件 .................................................................... 1
3 术语和定义 ........................................................................ 1
4 总体要求 .......................................................................... 2
5 工作流程 .......................................................................... 3
6 风险管理组织 ...................................................................... 5
7 风险评估 .......................................................................... 6
8 风险管控 ......................................................................... 11
9 文件管理 ......................................................................... 13
10 持续改进 ........................................................................ 21
附录A(资料性) 风险评估方法介绍 ................................................... 22
附录B(资料性) 风险清单(示例) ................................................... 29
附录C(规范性) 风险公告 ........................................................... 85
参考文献 ............................................................................ 93
图1 安全风险分级管控工作流程图 ...................................................... 4
图2 风险辨识示意图 .................................................................. 7
图3 现实风险评价流程 ............................................................... 10
图4 风险管控措施分类图 ............................................................. 11
图5 风险等级动态管理示意图 ......................................................... 13
图C.1 安全风险公告栏(示例) ....................................................... 86
图C.2 岗位安全风险告知卡(示例) ................................................... 88
图C.3 水厂极端风险四色分布图 ....................................................... 89
图C.4 水厂现实风险四色分布图 ....................................................... 90
图C.5 水厂作业(活动)极端风险比较图 ............................................... 91
图C.6 水厂作业(活动)现实风险比较图 ............................................... 92
表1 自来水厂评估单元划分 ............................................................ 8
表2 风险管控层级 ................................................................... 12
表3 自来水厂风险辨识清单 ........................................................... 15
I
DB4403/T 267—2022
表A.1 作业活动清单 ................................................................. 22
表A.2 工作危害分析(JHA)评价表(适用于LEC法) .................................... 23
表A.3 工作危害分析(JHA)评价表(适用于风险矩阵法) ................................ 23
表A.4 设备设施清单 ................................................................. 24
表A.5 安全检查分析(SCL)评价表 .................................................... 25
表A.6 安全检查分析(SCL)评价表 .................................................... 25
表A.7 事故发生的可能性分值表 ....................................................... 26
表A.8 人员暴露于危险环境的频繁程度分值表 ........................................... 26
表A.9 后果严重程度分值表 ........................................................... 26
表A.10 风险等级 .................................................................... 27
表A.11 事故发生的可能性赋值表 ...................................................... 27
表A.12 事故发生的后果严重性赋值表 .................................................. 28
表A.13 风险矩阵 .................................................................... 28
表B.1 自来水厂安全风险清单 ......................................................... 29
表C.1 作业(活动)风险等级 ......................................................... 90
II
DB4403/T 267—2022
前
言
本文件按照GB/T 1.1—2020《标准化工作导则 第1部分:标准化文件的结构和起草规则》的规定 起草。
本文件由深圳市水务局提出并归口。
本文件起草单位:深圳市城市公共安全技术研究院有限公司、深圳市水务局、深圳市水务(集团) 有限公司。
本文件主要起草人:刘非非、曹杨、袁庆华、张立阳、袁忆博、高珊、杨群、张炳坤、王雁梅、王 伟东、罗嘉宏、姜珊珊、何婧洁、徐文冰、宋鑫、罗文。
III
DB4403/T 267—2022
自来水厂安全风险分级管控工作指南
1 范围
本文件规定了自来水厂安全风险分级管控工作的总体要求,明确了工作流程、风险管理组织、风 险评估、风险管控、文件管理、持续改进的相关要求。
本文件适用于指导深圳市范围内自来水厂开展安全生产领域危险源评估和风险管控工作,不包括 自然灾害、公共卫生事件和社会安全事件。
2 规范性引用文件
下列文件中的内容通过文中的规范性引用而构成本文件必不可少的条款。其中,注日期的引用文 件,仅该日期对应的版本适用于本文件;不注日期的引用文件,其最新版本(包括所有的修改单)适 用于本文件。
GB 2894—2008 安全标志及其使用导则
GB/T 6441—1986 企业职工伤亡事故分类
GB/T 13861—2022 生产过程危险和有害因素分类与代码
3 术语和定义
下列术语和定义适用于本文件。
3.1
安全风险 risk
发生危险事件或有害暴露的可能性,与随之引发的人身伤害、健康损害或财产损失的严重性的组 合。
注:在生产经营活动中发生意外事件,造成人员伤害、健康损坏和财产损失的风险。
3.2
隐患 nonconformity
生产经营单位违反安全生产法律、法规、规章、标准、规程和安全生产管理制度的规定,或者因 其他因素在生产经营活动中存在可能导致事故发生的物的危险状态、人的不安全行为和管理上的缺陷。 3.3
评估单元 evaluation unit
根据评估目的和评估方法的需要,将评估对象划分成有限、确定范围进行评估的单元。
3.4
物理分区 physical partition
为自来水厂实现某一功能或者完成某一作业所需要的物理空间范围划分为一个区域。
注:该区域包含为该功能或作业服务的人员、设备、物料及作业环境等要素。
3.5
风险点 risk point
1
DB4403/T 267—2022
伴随风险的部位、设施、场所,以及在特定部位、设施、场所实施的伴随风险的作业过程,或两 者的组合。
注:也称为风险源。
3.6
危险源 hazard
可能导致人身伤害和(或)健康损害的根源(能量或危险物质)、状态(能量或危险物质的约束 或限制措施的破坏或失效)或行为,或其组合。
3.7
极端风险 worst risk
危险源未经风险控制处于最不利状态下的风险。
注:即活动过程中或设备设施没有经过任何消减事故发生可能性和降低严重程度控制的风险水平,包括考虑最大 的可能性和最坏的后果。
3.8
现实风险 real risk
危险源在采取风险管控措施后的实际风险。
3.9
风险辨识 risk identification
识别风险点危险源的存在并确定其特性的过程。
3.10
风险分析 risk analysis
系统地使用既有信息,识别出危险,并预测其对于人员、财产和环境的风险。
注:风险分析是理解风险性质的过程以及风险评价和风险应对决策的基础。
3.11
风险评价 risk evaluation
以风险分析为基础,考虑人员、财产和环境等因素,对比风险分析结果和风险判定准则,以确定 风险等级以及是否可以接受或容忍的过程,提出风险降低措施,并评估措施有效性。
3.12
风险评估 risk assessment
运用定性、定量或定性定量相结合的统计分析方法对风险进行分析、确定其严重程度,对现有控 制措施的充分性、可靠性加以考虑,以及对其是否可接受予以确定的过程。
注:包括风险辨识、风险分析和风险评价的全过程。
3.13
风险分级管控 risk classification management
按照风险不同级别、所需管控资源、管控能力、管控措施复杂及难易程度等因素而确定不同管控 层级和管控方式。
3.14
风险控制措施 risk control measures
企业为将风险降低至可接受程度,针对该风险而采取的相应控制方法和手段。
4 总体要求
4.1 组织管理、制度保障
2
DB4403/T 267—2022
供水企业应建立由主要负责人牵头的安全风险分级管控组织机构,应建立能保障安全风险分级管 控体系全过程有效运行的管理制度,应建立风险动态管控工作机制。
4.2 全员参与、分级负责
供水企业应按照“全员、全过程、全方位”的原则,明确每一个岗位辨识分析风险、落实风险控 制措施的责任;供水企业应根据风险级别,确定落实管控措施责任单位的层级,建立完善的安全风险 管控目标责任考核制度,形成激励先进、约束落后的工作机制。
4.3 融合深化、持续改进
4.3.1 供水企业应在企业安全生产标准化、职业健康安全管理体系等安全管理体系的基础上,进一步 深化安全风险分级管控,形成一体化的安全管理体系,使安全风险分级管控贯彻于生产经营活动全过 程,并通过评审、更新,不断完善安全风险分级管控内容。
4.3.2 供水企业应结合现有安全管理或智慧水厂等信息化建设情况,将安全风险分级管控内容融入并 贯穿于企业安全管理全过程,以信息化提高安全风险分级管控效率。
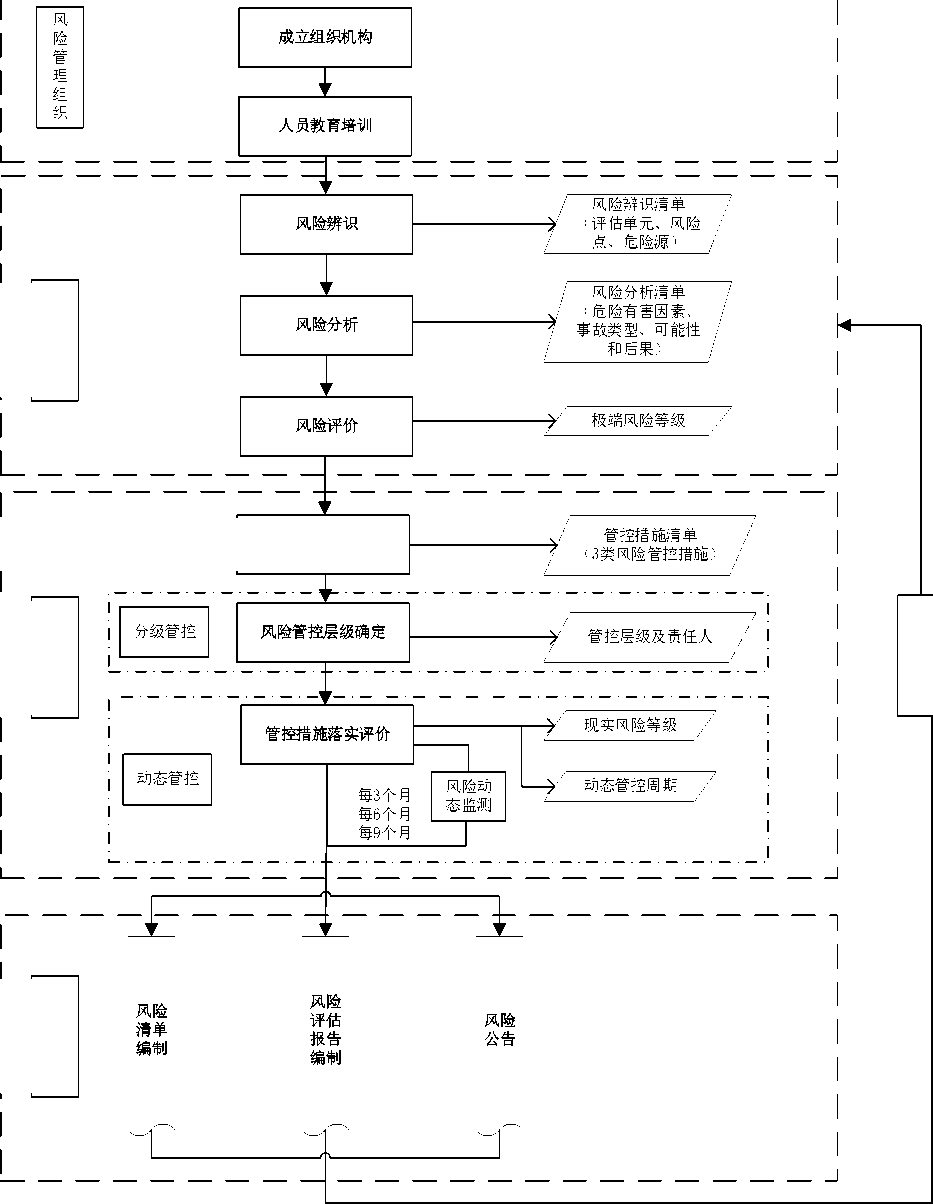
5 工作流程
安全风险分级管控工作流程主要包括成立风险管理组织、风险评估、风险管控、文件管理和持续 改进,安全风险分级管控工作流程见图1。
3
DB4403/T 267—2022
风险管理组织
风险评估
风险管控
文件管理
成立组织机构
风险管控措施制定
持续改进
4
图1 安全风险分级管控工作流程图
每 年
DB4403/T 267—2022
6 风险管理组织
6.1 责任主体
6.1.1 供水企业主要负责人应履行以下职责:
——组织落实安全风险分级管控工作有关法律、法规、规章、标准、规程和制度;
——建立健全并组织落实安全风险分级管控工作全员责任制;
——组织制定安全风险分级管控相关制度并保障有效运行;
——组织实施安全风险分级管控并负责最高等级风险管控; ——组织实施风险管控排查,有效管控风险及时消除事故隐患; ——将安全风险分级管控工作纳入年度安全生产教育和培训计划并督促落实; ——保障安全风险分级管控工作所需资金和人力资源; ——督促落实本单位重大危险源安全管理措施;
——法律、法规、规章规定的其他职责。
6.1.2 部门负责人(厂长)应履行以下职责:
——参与制定并组织实施安全风险分级管控工作相关制度;
——组织实施安全风险分级管控工作年度教育和培训计划;
——督促落实安全风险管控措施,排查治理事故隐患;
——组织实施安全风险分级管控工作动态管理;
——组织实施安全风险分级管控工作全员责任制考核;
——参与安全风险分级管控工作的相关决策,提出改进建议,督促自来水厂工作人员履行相关职 责;
——法律、法规、规章规定的其他职责。
6.1.3 班组负责人应履行以下职责:
——落实安全风险分级管控工作相关制度;
——负责本班组安全风险分级管控工作;
——监督从业人员落实安全风险管控措施,及时排查治理事故隐患,并进行考核;
——组织安全风险分级管控工作教育和培训;
——法律、法规、规章规定的其他职责。
6.1.4 一般从业人员应履行以下职责:
——执行安全风险分级管控工作相关制度,对安全风险分级管控工作提出意见建议;
——参与本岗位危险源辨识,落实管控措施;
——发现事故隐患或者其他不安全因素,立即报告;
——参加安全风险分级管控工作教育和培训;
——法律、法规、规章规定的其他职责。
6.2 培训要求
6.2.1 供水企业应将安全风险分级管控培训纳入年度安全培训计划,分层次、分阶段组织员工进行教 育培训,使其掌握本单位安全隐患、危险源辨识和风险评价基本方法以及风险管控措施,并保留培训 记录。
6.2.2 培训方式可与常规安全生产教育培训相结合,可聘请专业机构人员开展相关培训,也可由公司 内部专业人士开展培训。
5
DB4403/T 267—2022
6.3 运行机制
6.3.1 履责机制
明确供水企业主要负责人、分管领导、安全管理部门和岗位人员的责任,建立安全生产风险管理 工作的内部审查机制,健全监督与问责机制。
6.3.2 改进机制
着力构建供水企业自我检验、自我修复、自我优化的安全生产风险管理持续改进机制。
6.3.3 沟通机制
建立不同职能和层级间的内部沟通和用于与相关方的外部风险管控沟通机制。
6.3.4 防控机制
建立供水企业重大风险的联防联控机制。
6.3.5 咨询机制
建立健全风险评估机构和专家咨询等合作机制。
7 风险评估
7.1 风险辨识
7.1.1 准备工作
7.1.1.1 供水企业应精心组织、策划,收集、处理风险辨识相关资源与信息,确保风险辨识全面、充 分。在开展风险辨识与评估前,要做好前期的信息收集与准备,应包括但不限于:
——相关法规、政策规定和标准;
——生产工艺流程;
——作业清单及作业指导书等;
——施工组织设计、施工方案等;
——生产运行使用的危险物质(含危险化学品)及相关安全技术说明;
——设备设施运行方案、操作运行规程、维修措施、应急处置措施;
——相关安全评价报告;
——相关行业事故资料。
7.1.1.2 供水企业应采用适用的辨识方法,对作业单元内存在的危险有害因素进行辨识,通过对物的 状态、环境及管理的因素和人的行为进行辨识,并按照GB/T 6441—1986和GB/T 13861—2022的相关要 求,综合考虑起因物、引起事故的诱导性原因、致害物、伤害方式等,确定事故类别。
7.1.1.3 供水企业应组织全员对自来水厂内安全风险进行全面、系统的辨识,排查自来水厂范围内容 易发生生产安全事故的场所、设备和作业。
7.1.1.4 安全风险辨识范围应覆盖自来水厂生产过程中涉及的作业活动、设备及建构筑物等,识别每 个单元中的风险点、危险源,应包括但不限于:
——进入该物理分区的人员活动、常规和非常规作业活动;
——该物理分区的所有设施、设备、车辆;
——该物理分区的所有建构筑物;
6
DB4403/T 267—2022
——原材料、辅助材料、危险物质;
——工艺、设备、管理、人员等变更;
——该物理分区的安全管理及应急管理条件;
——生产操作环境影响。
7.1.1.5 安全风险辨识应考虑过去、现在、将来3种时态和正常、异常、紧急3种状态。
7.1.2 划分评估单元
7.1.2.1 安全风险辨识应按照“单位-评估单元-风险点-危险源”的逻辑逐步展开。风险辨识示意图 见图2。
注:单位指一家企业或某个区域,指整体的评估对象。
危险源1
危险源2
风险点1
评估单元1
风险点2
风险点m
危险源n
危险源1
危险源2
单 位
评估单元2
风险点1
风险点2
风险点m
危险源n
评估单元k
图2 风险辨识示意图
7.1.2.2 供水企业可按照内部业务系统的各阶段、场所位置、生产工艺、设备设施、作业活动或上述 几种方式的结合来划分评估单元。
7.1.2.3 评估单元划分时应遵循范围清晰、大小适中、功能独立、便于分类、易于管理的原则,应具 有明显的界限特征。作业活动应涵盖生产经营全过程所有常规和非常规作业。
注:合理、正确划分作业单元既可顺利开展危险有害因素辨识、风险评估工作,又可保证危险有害因素辨识、风 险评估的全面性和系统性,是整个危险有害因素辨识、风险评估和控制活动的重要一环。
7.1.2.4 自来水厂应根据各水厂现场特点进行划分,自来水厂评估单元划分见表1。
7
DB4403/T 267—2022
表1 自来水厂评估单元划分
|
区域 |
评估单元 |
区域 |
评估单元 |
|
生产区 |
改扩建工程施工区域 |
辅助区 |
改扩建工程施工区域 |
|
抢修工程施工区域 |
抢修工程施工区域 | ||
|
格栅井 |
变配电室 | ||
|
反应池 |
化验室 | ||
|
沉淀池 |
维修车间 | ||
|
滤池 |
普通仓库 | ||
|
深度处理车间 |
生活及办公区 |
改扩建工程施工区域 | |
|
清水池 |
抢修工程施工区域 | ||
|
加药间、消毒间 |
食堂 | ||
|
反冲洗泵房 |
宿舍 | ||
|
送水泵房 |
办公区 | ||
|
回收水池 |
中控室 | ||
|
脱水车间 |
门卫室 |
7.1.3 确认风险点
根据评估单元的划分及作业场所、设施、流程的不同,按照作业场所、设施、流程风险及其伴随 风险的作业过程,确认风险点。
7.1.4 辨识危险源
7.1.4.1 在确认风险点的基础上,进一步辨识危险源,确定危险源存在的部位和方式,以及事故形成 机制及其变化规律。
7.1.4.2 辨识风险需要供水企业全员参与,安全风险辨识应采用适宜的方法和程序,对于设备、设施 场所类可采用安全检查表分析(SCL)等方法;对于作业活动可采用工作危害分析法(JHA)等方法, 见附录A。
7.1.4.3 风险辨识应关注已经发生的风险事件,特别是新近发生的风险事件。
7.2 风险分析
7.2.1 危险有害因素分析
参照GB/T 13861—2022中第4章确立的分类方法,将生产过程危险和有害因素共分为以下四大类: ——人的行为,辨识中应考虑作业过程所有的常规活动和非常规活动;
——物的状态,辨识中应考虑正常、异常、紧急3种状态;
——环境因素,辨识中应考虑内部环境和外部环境;
——管理因素,辨识中应考虑法律、法规、规章、标准、规程和制度的符合性,自身管理需要及 更新情况。
注1:非常规活动是指异常状态、紧急状态的活动。
8
DB4403/T 267—2022
注2:常见的异常状态有监测参数偏离正常值、试生产调试阶段、异常开停车、设备带病作业、临时性变更工艺、 事故排放等。
注 3:常见的紧急状态有监测参数严重超过限值、危险物质大量泄漏、紧急停车、设备事故、压力管道和容器破 裂、停水停电(需要连续供电供水)等。
7.2.2 事故类型分析
7.2.2.1 按照GB/T 6441—1986中企业职工伤亡事故分类,供水行业可能发生的事故类型包括物体打 击、车辆伤害、机械伤害、起重伤害、触电、淹溺、灼烫、火灾、高处坠落、容器爆炸、其他爆炸、 中毒和窒息、其他伤害等后果。
7.2.2.2 结合供水行业常见事故类型包括设备停运、设备损坏,明确风险可能引发人身伤害、财产损 失、环境污染、健康伤害等后果。
7.2.3 可能性分析
可能性分析包括系统脆弱性、现有控制措施的符合性和有效性以及缺陷和不足等。
7.2.4 后果严重性分析
后果严重性分析包括危险引发事故发生时可能造成的人身伤害、健康伤害、财产损失或环境危害。
7.3 风险评价
7.3.1 风险评价规则
辨识出的危险源经过风险分析,分以下两步开展风险评价:
a) 根据极端风险评价规则评价出极端风险等级;
b) 结合危险源实际落实管控措施情况,根据现实风险评价规则评价现实风险等级。
7.3.2 极端风险评价
7.3.2.1 作业活动类危险源可采用作业条件风险程度评价(LEC)进行风险评价,设备、设施场所类 危险源可采用风险矩阵法(L·S)进行风险评价,具体评估流程可参考附录A。
7.3.2.2 采用作业条件风险程度评价法(LEC),风险分析应从识别出的某一特定危险源所引发的事 故(件)(如:高处作业坠落)发生的可能性、人员暴露于危险环境中的频繁程度、事故发生导致的 后果三个方面进行分析,从而为确定风险等级并决定风险是否需要应对和管控提供信息支撑。评价极 端风险时,事故发生的可能性L为最大,再判定人员暴露于危险环境的频繁程度E和事故严重程度C,最 后根据风险等级判定规则评价得出极端风险等级D。
7.3.2.3 采用风险矩阵法(L·S),风险分析应从识别出的某一特定危险源所引发的事故(件)(如: 电缆等老化短路起火)发生的可能性、后果严重性两个方面进行分析,从而为确定风险等级并决定风 险是否需要应对和管控提供信息支撑。评价极端风险时,事故发生的可能性L为最高级别,再判定事故 后果级别S,最后根据风险等级判定规则评价得出极端风险等级R。
7.3.2.4 供水企业在进行风险评价时,可结合现场实际情况和可接受风险,自行编制事故发生的可能 性、严重性、频次、风险值等的取值标准,以确保评价结果符合现场实际。风险判定准则的制定应充 分考虑以下要求:
——有关安全生产法律、法规、规章;
——设计规范、技术标准;
——本单位的安全管理、技术标准;
9
DB4403/T 267—2022
——本单位的安全生产方针和目标等;
——相关方的诉求。
7.3.2.5 对比风险分析结果和风险判定准则以确定风险等级,风险等级从高到低划分为重大风险、较 大风险、一般风险和低风险四个级别,分别用红、橙、黄、蓝四种颜色标示。
7.3.3 现实风险评价
现实风险等级由相应管控措施是否落实决定。极端风险评估为红色、橙色和黄色的风险,现实风
图3 现实风险评价流程
示例:以极端风险等级为红色的危险源为例,现实风险等级判定规则如下:
a) 判断红色极端风险的关键技术与工程措施是否全部落实,若全部落实,则降为橙色风险,进行下一步 判断;否则,现实风险等级仍为红色,判断流程截止;
b) 降为橙色风险后再判断关键人员素养与系统管理措施是否全部落实,若全部落实,则降为黄色风险, 再进行下一步判断;否则,现实风险等级为橙色,判断流程截止;
c) 降为黄色风险后再判断关键个人防护与应急管理措施是否全部落实,若全部落实,现实风险等级为蓝 色;否则,现实风险等级为黄色,判断流程截止。
7.4 风险等级
7.4.1 根据企业实际情况,辨识出每个评估单元的风险点、危险源,分析评价极端风险和现实风险, 确定每个危险源的极端风险等级与现实风险等级。
7.4.2 每个风险点的风险等级(极端风险与现实风险)为该风险点包含的所有危险源评估出的最高等 级;每个评估单元的风险等级(极端风险与现实风险)为该评估单元包含的所有风险点评估出的最高 等级;单位的风险等级(极端风险与现实风险)为该单位包含的所有评估单元评估出的最高等级。
7.4.3 特殊情况,还应考虑危险源的耦合风险或叠加风险。
10
DB4403/T 267—2022
8 风险管控
8.1 风险管控措施
8.1.1 基本原则
8.1.1.1 风险管控措施的选择应考虑可行性、有效性、安全性、合规性、经济合理性等。风险管控措 施分为技术与工程措施、人员素养与系统管理措施、个人防护与应急管理措施三类,风险管控措施分 类图见图4。
合规性 设施设备的隐患排查治理-法律法规标准的符合性
——可靠性 设备设施质量:材质、工艺、制造…-工程可靠性
——先进性 技术和设备的国内外先进程度比较-技术可靠性
风险管控措施② 素质技能 人员安全意识及操作技能
操作规程 操作规程的合理和规范性
人员素养与系统管理措施 管理制度 管理制度的科学和有效性
风险管控措施③ 个体防护用品
应急准备
个体防护与应急管理措施 应急演练
图4 风险管控措施分类图
8.1.1.2 风险管控措施的选择应优先考虑技术与工程措施,再次考虑人员素养与系统管理措施,最后 考虑个人防护与应急管理措施。对于每一个危险源,开展极端风险评价之后,都应判断对应的三类关 键管控措施落实与否来判定现实风险级别上升或下降。
8.1.1.3 根据对自来水厂的风险辨识、分析及评价结果,针对各个危险源,逐个、逐项制定并落实针 对性的三类关键管控措施,具体各类危险源的风险管控措施见附录B。
8.1.2 技术与工程措施
技术与工程措施包括技术控制措施、工程控制措施、防护缺陷控制措施等。通常采用的技术与工 程措施有:
a) 消除,通过对装置、设备设施、工艺等的设计尽可能从根本上消除危险、危害因素,如仓库 或泵房内采用机械提升装置以清除手举或提重物这一危险行为等;
b) 预防,当消除危险、危害因素有困难时,可采取预防性技术措施,预防危险、危害发生,如 使用漏电保护装置、起重量限制器、力矩限制器、起升高度限制器、防坠器等;
c) 封闭,对产生或导致危害的设施或场所进行密闭,如设置安全防护网、安全电压等;
d) 隔离,通过隔离带、栅栏、警戒绳等将人与危险区域隔开,如齿轮等传动装置防护罩、拆除 脚手架设置隔离区、氧气瓶与乙炔瓶分开放置等;
e) 移开或改变方向,如在危险化学品储罐区设置围堰,防止泄露后扩散引发其他危险事件;
11
DB4403/T 267—2022
f) 报警,在易发生故障和危险性较大的地方,设置声、光或声光组合报警装置,如塔式起重机 起重力矩设置声音报警装置。
8.1.3 人员素养与系统管理措施
8.1.3.1 人员素养与系统管理措施包括管理控制措施、教育培训控制措施。
8.1.3.2 管理控制措施包括制定安全管理制度、成立安全管理组织机构、制定安全技术操作规程、编 制专项施工方案、组织专家论证、进行安全技术交底、对安全生产进行监控、进行安全检查、技术检 测以及实施安全奖罚等。
8.1.3.3 教育培训控制措施包括员工入场三级培训、每年再培训、安全管理人员及特种作业人员继续 教育、作业前安全技术交底、体验式安全教育以及其他方面的教育培训。
8.1.4 个人防护与应急管理措施
8.1.4.1 个人防护与应急管理措施包括个体防护控制措施、应急控制措施。
8.1.4.2 个体防护控制措施包括安全帽、安全带、防护服、耳塞、听力防护罩、防护眼镜、防护手套、 绝缘鞋、呼吸器等。
8.1.4.3 应急控制措施包括紧急情况分析、应急预案制定、现场处置方案制定、应急物资准备、应急 队伍建立以及应急演练等。
8.2 风险分级管控
8.2.1 风险管控应遵循风险等级越高,管控层级越高的原则,对不同等级风险确定不同检查、巡查、 管控频次和内容。
8.2.2 供水企业应结合本单位机构设置和管理层级情况,合理确定各级风险管控层级。本文件中管控 层级设置为四级,分别为企业级、部门级、班组级和岗位级,风险管控层级见表2。
表2 风险管控层级
|
极端风险等级 |
标示 |
管控层级 |
责任人员 |
巡查、检查、管控 频次 |
|
重大风险 (Ⅰ级) |
红 |
企业级、部门级(自来水厂)、 班组级、岗位级 |
企业负责人 |
不同等级风险的巡 查、检查、管控频 次由企业根据实际 确定 |
|
较大风险 (Ⅱ级) |
橙 |
部门级(自来水厂)、班组级、岗位级 |
部门负责人 | |
|
一般风险 (Ⅲ级) |
黄 |
班组级、岗位级 |
班组负责人 | |
|
低风险 (Ⅳ级) |
蓝 |
岗位级 |
岗位负责人 |
8.2.3 上一级负责管控的风险,下一级应同时负责管控,并逐级落实具体措施。
8.2.4 风险的管控层级可提高但不应降低。当某等级风险控制措施实施权限超出该等级责任人员职能 范围时,应将管控层级提至相应实施权限责任人员所在层级。
8.2.5 危险化学品重大危险源最高管控层级直接设置为企业级,部门级、班组级和岗位级同时对其进 行管控。
8.2.6 现实风险等级为红色的区域或场所(危险源)应实行准入管理制度,控制作业区的作业人数, 不应有无关人员进入。
8.3 风险动态监测
12
DB4403/T 267—2022
8.3.1 当极端风险等级确定后,无论现实风险等级评估结果如何,风险等级都应在一段时间后自动还 原为极端风险等级,需重新审视和判断关键管控措施的落实情况,重新明确现实风险等级,以实现动 态风险管控。通过判断关键管控措施是否有效落实,以及评估现有管控措施的有效性,确保采取的各 类关键管控措施持续有效。
8.3.2 若极端风险等级为红色,则现实风险等级每3个月自动还原为红色;若极端风险等级为橙色, 则现实风险等级每6个月自动还原为橙色;若极端风险等级为黄色,则现实风险每9个月自动还原为黄 色;若极端风险等级为蓝色,则每12个月重新进行评估。风险等级动态转换示意图见图5。
示例:以极端风险为红色的危险源为例,3个月为1个动态监测周期,3个月后,危险源现实风险等级重新恢复为红 色,需判断3类关键管控措施目前是否仍然有效落实,重新进行现实风险等级评价。
图5 风险等级动态管理示意图
9 文件管理
9.1 文件管理内容
供水企业应完整保存体现安全风险分级管控过程的记录资料,并分类建档管理。至少应包括风险 清单、风险评估报告、风险公告,以及其他文件化成果;涉及重大风险时,其辨识、评价过程记录, 风险控制措施及其实施和改进记录等,应单独建档管理。
注:其他文件化成果,如安全风险分级管控制度、安全风险管控目标责任考核制度、重大风险准入管理制度、教 育培训记录等。
9.2 风险清单
9.2.1 编制目的
为全面摸清自来水厂日常生产、管理中所涉及到的安全风险,并对风险采取分级管控,充分落实 风险管控责任,保障自来水厂安全生产,自来水厂应按照第7章和第8章的规则进行风险评估与管控, 并编制本单位动态风险清单。风险清单参照附录B。
9.2.2 编制要点
13
DB4403/T 267—2022
9.2.2.1 风险清单包含以下内容:
——评估单元:遵循边界清晰、大小适中、功能独立、易于管理的原则,将自来水厂按照区域、 设备设施划分为若干个评估单元;
——风险点:确定每个评估单元存在的风险点。包括场所、设备设施及作业活动。场所如:加药 间、食堂等,设施设备如:吊车、搅拌机等,作业活动如高处作业、有限空间作业等;
——危险源:确定每个风险点存在的危险源。包括能量或危险物质,以及约束或限制能量或危险 物质措施;
——风险描述:描述危险源可能的风险情况,即可能导致事故的情形;
——事故类型:按照GB/T 6441—1986中事故类型,以及设备停运、设备损坏等供水行业常见事 故类型;
——极端风险等级:通过极端风险法对事故发生的可能性和严重性进行分析,确定风险等级。将 风险划分为重大、较大、一般、低风险,分别用红、橙、黄、蓝色进行标示;
——风险管控措施:根据风险特征从技术与工程、人员素养与系统管理、个人防护与应急管理等 方面制定3类关键风险管控措施;
——现实风险等级:根据极端风险等级和风险管控措施落实情况确定风险等级。将风险划分为重 大、较大、一般、低风险,分别用红、橙、黄、蓝色进行标示;
——管控层级及责任人:落实风险管控措施的层级、责任人,风险等级越高管控层级应越高。管 控层级分为企业级、部门级、班组级、岗位级。
9.2.2.2 附录B给出了风险清单示例,各供水企业可结合实际制定风险清单。供水企业应每3个月定期 向属地负有安全监督管理职责的部门报送风险清单。
9.2.3 风险辨识清单
风险辨识清单见表3。
14
DB4403/T 267—2022
表3 自来水厂风险辨识清单
|
序号 |
评估单元 |
风险点 |
危险源 |
极端风险 等级 |
动态管控周期 |
现实风险 等级 |
管控层级 |
责任人 |
|
1 |
改、扩建工程施工区 域 |
基坑开挖施工(明挖施 工、洞挖施工) |
基坑边坡 |
重大风险 |
3个月 |
重大风险 |
企业级 |
企业负责人 |
|
2 |
灌浆工程 |
施工机械 |
重大风险 |
3个月 |
重大风险 |
企业级 |
企业负责人 | |
|
3 |
脚手架工程 |
脚手架 |
重大风险 |
3个月 |
重大风险 |
企业级 |
企业负责人 | |
|
4 |
模板工程及支撑体系 |
支架 |
重大风险 |
3个月 |
重大风险 |
企业级 |
企业负责人 | |
|
5 |
吊装作业 |
吊物 |
重大风险 |
3个月 |
重大风险 |
企业级 |
企业负责人 | |
|
6 |
高处作业 |
作业平台 |
重大风险 |
3个月 |
重大风险 |
企业级 |
企业负责人 | |
|
7 |
动火作业 |
气瓶、火焰 |
重大风险 |
3个月 |
重大风险 |
企业级 |
企业负责人 | |
|
8 |
临时用电 |
用电设备、配电箱 |
较大风险 |
6个月 |
较大风险 |
部门级 |
部门负责人 | |
|
9 |
抢修工程施工区域 |
灌浆工程 |
施工机械 |
重大风险 |
3个月 |
重大风险 |
企业级 |
企业负责人 |
|
10 |
脚手架工程 |
脚手架 |
重大风险 |
3个月 |
重大风险 |
企业级 |
企业负责人 | |
|
11 |
模板工程及支撑体系 |
支架 |
重大风险 |
3个月 |
重大风险 |
企业级 |
企业负责人 | |
|
12 |
吊装作业 |
吊物 |
重大风险 |
3个月 |
重大风险 |
企业级 |
企业负责人 | |
|
13 |
高处作业 |
作业平台 |
重大风险 |
3个月 |
重大风险 |
企业级 |
企业负责人 | |
|
14 |
动火作业 |
气瓶、火焰 |
重大风险 |
3个月 |
重大风险 |
企业级 |
企业负责人 | |
|
15 |
临时用电 |
用电设备、配电箱 |
较大风险 |
6个月 |
较大风险 |
部门级 |
部门负责人 | |
|
16 |
有限空间作业 |
有毒有害气体 |
一般风险 |
9个月 |
一般风险 |
班组级 |
班组负责人 | |
|
17 |
格栅井 |
巡检作业 |
水池、机械设备 |
一般风险 |
9个月 |
一般风险 |
班组级 |
班组负责人 |
|
18 |
检维修作业 |
水池、机械设备 |
低风险 |
12个月 |
低风险 |
岗位级 |
岗位负责人 | |
|
19 |
格栅机 |
格栅机 |
一般风险 |
9个月 |
一般风险 |
班组级 |
班组负责人 | |
|
20 |
电动阀门 |
电动阀门 |
低风险 |
12个月 |
低风险 |
岗位级 |
岗位负责人 |
15
DB4403/T 267—2022
表3 自来水厂风险辨识清单(续)
|
序号 |
评估单元 |
风险点 |
危险源 |
极端风险 等级 |
动态管控周期 |
现实风险 等级 |
管控层级 |
责任人 |
|
21 |
反应池 |
巡检作业 |
水池、机械设备 |
一般风险 |
9个月 |
一般风险 |
班组级 |
班组负责人 |
|
22 |
检维修作业 |
水池、机械设备 |
低风险 |
12个月 |
低风险 |
岗位级 |
岗位负责人 | |
|
23 |
电动阀门 |
电动阀门 |
低风险 |
12个月 |
低风险 |
岗位级 |
岗位负责人 | |
|
24 |
药剂投加系统 |
药剂投加系统 |
一般风险 |
9个月 |
一般风险 |
班组级 |
班组负责人 | |
|
25 |
搅拌机 |
搅拌机 |
一般风险 |
9个月 |
一般风险 |
班组级 |
班组负责人 | |
|
26 |
沉淀池 |
巡检作业 |
水池、机械设备 |
一般风险 |
9个月 |
一般风险 |
班组级 |
班组负责人 |
|
27 |
检维修作业 |
水池、机械设备 |
低风险 |
12个月 |
低风险 |
岗位级 |
岗位负责人 | |
|
28 |
电动阀门 |
电动阀门 |
低风险 |
12个月 |
低风险 |
岗位级 |
岗位负责人 | |
|
29 |
刮泥机 |
刮泥机 |
低风险 |
12个月 |
低风险 |
岗位级 |
岗位负责人 | |
|
30 |
滤池 |
巡检作业 |
水池、机械设备 |
一般风险 |
9个月 |
一般风险 |
班组级 |
班组负责人 |
|
31 |
检维修作业 |
水池、机械设备 |
低风险 |
12个月 |
低风险 |
岗位级 |
岗位负责人 | |
|
32 |
电动阀门 |
电动阀门 |
低风险 |
12个月 |
低风险 |
岗位级 |
岗位负责人 | |
|
33 |
起重机械 |
起重机械 |
一般风险 |
9个月 |
一般风险 |
班组级 |
班组负责人 | |
|
34 |
深度处理车间 |
巡检作业 |
水池、机械设备 |
一般风险 |
9个月 |
一般风险 |
班组级 |
班组负责人 |
|
35 |
检维修作业 |
水池、机械设备 |
低风险 |
12个月 |
低风险 |
岗位级 |
岗位负责人 | |
|
36 |
泵类 |
泵类 |
一般风险 |
9个月 |
一般风险 |
班组级 |
班组负责人 | |
|
37 |
电动阀门 |
电动阀门 |
低风险 |
12个月 |
低风险 |
岗位级 |
岗位负责人 | |
|
38 |
空气压缩机 |
空气压缩机 |
一般风险 |
9个月 |
一般风险 |
班组级 |
班组负责人 | |
|
39 |
气瓶 |
气瓶 |
一般风险 |
9个月 |
一般风险 |
班组级 |
班组负责人 | |
|
40 |
起重机械 |
起重机械 |
一般风险 |
9个月 |
一般风险 |
班组级 |
班组负责人 | |
|
41 |
控制柜 |
控制柜 |
一般风险 |
9个月 |
一般风险 |
班组级 |
班组负责人 | |
|
42 |
超滤膜车间 |
超滤膜组件 |
低风险 |
12个月 |
低风险 |
岗位级 |
岗位负责人 |
16
表3 自来水厂风险辨识清单(续)
DB4403/T 267—2022
|
序号 |
评估单元 |
风险点 |
危险源 |
极端风险 等级 |
动态管控周期 |
现实风险 等级 |
管控层级 |
责任人 |
|
43 |
深度处理车间 |
超滤膜车间 |
超滤膜清洗 |
低风险 |
12个月 |
低风险 |
岗位级 |
岗位负责人 |
|
44 |
臭氧-活性炭/砂滤处理 |
臭氧发生器 |
较大风险 |
6个月 |
较大风险 |
部门级 |
部门负责人 | |
|
45 |
液氧储罐 |
一般风险 |
9个月 |
一般风险 |
班组级 |
班组负责人 | ||
|
46 |
活性炭滤池/砂滤滤池 |
一般风险 |
9个月 |
一般风险 |
班组级 |
班组负责人 | ||
|
47 |
药剂投加系统 |
药剂投加系统 |
一般风险 |
9个月 |
一般风险 |
班组级 |
班组负责人 | |
|
48 |
清水池 |
有限空间作业 |
有毒有害气体 |
一般风险 |
9个月 |
一般风险 |
班组级 |
班组负责人 |
|
49 |
电动阀门 |
电动阀门 |
低风险 |
12个月 |
低风险 |
岗位级 |
岗位负责人 | |
|
50 |
药剂投加系统 |
药剂投加系统 |
一般风险 |
9个月 |
一般风险 |
班组级 |
班组负责人 | |
|
51 |
加药间、消毒间 |
日常作业 |
化学药剂 |
一般风险 |
9个月 |
一般风险 |
班组级 |
班组负责人 |
|
52 |
检维修作业 |
化学药剂 |
低风险 |
12个月 |
低风险 |
岗位级 |
岗位负责人 | |
|
53 |
泵类 |
泵类 |
一般风险 |
9个月 |
一般风险 |
班组级 |
班组负责人 | |
|
54 |
起重机械 |
起重机械 |
一般风险 |
9个月 |
一般风险 |
班组级 |
班组负责人 | |
|
55 |
药剂投加系统 |
药剂投加系统 |
一般风险 |
9个月 |
一般风险 |
班组级 |
班组负责人 | |
|
56 |
搅拌机 |
搅拌机 |
一般风险 |
9个月 |
一般风险 |
班组级 |
班组负责人 | |
|
57 |
反冲洗泵房 |
巡检作业 |
噪声、机械设备 |
一般风险 |
9个月 |
一般风险 |
班组级 |
班组负责人 |
|
58 |
检维修作业 |
噪声、机械设备 |
低风险 |
12个月 |
低风险 |
岗位级 |
岗位负责人 | |
|
59 |
泵类 |
泵类 |
一般风险 |
9个月 |
一般风险 |
班组级 |
班组负责人 | |
|
60 |
电动阀门 |
电动阀门 |
低风险 |
12个月 |
低风险 |
岗位级 |
岗位负责人 | |
|
61 |
起重机械 |
起重机械 |
一般风险 |
9个月 |
一般风险 |
班组级 |
班组负责人 | |
|
62 |
控制柜 |
控制柜 |
一般风险 |
9个月 |
一般风险 |
班组级 |
班组负责人 | |
|
63 |
送水泵房 |
巡检作业 |
噪声、机械设备 |
一般风险 |
9个月 |
一般风险 |
班组级 |
班组负责人 |
17
DB4403/T 267—2022
表3 自来水厂风险辨识清单(续)
|
序号 |
评估单元 |
风险点 |
危险源 |
极端风险 等级 |
动态管控周期 |
现实风险 等级 |
管控层级 |
责任人 |
|
64 |
送水泵房 |
检维修作业 |
噪声、机械设备 |
低风险 |
12个月 |
低风险 |
岗位级 |
岗位负责人 |
|
65 |
泵类 |
泵类 |
一般风险 |
9个月 |
一般风险 |
班组级 |
班组负责人 | |
|
66 |
电动阀门 |
电动阀门 |
低风险 |
12个月 |
低风险 |
岗位级 |
岗位负责人 | |
|
67 |
起重机械 |
起重机械 |
一般风险 |
9个月 |
一般风险 |
班组级 |
班组负责人 | |
|
68 |
控制柜 |
控制柜 |
一般风险 |
9个月 |
一般风险 |
班组级 |
班组负责人 | |
|
69 |
回收水池 |
泵类、电动阀门 |
泵类 |
一般风险 |
9个月 |
一般风险 |
班组级 |
班组负责人 |
|
70 |
电动阀门 |
电动阀门 |
低风险 |
12个月 |
低风险 |
岗位级 |
岗位负责人 | |
|
71 |
脱水车间 |
检维修作业 |
机械设备 |
低风险 |
12个月 |
低风险 |
岗位级 |
岗位负责人 |
|
72 |
浓缩机 |
浓缩机 |
一般风险 |
9个月 |
一般风险 |
班组级 |
班组负责人 | |
|
73 |
压滤机 |
压滤机 |
一般风险 |
9个月 |
一般风险 |
班组级 |
班组负责人 | |
|
74 |
搅拌机 |
搅拌机 |
一般风险 |
9个月 |
一般风险 |
班组级 |
班组负责人 | |
|
75 |
传输机 |
传输机 |
一般风险 |
9个月 |
一般风险 |
班组级 |
班组负责人 | |
|
76 |
脱水离心机 |
脱水离心机 |
一般风险 |
9个月 |
一般风险 |
班组级 |
班组负责人 | |
|
77 |
切割破碎机 |
切割破碎机 |
一般风险 |
9个月 |
一般风险 |
班组级 |
班组负责人 | |
|
78 |
变配电室 |
巡检作业 |
电气设备 |
一般风险 |
9个月 |
一般风险 |
班组级 |
班组负责人 |
|
79 |
检维修作业 |
电气设备 |
低风险 |
12个月 |
低风险 |
岗位级 |
岗位负责人 | |
|
80 |
高压环网柜/变压器/低 压配电柜/控制柜 |
高压环网柜/变压器/低压 配电柜/控制柜 |
一般风险 |
9个月 |
一般风险 |
班组级 |
班组负责人 | |
|
81 |
化验室 |
化学实验 |
化学药剂、化学仪器 |
一般风险 |
9个月 |
一般风险 |
班组级 |
班组负责人 |
|
82 |
化验室 |
化学实验 |
化学仪器设备 |
一般风险 |
9个月 |
一般风险 |
班组级 |
班组负责人 |
|
83 |
化学实验 |
化学药品 |
一般风险 |
9个月 |
一般风险 |
班组级 |
班组负责人 | |
|
84 |
维修车间 |
巡检作业 |
水池、机械设备 |
低风险 |
12个月 |
低风险 |
岗位级 |
岗位负责人 |
18
表3 自来水厂风险辨识清单(续)
DB4403/T 267—2022
|
序号 |
评估单元 |
风险点 |
危险源 |
极端风险 等级 |
动态管控周期 |
现实风险 等级 |
管控层级 |
责任人 |
|
85 |
维修车间 |
动火作业 |
气瓶、火焰 |
低风险 |
12个月 |
低风险 |
岗位级 |
岗位负责人 |
|
86 |
起重作业 |
起重机械、吊物 |
一般风险 |
9个月 |
一般风险 |
班组级 |
班组负责人 | |
|
87 |
气瓶 |
气瓶 |
一般风险 |
9个月 |
一般风险 |
班组级 |
班组负责人 | |
|
88 |
普通仓库 |
货物搬运储存 |
货物、电气线路 |
一般风险 |
9个月 |
一般风险 |
班组级 |
班组负责人 |
|
89 |
叉车 |
叉车 |
一般风险 |
9个月 |
一般风险 |
班组级 |
班组负责人 | |
|
90 |
食堂 |
用电 |
用电设备 |
一般风险 |
9个月 |
一般风险 |
班组级 |
班组负责人 |
|
91 |
气瓶 |
气瓶 |
一般风险 |
9个月 |
一般风险 |
班组级 |
班组负责人 | |
|
92 |
宿舍 |
用电 |
用电设备 |
一般风险 |
9个月 |
一般风险 |
班组级 |
班组负责人 |
|
93 |
办公区 |
办公区 |
用电设备 |
一般风险 |
9个月 |
一般风险 |
班组级 |
班组负责人 |
|
94 |
茶水间 |
热水器 |
一般风险 |
9个月 |
一般风险 |
班组级 |
班组负责人 | |
|
95 |
中控室 |
中控室 |
电气设备 |
一般风险 |
9个月 |
一般风险 |
班组级 |
班组负责人 |
|
96 |
门卫室 |
门卫室 |
应急装备 |
一般风险 |
9个月 |
一般风险 |
班组级 |
班组负责人 |
|
97 |
应急值班 |
一般风险 |
9个月 |
一般风险 |
班组级 |
班组负责人 |
注:现实风险等级参照极端风险等级,企业可根据上述评价规则确定实际现实风险等级。
19
DB4403/T 267—2022
9.2.4 审核要求
供水企业辨识出风险清单后,应逐级审核,明确危险源的风险等级,并及时告知相应 的管控层级。
9.3 风险评估报告
9.3.1 自来水厂根据自身需要及当地水行政主管部门的具体要求,编制风险评估报告,风 险评估报告可由单位自行编制或委托专业机构编制,定期报送风险评估管控有关情况。编 制风险评估报告要求结构完整、数据可靠、方法合理、内容详实、结论清晰、措施可行。 有条件的可组织专家评审,形成评审意见。
9.3.2 风险评估报告文字应简洁,附必要的图表或照片。
9.3.3 风险评估报告的内容应包括但不限于以下几个方面:
——导言,介绍评估目的、依据、原则、内容(范围、对象)、过程、方法等;
——风险辨识;
——风险分析;
——风险评价,根据风险可能性和后果分析结果,得到红、橙、黄、蓝四级危险源清 单,具体清单可以作为附件;
——评估结论,风险评估结果的科学性、可行性、含理性及存在问题;
——措施与建议,包括现有风险控制措施,针对存在的问题提出的风险管控措施和建 议;
——其他需要重点说明的问题;
——附件,包括各具体事件的风险清单和必要说明等。
9.4 风险公告
9.4.1 安全风险公告栏
自来水厂应向本水厂成员及外来人员公告本单位的较大以上风险信息,包括场所名称、 场所主要风险、风险等级、可能引发的事故类型、安全标志、事故预防措施、应急救援措 施、应急联系电话等信息。安全风险公告栏应符合附录C的要求。
9.4.2 岗位安全风险告知卡
9.4.2.1 为使员工能准确掌握岗位存在的危害因素、潜在风险、可能出现的事故,以及安 全防范和应急处置措施,在极端风险等级为较大及以上的作业活动或岗位应设置岗位安全 风险告知卡。
9.4.2.2 岗位安全风险告知卡内容应至少包括岗位名称、涉及的作业活动、岗位存在的主 要风险、风险等级、可能引发的事故类型、安全标志、事故预防措施、应急处置措施、应 急联系方式等信息。岗位安全风险告知卡应符合附录C的要求。
9.4.3 安全风险四色分布图
9.4.3.1 自来水厂应使用红、橙、黄、蓝四种颜色,将各评估单元的风险等级标示在总平 面布置图中形成安全风险四色分布图,并在醒目位置设置安全风险四色分布图,公告企业 风险分布情况。
9.4.3.2 安全风险四色分布图包括极端风险四色分布图和现实风险四色分布图,其中现实 风险四色图每6个月应更新1次。安全风险四色分布图应符合附录C的要求。
20
DB4403/T 267—2022
9.4.4 作业安全风险比较图
9.4.4.1 自来水厂应使用红、橙、黄、蓝四色柱状图,将作业活动按照风险等级从高到低 的顺序标示,形成作业安全风险比较图。供水企业应在醒目位置或作业场所将作业安全风 险比较图对员工进行公告。
9.4.4.2 作业安全风险比较图包括作业极端风险比较图和作业现实风险比较图,其中作业 现实风险比较图每6个月应更新1次。作业安全风险比较图应符合附录C的要求。
10 持续改进
10.1 定期更新
10.1.1 供水企业应定期根据各级基于风险管控的隐患排查结果和员工反馈意见,进行统 计分析,从危险源辨识是否全面,管控措施是否持续有效等方面倒推安全风险分级管控工 作的全面性和运行的有效性,并及时根据倒推结果对安全风险分级管控工作进行更新完善。
10.1.2 供水企业应每年开展1次(法律法规另有规定的,从其规定)安全风险辨识、分析、 评价、分级、管控工作。在生产工艺、设备设施、作业环境、人员行为和管理体系等发生 变化时,应立即开展辨识、分析、评价、分级、管控工作。
10.2 专项辨识
供水企业应主动根据以下情况变化对风险管控的影响,及时针对变化范围开展专项辨 识评估,更新风险信息:
——法律、法规、规章、标准、规程和制度发生变更;
——组织机构发生重大调整;
——物料、作业条件、生产工艺流程或关键设备设施发生变化;
——改建、扩建项目建设;
——试生产(运行)和重要设备检维修等非正常工况;
——本单位发生生产安全事故或相关行业领域发生重特大生产安全事故;
——极端天气、重大节假日等;
——行业管理部门有专项工作部署。
10.3 年度评审
供水企业至少每年组织企业、部门、班组、岗位人员,并视情况邀请外部专家,对安 全风险分级管控、隐患排查工作进行1次年度评估,重点总结上一年度运行中存在的问题, 对安全风险分级管控工作的适宜性、充分性、有效性,对风险管控排查工作的针对性、实 用性、闭合性进行评审,对评估出的问题落实责任人限期整改,并对评审结果进行公示和 公布。
21
DB4403/T 267—2022
附 录 A
(资料性) 风险评估方法介绍
A.1 工作危害分析法(JHA)
A.1.1 一般规定
工作危害分析的主要目的是防止从事某项作业活动的人员、设备和其他系统受到影响 或损害。该方法包括作业活动划分、选定、危害因素识别、风险评估、判定风险等级、制 定控制措施等内容。
A.1.2 作业活动的划分
可按生产流程的阶段、地理区域、装置、作业任务、生产阶段/服务阶段或部门划分, 也可结合起来进行划分。如:
a) 日常操作:工艺操作、设备设施操作、现场巡检;
b) 异常情况处理:停水、停电、停气(汽)、停风、停止进料的处理,设备故障处 理;
c) 开停车:开车、停车及交付前的安全条件确认;
d) 作业活动:动火、受限空间、高处、临时用电、爆破、掘进、吊装等特殊作业; 采样各种工序工艺作业;
e) 管理活动:变更管理、现场监督检查、应急演练等。
A.1.3 工作危害分析的主要步骤
A.1.3.1 划分并确定作业活动,填入《作业活动清单》,参照表A.1。
表A.1 作业活动清单
(记录受控号): 单位: №:
|
序号 |
岗位/地点 |
作业活动 |
活动频率 |
备注 |
|
1 | ||||
|
2 | ||||
|
注:活动频率可分为频繁进行、特定时间进行、定期进行。 | ||||
A.1.3.2 将每项作业活动分解为若干个相连的工作步骤。
注:如果作业流程长、步骤多,可先将该作业活动分为几大块,每块为一个大步骤,再将大步骤分 为几个小步骤。
A.1.3.3 辨识每一步骤的潜在危害填入《工作危害分析(JHA)评价表》,LEC法参照表A.2, 风险矩阵法参照表A.3。
22
DB4403/T 267—2022
表A.2 工作危害分析(JHA)评价表(适用于LEC法)
(记录受控号) 单位: 工作岗位: 工作任务: №:
|
序 号 |
工作 步骤 |
危害因素或潜在事件 (人、物、作业环境、 管理) |
主要 后果 |
控制 措施 |
L |
E |
C |
D |
风险 等级 |
|
1 | |||||||||
|
2 | |||||||||
|
分析人员: |
分析日期: |
审核人: |
审核日期: |
审定人: |
审定日期: | ||||
|
注:审核人为所在岗位/工序负责人,审定人为上级负责人。 | |||||||||
表A.3 工作危害分析(JHA)评价表(适用于风险矩阵法)
(记录受控号) 单位: 工作岗位: 工作任务: №:
|
序 号 |
工作步骤 |
危害因素或潜在事 件(人、物、作业环 境、管理) |
主要后果 |
控制措施 |
L |
S |
R |
风险 等级 |
|
1 | ||||||||
|
2 | ||||||||
|
分析人员: |
分析日期: |
审核人: |
审核日期: |
审定人: |
审定日期: | |||
|
注:审核人为所在岗位/工序负责人,审定人为上级负责人。 | ||||||||
A.1.3.4 识别现有安全控制措施,可从工程控制、管理措施和个体防护各方面考虑。如果 现有控制措施不足以控制此项风险,应提出建议的控制措施。
A.1.3.5 对危害因素产生的主要后果分析。
A.1.3.6 根据评价准则进行风险评估,确定风险等级,实施风险管控。
A.2 安全检查表分析法(SCL)
A.2.1 一般规定
安全检查表分析法的目的是针对拟分析的对象列出一些项目,识别出一般工艺设备和 操作有关的已知类型的危险有害因素、设计缺陷以及事故隐患,查出各层次的不安全因素, 确定检查项目;以提问的方式将检查项目按系统的组成顺序编制成表,进行检查或评审。
A.2.2 安全检查表编制的依据
编制依据包括以下内容:
a) 有关标准、规程、规范及规定;
b) 国内外事故案例和从业单位以往的事故情况;
c) 系统分析确定的危险部位及防范措施;
d) 分析人员的经验和可靠的参考资料;
e) 有关研究成果,同行业或类似行业检查表等。
23
DB4403/T 267—2022
A.2.3 安全检查表编制要求
A.2.3.1 应考虑设备设施表面的危害,以及设备设施内部隐藏的内部构件和工艺的危害。
A.2.3.2 对设备设施进行危害识别时,应按以下流程进行:
a) 识别工程地址,考虑地形、地貌、地质、周围环境、安全距离方面的危害;
b) 识别工程内部平面布局、功能分区、危险设施布置、安全距离等方面的危害;
c) 识别具体的建构筑物等。
注:对于一个具体的设备设施,可按照系统逐个检查,或按照部位顺序,从上到下、从左到右或从 前到后。
A.2.3.3 分析对象是设备设施、作业场所和工艺流程等时,检查项目应是静态的物,不应 有人的活动。
A.2.3.4 检查项目列出后,还应列出与之对应的依据文件。检查项目应全面,检查内容应 细致。
A.2.3.5 控制措施应列出安全检查、消防检查、监测检验等常规的控制措施,以及工艺或 设备本身带有的控制措施等。
A.2.4 安全检查表编制步骤
A.2.4.1 列出《设备设施清单》,参照表A.4。
表A.4 设备设施清单
(记录受控号) 单位: 单元/装置: №:
|
序号 |
设备名称 |
类别/位号 |
所在部位 |
备注 |
|
1 | ||||
|
2 | ||||
|
注1:设备类别可分为通用设备类、通用机械类、动力类、化工机械类、起重运输类、其他设备类。 注2:参照设备设施台账,按照类别归类,按照单元或装置进行划分,同一单元或装置内介质、型号 相同的设备设施可合并,在备注内写明数量。 注3:厂房、固定设施、手持电动工具、办公场所等可放在表的最后列出。 | ||||
A.2.4.2 确定编制人员。包括熟悉系统的人员,如工段/班组长、技术员、设备员、安全 员等,熟悉系统包括工程系统的结构、功能、工艺流程、操作条件、布置和已有的安全卫 生设施。
A.2.4.3 收集资料。收集有关安全法律、法规、规章、标准、规程、制度及本系统过去发 生的事故资料,作为编制安全检查表的依据。
A.2.4.4 判别危险有害因素。按功能或结构将系统划分为子系统或单元,逐个分析潜在的 危险因素。
A.2.4.5 列出安全检查分析评价表。针对危险因素和有关规章制度、以往的事故教训以及 本单位的经验,确定安全检查表的要点和内容,填入《安全检查分析(SCL)评价表》,LEC 法参照表A.5,风险矩阵法参照表A.6。
24
表A.5 安全检查分析(SCL)评价表
DB4403/T 267—2022
(记录受控号) 单位: 区域/工艺过程: 装置/设备/设施: №:
|
序号 |
检查 项目 |
标准 |
不符合标 准的情况 及后果 |
偏差发生 频率 |
现有安全 控制措施 |
安全设 施 |
L |
E |
C |
D |
风险 等级 |
建议改 进措施 |
备注 |
|
分析人员: |
日期: |
审核人: |
日期: |
审定人: |
审定日期: | ||||||||
|
注1:审核人为所在岗位负责人,审定人为上级领导或车间主任。 注2:偏差发生频率:从未发生、曾经发生。 | |||||||||||||
表A.6 安全检查分析(SCL)评价表
(记录受控号) 单位: 区域/工艺过程: 装置/设备/设施: №:
|
序号 |
检查项目 |
标准 |
不符合标准的情 况及后果 |
现有安全控 制措施 |
L |
S |
R |
风险 等级 |
建议改 进措施 |
备注 |
|
分析人员: |
日期: |
审核人: |
日期: |
审定人: |
审定日期: | |||||
|
注1:审核人为所在岗位负责人,审定人为上级领导或车间主任。 注2:偏差发生频率:从未发生、曾经发生。 | ||||||||||
A.3 作业条件风险程度评价(LEC)
A.3.1 基本原理是根据危险源辨识确定的危害及影响程度与危害及影响事件发生的可能 性乘积确定风险的大小。
A.3.2 可使用公式(A.1)定量计算每一种危险源所带来的风险大小。
D=L×E×C …………………………(A.1)
式中: D——风险值; L——发生事故的可能性大小; E——暴露于危险环境的频繁程度; C——发生事故产生的后果。
A.3.3 当用概率来表示事故发生的可能性大小(L)时,绝对不可能发生的事故概率为0; 而必然发生的事故概率为1。从系统安全角度考虑,绝对不发生事故是不可能的,所以人为 地将发生事故可能性极小的分数定为0.1,而必然要发生的事故的分数定为10,介于这两种 情况之间的情况指定为若干中间值,事故发生的可能性分指标见表A.7。
25
DB4403/T 267—2022
表A.7 事故发生的可能性分值表
|
分数值 |
事故发生的可能性 |
分数值 |
事故发生的可能性 |
|
10 |
完全可能预料 |
0.5 |
很不可能,可能设想 |
|
6 |
相当可能 |
0.2 |
极不可能 |
|
3 |
可能,但不经常 |
0.1 |
实际不可能 |
|
1 |
可能性小,完全意外 |
A.3.4 当确定暴露于危险环境的频繁程度(E)时,人员出现在危险环境中的时间越多, 则危险性越大,规定连续出现在危险环境的情况定为10,而非常罕见地出现在危险环境中 定为0.5,介于两者之间的各种情况规定若干个中间值,人员暴露于危险环境的频繁程度分 值表见表A.8。
表A.8 人员暴露于危险环境的频繁程度分值表
|
分数值 |
频繁程度 |
分数值 |
频繁程度 |
|
10 |
连续暴露 |
2 |
每月一次暴露 |
|
6 |
每天工作时间内暴露 |
1 |
每年几次暴露 |
|
3 |
每周一次,或偶然暴露 |
0.5 |
非常罕见地暴露 |
A.3.5 关于发生事故产生的后果(C),由于事故造成的人身伤害与财产损失变化范围很 大,规定其分数值为1~100,将需要救护的轻微损伤或较小财产损失的分数规定为1,将造 成多人死亡或重大财产损失的可能性分数规定为100,其他情况的数值均为1与100之间,后 果严重程度分值表见表A.9。
表A.9 后果严重程度分值表
|
分数值 |
后果 |
|
100 |
造成30人以上(含30人)死亡,或者100人以上重伤(包括急性工业中毒,下同),或者1 亿元以上直接经济损失。 |
|
40 |
造成10人~29人死亡,或者50人~99人重伤,或者5000万元以上1 亿元以下直接经济损失。 |
|
15 |
造成3人~9人死亡,或者10人~49人重伤,或者1000万元以上5000 万元以下直接经济损失。 |
|
7 |
造成3人以下死亡,或者10人以下重伤,或者1000万元以下直接经济损失。 |
|
3 |
无人员死亡,致残或重伤,或很小的财产损失。 |
|
1 |
引人注目,不利于基本的安全要求。 |
A.3.6 风险值(D)求出之后,单位应根据实际情况确定风险级别的界限值,以符合持续 改进的思想。表A.10可作为确定风险级别界限值的参考。
26
表A.10 风险等级
DB4403/T 267—2022
|
D值 |
危险程度 |
风险等级 |
|
D≥720 |
不可容许的危险 |
重大风险(红) |
|
720>D≥240 |
高度危险 |
较大风险(橙) |
|
240>D≥150 |
中度危险 |
一般风险(黄) |
|
150>D≥70 |
轻度和可容许的危险 |
低风险(蓝) |
A.4 风险矩阵法(L·S)
A.4.1 辨识出每个作业单元可能存在的危害,并判定这种危害可能产生的后果及产生这种 后果的可能性,二者相乘,得出所确定危险源的风险等级,根据不同级别的风险,采取相 应的风险控制措施。
A.4.2 可使用公式(A.2)定量计算每一种危险源所带来的风险大小。
R=L×S …………………………(A.2)
式中:
R——风险值;
L——发生伤害的可能性;
S——发生伤害后果的严重程度。
A.4.3 事故发生的可能性(L)和伤害后果的严重程度(S)等级划分标准见表A.11和A.12。
表A.11 事故发生的可能性赋值表
|
级别 |
说明 |
描述 |
|
1 |
基本不可能发生 |
评估范围内未发生过,类似区域/行业也极少发生 |
|
2 |
较不可能发生 |
评估范围内未发生过,类似区域/行业偶有发生 |
|
3 |
可能发生 |
评估范围内发生过,类似区域/行业也偶有发生;评估范围未发生过, 但类似区域/行业发生频率较高 |
|
4 |
很可能发生 |
评估范围内发生频率较高 |
|
5 |
极有可能发生 |
评估范围内发生频率极高 |
27
DB4403/T 267—2022
表A.12 事故发生的后果严重性赋值表
|
级别 |
说明 |
描述 |
|
1 |
影响很小 |
无伤亡、财产损失轻微,不会造成不良的社会舆论和政治影响 |
|
2 |
影响一般 |
造成3人以下死亡或10人以下重伤,现场处理(第一时间救助)可以立刻缓解事 故,中度财产损失,有较小的社会舆论,一般不会产生政治影响 |
|
3 |
影响较大 |
造成3人以上10人以下死亡或10人以上50人以下重伤,需要外部援救才能缓解, 较大财产损失或赔偿支付,在一定范围内造成不良的舆论影响,产生一定的政治影 响 |
|
4 |
影响重大 |
造成10人以上30人以下死亡或50人以上100人以下重伤,严重财产损失,造成 恶劣的社会舆论,产生较大的政治影响 |
|
5 |
影响特别 重大 |
造成30人以上死亡或100人以上重伤,巨大财产损失,造成极其恶劣的社会舆论 和政治影响 |
|
注1:本表所称的“以上”包括本数,所称的“以下”不包括本数。 注2:风险后果中死亡人数、重伤人数的确定是参照《生产安全事故报告和调查处理条例》进行描述 的;若其他行业/领域对后果严重性有明确分级的,可依据相关规定具体实施。 | ||
A.4.4 确定了S和L值后,根据公式(A.2)计算出风险度R的值,表A.13可作为确定风险级 别界限值的参考。
表A.13 风险矩阵
|
风险等级 |
后果 | |||||
|
影响特别重大 |
影响重大 |
影响较大 |
影响一般 |
影响很小 | ||
|
可 能 性 |
极有可能发生 |
25 |
20 |
15 |
10 |
5 |
|
很可能发生 |
20 |
16 |
12 |
8 |
4 | |
|
可能发生 |
15 |
12 |
9 |
6 |
3 | |
|
较不可能发生 |
10 |
8 |
6 |
4 |
2 | |
|
基本不可能发生 |
5 |
4 |
3 |
2 |
1 | |
|
注: 重大风险(红) □较大风险(橙) □一般风险(黄) 低风险(蓝) | ||||||
28
DB4403/T 267—2022
表B.1给出了自来水厂安全风险清单示例。
附 录 B
(资料性) 风险清单(示例)
表B.1 自来水厂安全风险清单
|
序 |
评估 |
风险 |
危险 |
风险描述 |
事故 |
极端风险 |
关键技术与工程措施 |
关键人员素养与系统 |
关键个人防 护与应急管 理措施 |
现实 风险 等级 |
管 控 |
责 任 人 | |||||
|
L |
E |
C |
D |
风险 等级 |
动态 | ||||||||||||
|
号 |
单元 |
点 |
源 |
类型 |
L |
S |
R |
管控 周期 |
管理措施 |
层 级 | |||||||
|
1 |
改、 扩建 工程 施工 区域 |
基坑 开挖 施工 (明 挖施 工、 洞挖 施 工) |
基坑 边坡 |
1.无关人员进入基 坑作业区域; 2.施工机械人员操 作失误或无人指挥 作业; 3.未正确佩戴个人 防护用品; 4.个人防护用品缺 陷; 5.应急物资不足; 6.不良地质; 7.恶劣天气; 8.基坑开挖、支护 |
坍塌 透水 物体 打击 冒顶 片帮 机械 伤害 |
10 |
6 |
15 |
900 |
重大 风险 |
3个月 |
1.开挖前确定截水、排 设施; 2.执行先撑后挖、分层 分块对称平衡开挖原 则,不应乱挖或超挖, 开挖顺序、方法应与设 计工况一致; 3.基坑开挖后及时进 行支撑结构与主体的 施做; 4.基坑开挖作业时严 格禁止挖“神仙土”, 相关作业禁止碰撞钢 支撑或堆积荷载; 5.开挖至设计坑底标 高以后,及时验收,及 时浇筑混凝土垫层。 |
1.作业人员按照安全 操作规程进行操作; 2.涉及联合作业的, 现场应指派人员进行 指挥协调; 3.开挖深度超过 3 m (含3 m)的基坑(槽) 的土方开挖、支护、 降水工程以及开挖深 度虽未超过3 m,但地 质条件、周围环境和 地下管线复杂,或影 响毗邻建、构筑物安 全的基坑(槽)的土 方开挖、支护、降水 工程。应编制专项方 案;其中开挖深 |
1.划定作业 区域,设置 警示标志及 警戒人员, 严禁无关人 员进入,桩 孔开挖掘进 时,孔下作 业不应超过 2人; 2.作业人员 正确使用穿 戴安全帽、 安全鞋等防 护用品; |
重大 风险 |
企 业 级 |
企 业 负 责 人 |
29
DB4403/T 267—2022
表B.1 自来水厂安全风险清单(第2页/共56页)
|
序 |
评估单 |
风险 |
危险 |
风险描述 |
事故 |
极端风险 |
关键技术与工程措施 |
关键人员素养与 |
关键个人防 护与应急管 理措施 |
现实 风险 等级 |
管 控 |
责 任 人 | |||||
|
L |
E |
C |
D |
风险 等级 |
动态 | ||||||||||||
|
号 |
元 |
点 |
源 |
类型 |
L |
S |
R |
管控 周期 |
系统管理措施 |
层 级 | |||||||
|
1 |
改、扩 建工程 施工区 域 |
基坑 开挖 施工 (明 挖施 工、 洞挖 施 工) |
基坑 边坡 |
未按规定要求编 制、审批、论证安 全施工方案; 9.未按要求监控 量测; 10.未及时支护; 11.未采取降排水 措施; 12.未在基坑周边 设置防护栏杆,未 在基坑内设置人 员上下专用通道。 |
— |
— |
— |
— |
— |
— |
— |
— |
度超过5 m(含5 m) 的基坑(槽)的土 方开挖、支护、降 水工程应组织专 家论证; 4.由专业工程师 编制专项方案,专 项方案应履行审 核签字手续; 5.组织施工管理 人员、施工人员进 行安全、质量技术 交底,履行签字手 续。 |
3.基坑区按 规范设置逃 生通道; 4.配备抽水 泵等应急排 水设备设 施、以及人 员救治等应 急物资,制 定针对基坑 坍塌、暴雨、 人员救治等 的应急预 案,定期组 织演练。 |
— |
— | |
|
2 |
改、扩 建工程 施工区 域 |
灌浆 工程 |
施工 机械 |
1.特种作业人员 未持证上岗; 2.施工人员违规 施工; 3.未正确佩戴个 人防护用品; 4.灌浆设备、仪 器、仪表不合格; |
触电 机械 伤害 |
10 |
6 |
40 |
240 0 |
重大 风险 |
3个月 |
1.灌浆水泥等各类材 料满足技术和规范要 求; 2.钻孔机械各施工参 数,满足其相应的技术 要求,能方便定位,保 证孔位和孔向; 3.钻孔灌浆设备数量 |
1.严格执行安全 生产制度和操作 规程,做好安全技 术交底; 2.严格执行现场 用电制度,加强机 械维护检查、保 养; 3.做好防雨、防 雷、防电措施; |
1.施工人员 穿戴劳动防 护用品,戴 安全帽; |
重大 风险 |
企 业 级 |
企 业 负 责 人 |
30
DB4403∕T 267—2022
表B. 1自来水厂安全风险清单(第3页/共56页)
|
序 |
评估 |
风险 |
危险 |
风险描述 |
事故 |
极端风险 " |
关键技术与工程措施 |
关键人员素养与系 |
关键个人 防护与应 |
现实 风险 等级 |
管 控 |
ɪ 任 人 | |||||
|
L |
E |
C |
D |
风险 等级 |
动态 | ||||||||||||
|
号 |
单元 |
点 |
源 |
类型 |
L |
S |
R |
管控 周期 |
统管理措施 |
急管理措 施 |
层 级 | ||||||
|
2 |
改、 扩建 工程 施工 区域 |
灌浆 工程 |
施工 机械 |
5.机械设备未配 置漏电保护器, 电线电缆老化。 6.夜间施工照明 不足; 7.暴雨雷电天 气; 8.不规范用电, 电气设备未接地 接零; 9.临边防护不到 位一 |
— |
— |
— |
— |
— |
— |
— |
满足高峰期施工强度 要求和质量、进度控制 的要求,杜绝采用超压 钻进、不符合要求的多 孔并联灌注现象; 4.所有灌浆设备、仪 器、仪表等均要经常维 护保养,使其保持正常 的工作状态; 5.线路架设、开关等安 装须符合施工现场用 电安全要求。 |
4.加强安全检查,设 专职和兼职的安全 员在现场巡视,对发 现不符合安全操作 规程的作业及安全 隐患,及时进行处 理。 |
2.编制生 产安全事 故应急处 置预案, 作业人员 掌握应急 处置方 法。 |
— |
— |
— |
|
3 |
改、 扩建 工程 施工 区域 |
脚手 架工 |
脚手 架 |
1.无关人员进入 作业区域; 2.未正确佩戴个 人防护用品; 3.脚手架各构配 件不符合质量要 求,钢管锈蚀、 有裂纹,扣件有 脆裂、变形、滑 丝的现象; 4.脚手架底部支 撑面承载力不 够; 5.未按规定要求 |
坍塌 高处 坠落 |
10 |
6 |
40 |
2400 |
重大 风险 |
3个月 |
1.应按国家现行标准 进行100%外观检查,材 料经检验合格后进行 合格品标识妥善保管, 钢管、扣件进场后应经 复试合格,应具备产品 质量合格证、生产许可 证、专业检测单位检测 报告;安全装置要有检 测报告、合格证;对各 构配件进行入场验收, 取得钢管、扣件、顶托 等取样送检复试报告; 2.立杆基础牢靠,架体 |
1.搭设高度24 m及 以上的落地式钢管 脚手架工程(包括采 光井、电梯井脚手 架)、附着式升降脚 手架工程、悬挑式脚 手架工程、高处作业 吊篮、卸料平台、操 作平台工程以及异 型脚手架工程应编 制专项方案;其中搭 设高度50 m及以上 的落地式钢管脚手 架工程、提升高度在 |
1.为作业 人员配备 安全帽、 安全鞋等 防护用 品,教育、 监督作业 人员使 用; 2.配备针 对脚手架 坍塌事故 及人员救 治的应急 |
重大 风险 |
企 业 级 | |
31
DB4403∕T 267—2022
表B. 1自来水厂安全风险清单(第4页/共56页)
|
序 号 |
评估 单元 |
风险 点 |
危险 源 |
风险描述 |
事故 类型 |
_______极端风险_______ |
关键技术与工程措施 |
关键人员素养与系 统管理措施 |
关键个人 防护与应 急管理措 施 |
现实 风险 等级 |
-i-' 控 层 级 |
ɪ 任 人 | |||||
|
L |
C |
D |
风险 等级 |
动态 管控 周期 | |||||||||||||
|
L |
S |
R | |||||||||||||||
|
3 |
改、 扩建 工程 施工 区域 |
脚手 架工 |
脚手 架 |
编制、审批、论 证专项安全施工 方案。 |
— |
— |
— |
— |
— |
— |
— |
固定点符合要求,扣件 螺栓牢固,应进行防雷 接地; 3.脚手架首步拉墙措施 应符合要求; 4.按照规定搭设横向斜 撑;将外加架体系统构 造搭设要求写入劳务分 包合同,要求劳务单位 严格遵守专项施工方案 要求; 5.设置扫地杆及排水措 施、防台风措施; 6.按要求设置脚手板、 防护栏板; 7.脚手架螺丝应紧固, 定期进行复拧并检查。 |
15Om及以上的附着 式升降脚手架工程 或附着式升降操作 平台工程以及分段 架体搭设高度20 m 及以上的悬挑式脚 手架工程应组织专 家论证; 2.专项施工方案中 应有转角处的排布 图及措施,避免出现 建筑物阳角转角处 固定段交叉部位位 置重叠无法保证固 定段长度的问题; 3.专项方案应履行 审核签字手续; 4.作业开始前应进 行技术交底,组织持 证上岗的架子工按 照专项方案进行安 装、拆除,不应随意 搭设; 5.安装、拆除过程中 应设监护人,进行旁 站监督; |
物资; 3.编制脚 手架坍塌 及人员救 治应急预 案,定期 进行演 练。 |
— |
— | |
32
DB4403/T 267—2022
表B.1 自来水厂安全风险清单(第5页/共56页)
|
序 号 |
评估 单元 |
风险 点 |
危险 源 |
风险描述 |
事故 类型 |
极端风险 |
关键技术与工程措施 |
关键人员素养与系 统管理措施 |
关键个人 防护与应 急管理措 施 |
现实 风险 等级 |
管 控 层 级 |
责 任 人 | |||||
|
L |
E |
C |
D |
风险 等级 |
动态 管控 周期 | ||||||||||||
|
L |
S |
R | |||||||||||||||
|
3 |
改、 扩建 工程 施工 区域 |
脚手 架工 程 |
脚手 架 |
— |
— |
— |
— |
— |
— |
6.脚手架搭设完成 应组织验收,验收合 格方可进行下一道 工序; 7.使用前进行技术 交底。 |
— | ||||||
|
4 |
改、 扩建 工程 施工 区域 |
模板 工程 及支 撑体 系 |
支架 |
1.无关人员进入 作业区域; 2.未正确佩戴个 人防护用品; 3.模板支撑系统 的材料不符合设 计要求; 4.模板及支架承 载能力、刚度和 稳定性不符合要 求; 5.高大模板支撑 系统的地基承载 力、沉降等不能 满足方案设计要 求; 6.未按规定要求 |
物体 打击 高处 坠落 |
10 |
6 |
40 |
2400 |
重大 风险 |
3个月 |
1.立杆基础承载力应 符合设计要求,并能承 受支架上部全部荷载; 基础应设排水设施;立 杆底部应按规范要求 设置底座、垫板; 2.支架高宽比大于规 定值时,应按规定设置 连墙杆;连墙杆的设置 应符合规范要求;应按 规定设置纵、横向及水 平剪刀撑,并符合规范 要求; 3.施工均布荷载、集中 荷载应在设计允许范 围内; 4.高大模板支撑系统 |
1.各类工具式模板 工程(包括滑模、爬 模、飞模等工程)、 搭设高度 5 m 及以 上,或搭设跨度10 m 及以上,或施工总荷 载(荷载效应基本组 合的设计值,以下简 称设计值)10 kN/m2 及以上,或集中线荷 载(设计值)15 kN/m 及以上,或高度大于 支撑水平投影宽度 且相对独立无联系 构件的混凝土模板 支撑工程应制定专 项方案; |
1.为作业 人员配备 安全帽、 安全鞋等 防护用 品,教育、 监督作业 人员使 用; 2.配备人 员救治等 应急物 资,并定 期检查维 护,确保 其有效; |
重大 风险 |
企 业 级 |
企 业 负 责 人 |
33
DB4403/T 267—2022
表B.1 自来水厂安全风险清单(第6页/共56页)
|
序 号 |
评估 单元 |
风险 点 |
危险 源 |
风险描述 |
事故 类型 |
极端风险 |
关键技术与工程措施 |
关键人员素养与系 统管理措施 |
关键个人 防护与应 急管理措 施 |
现实 风险 等级 |
管 控 层 级 |
责 任 人 | |||||
|
L |
E |
C |
D |
风险 等级 |
动态 管控 周期 | ||||||||||||
|
L |
S |
R | |||||||||||||||
|
4 |
改、 扩建 工程 施工 区域 |
模板 工程 及支 撑体 系 |
支架 |
编制、审批、论证 专项安全施工方 案。 |
— |
— |
— |
— |
— |
— |
的地基承载力、沉降等 应能满足方案设计要 求;如遇松软土、回填 土,应根据设计要求进 行平整、夯实,并采取 防水、排水措施,按规 定在模板支撑立柱底部 采用具有足够强度和刚 度的垫板;基础面有洞 口,须采取加固措施; 模板及支撑系统设专人 监控监测; 5.悬挑、临空钢筋模板 作业、高处拆模作业应 搭设稳固的立足点或支 架;模板高度超过 2 m 应设防护措施;4 m以下 平台排架设上下水平 杆、扫地杆、剪刀撑, 以后每增高2 m,再增加 一道水平杆;楼层模板 立杆排列有序,立杆不 应悬空;2 m以上高处作 业设置可靠立足点及防 护措施; |
其中各类工具式模 板工程(包括滑模、 爬模、飞模等工程)、 搭设高度 8 m 及以 上,或搭设跨度18 m 及以上,或施工总荷 载(设计值)15 kN/m2 及以上,或集中线荷 载(设计值)20 kN/m 及以上混凝土模板 支撑工程应组织专 家论证; 2.专项方案应明确 混凝土浇筑方式,并 履行审核签字手续; 3.作业开始前应进 行技术交底,交底内 容具有针对性,按照 方案进行搭拆; 4.将模板支撑系统 构造搭设要求写入 劳务分包合同,要求 劳务单位严格遵守 专项施工方案要求; 5.混凝土浇筑顺序 |
3.制定人 员救治、 火灾、触 电、模板 及支撑坍 塌等应急 预案,定 期组织演 练。 |
— |
— |
— | |
34
DB4403/T 267—2022
表B.1 自来水厂安全风险清单(第7页/共56页)
|
序 号 |
评估 单元 |
风险 点 |
危险 源 |
风险描述 |
事故 类型 |
极端风险 |
关键技术与工程措施 |
关键人员素养与 系统管理措施 |
关键个人 防护与应 急管理措 施 |
现实 风险 等级 |
管 控 层 级 |
责 任 人 | |||||
|
L |
E |
C |
D |
风险 等级 |
动态 管控 周期 | ||||||||||||
|
L |
S |
R | |||||||||||||||
|
4 |
改、 扩建 工程 施工 区域 |
模板 工程 及支 撑体 系 |
支架 |
— |
— |
— |
— |
— |
— |
— |
— |
6.模板顶部荷载不超 过规定值,模板未固 定前不应进行下一道 工序。 |
按方案执行;高大 模板支撑系统拆 除前,项目技术负 责人、项目总监应 核查混凝土同条 件试块强度报告, 浇筑混凝土达到 拆模强度后方可 拆除,并履行拆模 申请审批签字手 续。 |
— | |||
|
5 |
改、 扩建 工程 施工 区域 |
吊装 作业 |
吊物 |
1.吊装作业人员(指挥人 员、起重工)未持证上岗; 2.非施工人员进入作业现 场,人员在悬挂重物下行 走或工作; 3.超过起重机械额定载荷 进行吊装; 4.人员随同吊装重物或吊 装机械升降。 5.作业现场未设置安全警 示标志; 6.起重钢丝绳显著磨损、 扭结、破碎、钢丝打结、 腐蚀、断线,吊钩裂缝、 变形; |
起重 伤害 |
10 |
6 |
40 |
24 00 |
重大 风险 |
3个月 |
1.吊装作业人员应持 证上岗,并且经过专 业的培训; 2.吊装作业前,应对 起重吊装设备、钢丝 绳、揽风绳、链条、 吊钩等各种机具进行 检查,应保证安全可 靠,不准带病使用; 3.吊装作业时,应按 规定负荷进行吊装, 吊具、索具经计算选 择使用,严禁超负荷 运行。所吊重物接近 或达到额定起重 |
1.吊装施工方案 需本单位安全管 理人员审批,批准 后方可实施; 2.应安装警告标 志或障碍物,以防 止人员进入悬挂 起重机/提升机下 方的区域; 3.保证室内照明 充足,清理阻碍视 线的杂物。 |
1.作业人 员佩戴安 全帽; 2.制定现 场应急处 置方案, 作业人员 掌握应急 处置方 法。 |
重大 风险 |
企 业 级 |
企 业 负 责 人 |
35
DB4403/T 267—2022
表B.1 自来水厂安全风险清单(第8页/共56页)
|
序 号 |
评估 单元 |
风险 点 |
危险 源 |
风险描述 |
事故 类型 |
极端风险 |
关键技术与工程措施 |
关键人员素养与 系统管理措施 |
关键个人防 护与应急管 理措施 |
现实 风险 等级 |
管 控 层 级 |
责 任 人 | |||||
|
L |
E |
C |
D |
风险 等级 |
动态 管控 周期 | ||||||||||||
|
L |
S |
R | |||||||||||||||
|
5 |
改、 扩建 工程 施工 区域 |
吊装 作业 |
吊物 |
7.棱刃物体没有衬 垫措施; 8.重物紧固不牢, 绳打结、绳不齐; 9.制动器、安全装 置失灵,吊钩防松 装置损坏; 10.室外作业时遇 到暴雨、大雾及大 风天气; 11.室内光线不足 或视线受阻,无法 看清场地、吊物情 况和指挥信号; 12.未按要求进行 作业审批,编制工 作方案; 13.未设专人在现 场监护; 14.作业前未对起 重机械进行安全检 查。 |
— |
— |
— |
— |
— |
— |
— |
吊装能力时,应检查制 动器,用低高度、短行 程试吊后,再平稳吊 起; 4.吊钩或重物上不应 携带人员; 5.人员不应在悬挂重 物下行走或工作; 6.室外作业时遇到暴 雨、大雾及六级以上大 风时,停止作业。 |
— |
— |
— |
— | |
36
DB4403/T 267—2022
表B.1 自来水厂安全风险清单(第9页/共56页)
|
序 号 |
评估 单元 |
风险 点 |
危险 源 |
风险描述 |
事故 类型 |
极端风险 |
关键技术与工程措施 |
关键人员素养与 系统管理措施 |
关键个人防 护与应急管 理措施 |
现实风 险等级 |
管 控 层 级 |
责 任 人 | |||||
|
L |
E |
C |
D |
风险 等级 |
动态 管控 周期 | ||||||||||||
|
L |
S |
R | |||||||||||||||
|
6 |
改、 扩建 工程 施工 区域 |
高处 作业 |
作业 平台 |
1.不适合高处作 业的人员从事高 处作业; 2.登高工具如高 空作业车、铝合 梯等工具存有缺 陷或损坏; 3.高处作业随身 携带的工具、材 料和其他物件坠 落; 4.无照明设施或 光线阴暗; 5.大风、暴雨等 恶劣天气; 6.作业地面湿 滑,梯子底部支 撑面强度不足, 踢脚附近堆放杂 物; 7.脚手板等高处 作业面湿滑; 8.未执行高处作 业审批; |
高处 坠落 物体 打击 |
10 |
6 |
15 |
900 |
重大 风险 |
3个月 |
1.作业前对登高工具检 查完好无损才能使用, 对损坏的工具及时报备 修复; 2.室外作业时遇到六级 强风或大雨、雪、雾等 天气,停止作业; 3.保证作业照明充分且 能提供清晰视野; 4.进行高处作业的高耸 建筑物,应事先设置避 雷设施; 5.梯子底部应放置在牢 固的水平支撑面上,必 要时可采用踢脚板或其 他装置来防滑; 6.在高处作业时,只需 携带必要的物品或工 具,并将其妥善保管在 工具袋内,使其在搬运 时不会掉落。 |
1.严格执行危险 作业审批程序; 2.设置监护人员 进行现场监护; 3.加强高处作业 安全培训。 |
1.高处作业 需佩戴安全 帽、安全带 等安全防护 用品,当高 处作业进行 时,任何从 下方接近作 业区域的人 员都应戴安 全帽(禁止 佩戴其他类 型的帽子); 2.水面高处 作业时,还 应穿戴救生 衣,必要时 应架设安全 网; |
重大风 险 |
企 业 级 |
企 业 负 责 人 |
37
DB4403/T 267—2022
表B.1 自来水厂安全风险清单(第10页/共56页)
|
序 号 |
评估 单元 |
风险 点 |
危险 源 |
风险描述 |
事故 类型 |
极端风险 |
关键技术与工程措施 |
关键人员素养与系 统管理措施 |
关键个人防 护与应急管 理措施 |
现实 风险 等级 |
管 控 层 级 |
责 任 人 | |||||
|
L |
E |
C |
D |
风险 等级 |
动态 管控 周期 | ||||||||||||
|
L |
S |
R | |||||||||||||||
|
6 |
改、 扩建 工程 施工 区域 |
高处 作业 |
作业 平台 |
9.未设置监护人 员进行现场监 护。 |
— |
— |
— |
— |
— |
— |
— |
— |
3.正确使用 安全带的高 挂低用,并 拴在牢固物 件上。 |
— | |||
|
7 |
改、 扩建 工程 施工 |
动火 作业 |
气 瓶、 火焰 |
1.人员违章作 业; 2.作业人员未持 证上岗; 3.动火作业现场 未设置灭火器等 消防器材; 4.作业人员未穿 戴个人防护用 品; 5.动火作业区域 存在大量易燃 物、可燃物; 6.作业现场通风 不良,照明不足; 7.未执行动火作 业审批,未取得 动火作业许可 证; |
火灾 和爆 炸 中毒 灼伤 触电 |
10 |
3 |
40 |
1200 |
重大 风险 |
3个月 |
1.动火作业人员应持证 上岗; 2.氧气瓶与乙炔、丙烷 气瓶间距不小于5 m,二 者与动火作业点间应保 持不少于10 m的安全距 离; 3.作业完成后,清理现 场,确保无任何火源隐 患的情况下才能离开现 场。 |
1.严格执行动火作 业审批程序; 2.必要时设置监护 员现场监护; 3.加强动火作业危 害、预防措施和应 急方面的培训; 4.气瓶严禁暴晒, 应防止牢固,安装 防倾倒措施,乙炔 气瓶严禁横躺卧 放。 |
1.作业人员 穿戴手套、 护目镜等防 护用品; 2.作业现场 设置灭火器 等消防器 材; 3.制定现场 应急处置方 案,作业人 员掌握应急 处置方法。 |
重大 风险 |
企 业 级 |
企 业 负 责 人 |
38
DB4403/T 267—2022
表B.1 自来水厂安全风险清单(第11页/共56页)
|
序 号 |
评估 单元 |
风险 点 |
危险 源 |
风险描述 |
事故 类型 |
极端风险 |
关键技术与工程措施 |
关键人员素养与 系统管理措施 |
关键个人防 护与应急管 理措施 |
现实 风险 等级 |
管 控 层 级 |
责 任 人 | |||||
|
L |
E |
C |
D |
风险 等级 |
动态 管控 周期 | ||||||||||||
|
L |
S |
R | |||||||||||||||
|
7 |
改、 扩建 工程 施工 区域 |
动火 作业 |
气 瓶、 火焰 |
8.乙炔气瓶与气 化炉,乙炔气瓶 与氧气瓶放置过 近,气瓶与作业 点距离过近; 9.气瓶储存、使 用不规范; 10.电焊机电线 乱搭乱接; 11.作业结束后, 未清理现场。 |
— |
— |
— |
— |
— |
— | |||||||
|
8 |
改、 扩建 工程 施工 区域 |
临时 用电 |
用电 设 备、 配电 箱 |
1.人员擅自接用 电源; 2.人员违章作 业; 3.作业人员未持 证上岗; 4.临时用电设施 未安装漏电保护 器; 5.电线电缆敷设 不符合要求; 6.临时用电作业 中使用的工具、 仪表、电气设施、 |
触电 火灾 爆炸 |
10 |
3 |
15 |
450 |
较大 风险 |
6个月 |
1.严格执行用电安全管 理规定; 2.禁止私拉乱接电线电 缆; 3.临时用电设施安装符 合规范要求的漏电保护 器; 4.使用符合安全要求的 工具、仪表、电气设施、 各种设备,作业前对电 气设备进行绝缘性测 试。 |
1.严格执行临时用电审批程序; 2.组织现场安全技术交底和安全 培训; 3.必要时设置监护人员现场监 护; 4.作业人员正确使用劳动防护用 品; 5.制定现场应急处置方案,作业 人员掌握应急处置方法。 |
较大 风险 |
部 门 级 |
部 门 负 责 人 | |
39
DB4403/T 267—2022
表B.1 自来水厂安全风险清单(第12页/共56页)
|
序 号 |
评估 单元 |
风险 点 |
危险 源 |
风险描述 |
事 故 类 型 |
极端风险 |
关键技术与工程措施 |
关键人员素养与 系统管理措施 |
关键个人防 护与应急管 理措施 |
现实风 险等级 |
管 控 层 级 |
责 任 人 | |||||
|
L |
E |
C |
D |
风险 等级 |
动态 管控 周期 | ||||||||||||
|
L |
S |
R | |||||||||||||||
|
8 |
改、 扩建 工程 施工 区域 |
临时 用电 |
用电 设 备、 配电 箱 |
各种设备及现场照 明不符合安全标 准; 7.作业场所潮湿; 8.未执行临时用电 审批; 9.人员未按规定穿 戴防护用品。 |
— |
— |
— |
— |
— |
— | |||||||
|
9 |
抢修 工程 施工 区域 |
灌浆 工程 |
施工 机械 |
1.特种作业人员未 持证上岗; 2.施工人员违规施 工; 3.未正确佩戴个人 防护用品; 4.灌浆设备、仪器、 仪表不合格; 5.机械设备未配置 漏电保护器,电线 电缆老化; 6.夜间施工照明不 足; 7.暴雨雷电天气; 8.不规范用电,电 气设备未接地接 零; |
触 电 机 械 伤 害 |
10 |
6 |
40 |
2400 |
重大 风险 |
3个月 |
1.灌浆水泥等各类材 料满足技术和规范要 求; 2.钻孔机械各施工参 数,满足其相应的技术 要求,能方便定位,保 证孔位和孔向; 3.钻孔灌浆设备数量 满足高峰期施工强度 要求和质量、进度控制 的要求,杜绝采用超压 钻进、不符合要求的多 孔并联灌注现象; 4.所有灌浆设备、仪 器、仪表等均要经常维 护保养,使其保持正常 的工作状态; |
1.严格执行安全 生产制度和操作 规程,做好安全技 术交底; 2.严格执行现场 用电制度,加强机 械维护检查、保 养; 3.做好防雨、防 雷、防电措施; 4.加强安全检查, 设专职和兼职的 安全员在现场巡 视,对发现不符合 安全操作规程的 作业及安全隐患, 及时进行处理。 |
1.施工人员 穿戴劳动防 护用品,戴 安全帽; 2.编制生产 安全事故应 急处置预 案,作业人 员掌握应急 处置方法。 |
重大风 险 |
企 业 级 |
企 业 负 责 人 |
40
DB4403/T 267—2022
表B.1 自来水厂安全风险清单(第13页/共56页)
|
序 号 |
评估 单元 |
风险 点 |
危险 源 |
风险描述 |
事故 类型 |
极端风险 |
关键技术与工程措施 |
关键人员素养与系统 管理措施 |
关键个人防 护与应急管 理措施 |
现实风 险等级 |
管 控 层 级 |
责 任 人 | |||||
|
L |
E |
C |
D |
风险 等级 |
动态 管控 周期 | ||||||||||||
|
L |
S |
R | |||||||||||||||
|
9 |
抢修 工程 施工 区域 |
灌浆 工程 |
施工 机械 |
9.临边防护不到 位。 |
— |
— |
— |
— |
— |
5.线路架设、开关等 安装须符合施工现场 用电安全要求。 |
— | ||||||
|
10 |
抢修 工程 施工 区域 |
脚手 架工 程 |
脚手 架 |
1.无关人员进入 作业区域; 2.未正确佩戴个 人防护用品; 3.脚手架各构配 件不符合质量要 求,钢管锈蚀、 有裂纹,扣件有 脆裂、变形、滑 丝的现象; 4.脚手架底部支 撑面承载力不 够; 5.未按规定要求 编制、审批、论 证专项安全施工 方案。 |
坍塌 高处 坠落 |
10 |
6 |
40 |
2400 |
重大 风险 |
3个 月 |
1.应按国家现行标准 进行100%外观检查, 材料经检验合格后进 行合格品标识妥善保 管,钢管、扣件进场 后应经复试合格,应 具备产品质量合格 证、生产许可证、专 业检测单位检测报 告;安全装置要有检 测报告、合格证;对 各构配件进行入场验 收,取得钢管、扣件、 顶托等取样送检复试 报告; 2.立杆基础牢靠,架 体固定点符合要求, 扣件螺栓牢固,应进 行防雷接地; 3.脚手架首步拉墙措 施应符合要求; |
1.搭设高度 24 m 及以 上的落地式钢管脚手 架工程(包括采光井、 电梯井脚手架)、附着 式升降脚手架工程、悬 挑式脚手架工程、高处 作业吊篮、卸料平台、 操作平台工程以及异 型脚手架工程应编制 专项方案;其中搭设高 度 50 m 及以上的落地 式钢管脚手架工程、提 升高度在150 m及以上 的附着式升降脚手架 工程或附着式升降操 作平台工程以及分段 架体搭设高度 20 m 及 以上的悬挑式脚手架 工程应组织专家论证; |
1.为作业人 员配备安全 帽、安全鞋 等防护用 品,教育、 监督作业人 员使用; 2.配备针对 脚手架坍塌 事故及人员 救治的应急 物资; 3.编制脚手 架坍塌及人 员救治应急 预案,定期 进行演练。 |
重大风 险 |
企 业 级 |
企 业 负 责 人 |
41
DB4403/T 267—2022
表B.1 自来水厂安全风险清单(第14页/共56页)
|
序 |
评估 |
风险 |
危险 |
风险描述 |
事故 |
极端风险 |
关键技术与工程措施 |
关键人员素养与系 |
关键个人 防护与应 |
现实风 |
管 控 |
责 任 人 | |||||
|
L |
E |
C |
D |
风险 等级 |
动态 | ||||||||||||
|
号 |
单元 |
点 |
源 |
类型 |
L |
S |
R |
管控 周期 |
统管理措施 |
急管理措 施 |
险等级 |
层 级 | |||||
|
10 |
抢修 工程 施工 区域 |
脚手 架工 程 |
脚手 架 |
— |
— |
— |
4.按照规定搭设横向 斜撑;将外加架体系统 构造搭设要求写入劳 务分包合同,要求劳务 单位严格遵守专项施 工方案要求; 5.设置扫地杆及排水 措施、防台风措施; 6.按要求设置脚手板、 防护栏板; 7.脚手架螺丝应紧固, 定期进行复拧并检查。 |
2.专项施工方案中 应有转角处的排布 图及措施,避免出现 建筑物阳角转角处 固定段交叉部位位 置重叠无法保证固 定段长度的问题; 3.专项方案应履行 审核签字手续; 4.作业开始前应进 行技术交底,组织持 证上岗的架子工按 照专项方案进行安 装、拆除,不应随意 搭设; 5.安装、拆除过程中 应设监护人,进行旁 站监督; 6.脚手架搭设完成 应组织验收,验收合 格方可进行下一道 工序; 7.使用前进行技术 交底。 |
— | ||||||||
42
DB4403/T 267—2022
表B.1 自来水厂安全风险清单(第15页/共56页)
|
序 号 |
评估 单元 |
风险 点 |
危险 源 |
风险描述 |
事故 类型 |
极端风险 |
关键技术与工程措施 |
关键人员素养与系 统管理措施 |
关键个人 防护与应 急管理措 施 |
现实 风险 等级 |
管 控 层 级 |
责 任 人 | |||||
|
L |
E |
C |
D |
风险 等级 |
动态 管控 周期 | ||||||||||||
|
L |
S |
R | |||||||||||||||
|
11 |
抢修 工程 施工 区域 |
模板 工程 及支 撑体 系 |
支架 |
1.无关人员进入 作业区域; 2.未正确佩戴个 人防护用品; 3.模板支撑系统 的材料不符合设 计要求; 4.模板及支架承 载能力、刚度和 稳定性不符合要 求; 5.高大模板支撑 系统的地基承载 力、沉降等应能 满足方案设计要 求; 6.未按规定要求 编制、审批、论 证专项安全施工 方案。 |
物体 打击 高处 坠落 |
10 |
6 |
40 |
2400 |
重大 风险 |
3个月 |
1.立杆基础承载力应 符合设计要求,并能承 受支架上部全部荷载; 基础应设排水设施;立 杆底部应按规范要求 设置底座、垫板; 2.支架高宽比大于规 定值时,应按规定设置 连墙杆;连墙杆的设置 应符合规范要求;应按 规定设置纵、横向及水 平剪刀撑,并符合规范 要求; 3.施工均布荷载、集中 荷载应在设计允许范 围内; 4.高大模板支撑系统 的地基承载力、沉降等 应能满足方案设计要 求;如遇松软土、回填 土,应根据设计要求进 行平整、夯实,并采取 防水、排水措施,按规 定在模板支撑立柱底 部采用具有足够强度 |
1.各类工具式模板 工程(包括滑模、爬 模、飞模等工程)、 搭设高度 5 m 及以 上,或搭设跨度10 m 及以上,或施工总荷 载(荷载效应基本组 合的设计值,以下简 称设计值)10 kN/m2 及以上,或集中线荷 载(设计值)15 kN/m 及以上,或高度大于 支撑水平投影宽度 且相对独立无联系 构件的混凝土模板 支撑工程应制定专 项方案;其中各类工 具式模板工程(包括 滑模、爬模、飞模等 工程)、搭设高度8 m 及以上,或搭设跨度 18 m及以上,或施工 总荷载(设计值)15 kN/m2及以上,或集 中线荷载(设计 值) 20 kN/m |
1.为作业 人员佩备 安全帽、 安全鞋等 防护用 品,教育、 监督作业 人员使 用; 2.配备人 员救治等 应急物 资,并定 期检查维 护,确保 其有效; 3.制定人 员救治、 火灾、触 电、模板 及支撑坍 塌等应急 预案,定 期组织演 练。 |
重大 风险 |
企 业 级 |
企 业 负 责 人 |
43
DB4403/T 267—2022
表B.1 自来水厂安全风险清单(第16页/共56页)
|
序 号 |
评估 单元 |
风险 点 |
危险 源 |
风险描述 |
事故 类型 |
极端风险 |
关键技术与工程措施 |
关键人员素养与系 统管理措施 |
关键个人防 护与应急管 理措施 |
现实 风险 等级 |
管 控 层 级 |
责 任 人 | |||||
|
L |
E |
C |
D |
风险 等级 |
动态 管控 周期 | ||||||||||||
|
L |
S |
R | |||||||||||||||
|
11 |
抢修 工程 施工 区域 |
模板 工程 及支 撑体 系 |
支架 |
— |
— |
— |
— |
— |
— |
— |
— |
和刚度的垫板;基础面 有洞口,须采取加固措 施;模板及支撑系统设 专人监控监测; 5.悬挑、临空钢筋模板 作业、高处拆模作业应 搭设稳固的立足点或 支架;模板高度超过2 m 应设防护措施;4 m 以 下平台排架设上下水 平杆、扫地杆、剪刀撑, 以后每增高 2 m,再增 加一道水平杆;楼层模 板立杆排列有序,立杆 不应悬空;2 m 以上高 处作业设置可靠立足 点及防护措施; 6.模板顶部荷载不超 过规定值,模板未固定 前不应进行下一道工 序。 |
及以上混凝土模板 支撑工程应组织专 家论证; 2.专项方案应明确 混凝土浇筑方式,并 履行审核签字手续; 3.作业开始前应进 行技术交底,交底内 容具有针对性,按照 方案进行搭拆; 4.将模板支撑系统 构造搭设要求写入 劳务分包合同,要求 劳务单位严格遵守 专项施工方案要求; 5.混凝土浇筑顺序 按方案执行;高大模 板支撑系统拆除前, 项目技术负责人、项 目总监应核查混凝 土同条件试块强度 报告,浇筑混凝土达 到拆模强度后方可 拆除,并履行拆模申 请审批签字手续。 |
— |
— |
— |
— |
44
DB4403∕T 267—2022
表B.1自来水厂安全风险清单(第17页/共56页)
|
序 号 |
评估 单元 |
风险 点 |
危险 源 |
风险描述 |
事故 类型 |
极端风险 |
关键技术与工程措施 |
关键人员素养与 系统管理措施 |
关键个人防 护与应急管 理措施 |
现实 风险 等级 |
管 控 层 级 |
责 任 人 | |||||
|
L |
E |
C |
D |
风险 等级 |
动态 管控 周期 | ||||||||||||
|
L |
S |
R | |||||||||||||||
|
12 |
抢修 工程 施工 区域 |
吊装 作业 |
吊物 |
1.吊装作业人员 (指挥人员、起 重工)未持证上 2.』施工人员进 入作业现场,人 员在悬挂重物下 行走或工作; 3.超过起重机械 额定载荷进行吊 装; 4.人员随同吊装 重物或吊装机械 升降; 5.作业现场未设 置安全警示标 志; 6.起重钢丝绳显 著磨损、扭结、 破碎、钢丝打结、 腐蚀、断线,吊 钩裂缝、变形; 7.棱刃物体没有 衬垫措施; |
起重 伤害 |
10 |
6 |
40 |
2400 |
重大 风险 |
3个月 |
L吊装作业人员应持 证上岗,并且经过专业 的培训; 2.吊装作业前,应对起 重吊装设备、钢丝绳、 揽风绳、链条、吊钩等 各种机具进行检查,应 保证安全可靠,不准带 病使用; 3.吊装作业时,应按规 定负荷进行吊装,吊 具、索具经计算选择使 用,严禁超负荷运行。 所吊重物接近或达到 额定起重吊装能力时, 应检查制动器,用低高 度、短行程试吊后,再 平稳吊起; 4.吊钩或重物上不应 携带人员; 5.人员不应在悬挂重 物下行走或工作; 6.室外作业时遇到暴 雨、大雾及六级以上大 风时,停止作业。 |
1.吊装施工方案 需本单位安全管 理人员审批,批准 后方可实施; 2.应安装警告标 志或障碍物,以防 止人员进入悬挂 起重机/提升机下 方的区域; 3.保证室内照明 充足,清理阻碍视 线的杂物。 |
L作业人员 佩戴安全 帽; 2.制定现场 应急处置方 案,作业人 员掌握应急 处置方法。 |
重大 风险 |
企 业 负 责 人 | |
45
DB4403/T 267—2022
表B.1 自来水厂安全风险清单(第18页/共56页)
|
序 号 |
评估 单元 |
风险 点 |
危险 源 |
风险描述 |
事故 类型 |
极端风险 |
关键技术与工程措施 |
关键人员素养与 系统管理措施 |
关键个人防 护与应急管 理措施 |
现实 风险 等级 |
管 控 层 级 |
责 任 人 | |||||
|
L |
E |
C |
D |
风险 等级 |
动态 管控 周期 | ||||||||||||
|
L |
S |
R | |||||||||||||||
|
12 |
抢修 工程 施工 区域 |
吊装 作业 |
吊物 |
8.重物紧固不 牢,绳打结、绳 不齐; 9.制动器、安全 装置失灵,吊钩 防松装置损坏; 10.室外作业时 遇到暴雨、大雾 及大风天气; 11.室内光线不 足或视线受阻, 无法看清场地、 吊物情况和指挥 信号; 12.未按要求进 行作业审批,编 制工作方案; 13.未设专人在 现场监护; 14.作业前未对 起重机械进行安 全检查。 |
— |
— |
— |
— |
— |
— |
— |
— |
— |
— |
— |
— | |
46
DB4403/T 267—2022
表B.1自来水厂安全风险清单(第19页/共56页)
|
序 号 |
评估 单元 |
风险 点 |
危险 源 |
风险描述 |
事故 类型 |
极端风险 |
关键技术与工程措施 |
关键人员素养与 系统管理措施 |
关键个人防 护与应急管 理措施 |
现实 风险 等级 |
管 控 层 级 |
责 任 人 | |||||
|
L |
E |
C |
D |
风险 等级 |
动态 管控 周期 | ||||||||||||
|
L |
S |
R | |||||||||||||||
|
13 |
抢修 工程 施工 区域 |
高处 作业 |
作业 平台 |
1.不适合高处作 业的人员从事高 处作业; 2.登高工具如高 空作业车、铝合梯 等工具存有缺陷 或损坏; 3.高处作业随身 携带的工具、材料 和其他物件坠落; 4.无照明设施或 光线阴暗; 5.大风、暴雨等恶 劣天气; 6.作业地面湿滑, 梯子底部支撑面 强度不足,踢脚附 近堆放杂物; 7.脚手板等高处 作业面湿滑; 8.未执行高处作 业审批: |
高处 坠落 物体 打击 |
10 |
6 |
15 |
900 |
重大 风险 |
3个月 |
L作业前对登高工具 检查完好无损才能使 用,对损坏的工具及时 报备修复; 2.室外作业时遇到六 级强风或大雨、雪、雾 等天气,停止作业; 3.保证作业照明充分 且能提供清晰视野; 4.进行高处作业的高 耸建筑物,应事先设置 避雷设施: 5.梯子底部应放置在 牢固的水平支撑面上, 必要时可采用踢脚板 或其他装置来防滑; 6.在高处作业时,只需 携带必要的物品或工 具,并将其妥善保管在 工具袋内,使其在搬运 时不会掉落。 |
1.严格执行危险 作业审批程序; 2.设置监护人员 进行现场监护; 3.加强高处作业 安全培训。 |
1.高处作业 需佩戴安全 帽、安全带 等安全防护 用品,当高 处作业进行 时,任何从 下方接近作 业区域的人 员都应戴安 全帽(禁止 佩戴其他类 型的帽子); 2.水面高处 作业时,还 应穿戴救生 衣,必要时 应架设安全 网; |
重大 风险 |
企 业 级 |
企 业 负 责 人 |
47
DB4403/T 267—2022
表B.1 自来水厂安全风险清单(第20页/共56页)
|
序 号 |
评估 单元 |
风险 点 |
危险 源 |
风险描述 |
事故 类型 |
极端风险 |
关键技术与工程措施 |
关键人员素养与 系统管理措施 |
关键个人防 护与应急管 理措施 |
现实 风险 等级 |
管 控 层 级 |
责 任 人 | |||||
|
L |
E |
C |
D |
风险 等级 |
动态 管控 周期 | ||||||||||||
|
L |
S |
R | |||||||||||||||
|
13 |
抢修 工程 施工 区域 |
高处 作业 |
作业 平台 |
9.未设置监护人 员进行现场监 护。 |
— |
3.正确使用 安全带的高 挂低用,并 拴在牢固物 件上。 |
— | ||||||||||
|
14 |
抢修 工程 施工 区域 |
动火 作业 |
气 瓶、 火焰 |
1.人员违章作 业; 2.作业人员未持 证上岗; 3.动火作业现场 未设置灭火器等 消防器材; 4.作业人员未穿 戴个人防护用 品; 5.动火作业区域 存在大量易燃 物、可燃物; 6.作业现场通风 不良,照明不足; 7.未执行动火作 业审批,未取得 动火作业许可 |
火灾 和爆 炸 中毒 灼伤 触电 |
10 |
3 |
40 |
1200 |
重大 风险 |
3个月 |
1.动火作业人员应持 证上岗; 2.氧气瓶与乙炔、丙烷 气瓶间距不小于 5 m, 二者与动火作业点间 应保持不少于 10 m 的 安全距离; 3.作业完成后,清理现 场,确保无任何火源隐 患的情况下才能离开 现场。 |
1.严格执行动火 作业审批程序; 2.必要时设置监 护员现场监护; 3.加强动火作业 危害、预防措施和 应急方面的培训; 4.气瓶严禁暴晒, 应防止牢固,安装 防倾倒措施,乙炔 气瓶严禁横躺卧 放。 |
1.作业人员 穿戴手套、 护目镜等防 护用品; 2.作业现场 设置灭火器 等消防器 材; 3.制定现场 应急处置方 案,作业人 员掌握应急 处置方法。 |
重大 风险 |
企 业 级 |
企 业 负 责 人 |
48
DB4403/T 267—2022
表B.1 自来水厂安全风险清单(第21页/共56页)
|
序 号 |
评估 单元 |
风险 点 |
危险 源 |
风险描述 |
事故 类型 |
极端风险 |
关键技术与工程措施 |
关键人员素养与 系统管理措施 |
关键个人防 护与应急管 理措施 |
现实 风险 等级 |
管 控 层 级 |
责 任 人 | |||||
|
L |
E |
C |
D |
风险 等级 |
动态 管控 周期 | ||||||||||||
|
L |
S |
R | |||||||||||||||
|
14 |
抢修 工程 施工 区域 |
动火 作业 |
气 瓶、 火焰 |
证; 8.乙炔气瓶与气 化炉,乙炔气瓶 与氧气瓶放置过 近,气瓶与作业 点距离过近; 9.气瓶储存、使 用不规范; 10.电焊机电线 乱搭乱接; 11.作业结束后, 未清理现场。 |
— |
— |
— |
— |
— |
— | |||||||
|
15 |
抢修 工程 施工 区域 |
临时 用电 |
用电 设 备、 配电 箱 |
1.人员擅自接用 电源; 2.人员违章作 业; 3.作业人员未持 证上岗; 4.临时用电设施 未安装漏电保护 器; 5.电线电缆敷设 不符合要求; |
触电 火灾 爆炸 |
10 |
3 |
15 |
450 |
较大 风险 |
6个月 |
1.严格执行用电安全 管理规定; 2.禁止私拉乱接电线 电缆; 3.临时用电设施安装 符合规范要求的漏电 保护器; 4.使用符合安全要求 的工具、仪表、电气设 施、各种设备,作业前 对电气设备进行绝缘 |
1.严格执行临时用电审批程序; 2.组织现场安全技术交底和安全 培训; 3.必要时设置监护人员现场监 护; 4.作业人员正确使用劳动防护用 品; 5.制定现场应急处置方案,作业 人员掌握应急处置方法。 |
较大 风险 |
部 门 级 |
部 门 负 责 人 | |
49
DB4403/T 267—2022
表B.1 自来水厂安全风险清单(第22页/共56页)
|
序 号 |
评估 单元 |
风险 点 |
危险 源 |
风险描述 |
事故 类型 |
极端风险 |
关键技术与工程措施 |
关键人员素养与 系统管理措施 |
关键个人防 护与应急管 理措施 |
现实 风险 等级 |
管 控 层 级 |
责 任 人 | |||||
|
L |
E |
C |
D |
风险 等级 |
动态 管控 周期 | ||||||||||||
|
L |
S |
R | |||||||||||||||
|
15 |
抢修 工程 施工 区域 |
临时 用电 |
用电 设 备、 配电 箱 |
6.临时用电作业 中使用的工具、 仪表、电气设施、 各种设备及现场 照明不符合安全 标准; 7.作业场所潮 湿; 8.未执行临时用 电审批; 9.人员未按规定 穿戴防护用品。 |
— |
— |
— |
— |
— |
性测试。 |
— |
— | |||||
|
16 |
抢修 工程 施工 区域 |
有限 空间 作业 |
有毒 有害 气体 |
1.未经允许,私 自进入受限空 间; 2.气体检测、强 制通风、应急救 援设备配置缺 失; 3.处于有毒有害 气体或缺氧环 境; 4.未落实专项培 训、作业审批、 应急预案等要求 |
中毒 窒息 淹溺 |
10 |
1 |
15 |
150 |
一般 风险 |
9个月 |
1.在现场醒目位置设置安全警示标志; 2.根据相关要求为作业人员配置气体检测仪、风机、安全带、 救援三脚、绞盘、防坠器架、对讲机等硬件设备; 3.建立有限空间管理、作业审批等制度并实施; 4.定期开展有限空间作业培训、演练等安全教育; 5.穿戴防护用品。 |
一般 风险 |
班 组 级 |
班 组 负 责 人 | ||
50
DB4403/T 267—2022
表B.1 自来水厂安全风险清单(第23页/共56页)
|
序 |
评估 |
风险 |
危险 |
风险描述 |
事故 |
极端风险 |
关键技术与工程措施 |
关键人员素养与 |
关键个人防 护与应急管 理措施 |
现实 风险 等级 |
管 控 |
责 任 人 | |||||
|
L |
E |
C |
D |
风险 等级 |
动态 | ||||||||||||
|
号 |
单元 |
点 |
源 |
类型 |
L |
S |
R |
管控 周期 |
系统管理措施 |
层 级 | |||||||
|
17 |
巡检 作业 |
水 池、 机械 设备 |
1.人员巡检作业 不当; 2.格栅井周围栏 杆缺失或不可 靠; 3.路面湿滑造成 滑跌; 4.非授权人员进 入; 5.未制定巡检作 业指导书。 |
机械 伤害 淹溺 高处 坠落 其他 伤害 |
10 |
3 |
7 |
210 |
一般 风险 |
9个月 |
1.根据设计规范安装栏杆等临边、临水防护装置; 2.根据设计规范安装踢脚板等防坠物装置; 3.恶劣天气情况下暂停作业; 4.制定操作规程、作业指导书并培训; 5.建立人员出入管理和访客管理制度。 |
一般 风险 |
班 组 级 |
班 组 负 责 人 | |||
|
18 |
格栅 井 |
检维 修作 业 |
水 池、 机械 设备 |
1.人员检维修作 业不当; 2.未穿戴个人防 护用品。 |
机械 伤害 高处 坠落 |
10 |
2 |
7 |
140 |
低风 险 |
12 个 月 |
1.制定操作规程、作业指导书并培训; 2.作业人员正确穿戴防护用品。 |
低风 险 |
岗 位 级 |
岗 位 负 责 人 | ||
|
19 |
格栅 机 |
格栅 机 |
1.触碰设备运转 部分; 2.格栅井周围未 设置栏杆; 3.地面湿滑造成 滑跌; 4.定期检查与维 护保养缺失。 |
触电 机械 伤害 高处 坠落 |
5 |
2 |
10 |
一般 风险 |
9个月 |
1.根据设计规范设置短路、过载、接地、漏电、防雷等保 护装置; 2.设备外露旋转部分设置护罩; 3.格栅井设置栏杆; 4.制定操作规程、作业指导书并培训; 5.定期检查与维护保养; 6.穿戴防护用品; 7.设置急停保护。 |
一般 风险 |
班 组 级 |
班 组 负 责 人 | ||||
51
DB4403/T 267—2022
表B.1 自来水厂安全风险清单(第24页/共56页)
|
极端风险 |
关键个人防 护与应急管 理措施 |
现实 风险 等级 |
管 |
责 | |||||||||||||
|
序 |
评估 |
风险 |
危险 |
风险描述 |
事故 |
L |
E |
C |
D |
风险 等级 |
动态 |
关键技术与工程措施 |
关键人员素养与 |
控 |
任 人 | ||
|
号 |
单元 |
点 |
源 |
类型 |
L |
S |
R |
管控 周期 |
系统管理措施 |
层 级 | |||||||
|
20 |
格栅 井 |
电动 阀门 |
电动 阀门 |
1.触碰设备运转 部分; 2.设备故障漏 电; 3.室外控制柜雨 天渗水; 4.定期维保缺 失。 |
触电 机械 伤害 |
5 |
1 |
5 |
低风 险 |
12 个 月 |
1.根据设计规范设置短路、过载、接地、漏电、防雷等保 护装置; 2.室外控制柜设置密封防水装置; 3.设备外露旋转部分设置护罩; 4.制定操作规程、作业指导书并培训; 5.定期检查与维护保养。 |
低风 险 |
岗 位 级 |
岗 位 负 责 人 | |||
|
1.人员巡检作业 不当; 2.水池栏杆缺失 或不可靠; | |||||||||||||||||
|
21 |
反应 池 |
巡检 作业 |
水 池、 机械 设备 |
3.清洗水池作 业,不慎跌入水 池; 4.路面湿滑造成 滑跌; 5.高温、雷雨、 台风等恶劣天气 作业引发中暑、 触电、高空坠物 等意外伤害; |
高处 坠落 淹溺 |
10 |
3 |
7 |
210 |
一般 风险 |
9个月 |
1.根据设计规范安装栏杆等临边、临水防护装置; 2.根据设计规范安装踢脚板等防坠物装置; 3.恶劣天气情况下暂停作业; 4.建立人员出入管理和访客管理制度; 5.制定操作规程、作业指导书并培训。 |
一般 风险 |
班 组 级 |
班 组 负 责 人 | ||
52
DB4403/T 267—2022
表B.1 自来水厂安全风险清单(第25页/共56页)
|
评 |
事 |
极端风险 |
关键个人防 护与应急管 理措施 |
现实 风险 等级 |
管 |
责 | |||||||||||
|
序 |
估 |
风险 |
危险 |
风险描述 |
故 |
L |
E |
C |
D |
风险 等级 |
动态 |
关键技术与工程措施 |
关键人员素养与 |
控 |
任 人 | ||
|
号 |
单 元 |
点 |
源 |
类 型 |
L |
S |
R |
管控 周期 |
系统管理措施 |
层 级 | |||||||
|
21 |
巡检 作业 |
水 池、 机械 设备 |
6.非授权人员进 入。 |
— |
— |
— |
— |
— | |||||||||
|
22 |
检维 修作 业 |
水 池、 机械 设备 |
1.人员检维修作业 不当; 2.未制定巡检作业 指导书。 |
机 械 伤 害 |
10 |
2 |
7 |
140 |
低风 险 |
12 个 月 |
1.制定并落实作业指导书; 2.作业人员正确穿戴防护用品。 |
低风 险 |
岗 位 级 |
岗 位 负 责 人 | |||
|
23 |
反 应 池 |
电动 阀门 |
电动 阀门 |
1.触碰设备运转部 分; 2.设备故障漏电; 3.室外控制柜雨天 渗水; 4.定期维保缺失。 |
机 械 伤 害 触 电 |
5 |
1 |
5 |
低风 险 |
12 个 月 |
1.根据设计规范设置短路、过载、接地、漏电、防雷等保护 装置; 2.室外控制柜设置密封防水装置; 3.设备外露旋转部分设置护罩; 4.制定操作规程、作业指导书并培训; 5.定期检查与维护保养。 |
低风 险 |
岗 位 级 |
岗 位 负 责 人 | |||
|
24 |
药剂 投加 系统 |
药剂 投加 系统 |
1.身体部分接触到 化学药剂; 2.储罐或管道破损 产生泄漏; 3.泄漏药剂溢流污 染环境; 4.定期检查与维护 保养缺失; |
灼 烫 |
5 |
2 |
10 |
一般 风险 |
9个月 |
1.根据设计规范设置泄漏现场报警装置; 2.根据设计规范在投加区设置围堰防止泄漏药剂溢流; 3.在储罐上安装防爆箍; 4.制定操作规程、作业指导书并培训; 5.定期检查与维护保养; 6.现场安装应急洗眼器、冲淋器; 7.穿戴防护用品; 8.制定突发药剂泄漏应急预案并定期演练。 |
一般 风险 |
班 组 级 |
班 组 负 责 人 | ||||
53
DB4403/T 267—2022
表B.1 自来水厂安全风险清单(第26页/共56页)
|
序 |
评 估 |
风险 |
危险 |
风险描述 |
事故 |
极端风险 |
关键技术与工程措施 |
关键人员素养与 |
关键个人防 护与应急管 理措施 |
现实 风 |
管 控 |
责 任 人 | |||||
|
L |
E |
C |
D |
风险 等级 |
动态 | ||||||||||||
|
号 |
单 元 |
点 |
源 |
类型 |
L |
S |
R |
管控 周期 |
系统管理措施 |
等级 |
层 级 | ||||||
|
24 |
反 应 池 |
药剂 投加 系统 |
药剂 投加 系统 |
5.突发药剂泄漏 应急预案缺失。 |
— |
— | |||||||||||
|
25 |
搅拌 机 |
搅拌 机 |
1.触碰设备运转 部分; 2.设备故障漏 电; 3.定期检查与维 护保养缺失。 |
触电 机械 伤害 |
5 |
2 |
10 |
一般 风险 |
9个月 |
1.根据设计规范设置短路、过载、接地、漏电 装置; 2.设备外露旋转部分设置护罩; 3.制定操作规程、作业指导书并培训; 4.定期检查与维护保养; 5.防护用品穿戴; 6.设置急停保护。 |
防雷等保护 |
一般 风险 |
班 组 级 |
班 组 负 责 人 | |||
|
26 |
沉 淀 池 |
巡检 作业 |
水 池、 机械 设备 |
1.人员巡检作业 不当; 2.水池栏杆缺失 或不可靠; 3.清洗水池作 业,不慎跌入水 池; 4.路面湿滑造成 滑跌; 5.高温、雷雨、 台风等恶劣天气 作业引发中暑、 触电、高空坠物 等意外伤害; |
高处 坠落 淹溺 |
10 |
3 |
7 |
210 |
一般 风险 |
9个月 |
1.根据设计规范安装栏杆等临边、临水防护装置; 2.根据设计规范安装踢脚板等防坠物装置; 3.恶劣天气情况下暂停作业; 4.建立人员出入管理和访客管理制度; 5.制定操作规程、作业指导书并培训。 |
一般 风险 |
班 组 级 |
班 组 负 责 人 | ||
54
DB4403/T 267—2022
表B.1 自来水厂安全风险清单(第27页/共56页)
|
序 号 |
评估 单元 |
风险 点 |
危险 源 |
风险描述 |
事故 类型 |
极端风险 |
关键技术与工程措施 |
关键人员素养与 系统管理措施 |
关键个人防 护与应急管 理措施 |
现实 风险 等级 |
管 控 层 级 |
责 任 人 | |||||
|
L |
E |
C |
D |
风险 等级 |
动态 管控 周期 | ||||||||||||
|
L |
S |
R | |||||||||||||||
|
26 |
沉淀 池 |
巡检 作业 |
水 池、 机械 设备 |
6.非授权人员进 入。 |
— |
— |
— |
— |
— |
— | |||||||
|
27 |
检维 修作 业 |
水 池、 机械 设备 |
1.人员检维修作 业不当; 2.未制定巡检作 业指导书。 |
机械 伤害 |
10 |
2 |
7 |
140 |
低风 险 |
12个 月 |
1.制定并落实作业指导书; 2.作业人员正确穿戴防护用品。 |
低风 险 |
岗 位 级 |
岗 位 负 责 人 | |||
|
28 |
电动 阀门 |
电动 阀门 |
1.触碰设备运转 部分; 2.设备故障漏 电; 3.室外控制柜雨 天渗水; 4.定期维保缺 失。 |
机械 伤害 触电 |
5 |
1 |
5 |
低风 险 |
12个 月 |
1.根据设计规范设置短路、过载、接地、漏电、防雷等保护 装置; 2.室外控制柜设置密封防水装置; 3.设备外露旋转部分设置护罩; 4.制定操作规程、作业指导书并培训; 5.定期检查与维护保养。 |
低风 险 |
岗 位 级 |
岗 位 负 责 人 | ||||
|
29 |
刮泥 机 |
刮泥 机 |
1.触碰设备运转 部分; 2.设备故障漏 电; 3.定期检查与维 护保养缺失。 |
触电 机械 伤害 |
5 |
1 |
5 |
低风 险 |
12个 月 |
1.根据设计规范设置短路、过载、接地、漏电、防雷等保护 装置; 2.设备外露旋转部分设置护罩; 3.制定操作规程、作业指导书并培训; 4.定期检查与维护保养; 5.防护用品穿戴; 6.设置急停保护。 |
低风 险 |
岗 位 级 |
岗 位 负 责 人 | ||||
55
DB4403/T 267—2022
表B.1 自来水厂安全风险清单(第28页/共56页)
|
评 |
极端风险 |
关键个人防 护与应急管 理措施 |
现实 风险 等级 |
管 |
责 | ||||||||||||
|
序 |
估 |
风险 |
危险 |
风险描述 |
事故 |
L |
E |
C |
D |
风险 等级 |
动态管 控周期 |
关键技术与工程措施 |
关键人员素养与 |
控 |
任 人 | ||
|
号 |
单 元 |
点 |
源 |
类型 |
L |
S |
R |
系统管理措施 |
层 级 | ||||||||
|
1.人员巡检作业 不当; 2.水池栏杆缺失 或不可靠; 3.清洗水池作 | |||||||||||||||||
|
30 |
滤 池 |
巡检 作业 |
水 池、 机械 设备 |
业,不慎跌入水 池; 4.路面湿滑造成 滑跌; 5.高温、雷雨、 台风等恶劣天气 作业引发中暑、 触电、高空坠物 等意外伤害; 6.非授权人员进 入。 |
高处 坠落 淹溺 |
10 |
3 |
7 |
210 |
一般 风险 |
9个月 |
1.根据设计规范安装栏杆等临边、临水防护装置; 2.根据设计规范安装踢脚板等防坠物装置; 3.恶劣天气情况下暂停作业; 4.建立人员出入管理和访客管理制度; 5.制定操作规程、作业指导书并培训。 |
一般 风险 |
班 组 级 |
班 组 负 责 人 | ||
|
31 |
检维 修作 业 |
水 池、 机械 设备 |
1.人员检维修作 业不当; 2.未制定巡检作 业指导书。 |
机械 伤害 |
10 |
2 |
7 |
140 |
低风 险 |
12个月 |
1.制定并落实作业指导书; 2.作业人员正确穿戴防护用品。 |
低风 险 |
岗 位 级 |
岗 位 负 责 人 | |||
56
DB4403/T 267—2022
表B.1 自来水厂安全风险清单(第29页/共56页)
|
序 号 |
评 估 单 元 |
风险 点 |
危险 源 |
风险描述 |
事故 类型 |
极端风险 |
关键技术与工程措施 |
关键人员素养与 系统管理措施 |
关键个人防 护与应急管 理措施 |
现实 风险 等级 |
管 控 层 级 |
责 任 人 | |||||
|
L |
E |
C |
D |
风险 等级 |
动态管 控周期 | ||||||||||||
|
L |
S |
R | |||||||||||||||
|
32 |
滤 池 |
电动 阀门 |
电动 阀门 |
1.触碰设备运转 部分; 2.设备故障漏 电; 3.室外控制柜雨 天渗水; 4.定期维保缺 失。 |
触电 机械 伤害 |
5 |
1 |
5 |
低风 险 |
12个月 |
1.根据设计规范设置短路、过载、接地、漏电、防雷等保护装 置; 2.室外控制柜设置密封防水装置; 3.设备外露旋转部分设置护罩; 4.制定操作规程、作业指导书并培训; 5.定期检查与维护保养。 |
低风 险 |
岗 位 级 |
岗 位 负 责 人 | |||
|
33 |
起重 机械 |
起重 机械 |
1.作业时物品脱 落; 2.钢丝绳出现毛 刺或断裂; 3.滑轮或导轨产 生变形或裂痕; 4.不符合特种设 备使用登记要 求; 5.不符合周期检 验等要求。 |
机械 伤害 物体 打击 |
5 |
2 |
10 |
一般 风险 |
9个月 |
1.根据设计规范设置短路、过载、接地、漏电、防雷等保护装 置; 2.根据设计规范设置急停装置; 3.根据设计规范设置限位装置; 4.根据设计规范设置互锁装置; 5.根据设计规范安装防脱钩; 6.操作人员持证上岗; 7.制定操作规程、作业指导书并培训; 8.定期检查与维护保养; 9.按要求进行周期检验; 10.穿戴防护用品。 |
一般 风险 |
班 组 级 |
班 组 负 责 人 | ||||
|
34 |
深 度 处 理 车 |
巡检 作业 |
水 池、 机械 设备 |
1.人员巡检作业 不当; 2.水池栏杆缺失 或不可靠; 3.清洗水池作 业,不慎跌入水 |
高处 坠落 淹溺 |
10 |
3 |
7 |
210 |
一般 风险 |
9个月 |
1.根据设计规范安装栏杆等临边、临水防护装置; 2.根据设计规范安装踢脚板等防坠物装置; 3.恶劣天气情况下暂停作业; 4.建立人员出入管理和访客管理制度; 5.制定操作规程、作业指导书并培训。 |
一般 风险 |
班 组 级 |
班 组 负 责 人 | ||
57
DB4403∕T 267—2022
表B.1自来水厂安全风险清单(第30页/共56页)
|
序 号 |
风险 点 |
危险 源 |
风险描述 |
事故 类型 |
极端风险 |
关键技术与工程措施 |
关键人员素养与系 统管理措施 |
关键个人防 护与应急管 理措施 |
现实 风险 等级 |
管 控 层 级 |
责 任 人 | ||||||
|
L |
E |
C |
D |
风险 等级 |
动态管 控周期 | ||||||||||||
|
L |
S |
R | |||||||||||||||
|
34 |
巡检 作业 |
水 池、 机械 设备 |
4.路面湿滑造成 滑跌; 5.高温、雷雨、 台风等恶劣天气 作业引发中暑、 触电、高空坠物 等意外伤害; 6.非授权人员进 入。 |
— |
— |
— |
— |
— |
— |
— |
— |
— |
— | ||||
|
35 |
检维 修作 业 |
水 池、 机械 设备 |
1.人员检维修作 业不当; 2.未制定巡检作 业指导书。 |
机械 伤害 |
10 |
2 |
7 |
140 |
低风 睑 |
12个月 |
L制定并落实作业指导书; 2.作业人员正确穿戴防护用品。 |
低风 睑 |
岗 位 级 | ||||
|
36 |
泵类 |
泵类 |
L触碰设备运转 部分; 2.设备故障漏 电; 3.室内控制柜高 温天气散热不 畅; 4.室外控制柜雨 天渗水; 5.运行时产生噪 |
触电 机械 伤害 火灾 |
5 |
2 |
10 |
一般 风险 |
9个月 |
L根据设计规范设置短路、过载、接地、漏电、防雷等保护装 置; 2.張内控制柜设置通风散热装置; 3.室外控制柜设置密封防水装置; 4.设备外露旋转部分设置护罩; 5.制定操作规程、作业指导书并培训; 6.定期检查与维护保养; 7.穿戴防护用品; 8.设置急停保护。 |
一般 风险 |
班 组 级 | |||||
58
DB4403/T 267—2022
表B.1 自来水厂安全风险清单(第31页/共56页)
|
序 号 |
评 估 单 元 |
风险 点 |
危 险 源 |
风险描述 |
事故 类型 |
极端风险 |
关键技术与工程措施 |
关键人员素养与 系统管理措施 |
关键个人防 护与应急管 理措施 |
现实 风险 等级 |
管 控 层 级 |
责 任 人 | |||||
|
L |
E |
C |
D |
风险 等级 |
动态管 控周期 | ||||||||||||
|
L |
S |
R | |||||||||||||||
|
36 |
深 度 处 理 车 间 |
泵类 |
泵 类 |
音; 6.定期检查与维 护保养缺失。 |
— |
— |
— |
— |
— |
— | |||||||
|
37 |
电动 阀门 |
电 动 阀 门 |
1.触碰设备运转 部分; 2.设备故障漏 电; 3.室外控制柜雨 天渗水; 4.定期维保缺 失。 |
触电 机械 伤害 |
5 |
1 |
5 |
低风 险 |
12个月 |
1.根据设计规范设置短路、过载、接地、漏电、防雷等保护装 置; 2.室外控制柜设置密封防水装置; 3.设备外露旋转部分设置护罩; 4.制定操作规程、作业指导书并培训; 5.定期检查与维护保养。 |
低风 险 |
岗 位 级 |
岗 位 负 责 人 | ||||
|
38 |
空气 压缩 机 |
空 气 压 缩 机 |
1.设备漏电; 2.空压机压力过 高; 3.空压机过热; 4.紧固部件松 脱; 5.阀杆、限位器 等部件卡塞; 6.压缩气体混入 油类、烃类物质。 7.与墙、柱间距 离不够,通风散 热不佳; 8.异物进入阻塞 |
触电 机械 伤害 物体 打击 容器 爆炸 |
5 |
2 |
10 |
一般 风险 |
9个月 |
1.根据设计规范设置短路、过载、接地、漏电、防雷等保护装 置; 2.根据设计规范合理使用预成套配置设备,减少外露面积; 3.根据设计规范合理设置安装位置,预留足够空间; 4.根据设计规范安装安全阀、排气阀等泄压装置; 5.根据设计规范安装过热报警、温控保护等; 6.根据设计规范安装空气过滤装置; 7.制定操作规程、作业指导书并培训; 8.定期检查与维护保养; 9.定期校准仪表; 10.设置急停保护。 |
一般 风险 |
班 组 级 |
班 组 负 责 人 | ||||
59
DB4403/T 267—2022
表B.1 自来水厂安全风险清单(第32页/共56页)
|
序 号 |
评 估 单 元 |
风险 点 |
危 险 源 |
风险描述 |
事故 类型 |
极端风险 |
关键技术与工程措施 |
关键人员素养与 系统管理措施 |
关键个人防 护与应急管 理措施 |
现实 风险 等级 |
管 控 层 级 |
责 任 人 | |||||
|
L |
E |
C |
D |
风险 等级 |
动态管 控周期 | ||||||||||||
|
L |
S |
R | |||||||||||||||
|
38 |
深 度 处 理 车 间 |
空气 压缩 机 |
空 气 压 缩 机 |
部件,如空气过 滤器、排气阀等; 9.运行时产生噪 音; 10.定期维保缺 失; 11.压力表定期 校准缺失。 |
— |
— |
— |
— |
— |
— | |||||||
|
39 |
气瓶 |
气 瓶 |
1.容器表面产生 裂纹、变形、泄 漏、局部过热等 现象; 2.不符合特种设 备使用登记要 求; 3.不符合周期检 验、校准等要求。 |
物体 打击 容器 爆炸 |
5 |
2 |
10 |
一般 风险 |
9个月 |
1.根据设计规范安装安全附件,如安全阀、爆破片、易熔塞等 泄压装置以及压力表等; 2.操作人员持证上岗; 3.制定操作规程、作业指导书并培训; 4.定期检查与维护保养; 5.按要求进行周期检验和校准; 6.穿戴防护用品。 |
一般 风险 |
班 组 级 |
班 组 负 责 人 | ||||
|
40 |
起重 机械 |
起 重 机 械 |
1.作业时物品脱 落; 2.钢丝绳出现毛 刺或断裂; |
机械 伤害 物体 打击 |
5 |
2 |
10 |
一般 风险 |
9个月 |
1.根据设计规范设置短路、过载、接地、漏电、防雷等保护装 置; 2.根据设计规范设置急停装置; 3.根据设计规范设置限位装置; 4.根据设计规范设置互锁装置; 5.根据设计规范安装防脱钩; 6.操作人员持证上岗; 7.制定操作规程、作业指导书并培训; |
一般 风险 |
班 组 级 |
班 组 负 责 人 | ||||
60
DB4403/T 267—2022
表B.1 自来水厂安全风险清单(第33页/共56页)
|
序 号 |
评 估 单 元 |
风险 点 |
危 险 源 |
风险描述 |
事故 类型 |
极端风险 |
关键技术与工程措施 |
关键人员素养与系 统管理措施 |
关键个人防 护与应急管 理措施 |
现实 风险 等级 |
管 控 层 级 |
责 任 人 | |||||
|
L |
E |
C |
D |
风险 等级 |
动态管 控周期 | ||||||||||||
|
L |
S |
R | |||||||||||||||
|
40 |
深 度 处 理 车 间 |
起重 机械 |
起 重 机 械 |
— |
— |
8.定期检查与维护保养; 9.按要求进行周期检验; 10.穿戴防护用品。 |
— |
— |
— | ||||||||
|
41 |
控制 柜 |
控 制 柜 |
1.短路、过载、 接地、漏电、雷 击等故障导致触 电; 2.线路或易耗易 损件老化; 3.接线端子松 脱; 4.绝缘防护用品 失效; 5.老鼠等小动物 咬坏线路; 6.高温、高湿、 雷电等特殊天 气; 7.设施长期积尘 或异物进入; 8.定期检查与维 护保养缺失; 9.非授权人员私 自接电。 |
触电 火灾 |
5 |
2 |
10 |
一般 风险 |
9个月 |
1.根据设计规范设置短路、过载、接地、漏电、防雷等保护装 置; 2.根据设计规范安装挡鼠板; 3.改善现场的通风散热条件; 4.根据相关规范安装消防系统或配备电器火灾灭火器; 5.操作人员持证上岗; 6.制定操作规程、作业指导书并培训; 7.定期检查与维护保养; 8.建立并执行临时用电审批制度; 9.定期检测或更换绝缘防护用品; 10.穿戴防护用品。 |
一般 风险 |
班 组 级 |
班 组 负 责 人 | ||||
61
DB4403/T 267—2022
表B.1 自来水厂安全风险清单(第34页/共56页)
|
序 号 |
评估 单元 |
风险 点 |
危险 源 |
风险描述 |
事故 类型 |
极端风险 |
关键技术与工程措施 |
关键人员素养与 系统管理措施 |
关键个人防 护与应急管 理措施 |
现实 风险 等级 |
管 控 层 级 |
责 任 人 | |||||
|
L |
E |
C |
D |
风险 等级 |
动态管 控周期 | ||||||||||||
|
L |
S |
R | |||||||||||||||
|
42 |
深度 处理 车间 |
超滤 膜车 间 |
超滤 膜组 件 |
进水有杂质导致 膜丝受损。 |
设备 故障 |
5 |
1 |
5 |
低风 险 |
12个月 |
根据设计规范安装自清洗过滤装置。 |
低风 险 |
岗 位 级 |
岗 位 负 责 人 | |||
|
43 |
超滤 膜车 间 |
超滤 膜清 洗 |
1 化学清洗剂破 坏膜的分离性 能,加重膜污染; 2.清洗剂残留剂 影响水质。 |
设备 故障 |
5 |
1 |
5 |
低风 险 |
12个月 |
选择合适的清洗方式和清洗剂。 |
低风 险 |
岗 位 级 |
岗 位 负 责 人 | ||||
|
44 |
臭氧 -活 性炭 /砂 滤处 理 |
臭氧 发生 器 |
1.吸入过量臭 氧; 2.设备故障漏 电; 3.发生器内混入 烃类、腐蚀性气 体引发爆炸; 4.定期检查与维 护保养缺失。 |
触电 中毒 和窒 息 其他 爆炸 |
5 |
3 |
15 |
较大 风险 |
6个月 |
1.根据设计规范设置短 路、过载、接地、漏电、 防雷等保护装置; 2.根据设计规范内部制氧 机前置无油静音空压机、 空气过滤、气水分离等装 置,保障气源质量; 3.安装氧气和臭氧环境传 感器、急停按钮。 |
1.制定操作规程、作业指导书并培 训; 2.定期检查与维护保养; 3.设置安全警示标识; 4.穿戴防护用品。 |
较大 风险 |
部 门 级 |
部 门 负 责 人 | |||
|
45 |
液氧 储罐 |
1.容器表面产生 裂纹、变形、泄 漏、局部过热等 现象; |
容器 爆炸 |
5 |
2 |
10 |
一般 风险 |
9个月 |
1.保持现场及设备表面清洁,远离火源,远离易燃物; 2.根据设计规范安装安全附件,如安全阀、爆破片、易熔塞等 泄压装置以及压力表等; 3.操作人员持证上岗; |
一般 风险 |
班 组 级 |
— | |||||
62
DB4403/T 267—2022
表B.1 自来水厂安全风险清单(第35页/共56页)
|
序 号 |
评 估 单 元 |
风险 点 |
危 险 源 |
风险描述 |
事 故 类 型 |
极端风险 |
关键技术与工程措施 |
关键人员素养与 系统管理措施 |
关键个人防 护与应急管 理措施 |
现实 风险 等级 |
管 控 层 级 |
责 任 人 | |||||
|
L |
E |
C |
D |
风险 等级 |
动态 管控 周期 | ||||||||||||
|
L |
S |
R | |||||||||||||||
|
45 |
液 氧 储 罐 |
2.不符合特种设备使 用登记要求; 3.不符合周期检验、 校准等要求。 |
— |
— |
— |
— |
— |
— |
4.制定操作规程、作业指导书并培训; 5.定期检查与维护保养; 6.按要求进行周期检验和校准; 7.穿戴防护用品。 |
班 组 负 责 人 | |||||||
|
46 |
深 度 处 理 车 间 |
臭氧 -活 性炭 处理 |
活 性 炭 滤 池/ 砂 滤 池 |
1.人员巡检作业不 当; 2.水池栏杆缺失或不 可靠; 3.清洗水池作业,不 慎跌入水池; 4.路面湿滑造成滑 跌; 5.高温、雷雨、台风 等恶劣天气作业引发 中暑、触电、高空坠 物等意外伤害; 6.非授权人员进入。 |
高 处 坠 落 淹 溺 |
10 |
3 |
7 |
210 |
一般 风险 |
9个 月 |
1.根据设计规范安装栏杆等临边、临水防护装置; 2.根据设计规范安装踢脚板等防坠物装置; 3.恶劣天气情况下暂停作业; 4.建立人员出入管理和访客管理制度; 5.制定操作规程、作业指导书并培训。 |
一般 风险 |
班 组 级 |
班 组 负 责 人 | ||
|
47 |
药剂 投加 系统 |
药 剂 投 加 |
1.身体部分接触到化 学药剂; 2.储罐或管道破损产 生泄漏; |
灼 烫 |
5 |
2 |
10 |
一般 风险 |
9个 月 |
1.根据设计规范设置泄漏现场报警装置; 2.根据设计规范在投加区设置围堰防止泄漏药剂溢流; 3.在储罐上安装防爆箍; 4.制定操作规程、作业指导书并培训; |
一般 风险 |
班 组 级 | |||||
63
DB4403/T 267—2022
表B.1 自来水厂安全风险清单(第36页/共56页)
|
序 号 |
评估 单元 |
风险 点 |
危 险 源 |
风险描述 |
事故 类型 |
极端风险 |
关键技术与工程措施 |
关键人员素养与 系统管理措施 |
关键个人防 护与应急管 理措施 |
现实 风险 等级 |
管 控 层 级 |
责 任 人 | |||||
|
L |
E |
C |
D |
风险 等级 |
动态管控 周期 | ||||||||||||
|
L |
S |
R | |||||||||||||||
|
47 |
深度 处理 车间 |
药剂 投加 系统 |
系 统 |
3.泄漏药剂溢流 污染环境; 4.定期检查与维 护保养缺失; 5.突发药剂泄漏 应急预案缺失。 |
— |
— |
— |
— |
5.定期检查与维护保养; 6.现场安装应急洗眼器、冲淋器; 7.穿戴防护用品; 8.制定突发药剂泄漏应急预案并定期演练。 |
— | |||||||
|
48 |
清水 池 |
有限 空间 作业 |
有 毒 有 害 气 体 |
1.未经允许,私 自进入受限空 间; 2.气体检测、强 制通风、应急救 援设备配置缺 失; 3.处于有毒有害 气体或缺氧环 境; 4.未落实专项培 训、作业审批、 应急预案等要 求。 |
中毒 窒息 淹溺 |
10 |
1 |
15 |
150 |
一般 风险 |
9个月 |
1.在现场醒目位置设置安全警示标志; 2.根据相关要求为作业人员配置气体检测仪、风机、安全 带、救援三脚、绞盘、防坠器架、对讲机等硬件设备; 3.建立有限空间管理、作业审批等制度并实施; 4.定期开展有限空间作业培训、演练等安全教育; 5.穿戴防护用品。 |
一般 风险 |
班 组 级 |
班 组 负 责 人 | ||
|
49 |
电动 阀门 |
电 动 阀 门 |
1.触碰设备运转 部分; 2.设备故障漏 电; 3.室外控制柜雨 |
触电 机械 伤害 |
5 |
1 |
5 |
低风 险 |
12个月 |
1.根据设计规范设置短路、过载、接地、漏电、防雷等保 护装置; 2.室外控制柜设置密封防水装置; 3.设备外露旋转部分设置护罩; 4.制定操作规程、作业指导书并培训; |
低风 险 |
岗 位 级 |
岗 位 负 责 人 | ||||
64
DB4403/T 267—2022
表B.1 自来水厂安全风险清单(第37页/共56页)
|
序 |
评估 |
风险 |
危险 |
事故 |
极端风险 |
关键技术与工程措施 |
关键人员素养与 |
关键个人防 护与应备管 |
现实 凤险 |
管 控 |
责 仟 | ||||||
|
L |
E |
C |
D |
风险 |
动态管 控周期 | ||||||||||||
|
号 |
单元 |
点 |
源 |
类型 |
L |
S |
R |
等级 |
丿∖y⅛j乂/|、 j —L∙q土JmZJIli |
系统管理措施 |
理措施 |
等级 |
层 级 |
I丄 人 | |||
|
49 |
清水 池 |
电动 阀门 |
电动 阀门 |
天渗水; 4.定期维保缺 失。 |
— |
— |
— |
— |
— |
— |
5.定期检查与维护保养。 |
— | |||||
|
50 |
加药 间、 消毒 间 |
药剂 投加 系统 |
药剂 投加 系统 |
1.身体部分接触 到化学药剂; 2.储罐或管道破 损产生泄漏; 3.泄漏药剂溢流 污染环境; 4.定期检查与维 护保养缺失; 5.突发药剂泄漏 应急预案缺失。 |
灼烫 |
5 |
2 |
10 |
一般 风险 |
9个月 |
1.根据设计规范设置泄漏现场报警装置; 2.根据设计规范在投加区设置围堰防止泄漏药剂溢流; 3.在储罐上安装防爆箍; 4.制定操作规程、作业指导书并培训; 5.定期检查与维护保养; 6.现场安装应急洗眼器、冲淋器; 7.穿戴防护用品; 8.制定突发药剂泄漏应急预案并定期演练。 |
一般 风险 |
班 组 级 |
班 组 负 责 人 | |||
|
51 |
日常 作业 |
化学 药剂 |
1.非授权人员进 入生产区; 2.药剂运送槽车 装卸时无人监 护。 |
灼烫 中毒 和窒 息 |
10 |
3 |
7 |
210 |
一般 风险 |
9个月 |
1.现场配置洗眼器、冲淋器、救生圈、围堰等应急设施; 2.建立人员出入管理和访客管理制度; 3.制定专人监护药剂运送槽车装卸; 4.穿戴防护用品。 |
一般 风险 |
班 组 级 |
班 组 负 责 人 | |||
|
52 |
检维 修作 业 |
化学 药剂 |
1.人员检维修作 业不当; 2.未制定巡检作 业指导书。 |
机械 伤害 |
10 |
2 |
7 |
140 |
低风 险 |
12个月 |
1.制定并落实作业指导书; 2.作业人员正确穿戴防护用品。 |
低风 险 |
岗 位 级 |
岗 位 负 责 人 | |||
65
DB4403/T 267—2022
表B.1 自来水厂安全风险清单(第38页/共56页)
|
序 |
评估 |
风险 |
危险 |
事故 |
极端风险 |
关键技术与工程措施 |
关键人员素养与 |
关键个人防 护与应备管 |
现实 凤险 |
管 控 |
责 仟 | ||||||
|
L |
E |
C |
D |
风险 |
动态管 控周期 | ||||||||||||
|
号 |
单元 |
点 |
源 |
类型 |
L |
S |
R |
等级 |
系统管理措施 |
理措施 |
等级 |
层 级 |
I丄 人 | ||||
|
53 |
加药 间、 消毒 |
泵类 |
泵类 |
1.触碰设备运转 部分; 2.设备故障漏 电; 3.室内控制柜高 温天气散热不 畅; 4.室外控制柜雨 天渗水; 5.运行时产生噪 音; 6.定期检查与维 护保养缺失。 |
触电 机械 伤害 火灾 |
5 |
2 |
10 |
一般 风险 |
9个月 |
1.根据设计规范设置短路、过载、接地、漏电、 置; 2.室内控制柜设置通风散热装置; 3.室外控制柜设置密封防水装置; 4.设备外露旋转部分设置护罩; 5.制定操作规程、作业指导书并培训; 6.定期检查与维护保养; 7.穿戴防护用品; 8.设置急停保护。 |
防雷等保护装 |
一般 风险 |
班 组 级 |
班 组 负 责 人 | ||
|
54 |
间 |
起重 机械 |
起重 机械 |
1.作业时物品脱 落; 2.钢丝绳出现毛 刺或断裂; 3.滑轮或导轨产 生变形或裂痕; 4.不符合特种设 备使用登记要 求; 5.不符合周期检 验等要求。 |
机械 伤害 物体 打击 |
5 |
2 |
10 |
一般 风险 |
9个月 |
1.根据设计规范设置短路、过载、接地、漏电、 置; 2.根据设计规范设置急停装置; 3.根据设计规范设置限位装置; 4.根据设计规范设置互锁装置; 5.根据设计规范安装防脱钩; 6.操作人员持证上岗; 7.制定操作规程、作业指导书并培训; 8.定期检查与维护保养; 9.按要求进行周期检验; 10.穿戴防护用品。 |
防雷等保护装 |
一般 风险 |
班 组 级 |
班 组 负 责 人 | ||
66
DB4403/T 267—2022
表B.1 自来水厂安全风险清单(第39页/共56页)
|
序 号 |
评估 单元 |
风险 点 |
危险 源 |
风险描述 |
事故 类型 |
极端风险 |
关键技术与工程措施 |
关键人员素养与系 统管理措施 |
关键个人防 护与应急管 理措施 |
现实 风险 等级 |
管 控 层 级 |
责 任 人 | |||||
|
L |
E |
C |
D |
风险 等级 |
动态管控 周期 | ||||||||||||
|
L |
S |
R | |||||||||||||||
|
55 |
加药 间、 消毒 间 |
药剂 投加 系统 |
药剂 投加 系统 |
1.身体部分接触 到化学药剂; 2.储罐或管道破 损产生泄漏; 3.泄漏药剂溢流 污染环境; 4.定期检查与维 护保养缺失; 5.突发药剂泄漏 应急预案缺失。 |
灼烫 |
5 |
2 |
10 |
一般 风险 |
9个月 |
1.根据设计规范设置泄漏现场报警装置; 2.根据设计规范在投加区设置围堰防止泄漏药剂溢流; 3.在储罐上安装防爆箍; 4.制定操作规程、作业指导书并培训; 5.定期检查与维护保养; 6.现场安装应急洗眼器、冲淋器; 7.穿戴防护用品; 8.制定突发药剂泄漏应急预案并定期演练。 |
一般 风险 |
班 组 级 |
班 组 负 责 人 | |||
|
56 |
搅拌 机 |
搅拌 机 |
1.触碰设备运转 部分; 2.设备故障漏 电; 3.定期检查与维 护保养缺失。 |
触电 机械 伤害 |
5 |
2 |
10 |
一般 风险 |
9个月 |
1.根据设计规范设置短路、过载、接地、漏电、防雷等保 护装置; 2.设备外露旋转部分设置护罩; 3.制定操作规程、作业指导书并培训; 4.定期检查与维护保养; 5.防护用品穿戴; 6.设置急停保护。 |
一般 风险 |
班 组 级 |
班 组 负 责 人 | ||||
|
57 |
巡检 作业 |
噪 声、 机械 设备 |
1.人员巡检作业 不当; 2.设备设施故 障; 3.噪声污染; 4.未制定作业指 导书。 |
机械 伤害 触电 |
10 |
3 |
7 |
210 |
一般 风险 |
9个月 |
1.设备外露旋转部分设置护罩; 2.保证水泵等设备设施及相关附属设备设施正常运行; 3.制定并落实作业指导书; 4.穿戴防护用品。 |
一般 风险 |
班 组 级 |
班 组 负 责 人 | |||
67
DB4403/T 267—2022
表B.1 自来水厂安全风险清单(第40页/共56页)
|
序 |
评估 |
风险 |
危险 |
事故 |
极端风险 |
关键技术与工程措施 |
关键人员素养与 |
关键个人防 护与应备管 |
现实 凤险 |
管 控 |
责 仟 | ||||||
|
L |
E |
C |
D |
风险等 |
动态管 控周期 | ||||||||||||
|
号 |
单元 |
点 |
源 |
类型 |
L |
S |
R |
级 |
系统管理措施 |
理措施 |
等级 |
层 级 |
I丄 人 | ||||
|
58 |
检维 修作 业 |
噪 声、 机械 设备 |
1.人员检维修作 业不当; 2.未制定巡检作 业指导书。 |
机械 伤害 |
10 |
2 |
7 |
140 |
低风险 |
12个月 |
1.制定并落实作业指导书; 2.作业人员正确穿戴防护用品。 |
低风 险 |
岗 位 级 |
岗 位 负 责 人 | |||
|
59 |
加药 间、 消毒 间 |
泵类 |
泵类 |
1.触碰设备运转 部分; 2.设备故障漏 电; 3.室内控制柜高 温天气散热不 畅; 4.室外控制柜雨 天渗水; 5.运行时产生噪 音; 6.定期检查与维 护保养缺失。 |
触电 机械 伤害 火灾 |
5 |
2 |
10 |
一般风 险 |
9个月 |
1.根据设计规范设置短路、过载、接地、漏电、防雷等保护 装置; 2.室内控制柜设置通风散热装置; 3.室外控制柜设置密封防水装置; 4.设备外露旋转部分设置护罩; 5.制定操作规程、作业指导书并培训; 6.定期检查与维护保养; 7.穿戴防护用品; 8.设置急停保护。 |
一般 风险 |
班 组 级 |
班 组 负 责 人 | |||
|
60 |
电动 阀门 |
电动 阀门 |
1.触碰设备运转 部分; 2.设备故障漏 电; |
触电 机械 伤害 |
5 |
1 |
5 |
低风险 |
12个月 |
1.根据设计规范设置短路、过载、接地、漏电、防雷等保护 装置; 2.室外控制柜设置密封防水装置; 3.设备外露旋转部分设置护罩; |
低风 险 |
岗 位 级 | |||||
68
DB4403/T 267—2022
表B.1 自来水厂安全风险清单(第41页/共56页)
|
序 号 |
评估 单元 |
风险 点 |
危险 源 |
风险描述 |
事故 类型 |
极端风险 |
关键技术与工程措施 |
关键人员素养与 系统管理措施 |
关键个人防 护与应急管 理措施 |
现实 风险 等级 |
管 控 层 级 |
责 任 人 | |||||
|
L |
E |
C |
D |
风险等 级 |
动态管 控周期 | ||||||||||||
|
L |
S |
R | |||||||||||||||
|
60 |
加药 间、 消毒 间 |
电动 阀门 |
电动 阀门 |
3.室外控制柜雨 天渗水; 4.定期维保缺 失。 |
— |
4.制定操作规程、作业指导书并培训; 5.定期检查与维护保养。 |
— |
岗 位 负 责 人 | |||||||||
|
61 |
反冲 洗泵 房 |
起重 机械 |
起重 机械 |
1.作业时物品脱 落; 2.钢丝绳出现毛 刺或断裂; 3.滑轮或导轨产 生变形或裂痕; 4.不符合特种设 备使用登记要 求; 5.不符合周期检 验等要求。 |
机械 伤害 物体 打击 |
5 |
2 |
10 |
一般风 险 |
9个月 |
1.根据设计规范设置短路、过载、接地、漏电、防雷等保护 装置; 2.根据设计规范设置急停装置; 3.根据设计规范设置限位装置; 4.根据设计规范设置互锁装置; 5.根据设计规范安装防脱钩; 6.操作人员持证上岗; 7.制定操作规程、作业指导书并培训; 8.定期检查与维护保养; 9.按要求进行周期检验; 10.穿戴防护用品。 |
一般 风险 |
班 组 级 |
班 组 负 责 人 | |||
|
62 |
控制 柜 |
控制 柜 |
1.短路、过载、 接地、漏电、雷 击等故障导致触 电; 2.线路或易耗易 损件老化; 3.接线端子松 脱; |
触电 火灾 |
5 |
2 |
10 |
一般风 险 |
9个月 |
1.根据设计规范设置短路、过载、接地、漏电、防雷等保护 装置; 2.根据设计规范安装挡鼠板; 3.改善现场的通风散热条件; 4.根据相关规范安装消防系统或配备电器火灾灭火器; 5.操作人员持证上岗; 6.制定操作规程、作业指导书并培训; 7.定期检查与维护保养; |
一般 风险 |
班 组 级 |
班 组 负 责 人 | ||||
69
DB4403/T 267—2022
表B.1 自来水厂安全风险清单(第42页/共56页)
|
序 号 |
评估 单元 |
风险 点 |
危险 源 |
风险描述 |
事故 类型 |
极端风险 |
关键技术与工程措施 |
关键人员素养与 系统管理措施 |
关键个人防护 与应急管理措 施 |
现实 风险 等级 |
管 控 层 级 |
责 任 人 | |||||
|
L |
E |
C |
D |
风险 等级 |
动态管控 周期 | ||||||||||||
|
L |
S |
R | |||||||||||||||
|
62 |
反冲 洗泵 房 |
控制 柜 |
控制 柜 |
4.绝缘防护用品 失效; 5.老鼠等小动物 咬坏线路; 6.高温、高湿、 雷电等特殊天 气; 7.设施长期积尘 或异物进入; 8.定期检查与维 护保养缺失; 9.非授权人员私 自接电。 |
8.建立并执行临时用电审批制度; 9.定期检测或更换绝缘防护用品; 10.穿戴防护用品。 |
— |
— |
— | |||||||||
|
63 |
送水 泵房 |
巡检 作业 |
噪 声、 机械 设备 |
1.人员巡检作业 不当; 2.设备设施故 障; 3.噪声污染; 4.未制定作业指 导书。 |
机械 伤害 触电 |
10 |
3 |
7 |
210 |
一般 风险 |
9个月 |
1.设备外露旋转部分设置护罩; 2.保证水泵等设备设施及相关附属设备设施正常运行; 3.制定并落实作业指导书; 4.穿戴防护用品。 |
一般 风险 |
班 组 级 |
班 组 负 责 人 | ||
|
64 |
检维 修作 业 |
噪 声、 机械 设备 |
1.人员检维修作 业不当; 2.未制定巡检作 业指导书。 |
机械 伤害 |
10 |
2 |
7 |
140 |
低风 险 |
12个月 |
1.制定并落实作业指导书; 2.作业人员正确穿戴防护用品。 |
低风 险 |
岗 位 级 |
岗 位 负 责 人 | |||
70
DB4403/T 267—2022
表B.1 自来水厂安全风险清单(第43页/共56页)
|
序 号 |
评估 单元 |
风险 点 |
危 险 源 |
风险描述 |
事故 类型 |
极端风险 |
关键技术与工程措施 |
关键人员素养与 系统管理措施 |
关键个人防 护与应急管 理措施 |
现实 风险 等级 |
管 控 层 级 |
责 任 人 | |||||
|
L |
E |
C |
D |
风险等 级 |
动态管 控周期 | ||||||||||||
|
L |
S |
R | |||||||||||||||
|
65 |
送水 泵房 |
泵类 |
泵 类 |
1.触碰设备运转 部分; 2.设备故障漏电; 3.室内控制柜高 温天气散热不畅; 4.室外控制柜雨 天渗水; 5.运行时产生噪 音; 6.定期检查与维 护保养缺失。 |
触电 机械 伤害 火灾 |
5 |
2 |
10 |
一般风 险 |
9个月 |
1.根据设计规范设置短路、过载、接地、漏电、防雷等保护 装置; 2.室内控制柜设置通风散热装置; 3.室外控制柜设置密封防水装置; 4.设备外露旋转部分设置护罩; 5.制定操作规程、作业指导书并培训; 6.定期检查与维护保养; 7.穿戴防护用品; 8.设置急停保护。 |
一般 风险 |
班 组 级 |
班 组 负 责 人 | |||
|
66 |
电动 阀门 |
电 动 阀 门 |
1.触碰设备运转 部分; 2.设备故障漏电; 3.室外控制柜雨 天渗水; 4.定期维保缺失。 |
触电 机械 伤害 |
5 |
1 |
5 |
低风险 |
12个月 |
1.根据设计规范设置短路、过载、接地、漏电、防雷等保护 装置; 2.室外控制柜设置密封防水装置; 3.设备外露旋转部分设置护罩; 4.制定操作规程、作业指导书并培训; 5.定期检查与维护保养。 |
低风 险 |
岗 位 级 |
岗 位 负 责 人 | ||||
|
67 |
起重 机械 |
起 重 机 械 |
1.作业时物品脱 落; 2.钢丝绳出现毛 刺或断裂; 3.滑轮或导轨产 |
机械 伤害 物体 打击 |
5 |
2 |
10 |
一般风 险 |
9个月 |
1.根据设计规范设置短路、过载、接地、漏电、防雷等保护 装置; 2.根据设计规范设置急停装置; 3.根据设计规范设置限位装置; 4.根据设计规范设置互锁装置; |
一般 风险 |
班 组 级 | |||||
71
DB4403/T 267—2022
表B.1 自来水厂安全风险清单(第44页/共56页)
|
序 号 |
评估 单元 |
风险 点 |
危险 源 |
风险描述 |
事故 类型 |
极端风险 |
关键技术与工程措施 |
关键人员素养与 系统管理措施 |
关键个人防 护与应急管 理措施 |
现实 风险 等级 |
管 控 层 级 |
责 任 人 | |||||
|
L |
E |
C |
D |
风险 等级 |
动态管 控周期 | ||||||||||||
|
L |
S |
R | |||||||||||||||
|
67 |
送水 泵房 |
起重 机械 |
起重 机械 |
生变形或裂痕; 4.不符合特种 设备使用登记 要求; 5.不符合周期 检验等要求。 |
— |
— |
5.根据设计规范安装防脱钩; 6.操作人员持证上岗; 7.制定操作规程、作业指导书并培训; 8.定期检查与维护保养; 9.按要求进行周期检验; 10.穿戴防护用品。 |
班 组 负 责 人 | |||||||||
|
68 |
控制 柜 |
控制 柜 |
1.短路、过载、 接地、漏电、雷 击等故障导致 触电; 2.线路或易耗 易损件老化; 3.接线端子松 脱; 4.绝缘防护用 品失效; 5.老鼠等小动 物咬坏线路; 6.高温、高湿、 雷电等特殊天 气; 7.设施长期积 尘或异物进入; |
触电 火灾 |
5 |
2 |
10 |
一般 风险 |
9个月 |
1.根据设计规范设置短路、过载、接地、漏电、防雷等保护 装置; 2.根据设计规范安装挡鼠板; 3.改善现场的通风散热条件; 4.根据相关规范安装消防系统或配备电器火灾灭火器; 5.操作人员持证上岗; 6.制定操作规程、作业指导书并培训; 7.定期检查与维护保养; 8.建立并执行临时用电审批制度; 9.定期检测或更换绝缘防护用品; 10.穿戴防护用品。 |
一般 风险 |
班 组 级 |
班 组 负 责 人 | ||||
72
DB4403/T 267—2022
表B.1 自来水厂安全风险清单(第45页/共56页)
|
序 |
评估 |
风 险 |
危 险 |
事故 |
极端风险 |
关键技术与工程措施 |
关键人员素养与系 |
关键个人防 护与应备管 |
现实 凤险 |
管 控 |
责 仟 | ||||||
|
L |
E |
C |
D |
风险 |
动态管 控周期 | ||||||||||||
|
号 |
单元 |
点 |
源 |
类型 |
L |
S |
R |
等级 |
统管理措施 |
理措施 |
等级 |
层 级 |
I丄 人 | ||||
|
68 |
送水 泵房 |
控 制 柜 |
控 制 柜 |
8.定期检查与维 护保养缺失; 9.非授权人员私 自接电。 |
— | ||||||||||||
|
69 |
回收 水池 |
泵 类 |
泵 类 |
1.触碰设备运转 部分; 2.设备故障漏 电; 3.室内控制柜高 温天气散热不 畅; 4.室外控制柜雨 天渗水; 5.运行时产生噪 音; 6.定期检查与维 护保养缺失。 |
触电 机械 伤害 火灾 |
5 |
2 |
10 |
一般 风险 |
9个月 |
1.根据设计规范设置短路、过载、接地、漏电 装置; 2.室内控制柜设置通风散热装置; 3.室外控制柜设置密封防水装置; 4.设备外露旋转部分设置护罩; 5.制定操作规程、作业指导书并培训; 6.定期检查与维护保养; 7.穿戴防护用品; 8.设置急停保护。 |
、防雷等保护 |
一般 风险 |
班 组 级 |
班 组 负 责 人 | ||
|
70 |
电 动 阀 门 |
电 动 阀 门 |
1.触碰设备运转 部分; 2.设备故障漏 电; 3.室外控制柜雨 天渗水; 4.定期维保缺 失。 |
触电 机械 伤害 |
5 |
1 |
5 |
低风 险 |
12个月 |
1.根据设计规范设置短路、过载、接地、漏电 装置; 2.室外控制柜设置密封防水装置; 3.设备外露旋转部分设置护罩; 4.制定操作规程、作业指导书并培训; 5.定期检查与维护保养。 |
、防雷等保护 |
低风 险 |
岗 位 级 |
岗 位 负 责 人 | |||
73
DB4403/T 267—2022
表B.1 自来水厂安全风险清单(第46页/共56页)
|
风 险 点 |
危 险 源 |
极端风险 |
关键个人防 护与应急管 理措施 |
现实 风险 等级 |
管 |
责 | |||||||||||
|
序 |
评估 |
风险描述 |
事故 |
L |
E |
C |
D |
风险 等级 |
动态管控 周期 |
关键技术与工程措施 |
关键人员素养与 |
控 |
任 人 | ||||
|
号 |
单元 |
类型 |
L |
S |
R |
系统管理措施 |
层 级 | ||||||||||
|
70 |
回收 水池 |
电 动 阀 门 |
电 动 阀 门 |
1.触碰设备运转 部分; 2.设备故障漏 电; 3.室外控制柜雨 天渗水; 4.定期维保缺 失。 |
触电 机械 伤害 |
5 |
1 |
5 |
低风 险 |
12个月 |
1.根据设计规范设置短路、过载、接地、漏电、防雷等保 护装置; 2.室外控制柜设置密封防水装置; 3.设备外露旋转部分设置护罩; 4.制定操作规程、作业指导书并培训; 5.定期检查与维护保养。 |
低风 险 |
岗 位 级 |
岗 位 负 责 人 | |||
|
71 |
检 维 修 作 业 |
机 械 设 备 |
1.人员检维修作 业不当; 2.未制定巡检作 业指导书。 |
机械 伤害 |
10 |
2 |
7 |
140 |
低风 险 |
12个月 |
1.制定并落实作业指导书; 2.作业人员正确穿戴防护用品。 |
低风 险 |
岗 位 级 |
岗 位 负 责 人 | |||
|
72 |
脱水 车间 |
浓 缩 机 |
浓 缩 机 |
1.触碰设备运转 部分; 2设备故障漏电; 3.定期检查与维 护保养缺失。 |
触电 机械 伤害 |
5 |
2 |
10 |
一般 风险 |
9个月 |
1.根据设计规范设置短路、过载、接地、漏电、防雷等保 护装置; 2.设备外露旋转部分设置护罩; 3.制定操作规程、作业指导书并培训; 4.定期检查与维护保养; 5.防护用品穿戴; 6.设置急停保护。 |
一般 风险 |
班 组 级 |
班 组 负 责 人 | |||
|
73 |
压 滤 机 |
压 滤 机 |
1.触碰设备运转 部分; 2.设备故障漏 |
触电 机械 伤害 |
5 |
2 |
10 |
一般 风险 |
9个月 |
1.根据设计规范设置短路、过载、接地、漏电、防雷等保 护装置; 2.设备外露旋转部分设置护罩; |
一般 风险 |
班 组 级 | |||||
74
DB4403/T 267—2022
表B.1 自来水厂安全风险清单(第47页/共56页)
|
序 号 |
评估 单元 |
风险 点 |
危险 源 |
风险描述 |
事故 类型 |
极端风险 |
关键技术与工程措施 |
关键人员素养与 系统管理措施 |
关键个人防 护与应急管 理措施 |
现实 风险 等级 |
管 控 层 级 |
责 任 人 | ||||
|
L E |
C |
D |
风险 等级 |
动态 管控 周期 | ||||||||||||
|
L |
S |
R | ||||||||||||||
|
73 |
脱水 车间 |
压滤 机 |
压滤 机 |
电; 3.定期检查 与维护保养 缺失。 |
— |
— |
— |
3.制定操作规程、作业指导书并培训; 4.定期检查与维护保养; 5.防护用品穿戴; 6.设置急停保护。 |
班 组 负 责 人 | |||||||
|
74 |
搅拌 机 |
搅拌 机 |
1.触碰设备 运转部分; 2.设备故障 漏电; 3.定期检查 与维护保养 缺失。 |
触电 机械 伤害 |
5 |
2 |
10 |
一般 风险 |
9个月 |
1.根据设计规范设置短路、过载、接地、漏电、防雷等保护 装置; 2.设备外露旋转部分设置护罩; 3.制定操作规程、作业指导书并培训; 4.定期检查与维护保养; 5.防护用品穿戴; 6.设置急停保护。 |
一般 风险 |
班 组 级 |
班 组 负 责 人 | |||
|
75 |
传输 机 |
传输 机 |
1.触碰设备 运转部分; 2.设备故障 漏电; 3.定期检查 与维护保养 缺失。 |
触电 机械 伤害 |
5 |
2 |
10 |
一般 风险 |
9个月 |
1.根据设计规范设置短路、过载、接地、漏电、防雷等保护 装置; 2.设备外露旋转部分设置护罩; 3.制定操作规程、作业指导书并培训; 4.定期检查与维护保养; 5.防护用品穿戴; 6.设置急停保护。 |
一般 风险 |
班 组 级 |
班 组 负 责 人 | |||
|
76 |
脱水 离心 机 |
脱水 离心 机 |
1.触碰设备 运转部分; 2.设备故障 漏电; |
触电 机械 伤害 |
5 |
2 |
10 |
一般 风险 |
9个月 |
1.根据设计规范设置短路、过载、接地、漏电、防雷等保护 装置; 2.设备外露旋转部分设置护罩; 3.制定操作规程、作业指导书并培训; |
一般 风险 |
班 组 级 |
— | |||
75
DB4403/T 267—2022
表B.1 自来水厂安全风险清单(第48页/共56页)
|
序 号 |
评估 单元 |
风险 点 |
危险 源 |
风险描述 |
事故 类型 |
极端风险 |
关键技术与工程措施 |
关键人员素养 与系统管理措 施 |
关键个人防护 与应急管理措 施 |
现实 风险 等级 |
管 控 层 级 |
责任 人 | |||||
|
L |
E |
C |
D |
风险 等级 |
动态 管控 周期 | ||||||||||||
|
L |
S |
R | |||||||||||||||
|
76 |
脱水 车间 |
脱水 离心 机 |
脱水 离心 机 |
3.定期检查 与维护保养 缺失。 |
— |
— |
— |
— |
4.定期检查与维护保养; 5.防护用品穿戴; 6.设置急停保护。 |
— |
班组 负责 人 | ||||||
|
77 |
切割 破碎 机 |
切割 破碎 机 |
1.触碰设备 运转部分; 2.设备故障 漏电; 3.定期检查 与维护保养 缺失。 |
触电 机械 伤害 |
5 |
2 |
10 |
一般 风险 |
9个月 |
1.根据设计规范设置短路、过载、接地、漏电、防雷等保护 装置; 2.设备外露旋转部分设置护罩; 3.制定操作规程、作业指导书并培训; 4.定期检查与维护保养; 5.防护用品穿戴; 6.设置急停保护。 |
一般 风险 |
班 组 级 |
班组 负责 人 | ||||
|
78 |
变配 电室 |
巡检 作业 |
电气 设备 |
1.人员巡检 作业不当; 2.高温环境; 3.非授权人 员进入配电 房。 |
触电 火灾 |
10 |
3 |
7 |
210 |
一般 风险 |
9个月 |
1.配电房门应常闭上锁,禁止非授权人员私自进入; 2.制定并落实变配电室作业指导书。 |
一般 风险 |
班 组 级 |
班组 负责 人 | ||
|
79 |
检维 修作 业 |
电气 设备 |
1.不符合持 证上岗要求; 2.人员检维 修作业不当。 |
触电 火灾 |
10 |
2 |
7 |
140 |
低风 险 |
12 个 月 |
1.电工作业人员持证上岗; 2.制定操作规程、作业指导书并培训。 |
低风 险 |
岗 位 级 |
岗位 负责 人 | |||
76
DB4403/T 267—2022
表B.1 自来水厂安全风险清单(第49页/共56页)
|
序 号 |
评估 单元 |
风险 点 |
危险 源 |
风险描述 |
事故 类型 |
极端风险 |
关键技术与工程措施 |
关键人员素养与系 统管理措施 |
关键个人防 护与应急管 理措施 |
现实 风险 等级 |
管 控 层 级 |
责 任 人 | |||||
|
L |
E |
C |
D |
风险 等级 |
动态 管控 周期 | ||||||||||||
|
L |
S |
R | |||||||||||||||
|
80 |
变配 电室 |
高压 环网 柜/ 变压 器/ 低压 配电 柜/ 控制 柜 |
高压 环网 柜/ 变压 器/ 低压 配电 柜/ 控制 柜 |
1.短路、过载、 接地、漏电、雷 击等故障导致触 电; 2.线路或易耗易 损件老化; 3.接线端子松 脱; 4.绝缘防护用品 失效; 5.老鼠等小动物 咬坏线路; 6.高温、高湿、 雷电等特殊天 气; 7.设施长期积尘 或异物进入; 8.定期检查与维 护保养缺失; 9.非授权人员私 自接电。 |
触电 火灾 |
5 |
2 |
10 |
一般 风险 |
9个 月 |
1.根据设计规范设置短路、过载、接地、漏电、防雷等保护 装置; 2.根据设计规范安装挡鼠板; 3.改善现场的通风散热条件; 4.根据相关规范安装消防系统或配备电器火灾灭火器; 5.操作人员持证上岗; 6.制定操作规程、作业指导书并培训; 7.定期检查与维护保养; 8.建立并执行临时用电审批制度; 9.定期检测或更换绝缘防护用品; 10.穿戴防护用品。 |
一般 风险 |
班 组 级 |
班 组 负 责 人 | |||
77
DB4403/T 267—2022
表B.1 自来水厂安全风险清单(第50页/共56页)
|
序 号 |
评估 单元 |
风险 点 |
危险 源 |
风险描述 |
事故 类型 |
极端风险 |
关键技术与工程措施 |
关键人员素养与 系统管理措施 |
关键个人防 护与应急管 理措施 |
现实 风险 等级 |
管 控 层 级 |
责 任 人 | |||||
|
L |
E |
C |
D |
风险 等级 |
动态 管控 周期 | ||||||||||||
|
L |
S |
R | |||||||||||||||
|
81 |
化验 室 |
化学 实验 |
化学 药 剂、 化学 仪器 |
1.误操作接触到 化学药剂; 2.酒精灯等明火 引发火灾; 3.现场通风状况 不佳; 4.突发泄漏应急 预案缺失。 |
灼烫 中毒 和窒 息 |
10 |
3 |
7 |
210 |
一般 风险 |
9个月 |
1.根据设计规范在化验现场、药品库房安装通风橱等通风设 备; 2.现场配备灭火器; 3.制定操作规程、作业指导书并培训; 4.现场配备应急洗眼器、冲淋器、防护面具等应急器材; 5.穿戴防护用品; 6.制定突发泄漏应急预案并定期演练。 |
一般 风险 |
班 组 级 |
班 组 负 责 人 | ||
|
82 |
化学 实验 |
化学 仪器 设备 |
1.电阻炉、干燥 箱、灭菌锅、蒸 馏水器等故障引 发触电; 2.误操作被电阻 炉、干燥箱、灭 菌锅、压力蒸汽 锅、蒸馏水器等 烫伤; 3.设备定期检查 与维护保养缺 失; 4.压力蒸汽锅故 障引发爆炸; |
灼烫 触电 爆炸 |
5 |
2 |
10 |
一般 风险 |
9个月 |
1.根据设计规范设置短路、过载、接地、漏电、防雷等保护 装置; 2.定期检查用电设备,定期检测压力容器。 |
一般 风险 |
班 组 级 |
班 组 负 责 人 | ||||
78
DB4403/T 267—2022
表B.1 自来水厂安全风险清单(第51页/共56页)
|
序 号 |
评估 单元 |
风险 点 |
危险 源 |
风险描述 |
事故 类型 |
极端风险 |
关键技术与工程措施 |
关键人员素养与 系统管理措施 |
关键个人防 护与应急管 理措施 |
现实 风险 等级 |
管 控 层 级 |
责 任 人 | |||||
|
L |
E |
C |
D |
风险 等级 |
动态 管控 周期 | ||||||||||||
|
L |
S |
R | |||||||||||||||
|
83 |
化验 室 |
化学 实验 |
化学 药品 |
1.药剂泄漏、挥 发或发生化学反 应产生有害气 体; 2.药剂易燃特性 或化学反应引发 火灾; 3.禁忌化学品混 放; 4.未安装监控设 施。 |
火灾 和爆 炸 中毒 和窒 息 |
5 |
2 |
10 |
一般 风险 |
9个月 |
1.根据设计规范在化验现场、药品库房安装通风橱等通风设 备; 2.现场配备专用废液回收装置; 3.现场配备灭火器; 4.禁忌化学品分开存放。 |
一般 风险 |
班 组 级 |
班 组 负 责 人 | |||
|
84 |
维修 车间 |
巡检 作业 |
水 池、 机械 设备 |
1.高温环境; 2.地面湿滑造成 滑跌。 |
中暑 滑倒 机械 伤害 |
10 |
3 |
3 |
90 |
低风 险 |
12 个 月 |
1.制定操作规程、作业指导书并培训; 2.保持作业场所环境整洁、照明充足、温湿度适宜。 |
低风 险 |
岗 位 级 |
岗 位 负 责 人 | ||
|
85 |
动火 作业 |
气 瓶、 火焰 |
1.人员违章作 业,作业人员未 持证上岗; 2.动火作业现场 未设置灭火器等 消防器材; 3.作业人员未穿 戴个人防护用 |
火灾 和爆 炸 中毒 灼伤 触电 |
10 |
2 |
7 |
140 |
低风 险 |
12 个 月 |
1.动火作业人员应持证上岗; 2.氧气瓶与乙炔、丙烷气瓶间距不小于5 m,二者与动火作 业点间应保持不少于10 m的安全距离; 3.作业完成后,清理现场,确保无任何火源隐患的情况下才 能离开现场; 4.严格执行动火作业审批程序; 5.必要时设置监护员现场监护; 6.气瓶严禁暴晒,应防止牢固,安装防倾倒措施,乙炔气瓶 |
低风 险 |
岗 位 级 |
岗 位 负 责 人 | |||
79
DB4403/T 267—2022
表B.1 自来水厂安全风险清单(第52页/共56页)
|
序 号 |
评估 单元 |
风险 点 |
危险 源 |
风险描述 |
事故 类型 |
极端风险 |
关键技术与工程措施 |
关键人员素养与 系统管理措施 |
关键个人防 护与应急管 理措施 |
现实 风险 等级 |
管 控 层 级 |
责 任 人 | |||||
|
L |
E |
C |
D |
风险 等级 |
动态 管控 周期 | ||||||||||||
|
L |
S |
R | |||||||||||||||
|
85 |
维修 车间 |
动火 作业 |
气 瓶、 火焰 |
品。 4.作业现场通风不 良,照明不足; 5.未执行动火作业 审批,未取得动火 作业许可证; 6.气瓶储存、使用 不规范; 7.作业结束后,未 清理现场。 |
— |
— |
— |
— |
— |
— |
— |
严禁横躺卧放; 7.作业人员穿戴手套、护目镜等防护用品; 8.作业现场设置灭火器等消防器材; 9.制定现场应急处置方案,作业人员掌握应急处置方法。 |
— | ||||
|
86 |
起重 作业 |
起重 机 械、 吊物 |
1.作业时物品脱 落; 2.钢丝绳出现毛刺 或断裂; 3.滑轮或导轨产生 变形或裂痕; 4.不符合特种设备 使用登记要求; 5.不符合周期检验 等要求。 |
机械 伤害 物体 打击 |
5 |
2 |
10 |
一般 风险 |
9个月 |
1.根据设计规范设置短路、过载、接地、漏电、防雷等保 护装置; 2.根据设计规范设置急停装置; 3.根据设计规范设置限位装置; 4.根据设计规范设置互锁装置; 5.根据设计规范安装防脱钩; 6.操作人员持证上岗; 7.制定操作规程、作业指导书并培训; 8.定期检查与维护保养; 9.按要求进行周期检验; 10.穿戴防护用品。 |
一般 风险 |
班 组 级 |
班 组 负 责 人 | ||||
80
DB4403/T 267—2022
表B.1 自来水厂安全风险清单(第53页/共56页)
|
序 号 |
评估 单元 |
风险 点 |
危险 源 |
风险描述 |
事故 类型 |
极端风险 |
关键技术与 工程措施 |
关键人员素养与 系统管理措施 |
关键个人防护与 应急管理措施 |
现实 风险 等级 |
管控 层级 |
责任 人 | |||||
|
L |
E |
C |
D |
风险 等级 |
动态 管控 周期 | ||||||||||||
|
L |
S |
R | |||||||||||||||
|
87 |
维修 车间 |
气瓶 |
气瓶 |
1.容器表面产生裂纹、 变形、泄漏、局部过热 等现象; 2.不符合特种设备使 用登记要求; 3.不符合周期检验、校 准等要求。 |
物体 打击 容器 爆炸 |
5 |
2 |
10 |
一般 风险 |
9个月 |
1.根据设计规范安装安全附件,如安全阀、爆破片、易 熔塞等泄压装置以及压力表等; 2.操作人员持证上岗; 3.制定操作规程、作业指导书并培训; 4.定期检查与维护保养; 5.按要求进行周期检验和校准; 6.穿戴防护用品。 |
一般 风险 |
班组 级 |
班组 负责 人 | |||
|
88 |
普通 仓库 |
货物 搬运 储存 |
货物 电气 线路 |
1.搬运过程操作不当 造成自身伤害; 2.携带明火进入; 3.未经允许动火作业; 4.线路故障或老化引 发电气火灾; 5.货物堆放过高、固定 不牢,滑落伤人; 6.设备材料堆放间距、 堆高、离地等不符合规 |
物体 打击 火灾 |
10 |
2 |
7 |
210 |
一般 风险 |
9个月 |
1.根据仓库实际情况配备适用货架; 2.在现场配备灭火器; 3.根据相关规范安装货架限位、护顶架、定位销、声光 报警器等安全附件,合理配置碰撞预警、限速报警、启 停感应等安全控制系统; 4.在现场安装安全警示标志; 5.按规范摆放设备材料; 6.组织专项培训,提高仓管人员安全意识; 7.穿戴防护用品。 |
一般 风险 |
班组 级 |
班组 负责 人 | ||
81
DB4403/T 267—2022
表B.1 自来水厂安全风险清单(第54页/共56页)
|
序 号 |
评估 单元 |
风险 点 |
危险 源 |
风险描述 |
事故 类型 |
极端风险 |
关键技术与工程措施 |
关键人员素养与 系统管理措施 |
关键个人防 护与应急管 理措施 |
现实 风险 等级 |
管 控 层 级 |
责 任 人 | |||||
|
L |
E |
C |
D |
风险 等级 |
动态 管控 周期 | ||||||||||||
|
L |
S |
R | |||||||||||||||
|
88 |
普通 仓库 |
货物 搬运 储存 |
货物 电气 线路 |
范; 7.违规存放易燃 易爆品。 |
— |
— |
— |
— |
— |
— | |||||||
|
89 |
叉车 |
叉车 |
1.不符合持证上 岗要求; 2.未遵守厂区限 速规定; 3.视线不畅发生 夹人事故; 4.作业区域有其 他人员经过; 5.不符合特种设 备使用登记要 求; 6.不符合周期检 验等要求。 |
物体 打击 车辆 伤害 |
5 |
2 |
10 |
一般 风险 |
9个月 |
1.根据相关规范安装货架限位、护顶架、定位销、声光报警 器等安全附件,合理配置碰撞预警、限速报警、启停感应等 安全控制系统; 2.操作人员持证上岗; 3.制定操作规程、作业指导书并培训; 4.定期检查与维护保养; 5.按要求进行周期检验; 6.穿戴防护用品。 |
一般 风险 |
班 组 级 |
班 组 负 责 人 | ||||
|
90 |
食堂 |
用电 |
用电 设备 |
1.下班后没有及 时断电、断水、 断气; 2.设备定期检查 与维护保养缺 |
触电 机械 伤害 |
5 |
2 |
10 |
一般 风险 |
9个月 |
1.在现场配备灭火器; 2.设备定期检查与维护保养。 |
一般 风险 |
班 组 级 | ||||
82
DB4403/T 267—2022
表B.1 自来水厂安全风险清单(第55页/共56页)
|
序 号 |
评估 单元 |
风险 点 |
危险 源 |
风险描述 |
事故 类型 |
极端风险 |
关键技术与工程措施 |
关键人员素养与 系统管理措施 |
关键个人防 护与应急管 理措施 |
现实风 险等级 |
管 控 层 级 |
责任 人 | |||||
|
L |
E |
C |
D |
风险 等级 |
动态 管控 周期 | ||||||||||||
|
L |
S |
R | |||||||||||||||
|
90 |
食堂 |
用电 |
用电 设备 |
失; 3.环境潮湿导致 触电; 4.地面湿滑导致 滑跌; 5设备故障漏电。 |
— |
— |
— |
— |
班组 负责 人 | ||||||||
|
91 |
气瓶 |
气瓶 |
1.携带明火进入 燃气(液化石油 气)间; 2.燃气(液化石 油气)泄漏。 |
火灾 和爆 炸 |
5 |
2 |
10 |
一般 风险 |
9个月 |
1.根据设计规范安装燃气(液化石油气)报警系统; 2.在气瓶与气化炉之间设置实体墙进行分隔; 3.气瓶增加防倾倒装置。 |
一般风 险 |
班 组 级 |
班组 负责 人 | ||||
|
92 |
宿舍 |
用电 |
用电 设备 |
1.违规使用大功 率电器; 2.离开宿舍后未 及时断电。 |
触电 火灾 其他 伤害 |
5 |
2 |
10 |
一般 风险 |
9个月 |
1.定期安全检查; 2.开展安全意识教育。 |
一般风 险 |
班 组 级 |
班组 负责 人 | |||
|
93 |
办公 区 |
办公 区 |
用电 设备 |
1.违规使用大功 率电器; 2.电气线路老 化; 3.路面湿滑造成 滑跌; 4.下班后未及时 断电。 |
触电 火灾 其他 伤害 |
5 |
2 |
10 |
一般 风险 |
9个月 |
1.根据实际情况,在人流密集处铺设防滑垫,在楼梯处贴 防滑条、刷防滑漆等; 2.定期安全检查; 3.开展安全意识教育; 4.配备灭火器材。 |
一般风 险 |
班 组 级 |
班组 负责 人 | |||
83
DB4403/T 267—2022
表B.1 自来水厂安全风险清单(第56页/共56页)
|
序 号 |
评估 单元 |
风险 点 |
危险 源 |
风险描述 |
事故 类型 |
极端风险 |
关键技术与工程措施 |
关键人员素养与 系统管理措施 |
关键个人防护 与应急管理措 施 |
现实 风险 等级 |
管 控 层 级 |
责任 人 | |||||
|
L |
E |
C |
D |
风险 等级 |
动态 管控 周期 | ||||||||||||
|
L |
S |
R | |||||||||||||||
|
94 |
办公 区 |
茶水 间 |
热水 器 |
1.热水器未安装 漏电保护开关; 2.路面湿滑造成 滑跌。 |
触电 火灾 其他 伤害 |
5 |
2 |
10 |
一般 风险 |
9个月 |
1.根据实际情况,在人流密集处铺设防滑垫,在楼梯处贴防 滑条、刷防滑漆等; 2.热水器安装漏电保护开关; 3.定期安全检查; 4.开展安全意识教育。 |
一般 风险 |
班 组 级 |
班组 负责 人 | |||
|
95 |
中控 室 |
中控 室 |
电气 设备 |
1.人员误操作设 备; 2.电气设备、线路 老化; 3.中控室缺少消 防设施; 4.控制柜短路、过 载、接地、漏电、 雷击等故障导致 触电; 5.未制定中控室 作业指导书。 |
触电 火灾 其他 伤害 |
5 |
2 |
10 |
一般 风险 |
9个月 |
1.保证电气设备、线路完好并能正常运作; 2.定期安全检查; 3.开展安全意识教育; 4.制定操作规程、作业指导书并培训; 5.配备灭火器材。 |
一般 风险 |
班 组 级 |
班组 负责 人 | |||
|
96 |
门卫 室 |
门卫 室 |
应急 装备 |
门卫室缺少钢叉、 警棍、对讲机等应 急物品。 |
其他 伤害 |
5 |
2 |
10 |
一般 风险 |
9个月 |
门卫室配备钢叉、警棍、对讲机等应急物品。 |
一般 风险 |
班 组 级 |
班组 负责 人 | |||
|
97 |
门卫 室 |
门卫 室 |
应急 值班 |
1.门卫室缺少应 急处置流程、门卫 制度; 2.未落实安保人 员反恐怖防范教 育培训。 |
其他 伤害 |
10 |
6 |
3 |
180 |
一般 风险 |
9个月 |
开展反恐怖防范教育培训,值班人员熟悉应急处置程序。 |
一般 风险 |
班 组 级 |
班组 负责 人 | ||
84
DB4403/T 267—2022
附 录 C (规范性) 风险公告
C.1 安全风险公告栏
C.1.1 编制目的
依据危险源辨识、风险分析、风险评价结果,在自来水厂存在较大及以上风险的场所设置较大以上 安全风险公告栏,加强较大以上安全风险管控。
C.1.2 编制要点
C.1.2.1 较大以上安全风险公告栏应标明风险场所图片、场所名称、场所主要风险、风险等级、可能 引发的事故类型、安全标志、事故预防措施、应急处置措施及事应急联系电话等内容,安全标志按照GB 2894—2008中的要求设置。
C.1.2.2 事故类型按照GB/T 6441—1986第2章事故类型以及供水行业常见事故类型填写。
C.1.2.3 风险等级依据安全风险清单而定,若为重大风险用红色标示,若为较大风险用橙色标示,若 为一般风险用黄色标示,若为低风险用蓝色标示。
C.1.3 安全风险公告栏(示例)
安全风险公告栏(示例)见图C.1。
85
DB4403/T 267—2022
|
区■ |
三学药鼻阉■ |
■■貝险尊at |
■ ■ I .∙∣ ι |
馳 F/ / - / / WfSC: 一 ,>(5, ,"" G V" £ 寸,= S. -. ∙⅜∙ ! / / — /,J- /, _. | ||
|
現实风険等■ | ||||||
|
■故类飙 |
K灾一煥氏∖二苛 |
主要危害因韋 | ||||
|
:声3宣:矗风K臬I宣尸屋度七高聯噬度二「? | ||||||
|
\ -I L |
2药■宣K迴气縫踞令唸之•妾 註二施穿曾廖穿线泡保了. 2遇嗑•遇潮能弓:宅燃烧.煥声,发三••二学戻•三我H三石恥气体为y阜危险I霹 | |||||
|
天产/; | ||||||
|
* - -t ^^^^^^V^^∙雅涌,介胖,羣“三七華气,蜂R∙二学釣三 K:噌上产芯 E <学品主禮室戸原紙箱,三紆等导燃软. E禁坛类二学声:2洩戸過方. 7声*3滲, K燃我体力•:学药M产涌电荣兴騙8民及對E且寞也暗施. 2 <阜声:飞褚声宣犬記置云入器材,久五情况一亡;K危害. £导削蠕友剧毒.二章药:飞大改置啰耳声輔咂. 二学药:2宣三%食,吸必等; | ||||||
|
Jq | ||||||
|
安全打志 |
O |
^ ʌʌʌ | ||||
|
»««»!»« | ||||||
|
γ∙⅛药N宣「1位置递屍安置 保:于通R胃好 遗度K•式超二沔二 捐升暹岁六超二三会 2 y阜药工宣尸卫勺线羿夹攻穿看我定敷槽保:户點施,灯具安装保亨始 产交箱歪歪置三更广. & y学药三堂上工禁戸放性箱、三鶴器异烬救 工禁三童国饮•貪、呃您 2"y学药T室“紀置XX耦,-广沙或亨空云k■ E禁忌类、二学药三七:史要北介类•介♦产引. E遇雌,遇潮会■三・二堯戻G*声民N禁露天戸女一気補寇体. 7受三七芯时渡竺二阜天G用Y学药3校置专宅产1⅛: f 出置安全警示炉:兴建Zy受声3賞嘗息屈度選騒三対安全险查. | ||||||
|
应急处・措■ | ||||||
|
火灾,发工人情二『7野翌源也乐Kx覺材又久i西K势较κ.磁也匠之Α与;二"百二龈q竺.尹强打:丁%"整. W mα跪吊公入男 η豬峡溪与亥施隔萬旬整戒.卄受*人詩王••〒及f•呛救 L遗打二:N 二3 /外速;二T句 「空靠号 中毒,玄服<阜西三::争者.須二丈?,二 洗胃及导右.二,年活7『或药牧弘二 对計二兹具K好史昏迷老,区二匸迸医院.年 徹嘗注曾 | ||||||
|
应急获系尽堂:7 77777 售舞F15”義*二二医了工二 | ||||||
|
费•三子、:三A咬犬王 釁EA: 77 7 京乘匚1:当7 77 7 | ||||||
图C.1 安全风险公告栏(示例)
C.2 岗位安全风险告知卡
86
DB4403/T 267—2022
C.2.1 编制目的
根据场地实际情况进行设计,在作业区域醒目位置张贴或挂置岗位安全风险告知卡,使员工能准确 掌握本岗位存在的风险及风险防范措施。
C.2.2 编制要点
C.2.2.1 岗位安全风险告知卡应包括岗位名称、涉及的作业活动、岗位存在的主要风险、风险等级、 可能引发的事故类型、安全标志、事故预防措施、应急处置措施、应急联系方式等内容,安全标志按照 GB 2894—2008中的要求设置。
C.2.2.2 当岗位更新或涉及新的作业活动时,应根据岗位作业活动实际情况进行危险源辨识、风险分 析、风险评价,并制作岗位安全风险告知卡。
C.2.2.3 事故类型按照GB/T 6441—1986第2章事故类型以及供水行业常见事故类型填写。
C.2.2.4 风险等级依据安全风险清单而定,若为重大风险用红色标示,若为较大风险用橙色标示,若 为一般风险用黄色标示,若为低风险用蓝色标示。
C.2.3 岗位安全风险告知卡(示例)
岗位安全风险告知卡(示例)见图C.2。
87
DB4403/T 267—2022
|
IaV |
F.*「飞簞C |
∙V7∙ ,* 二. ∙r∙ — ■ "二 | |||||||
|
"二「節职 |
"一: - |
:「m*C | |||||||
|
ΞS≡t^Z≠ | |||||||||
|
; ==」*,-.弋卢-`j/* …W一 “ =J :-- • • ~ 1 —‘ 一 ♦ . — - J, ~ — ■ ,* -Ma ,— ■& 3 — • _.;,a,一:》""不沪;•二一•'三二. 。二 二二瓦二卡;F二:•+「.•二 三r _ : • -一糸:一 `二二"宀. F V 77.q ; ,- V ?m • # M :: Fl- - ** -# 二-三.T KT 二 < /4 WM ,一二彳 J.望 •■ =i * S∙ ?= f?.声:上,'收 "•【、÷ 1 二:尸:三 •三二工二&0:门飞文一記「「訝 | |||||||||
|
3灯 斷 | |||||||||
|
H週 | |||||||||
|
紫更5话 |
S |
SS |
π□ | ||||||
|
/案*二$二叉哪二 | |||||||||
|
。长吧r二 .及一1■--*-_ ■:.弔:F-F:丁卡 "弋 Y j =「. \,:一. 丁 :…二 7一二,「% .不二1一二.5 二注也 EHT 匸二、一:Y"耳占• -- ʌ I.-二二二. 1二 J.二年二 .二 丁二”三毛二:二三:"=匸•-二反二. -左三『=:, - :" 了二三.酎.石》 <. ½ -- KU亨丁望 ‘二二 L :「1••L一二-JUL-T Z=ι'Γιr* •■"三一:: 二] ~二mhy不 噎 丁 T宁 学• .:[t* J ; ; 一 亠三 * 二:"三=. .注 H-二、"丁 子 T ,J- % 務=一: I:守丈■董讨二 D 飞 _v ^ ■'IiL ■<•■ " p- Λ :" ~=L7,V∖∙'l. . " r;:不‘零注覺 ;'E'「乙飞三 J』-r -∖ --.^ ■ - * ■; ~ -ττ -工;E :^ ^<- 1 ■" 二… 一F.L. L,, - " « - - T J. ' ⅛⅛τr¾ - ≡ -T * .-— - _"—• • - • .■ - _ = ' ∏ Γ∙-二丁力:5 二 N 不'"F:' ^√^A, ^^'⅛- φ'^ -•■•:■ ;. FY平二近二…二 ET = — *二 ^ -- - - - ∙r - - γ » 三一,理._ _. 三,:—一 TH 〒… F —"'■=■ -^, .' ⅛⅛ : J ”L ° * I ∙ $ | |||||||||
|
'j ⅛- :F V … ' —工-交店、---- .「「=-- :• '''' | |||||||||
图C.2 岗位安全风险告知卡(示例)
88
DB4403/T 267—2022
C.3 安全风险四色分布图
C.3.1 编制目的
在醒目位置设置安全风险四色分布图,向自来水厂工作人员及外来人员公告自来水厂安全风险分布 情况,强化风险警示。
C.3.2 编制要点
C.3.2.1 依据安全风险清单,使用红、橙、黄、蓝四种颜色将自来水厂内各评估单元的风险等级标示 在自来水厂平面布置图中,形成安全风险四色分布图。
C.3.2.2 当自来水厂改扩建和抢修施工时,应根据自来水厂实际情况进行危险源辨识、风险分析、风 险评价,并重新制作安全风险四色分布图。
C.3.3 安全风险四色分布图(示例)
安全风险四色分布图分为极端风险四色分布图和现实风险四色分布图,见图C.3和C.4。
|
化验室 | |
|
4宀 宿舍 | |
|
良呈 办公室 | |
|
中控室 |
维修车间 |
|
加药间 变配电室 |
仓库 |
|
格栅池 反应沉淀池 滤池 清水池 送水泵房 | |
|
深度处理车间 | |
|
反冲洗泵房 脱水车间 回收水池 | |
|
门卫室 |
重大风险区域 |
|
较大风险区域 | |
|
一般风险区域 | |
|
低风险区域 | |
图C.3 水厂极端风险四色分布图
89
DB4403/T 267—2022
|
化验室 | |
|
宿舍 | |
|
食堂 办公室 | |
|
中控室 |
维修车间 |
|
加药间 变配电室 |
一合库 |
|
格栅池 反应沉淀池 滤池 清水池 送水泵房 | |
|
深度处理车间 | |
|
反冲洗泵房 脱水车间 回收水池 | |
|
门卫室 |
重大风险区域 |
|
I较大风险区域 | |
|
一般风险区域 | |
|
低风险区域 | |
图C.4 水厂现实风险四色分布图
C.4 作业安全风险比较图
C.4.1 编制目的
在醒目位置设置作业安全风险比较图,向自来水厂员工公布自来水厂改扩建和抢修施工作业、自来 水厂运行时伴有的高风险作业及巡查检查等常规作业或活动的安全风险,保障员工作业活动安全。
C.4.2 编制要点
C.4.2.1 依据安全风险清单中作业活动风险辨识、分析、评价成果,梳理所有作业活动的风险。
C.4.2.2 同一作业活动选取最高风险等级作为该作业活动的风险等级。
C.4.2.3 使用红橙黄蓝四色柱状图列出作业活动风险。
C.4.3 作业安全风险比较图(示例)
重大、较大、一般、低风险分别用数字4、3、2、1进行标识,作业(活动)风险等级见表C.1,作 业安全风险比较图分为作业极端风险比较图和作业现实风险比较图,见图C.5和图C.6。
表C.1 作业(活动)风险等级
|
序号 |
作业活动 |
风险等级 |
标志颜色 |
数字标识 |
|
1 |
基坑开挖(改扩建) |
重大风险 |
红 |
4 |
|
2 |
灌浆工程(改扩建、抢修) |
较大风险 |
橙 |
3 |
|
3 |
脚手架工程(改扩建、抢修) |
较大风险 |
橙 |
3 |
|
4 |
模板工程及支撑体系(改扩建、抢修) |
较大风险 |
橙 |
3 |
90
DB4403/T 267—2022
表C.1 作业(活动)风险等级(续)
|
序号 |
作业活动 |
风险等级 |
标志颜色 |
数字标识 |
|
5 |
吊装作业(改扩建、抢修) |
较大风险 |
橙 |
3 |
|
6 |
高处作业(改扩建、抢修) |
较大风险 |
橙 |
3 |
|
7 |
动火作业(改扩建、抢修) |
较大风险 |
橙 |
3 |
|
8 |
临时用电(改扩建、抢修) |
较大风险 |
橙 |
3 |
|
9 |
有限空间作业(抢修) |
一般风险 |
黄 |
2 |
|
10 |
吊装作业 |
一般风险 |
黄 |
2 |
|
11 |
高处作业 |
一般风险 |
黄 |
2 |
|
12 |
有限空间作业 |
一般风险 |
黄 |
2 |
|
13 |
动火作业 |
一般风险 |
黄 |
2 |
|
14 |
临时用电 |
一般风险 |
黄 |
2 |
|
15 |
巡查检查 |
低风险 |
蓝 |
1 |
4 4
3 3 3 3 3 3 3
3
2 2 2 2 2 2
2
1
1
图C.5 水厂作业(活动)极端风险比较图
91
DB4403/T 267—2022
4
3 3 3
3
2222222222
2
1 1
1
图C.6 水厂作业(活动)现实风险比较图
92
DB4403/T 267—2022
参 考 文 献
[1] GB/T 23694—2013 风险管理 术语
[2] GB/T 33000—2016 企业安全生产标准化基本规范
[3] DB11/T 1322.64—2019 安全生产等级评定技术规范 第64部分:城镇供水厂
[4] DB4403/T 5—2019 企业安全风险分级管控和隐患排查治理双重预防机制建设通则
[5] 中华人民共和国国务院.生产安全事故报告和调查处理条例:中华人民共和国国务院令第493 号.2007年
[6] 广东省水利厅.广东省水利安全风险分级管控工作实施意见:粤水监督函[2019]1328号.2019 年
93