ICS 13.100

CCS C 68


∖^—L ■ .............1

^igiii^


中华人民共和国国家标准

GB 4053.2—2025

代替 GB 4053.2—2009


固定式金属梯及平台安全要求 第2部分:斜梯

Safetyrequirementsforfixedmetalladdersandplatform

Part 2 Inclined ladders


2025-12-31发布


2027-01-01实施


国家市场监督管理总局 国家标准化管理委员会


目 次


GB 4053.2—2025


前言........................................................................................................................W

引言........................................................................................................................N

1范围.....................................................................................................................1

2规范性引用文件......................................................................................................1

3术语和定义............................................................................................................1

4 一般要求...............................................................................................................3

倾角与梯段高度................................................................................................3

材料...............................................................................................................4

荷载...............................................................................................................4

制造安装.........................................................................................................5

防腐蚀............................................................................................................6

防雷接地.........................................................................................................6


4.1

4.2

4.3

4.4

4.5

4.6


5斜梯结构要求.........................................................................................................6

5.1通行空间.........................................................................................................6

5.2 内侧净宽.........................................................................................................6

5.3 踏步宽与踏步高................................................................................................7

5.4  踏板...............................................................................................................7

5.5斜梯防护栏杆与扶手..........................................................................................8

6梯间平台与门.........................................................................................................9

6.1梯间平台.........................................................................................................9

6.2自闭门............................................................................................................9

7使用说明和警示信息................................................................................................9

附录A(资料性斜梯倾角推荐值及踏步宽、踏步高尺寸组合示例 .......................................11

参考文献..................................................................................................................12


I



GB 4053.2—2025


本文件按照GB/T1.1—2020《标准化工作导则 第1部分:标准化文件的结构和起草规则》的规定 起草。

本文件是GB4053《固定式金属梯及平台安全要求》的第2部分,GB4053已经发布了以下部分:

———1部分:直梯;

———2部分:斜梯;

———第3部分:工业防护栏杆及平台。

本文件代替GB4053.2—2009《固定式钢梯及平台安全要求 第2部分:钢斜梯》,本文件与

GB4053.2—2009相比,除结构调整和编辑性改动外,主要技术变化如下:

———更改了范围见第1,2009年版的第1);

———更改了倾角与梯段高度的内容4.1,2009年版的4.25.1);

———更改了材料的要求4.2,2009年版的4.1);

———更改了荷载的要求4.3,2009年版的4.3);

———更改了制造安装的要求4.4,2009年版的4.4);

———更改了防腐蚀的要求4.5,2009年版的4.5);

———更改了通行空间的要求5.1,2009年版的5.5);

———更改了内侧净宽的要求5.2,2009年版的5.2);

———更改了踏步宽与踏步高的要求,增加了螺旋梯踏步高要求5.3,2009年版的4.2.2);

———更改了踏板的要求,增加了踏板采用格栅板时的要求5.4,2009年版的5.3);

———增加了斜梯防护栏杆的要求5.5.1);

———更改了斜梯扶手的要求5.5.2,2009年版的5.6);

———增加了梯间平台与门的要求见第6);

———增加了使用说明和警示信息的要求(见第7章)。

请注意本文件的某些内容可能涉及专利。本文件的发布机构不承担识别专利的责任。

本文件由中华人民共和国应急管理部提出并归口。

本文件所代替标准的历次版本发布情况为:

———1983年首次发布为GB4053.2—1983《固定式钢斜梯》;

———1993年第一次修订为GB4053.2—1993《固定式钢斜梯安全技术条件》;

———2009年第二次修订为GB4053.2—2009《固定式钢梯及平台安全要求 第2部分:钢斜梯》;

———本次为第三次修订。



GB 4053.2—2025


引 言


固定式金属斜梯(简称“斜梯”)是广泛应用于各类工业企业中的攀登设施,主要用于作业和检维修 过程中的通行,其首要安全风险为高处坠落,因此斜梯的结构稳定性、整体安全性及防护功能对预防和 减少事故具有关键作用。本文件的发布与实施,旨在为斜梯的设计、制造、安装及使用各方提供技术指 导,对提升斜梯的安全性能、保障作业人员安全、降低高处坠落事故发生率以及推动安全生产具有重要 意义。

GB4053《固定式金属梯及平台安全要求》对直梯、斜梯、防护栏杆及平台的设计、制造、安装提出了 基本的安全要求,拟由以下3部分组成。

———第1部分:直梯。用于规定直梯的一般要求、荷载、结构、坠落保护措施等涉及安全方面的 要求。

———第2部分:斜梯。用于规定斜梯的一般要求、荷载、结构、梯间平台等涉及安全方面的要求。

———第3部分:工业防护栏杆及平台。用于规定防护栏杆及平台的一般要求、荷载、结构、门等涉及 安全方面的要求。

鉴于斜梯的附属构件包括平台、防护栏杆、自闭门等,本文件在涉及此类构件的要求时,引用了 GB4053.3的相关规定。



GB 4053.2—2025


固定式金属梯及平台安全要求 第2部分:斜梯


1 范围

本文件规定了固定式金属斜梯(简称“斜梯”)的一般要求、斜梯结构要求以及梯间平台与门、使用说 明和警示信息要求。

本文件适用于工业企业内工作场所中使用的固定式金属斜梯的设计、制造和安装。

本文件不适用于安装在核设施、船舶、起重机械、输电塔上的固定式金属斜梯。

2 规范性引用文件

下列文件中的内容通过文中的规范性引用而构成本文件必不可少的条款。其中,注日期的引用文 件,仅该日期对应的版本适用于本文件;不注日期的引用文件,其最新版本(包括所有的修改单)适用于 本文件。

GB2894 安全色和安全标志

GB4053.3—2025 固定式金属梯及平台安全要求 第3部分:工业防护栏杆及平台

GB/T50046 工业建筑防腐蚀设计标准

GB50057 建筑物防雷设计规范

GB50205 钢结构工程施工质量验收标准

GB50576 铝合金结构工程施工质量验收规范

GB/T51082 工业建筑涂装设计规范

GB55006 钢结构通用规范

3 术语和定义

GB4053.3界定的以及下列术语和定义适用于本文件。

3 .1

斜梯 inclinedladder

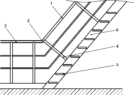
永久性安装在建筑结构或设备上,倾角大于20°且小于或等于75°的金属踏板梯(见图1)

3 .2

螺旋梯 spiralladder

扇形踏板围绕一个金属支撑柱布置,水平投影呈圆形,坡度线(3.3)呈螺旋状的斜梯(3.1)(见图2)

3 .3

坡度线 pitchline

梯段(3.11)中相邻踏板(3.6)突沿(3.7)同侧端点组成的假想的线(见图1中的p)。

3 .4

倾角 angleofpitch

坡度线(3.3)或其切线与水平面的夹角(见图1中的α)。

1


GB 4053.2—2025


3.5

梯梁Stie

支承踏板3.6)及其他附属构件的承载构件见图1中的6)


单位为毫米



% ::

i.m 'W';工'M[fT

标引序号和符号说明

1   障碍物

Q

...倾角

2...立柱

s

——坡度线到上方障碍物的最小距离

3——顶部横杆扶手);

g

踏步宽

4---中间横杆

r

..踏步高;

5——突沿

h1

——梯段高度

6...梯梁;

h 2

——平台防护栏杆扶手高度

7...踏板;

h3

——斜梯防护栏杆扶手高度

C   净空高度;

p

——坡度线。


1斜梯示意图


3.6

踏板 tread step

人员上下斜梯3.1)时脚踩踏的水平构件见图1中的7)

3.7

突沿 noising

踏板3.6)上表面的外边缘线见图1中的5)

3.8

踏步宽 going

相邻踏板(3.6)突沿3.7)的水平投影距离见图1中的go 注:螺旋梯(3.2)的踏板(3.6)为扇形踏步宽随着接近外侧而增大。


2


3 .9


踏步高 rise

相邻两踏板(3.6)上表面之间的垂直距离(见图1中的r)。




GB 4053 .2—2025


2 螺旋梯示意图

3 .10

内侧净宽 insideclearwidth

梯宽 ladderwidth

踏板(3.6)侧边之间的水平净距。

3 .11

梯段 ladderflight

斜梯(3.1)的连续部分。

注:对于无梯间平台(3.13)的斜梯(3.1),梯段位于底部起始面与顶部到达面之间;对于有梯间平台(3.13)的斜梯 (3.1),梯段位于底部起始面或顶部到达面与相邻平台之间,或两个相邻的平台之间。

3 .12

扶手 handrail

安装在防护栏杆顶部或斜梯(3.1)侧面,供人手握或攀扶的杆件(见图1中的3)来源:GB4053.3—2025,3.3,有修改

3 .13

梯间平台 intermediateplatform

上下相邻梯段(3.11)之间,供人员转换梯段(3.11)或休息的平台(见图3中的1)来源:GB4053.3—2025,3.11,有修改

4 一般要求

4 .1 倾角与梯段高度


4 .1 .1 斜梯的倾角应根据攀登高度、人员通行频次、安装空间、安装条件等因素确定。 :附录A给出了斜梯倾角的推荐值。


3


GB 4053 .2—2025


4.1.2 梯段高度应不大于6m,当总高度H大于6m,应分段设梯见图3)



标引序号和符号说明:

1———梯间平台;            h1h2———梯段高度。

H———总高度;

3 多梯段斜梯示意图

4 .2 材料

斜梯及其附属构件采用的金属材料的性能应满足构件承载能力和变形的要求,并满足环境条件 要求。

4 .3 荷载

4 .3 .1 梯梁

斜梯荷载应按实际使用情况确定,并能承受水平投影面上不小于3.5kN/m2的均布活荷载标准值 和梯梁任意位置不小于4.4kN的集中活荷载标准值,均布活荷载和集中活荷载不同时作用。

4 .3 .2 踏板

4.3.2.1 踏板应承受沿梯宽方向不小于2.2kN/m的均布活荷载标准值。

4.3.2.2 梯宽小于1200mm,非螺旋梯踏板应承受跨中100mm×100mm区域上作用不小于1.5kN 集中活荷载标准值见图4a)],该区域的一条边线为踏板的突沿。

4.3.2.3 梯宽不小于1200mm,非螺旋梯踏板应承受跨中间隔600mm的两个100mm×100mm

4


GB 4053 .2—2025


区域上同时作用不小于1.5kN集中活荷载标准值见图4b)],该区域的一条边线为踏板的突沿。

4.3.2.4 螺旋梯的踏板应承受靠近外侧边缘100mm×100mm区域上作用不小于1.5kN集中活荷载 标准值见图4c)]

4.3 .2.5 踏板的均布活荷载和集中活荷载不同时作用。在均布活荷载或集中活荷载作用下,螺旋梯的 踏板挠度容许值为踏板跨度的1/10010mm,非螺旋梯的踏板挠度容许值为踏板跨度的1/20010mm,两者取较小值。


4 .3 .3 防护栏杆


防护栏杆荷载应符合GB4053.3—20254.4的要求。


4 .4 制造安装


4.4.1 构件采用焊接、螺栓或其他方式连接时,连接承载力应满足4.3的要求。

4.4.2 钢斜梯的施工质量应符合GB50205GB55006的规定,铝合金斜梯的施工质量应符合GB50576的 规定。

4.4.3 斜梯及其附属构件的表面应光滑,无锐边、尖角、毛刺等缺陷。

4.4.4 斜梯与附在设备上的平台梁相连接时,连接处如果需释放热胀冷缩引起的变形或应力时,则应


采取技术措施(例如开设长圆孔并采用螺栓连接等)。

4 .4 .5 安装后的斜梯不应有歪斜、扭曲、变形及其他缺陷。


单位为毫米




b) 踏板荷载示意图(梯宽不小于1200 mm


4 斜梯的踏板荷载示意图


5


GB 4053 .2—2025



标引序号和符号说明:

1 ———梯梁或中间支撑柱;

2———踏板;

3———100mm×100mm加荷载刚性块;

F ———施加的集中活荷载。

4 斜梯的踏板荷载示意图

4 .5 防腐蚀

4.5.1 斜梯及其附属构件应根据使用环境、设计工作年限、材料耐腐蚀性能,采取防腐蚀措施,防腐蚀 设计应符合GB/T50046的规定,防腐蚀涂装应符合GB/T51082的规定。

4.5.2 斜梯及其附属构件的设计应使其积存水和湿气最小,以减少锈蚀和腐蚀。

4 .6 防雷接地

室外斜梯及其连接部分的防雷与接地保护措施应符合GB50057的规定。

5 斜梯结构要求

5 .1 通行空间

斜梯的净空高度c见图1中的c应不小于2000mm,当作为疏散通道时,应不小于2100mm。 斜梯坡度线到上方障碍物的最小距离s见图1中的s满足以下要求:

a) 倾角不大于45°,应不小于1200mm;

b) 倾角大于45°,应不小于850mm

:净空高度c为踏板突沿到上方障碍物的最小竖直距离。

5 .2 内侧净宽

5.2.1 除螺旋梯外,斜梯内侧净宽满足以下要求:

a) 偶尔单向通行的斜梯,内侧净宽应不小于500mm;

b) 经常性单向通行或偶尔双向通行的斜梯,内侧净宽应不小于800mm;


6


GB 4053.2—2025


c) 经常性双向通行的斜梯,内侧净宽应不小于1000mm

注:“偶尔指使用频率每年低于30天且每天低于2h

5.2.2 螺旋梯内侧净宽应不小于650mm


5 .3 踏步宽与踏步高

5.3.1 除螺旋梯外,斜梯的踏步宽与踏步高的组合值L应不小于550mm且不大于700mm,L应按 公式(1)计算:

L=g + 2r         …………………………(1)

式中:

L ———踏步宽与踏步高的组合值;

g ———踏步宽,单位为毫米(mm);

r ———踏步高,单位为毫米(mm)

注:附录A给出了L=600mm,常用的斜梯倾角与踏步宽、踏步高尺寸组合示例。

5.3.2 距离螺旋梯扇形踏步窄边300mm处的踏步宽应不小于170mm

5.3.3 除第一级踏步外,斜梯同一梯段内其他踏步高满足以下要求:

a) 踏步高应保持一致;

b) 非螺旋梯的踏步宽与踏步高的组合应保持一致;

c) 螺旋梯的踏步高应在160mm~240mm范围内。

第一级踏步高应不大于其他踏步高,且不小于其他踏步高的85%

5 .4 踏板

5.4.1 踏板的宽度、间距应按照5.3的要求进行设计。

5.4.2 非螺旋梯的踏板宽度应不小于80mm,同一梯段踏板宽度应保持一致。

5.4.3 螺旋梯同一梯段踏板的平面投影圆心角应保持一致(梯段顶部踏板除外)。

5.4.4 相邻踏板之间由垂直板件封闭时,或踏板的踩踏面前方有凸起时,踏板宽度应不小于170mm [见图5a)和图5c)]

5.4.5 相邻踏板的水平投影在攀登行进方向的重叠长度满足以下要求:

a) 相邻踏板之间由垂直板件封闭时,重叠长度应不小于0mm[见图5a)];

b) 相邻踏板之间未封闭时,重叠长度应为10mm~35mm[见图5b)和图5c)]

5 .4 .6 顶部踏板上表面应与平台面平齐,踏板与平台间应无空隙。

5.4.7 踏板采用格栅板时,应符合GB4053.3—20256.3.5的要求。

5.4.8 踏板的踩踏面应采用防滑材料或有不小于25mm宽的防滑突沿。

:例如采用花纹板、经防滑处理的金属板、格栅板或其他类似材料。


7


GB 4053 .2—2025


单位为毫米



标引序号说明:

1———踏板;

2———踏板之间的封闭板件;

3———踏板前方的凸起。

5 踏板重叠长度及凸起要求


5 .5 斜梯防护栏杆与扶手

5 .5 .1 斜梯防护栏杆

5.5.1.1 当斜梯侧面敞开边缘的临空高度不小于1200mm,敞开边缘应设置防护栏杆。

5.5.1.2 倾角不大于45°的斜梯,防护栏杆立柱应垂直于踏板,并从第一级踏板起始设置。

5.5.1 .3 倾角大于45°的斜梯,当防护栏杆立柱垂直于踏板时,立柱应从第一级踏板起始设置;当立柱垂 直于坡度线时,起始位置的设计,应确保顶部横杆的起点满足以下要求:

a) 下方工作面或梯间平台有防护栏杆时,起点与下方防护栏杆的顶部横杆连接见图6a)];

b) 下方工作面或梯间平台无防护栏杆时,起点距离工作面或梯间平台的竖向距离应不大于1200mm [见图6b)]

5.5.1.4 防护栏杆应符合GB4053.3—20255章中除5.6外的所有要求。

5 .5 .2 斜梯扶手

5.5.2.1 倾角不大于45°的斜梯按以下要求设置扶手:

8


GB 4053.2—2025


a) 梯宽不大于1100mm的斜梯,应至少一侧设置扶手,螺旋梯的扶手应安装于外侧;

b) 梯宽大于1100mm且不大于2200mm的斜梯,应在两侧设置扶手;

c) 梯宽大于2200mm的斜梯,应在两侧设置扶手,并在梯宽中间增设扶手用于参观平台的斜 梯除外)。

5.5.2.2 倾角大于45°的斜梯,螺旋梯外侧应安装扶手,非螺旋梯的两侧应安装扶手。

5.5.2.3 斜梯防护栏杆高度不超过1200mm,顶部横杆兼做扶手。

5.5.2.4 单独设置斜梯扶手时,扶手顶面至踏板上表面的竖直高度h3见图1中的h3应为860mm~ 1000mm,扶手起始点距离地面或平台的垂直距离应不大于1000mm


单位为毫米



a)下方有防护栏杆



标引序号说明:

1———顶部横杆扶手);

2———顶部横杆扶手的起点;

3———工作面或梯间平台的防护栏杆;


4———立柱;

5———踏板;

6———梯梁。


6倾角大于45°的斜梯顶部横杆扶手起点示意图


5 .5 .2 .5 同一梯段的防护栏杆或扶手高度应保持一致,顶部横杆或扶手中心线应与斜梯的坡度线平行。

5.5.2.6 顶部横杆或扶手应符合GB4053.3—20255.4的要求。


6 梯间平台与门

6 .1 梯间平台

上下相邻梯段之间应设置梯间平台,梯间平台及其防护栏杆应符合GB4053.3—2025的规定。

6 .2 自闭门

斜梯的出入口或梯间平台如果设置自闭门,自闭门应符合GB4053.3—20257.1的要求。

7 使用说明和警示信息


7.1 应按照GB4053.3—20258.1的要求提供使用说明。

7.2 斜梯使用方应在倾角大于45°的斜梯入口易于观察的位置,设置警示信息。

7.3 斜梯的警示信息应包括但不限于以下内容:


9


GB 4053.2—2025


a) 最大荷载信息包括允许的最大负载人数、工具和装备等最大附加荷载);

b) 人员攀登时的安全要求例如握紧扶手、当心绊倒等)。

7.4 应按照GB4053.3—20258.28.3的要求设置自闭门的警示信息。

7.5 安全色和安全标志应符合GB2894的规定。


10


GB 4053.2—2025


附 录 A (资料性) 斜梯倾角推荐值及踏步宽踏步高尺寸组合示例

A.1 斜梯倾角的推荐值如下:

优选倾角为30°~35°,经常双向通行的最大倾角通常为38°,偶尔通行的最大倾角通常为42°

A.2 常用的斜梯倾角与踏步宽、踏步高尺寸组合示例如下:

斜梯踏步宽、踏步高的组合是根据倾角和人体步距要求确定的,符合安全和方便舒适的要求。踏步 宽、踏步高的组合值L按公式(1)计算,常用的斜梯倾角不低于30°。成人步距平均在600mm左右,常 用的L取值为600mm

L=600mm,常用的斜梯倾角与对应的踏步宽、踏步高尺寸组合示例见表A.1,其他倾角可按线 性插值法确定。

A.1 常用的斜梯倾角与踏步宽踏步高尺寸组合(L=600 mm)


单位为毫米


倾角

30°

35°

40°

45°

50°

55°

60°

65°

70°

75°

踏步宽(g )

280

250

230

200

180

150

130

110

90

70

踏步高(r)

160

175

185

200

210

225

235

245

255

265


11


GB 4053.2—2025


参 考 文 献


[1] GB/T10000—2023 中国成年人人体尺寸

[2] GB/T17888.1—2020 机械安全 接近机械的固定设施 第1部分:固定设施的选择及接 近的一般要求

[3] GB/T17888.3—2020 机械安全 接近机械的固定设施 第3部分:楼梯、阶梯和护栏

[4] GB/T31255—2014 机械安全 工业楼梯、工作平台和通道的安全设计规范

[5] GB55037—2022 建筑防火通用规范


12